柱塞泵
上一节
下一节
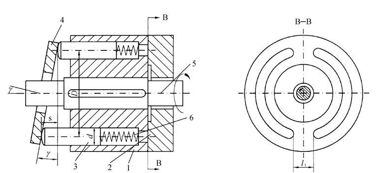
1、斜盘式轴向柱塞泵
2)斜盘式轴向柱塞泵的排量和流量计算
柱塞的直径为d,柱塞分布圆直径为D,斜盘倾角为γ时,柱塞的行程为 s=Dtanγ,柱塞数为z时, 排量 为: V=πd2Dtanγz/4
3)轴向柱塞泵的结构
结构特点:
滑履结构;端面间隙自动补偿;变量机构
1—转动手轮2—斜盘3—回程盘4—滑履5—柱塞6—缸体7—配油盘8—传动轴

