方向控制阀
上一节
下一节
1、

2、换向阀
按操纵方式不同分为:手动、机动、电动、电液动
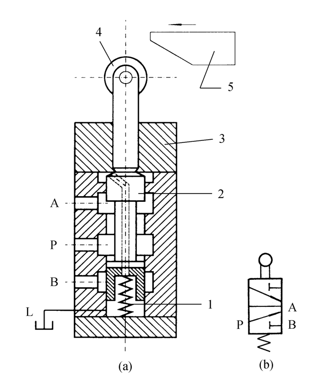
手动换向阀

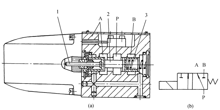
机动换向阀

电磁换向阀

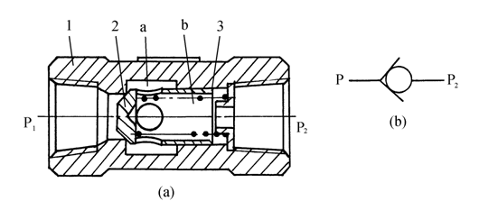
液控换向阀

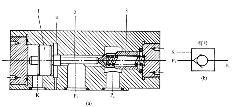
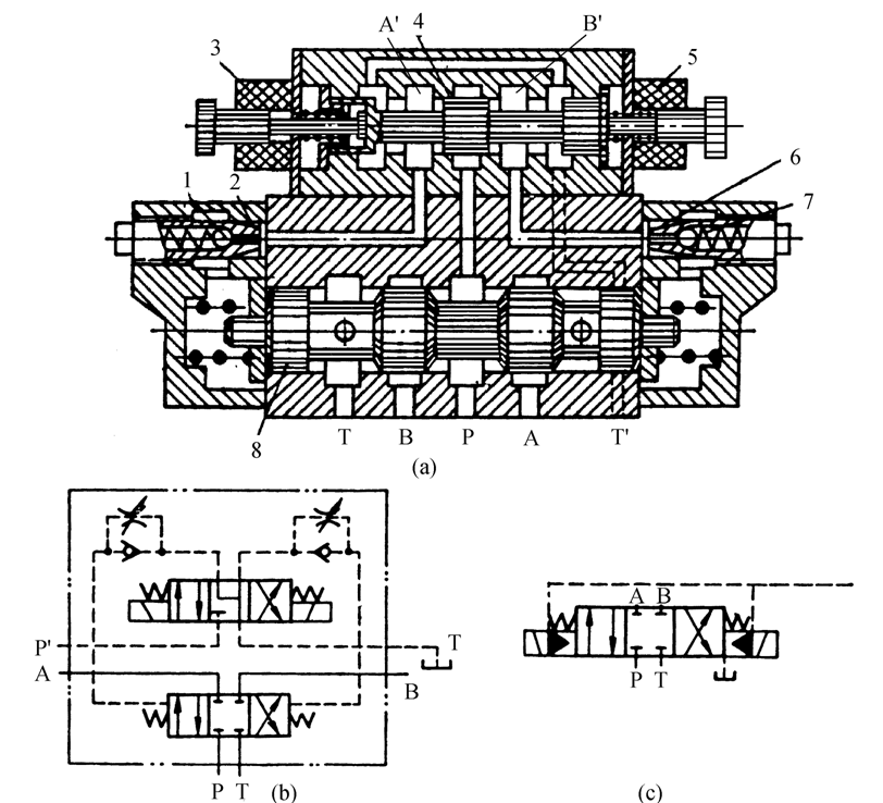
电液换向阀
目录
1、

2、换向阀
按操纵方式不同分为:手动、机动、电动、电液动
手动换向阀

机动换向阀

电磁换向阀

液控换向阀

电液换向阀