赏奇析疑之10
《基于品红的潮汐车道装置》
1 技术领域
本实用新型涉及道路交通设施技术领域,尤其涉及一种基于品红的潮汐车道装置。
2 背景技术
潮汐车道是指在道路路段,根据交通流需求可改变车辆行驶方向的车道。城市内部根据早晚交通流量不同情况,对有条件的道路设置一个或多个车辆行驶方向规定随不同时段变化的车道。目前,随着道路车流量的增加,潮汐车道需求也增加。但潮汐车道问题并未解决,虽然已有潮汐车道可以缓解交通拥堵问题,但存在一些弊端可以引起交通秩序混乱,从而降低潮汐车道的作用。
现有潮汐车道环境主要有两种:第一种是传统潮汐车道线。第二种是可移动的护栏。这两种潮汐车道设施仍有问题。传统潮汐车道线在车辆变向时,司机往往不注意时间或没有看见标志,并且变向时往往需要两头有交警的协调,在一定程度上减少了潮汐车道作用效果。可移动的护栏在车辆变向时可能会出现护栏和车的事故,进而引发由其他车辆绕行导致的交通拥堵。若采用电子变色装置来提醒司机变色,既浪费能源又不环保。综上所述,有必要提供一种可以提醒驾驶员潮汐车道方向的潮汐车道装置。
3 发明内容
一种基于品红的潮汐车道装置,包括装置壳体,所述装置壳体上表面上设置有可远程操控的加热装置,所述加热装置上端设置有两个品红溶液三棱柱,所述品红三棱柱内设置有品红溶液和二氧化硫气体,两个所述品红溶液三棱柱间设置有一个白色背景板,所述白色背景板上方设置有太阳能电池板,所述加热装置下方连接有弹簧。
4 实用新型的优点
1、本实用新型设有太阳能电池板,可利用太阳能发电,低碳环保;
2、本实用新型采用品红溶液与二氧化硫显色化学反应,安全环保,可重复利用;
3、本实用新型操作方便,需要变色时启动电磁炉即可,一人即可完成操作。
4、本实用新型可在车变道需要压装置时,显色部分可以下降,从而保护显色部分;
5、本实用新型体积小,当驾驶员误在潮汐车道逆向时,可及时变道。
5 附图说明
为了更清楚的说明本实用新型的实施例或现有技术的技术方案,下面将对实施例或现有技术描述中所需要使用的附图做一简单地介绍,显而易见地,下面描述中的附图仅仅是本实用新型的一些实施例,对于本领域普通技术人员来讲,在不付出创造性劳动的前提下,还可以根据这些附图获得其他的附图。
图1为本实用新型立体图。
图2为本实用新型主视图。
图3为本实用新型侧视图。
图4为本实用新型俯视图。
附图标号说明:
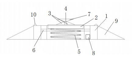
1、装置壳体;2、加热装置;3、品红溶液三棱柱;4、白色背景板;5、弹簧;6、保护柱;7、太阳能电池板;8、蓄电池;9、缓冲坡;10、螺栓。
图1
图2
图3
图4
6 具体实施方式
需要说明的是,在不冲突的情况下,本实用新型中的实施例及实施例中的特征可以相互组合。下面将参考附图并结合实施例来详细说明本实用新型。
为使本实用新型实施例的目的、技术方案和优点更加清楚,下面将结合本实用新型实施例中的附图,对本实用新型实施例中的技术方案进行清楚、完整地描述,显然,所描述的实施例仅仅是本实用新型一部分实施例,而不是全部的实施例。以下对至少一个示例性实施例的描述实际上仅仅是说明性的,决不作为对本实用新型及其应用或使用的任何限制。基于本实用新型中的实施例,本领域普通技术人员在没有做出创造性劳动前提下所获得的所有其他实施例,都属于本实用新型保护的范围。
需要注意的是,这里所使用的术语仅是为了描述具体实施方式,而非意图限制根据本实用新型的示例性实施方式。如在这里所使用的,除非上下文另外明确指出,否则单数形式也意图包括复数形式,此外,还应当理解的是,当在本说明书中使用术语“包含”和/或“包括”时,其指明存在特征、步骤、操作、器件、组件和/或它们的组合。
除非另外具体说明,否则在这些实施例中阐述的部件和步骤的相对布置、数字表达式和数值不限制本实用新型的范围。同时,应当清楚,为了便于描述,附图中所示出的各个部分的尺寸并不是按照实际的比例关系绘制的。对于相关领域普通技术人员己知的技术、方法和设备可能不作详细讨论,但在适当情况下,所述技术、方法和设备应当被视为授权说明书的一部分。在这里示出和讨论的所有示例中,任何具体值应被解释为仅仅是示例性的,而不是作为限制。因此,示例性实施例的其它示例可以具有不同的值。应注意到:相似的标号和字母在下面的附图中表示类似项,因此,一旦某一项在一个附图中被定义,则在随后的附图中不需要对其进行进一步讨论。
在本实用新型的描述中,需要理解的是,方位词如“前、后、上、下、左、右”、“横向、竖向、垂直、水平”和“顶、底”等所指示的方位或位置关系通常是基于附图所示的方位或位置关系,仅是为了便于描述本实用新型和简化描述,在未作相反说明的情况下,这些方位词并不指示和暗示所指的装置或元件必须具有特定的方位或者以特定的方位构造和操作,因此不能理解为对本实用新型保护范围的限制:方位词“内、外”是指相对于各部件本身的轮廓的内外。
为了便于描述,在这里可以使用空间相对术语,如“在……之上”、“在……上方”、“在……上表面”、“上面的”等,用来描述如在图中所示的一个器件或特征与其他器件或特征的空间位置关系。应当理解的是,空间相对术语旨在包含除了器件在图中所描述的方位之外的在使用或操作中的不同方位。例如,如果附图中的器件被倒置,则描述为“在其他器件或构造上方”或“在其他器件或构造之上”的器件之后将被定位为“在其他器件或构造下方”或“在其位器件或构造之下”。因而,示例性术语“在……上方”可以包括“在……上方”和“在……下方”两种方位。该器件也可以其他不同方式定位(旋转90度或处于其他方位),并且对这里所使用的空间相对描述作出相应解释。
此外,需要说明的是,使用“第一”、“第二”等词语来限定零部件,仅仅是为了便于对相应零部件进行区别,如没有另行声明,上述词语并没有特殊含义,因此不能理解为对本实用新型保护范围的限制。
本实用新型提供一种技术方案:一种基于品红的潮汐车道装置,如图1-4所示,包括装置壳体1,所述装置壳体1上表面上设置有可远程操控的加热装置2,所述加热装置2上端设置有两个品红溶液三棱柱3,所述品红三棱柱3内设置有品红溶液和二氧化硫气体,且密闭不会透出气体或液体,从而不影响大气环境。两个所述品红溶液三棱柱3间设置有一个白色背景板4,其作用是突出1品红溶液三棱柱的颜色,并且防止驾驶员看见离驾驶员较远的一个1品红溶液三棱柱的颜色,从而导致驾驶员无法判断的情况。所述加热装置2下方连接有弹簧5,可与上面部分一起下降,车离去时,自动回弹原高度。所述加热装置2与弹簧5间设置有保护柱6,当车需要变道时,且必须压到本实用新型装置时,保护柱6配合弹簧5一起下降,并且减小加热装置2的倾斜幅度。所述白色背景板4的上端面与倒圆锥体相连,所述倒圆锥体的上端面上设置有太阳能电池板7,给蓄电池8在白天储存电量,并给装置供电,且其不会挡住驾驶员看1品红溶液三棱柱的视线。所述太阳能电池板7与设置于装置壳体1内部的蓄电池8相连,所述蓄电池8与加热装置2相连。所述装置壳体1通过四个螺栓10固定于地面上。所述品红溶液三棱柱3为直角三棱柱。所述装置壳体1的两侧各设置有一个缓冲坡9。
当常温条件下,品红溶液三棱柱3内的品红与二氧化硫相接触变为无色,当加热装置2对品红溶液三棱柱3进行加热后,品红溶液会重新变为原色。
安装方法:将本实用新型安装在潮汐车道的车道线上即可。
操作方法:假设原本拥挤方向的驾驶员看到的品红溶液三棱柱3为红色,不拥挤侧的驾驶员看到是无色,此时不拥挤侧的驾驶员可正常驶入潮汐车道。当需要变向时,只需开启不拥挤侧的加热装置2和关闭拥挤侧的加热装置2,这样就可以让拥挤侧的品红溶液三棱柱3因冷却变回无色,而不拥挤侧的品红溶液三棱柱3因加热变为红色,此时拥挤侧的驾驶员可正常进入潮汐车道,不拥挤侧的驾驶员看到为红色,所以不能进入潮汐车道,从而达到变向的效果。
以上所述,仅为本实用新型较佳的具体实施方式,但本实用新型的保护范围并不局限于此,任何熟悉本技术领域的技术人员在本实用新型揭露的技术范围内,根据本实用新型的技术方案及其发明构思加以等同替换或改变,都应涵盖在本实用新型的保护范围之内。

