赏奇析疑之9
《弹性基础波形梁护栏》
1 技术领域
本实用新型涉及道路交通设施技术领域,尤其涉及一种弹性基础波形梁护栏。
2 背景技术
波形梁护栏是半刚性护栏的主要形式,它是一种以波纹状钢护栏板相互拼接并由主柱支撑的连续结构。它利用土基、立柱、横梁的变形来吸收碰撞能量,并迫使失控车辆改变方向,回复到正常的行驶方向,防止车辆冲出路外,以保护车辆和乘客,减少事故造成的损失。
但是现有的波形梁护栏的防撞性能较差,大多数护栏在面对车辆的高速撞击时表现出非常脆弱,而且在发生撞击时缓冲性能一般,对驾驶人及车内人员的物理损伤比较严重,而且在结构上的创新不足,传统护栏大部分结构大抵类似,底部均为刚性结构。
3 发明内容
本实用新型所提出的一种弹性基础波形梁护栏,包括立柱、波形梁、橡胶底座和滑动缓冲组件;所述立柱均匀间隔排列;所述波形梁通过螺栓螺母分别与各立柱固定连接;所述立柱底部通过滑动缓冲组件同轴连接在橡胶底座内部;所述橡胶底座与地面连接。
4 实用新型的优点
(1)本实用新型提供的弹簧式缓压减速装置,通过预埋于路面的壳体将可升降的减速带收纳于其中,减少了车辆经过减速带的颠簸,减少了对车辆带来的损伤;
(2)本实用新型提供的弹簧式缓压减速装置,通过预埋于路面的壳体将可升降的减速带收纳于其中,降低驾乘人员感受的颠簸感;
(3)本实用新型提供的弹簧式缓压减速装置,通过预埋于路面的壳体将可升降的减速带收纳于其中,减少对车辆底盘和车身的损伤,避免车辆各结构的松动;
(4)本实用新型提供的弹簧式缓压减速装置,通过预埋于路面的壳体将可升降的减速带收纳于其中,减少了车胎与减速带的摩擦,降低了轮胎的磨损程度;
(5)本实用新型提供的弹簧式缓压减速装置,通过将支撑立板顶端至挡台的距离设置成与减速板突出壳体的高度相同,确保了减速板下降后与路面齐平,避免了车辆行驶过减速带时造成的颠簸。
综上,应用本实用新型的技术方案解决了现有技术中的固定式减速带对车辆造成的损坏以及对车内人员带来的乘坐不适感等问题。
5 附图说明
为了更清楚地说明本实用新型实施例或现有技术中的技术方案,下面将对实施例或现有技术描述中所需要使用的附图做以简单地介绍,显而易见地,下面描述中的附图是本实用新型的一些实施例,对于本领域普通技术人员来讲,在不付出创造性劳动性的前提下,还可以根据这些附图获得其他的附图。
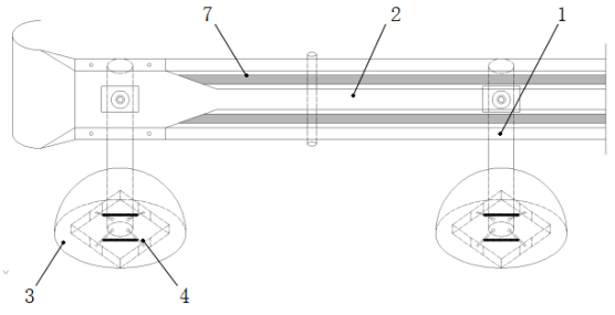
图1是本实用新型所提出的一种弹性基础波形梁护栏一个实施例的整体结构示意图;
图2是图1中滑动缓冲组件的结构示意图;
图3是波形梁与立柱连接的侧视结构示意图。
其中,附图标记:1-立柱;2-波形梁;3-橡胶底座;4-滑动缓冲组件;41-矩形滑轨;42-滑片;43-弹簧;44-连接杆;45-球副;5-螺栓;6-螺母;7-反光带。
图1

图2

图3
6 具体实施方式
参见附图1至3,给出了本实用新型所提出的一种弹性基础波形梁护栏的一个实施例的具体结构。所述护栏包括立柱1、波形梁2、橡胶底座3和滑动缓冲组件4;所述立柱1均匀间隔排列;所述波形梁2的波谷处分别通过螺栓5和螺母6与各立柱对应固定连接;为了更稳固,各立柱1之间还可增加横隔梁等;所述立柱1底部通过滑动缓冲组件4同轴连接在橡胶底座3内部,本实施例中,所述橡胶底座3为半球形结构;所述橡胶底座3固定在地面上。
其中,所述滑动缓冲组件4包括矩形滑轨41、滑片42、弹簧43、连接杆44和球副45;所述矩形滑轨41固定在橡胶底座3内底部;所述立柱1底部呈圆周均布的设置有四根连接杆44;所述连接杆44的一端通过球副45与立柱1连接,另一端分别通过滑片42与矩形滑轨41的四个边对应滑动连接;所述弹簧43连接在处于对角位置上的两组相邻的连接杆44的中部之间,即按顺时针或逆时针对四根连接杆44进行排序,其中第一、二位置的两个连接杆44的中部之间通过一个弹簧43连接,第三、四位置的两个连接杆44的中部之间通过一个弹簧连接。
本实施例中,所述波形梁2侧面中部区域的上下两侧还固定有反光带7,通过视觉效果给行人与驾驶人员提供警示作用,从而使防护栏的警示效果更强。
正常状态下,所述弹簧43处于放松状态,四个滑片42分别处于矩形滑轨41四个面的中间位置,当受到来自波型梁方向的撞击时,四个滑片42都沿着矩形滑轨41向发生撞击一侧滑动致使立柱1发生移动,对车辆撞击护栏起到缓冲作用,波形梁2的变形吸收碰撞能量,迫使失控车辆改变方向,以减轻高速撞击所给予车辆的巨大冲击力,从而减轻对车辆驾驶人物理上的损害。

