赏奇析疑之6
《弹性基础可调节式柱式轮廓标》
1 技术领域
本实用新型涉及道路设施领域,具体而言,尤其涉及一种弹性基础可调节式柱式轮廓标。
2 背景技术
轮廓标分为柱式轮廓标、附着式轮廓标两种,是沿道路两侧边缘设置、用于显示道路边界轮廓、指引车辆正常行驶、具有逆反射性能的一种交通安全设施。从功能上说,轮廓标是一种视线诱导设施。当路边无构造物时,轮廓标为柱式,由柱体、逆反射体组成,独立设置于路边土路肩中。当路边有构造物时,轮廓标为附着式,由逆反射体、支架和连接件组成。柱式轮廓标主体由三角形断面立柱、逆反光材料、发光件构成;附着式轮廓标由逆反射体、支架和连接件组成。目前现有的柱式轮廓标存在以下缺点:1、高度固定,无法调节高度,在地形复杂的地段,安装后,易出现所立柱式轮廓标高度不齐平现象,需要重新安装,产生不便,适应性低,产品限制性大;2、结构易损,现有柱式轮廓标安装后,相对位置不可变,被车辆轻微剐蹭后便容易出现损毁,损坏率高,引起道路相邻可用轮廓标前后位置过大,诱导作用降低;3、夜间反射光线微弱,逆反光材料在夜间昏暗情况下,遇微弱灯光,反射效果不明显,导致无法准确显示道路轮廓,诱导作用低下,易引起交通事故。综上所述,亟需发明一种高度可调节的,结构不易损的,夜间反光能力强的柱式轮廓标。
3 发明内容
一种弹性基础可调节式柱式轮廓标,包括底座、外壳、蓄电池、太阳能发电板、透明护罩、逆反光件和余晖发光件,所述底座与外壳连接,所述外壳侧面设置有逆反光件和余晖发光件,所述外壳内部设置有蓄电池,所述蓄电池与太阳能发电板之间、蓄电池与余晖发光件之间均通过电线连接,所述外壳上端设置有太阳能发电板,所述太阳能发电板外设有透明护罩。
4 实用新型的优点
(1)本实用新型通过太阳能发电板借助阳光发电,能源清洁,自给自足,不必反复充电。
(2)余晖发光件在夜间光芒柔和显眼,在诱导驾驶员的同时,不会令驾驶员晃神。
(3)以螺栓连接底座与外壳的方式,在达到高度可调的同时,兼顾安装,便利简单,成本低,连接部分坚固的优势。
(4)底座质地柔软,通过形变改变本设置角度,从而降低损毁率。
5 附图说明
为了更清楚地说明本实用新型实施例或现有技术中的技术方案,下面将对实施例或现有技术描述中所需要使用的附图做以简单地介绍,显而易见地,下面描述中的附图是本实用新型的一些实施例,对于本领域普通技术人员来讲,在不付出创造性劳动性的前提下,还可以根据这些附图获得其他的附图。
图1为本实用新型剖面图。
图2为本实用新型俯视图。
图3为本实用新型正常工作状态示意图。
图4为本实用新型被剐蹭后状态示意图
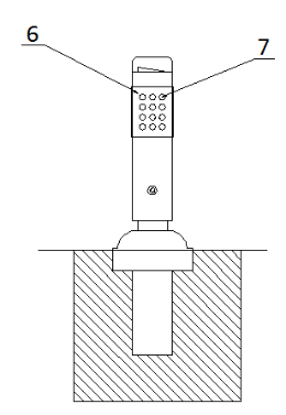
附图标号说明:
1、底座;2、外壳;3、蓄电池;4、太阳能发电板;5、透明护罩;6、逆反光件;7、余晖发光件;8、螺栓。

图1

图2

图3

图4
6 具体实施方式
本实用新型提供一种技术方案:一种弹性基础可调节式柱式轮廓标,结构如图1-3所示,包括底座1、外壳2、蓄电池3、太阳能发电板4、透明护罩5、逆反光件6和余晖发光件7,底座1的底部嵌入地下,底座1采用橡胶柔性材料,既能稳定轮廓标,又能改变轮廓标角度,如图4所示,当车辆剐蹭本设计产品时,底座1发生形变,从而改变整个柱式轮廓标的位置,借此达到保护柱式轮廓标不被损毁的目的。底座1与外壳2通过螺栓8连接,外壳2底部有第一圆孔,底座1与外壳2连接处等距离设置有若干个第二圆孔,第一圆孔与第二圆孔尺寸匹配,配合螺栓8实现弹性基础可调节式柱式轮廓标调节高度的功能。外壳2是由聚氯乙烯塑料构成的四方形断面立柱,外壳2侧面设置有逆反光件6和余晖发光件7,逆反光件6采用逆反射材料。外壳2内部设置有蓄电池3,蓄电池3与太阳能发电板4之间、蓄电池3与余晖发光件7之间均通过电线连接,外壳2上端设置有太阳能发电板4,太阳能发电板4外设有透明硬材料制作的透明护罩5,用以保护太阳能发电板4。太阳能发电板4上设置有光亮传感器,太阳能发电板4下安装自动旋转装置,分布在太阳能发电板4上的光亮传感器接受不同位置的太阳光强度,光亮传感器将光信号转化为电信号,再传输至自动旋转装置,自动旋转装置改变太阳能发电板4的角度。
在白天时,太阳能发电板4自动调节角度,通过正对太阳光发电,由蓄电池3储存电能,逆反光件6通过反射车辆灯光,显示道路轮廓;在夜晚时,使用白天储存电能使余晖发光件7发光,达到自发光的功能,逆反光件6反射车辆灯光,起辅助作用。

