-
1 赏奇析疑之7
-
2 赏奇析疑之8
赏奇析疑之8
《缓冲型限高架》
1 技术领域
本实用新型涉及交通设施技术领域,尤其涉及一种缓冲型限高架。
2 背景技术
限高架是一种用于公路、桥梁、隧道入口处的门型框架结构,起到保护桥梁、隧道的作用。限高架阻挡超限车辆,防止超限车辆撞击保护对象,是道路行驶中常见的安全设施。
当前投入使用的限高架为固定一体限高架和可调节高度限高架,固定一体限高架为一次性不可调节高度限高架,靠架子本身拦截车辆,一般为钢结构焊接而成,起防护桥梁、涵洞、隧道的作用;可调节高度限高架通过手动或电动装置在需要时可手动抬起限高杆。
然而,现有的限高架存在一定的缺点。当超过限高的车辆与限高架相撞时,因为限高架本身没有缓冲装置,会造成车辆与限高架两方面的损伤。当车速过快时还有可能发生严重的事故,危害人身安全。综上所述,有待发明一种带有缓冲装功能的限高架。
3 发明内容
本实用新型提供一种缓冲型限高架,解决了现有限高架没有对车辆的缓冲功能的问题。为达到以上目的,本实用新型采取的技术方案是:
一种缓冲型限高架,包括:左右两根前立柱和左右两根后立柱,同侧的前立柱与后立柱间通过连接梁相连,所述连接梁上设置有滑轨,所述滑轨的后端设置有固定横梁,所述固定横梁的后端与后立柱相连,所述滑轨的前端设置有活动横梁,所述活动横梁与固定横梁间设置有中心导杆,所述中心导杆上套设有弹簧。
4 实用新型的优点
本实用新型通过在限高架上设置弹簧结构,在车辆与活动横梁相撞时,活动横梁压缩弹簧,并于缓冲垫上进行缓冲。起到了对限高车辆进行缓冲的效果,保障了车辆、限高架和人身的安全。解决了现有限高架无法对车辆进行缓冲的技术问题。
本实用新型通过在限高架上设置声光蜂鸣器,使得车辆在于限高架相撞后,驾驶员能够通过声光报警得到这一讯息,及时对车辆进行处理。解决了现有限高架没有声光提醒功能的问题。
5 附图说明
为了更清楚地说明本实用新型实施例或现有技术中的技术方案,下面将对实施例或现有技术描述中所需要使用的附图做以简单地介绍,显而易见地,下面描述中的附图是本实用新型的一些实施例,对于本领域普通技术人员来讲,在不付出创造性劳动性的前提下,还可以根据这些附图获得其他的附图。
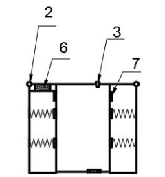
图1为本实用新型主视图。
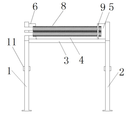
图2为本实用新型侧视图。
图3为本实用新型侧视剖面图。
附图标号说明:
1、前立柱;2、后立柱;3、连接梁;4、滑轨;5、固定横梁;6、活动横梁;7、中心导杆;8、弹簧;9、缓冲垫;10、声光蜂鸣器开关;11、声光蜂鸣器。

图1
图2
图3
6 具体实施方式
本实用新型提供一种技术方案:一种缓冲型限高架,如图1-3所示,包括:左右两根前立柱1和左右两根后立柱2,同侧的前立柱1与后立柱2间通过连接梁3相连,所述连接梁3上设置有滑轨4,所述滑轨4的后端设置有固定横梁5,所述固定横梁5的后端与后立柱2相连,所述滑轨4的前端设置有活动横梁6,所述活动横梁6与固定横梁5间设置有中心导杆7,所述中心导杆7上套设有弹簧8。所述固定横梁5前侧设置有缓冲垫9。所述活动横梁6下部设置有滑轮,所述滑轮与滑轨4滑动连接。所述活动横梁6的前端设置有供中心导杆7穿过的连接孔。所述缓冲垫9下方的滑轨4上设置有声光蜂鸣器开关10,所述声光蜂鸣器开关10与声光蜂鸣器11电连接,声光蜂鸣器开关10和声光蜂鸣器11为市面上常见的声光蜂鸣器和开关。所述声光蜂鸣器11设置于前立柱1和后立柱2的中部。所述弹簧8外表面上设置有塑胶层,防止长时间至于空气中出现生锈现象。所述活动横梁6采用工字钢。滑轨4采用凹形空心钢制材料,其空心为了声光蜂鸣器开关10以及放置连接声光蜂鸣器11电线。中心导杆7采用光面钢制导杆为了防止出现生锈现象以及被活动横梁6压弯;
在超高车辆与限高架相撞时,车辆与活动横梁6相接触,活动横梁6向后移动压缩弹簧8,防止超高车辆与活动横梁6碰撞瞬时发生严重形变以及超高车辆被逼停。在横梁被超高车辆碰撞时可向后移动。起到一重缓冲作用。活动横梁6继续向后移动,与缓冲垫9相接触,起到二重缓冲作用。此时活动横梁6触发声光蜂鸣器开关10,声光蜂鸣器开关10使声光蜂鸣器11作用,发出声光报警,提醒驾驶员车辆与限高架相撞。当驾驶员处理完事故后,将声光蜂鸣器11手动关闭即可。本实用新型通过两重缓冲作用,对超高车辆进行缓冲,保护了车辆、限高架和人身额安全。




