赏奇析疑之3
《铁路口绳索升降式拦截设施》
1 技术领域
本实用新型涉及轨道交通路口安全防护技术领域,尤其涉及铁路道口带有升降绳索的拦截设施。
2 背景技术
目前,现有铁道口的拦截车辆设施主要有单、双杆式拦截杆,车轮式拦截杆和手动式拦截杆。其控制方式一般是遥控控制、电脑控制、人工控制…它们的材质具有坚固耐用、抗老化、不褪色、运行安全等特点。
电动或手动单、双杆式拦截杆,结构太过简单化,存在着安全隐患,拦截杆的高度位置只能阻碍车辆的通行,并不能阻挡行人想要穿越铁道口。
带有车轮的移动式拦截杆,其构造即可以在火车到来前拦截车辆的通行,又能防止行人跨越或钻过栏杆强行通过铁道口的问题的发生。但在车轮式拦截杆对合时,产生了中间的空隙,部分行人或机动车会在栏杆对合之前,在中间位置加速冲过铁道口,这就存在了很大的安全隐患。
针对上述现有技术中所存在的问题,研究设计一种新型的铁路口绳索升降式拦截设施,从而克服现有技术中所存在的问题是十分必要的。
3 发明内容
根据上述提出的现有各式拦截装置都无法阻挡行人利用各种间隙穿越拦截装置穿过铁路口造成意外的技术问题,而提供一种铁路口绳索升降式拦截设施。本实用新型主要利用在拦截杆下部设置间隙较小的横竖绳索,从而起到拦截行人抢行穿过的效果。
本实用新型采用的技术手段如下:
一种铁路口绳索升降式拦截设施,包括:两个立杆架体及横杆;两个立杆架体相对设置在铁道口公路两侧,横杆一端与其中一根立杆架体顶端铰接,并与横杆升降电动机相连接,通过横杆升降电动机控制横杆以铰接点为中心旋转升降;其特征在于,所述的两个立杆架体内设是有警示装置、动力装置、升降装置,升降装置连接绳索;在未装有横杆的立杆上部设置有制成横杆的架槽,架槽内设置有行程开关,用以开启警示装置和动力装置。
4 实用新型的优点
(1)本实用新型提供的铁路口绳索升降式拦截设施,通过在立杆架体上设置LED灯警示装置,实现了多重警示作用;
(2)本实用新型提供的铁路口绳索升降式拦截设施,通过在横杆下部设置有至少一根绳索,起到阻挡行人强行穿越拦截横杆的作用。
综上,应用本实用新型的技术方案解决了现有技术中的现有各式拦截装置都无法阻挡行人利用各种间隙穿越拦截装置穿过铁路口造成意外的问题。
5 附图说明
为了更清楚地说明本实用新型实施例或现有技术中的技术方案,下面将对实施例或现有技术描述中所需要使用的附图做以简单地介绍,显而易见地,下面描述中的附图是本实用新型的一些实施例,对于本领域普通技术人员来讲,在不付出创造性劳动性的前提下,还可以根据这些附图获得其他的附图。
图1为本实用新型结构示意图;
图2为本实用新型装有横杆一侧的立杆架体绳索升起状态结构示意图;
图3为本实用新型装有横杆一侧的立杆架体绳索降下状态结构示意图;
图4为本实用新型装有架槽一侧的立杆架体结构示意图;
图5为本实用新型架槽结构示意图。
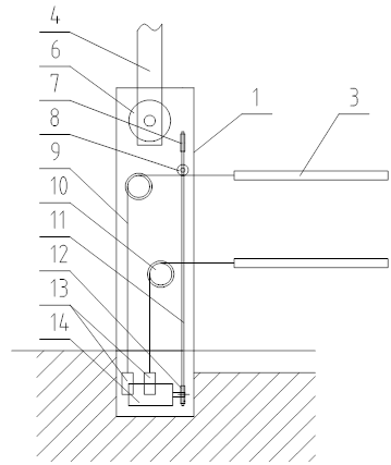
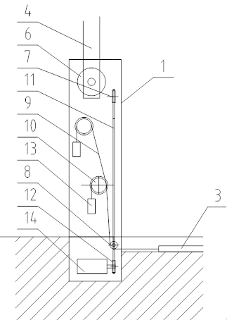
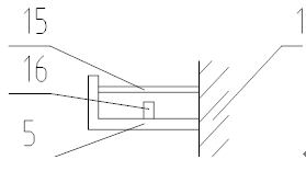
图中:1、立杆架体 2、横杆 3、绳索 4、地槽 5、架槽 6、横杆升降电动机 7、从动链轮 8、压线导轮 9、钢丝绳 10、导轮 11、链条 12、驱动链轮 13、配重块 14、电动机 15、压片 16、行程开关 17、LED灯。

图1

图2

图3

图4

图5
6 具体实施方式
如图所示,本实用新型提供了一种铁路口绳索升降式拦截设施,包括:两个立杆架体1及横杆2;两个立杆架体1相对设置在铁道口公路两侧,横杆2一端与其中一根立杆架体1顶端铰接,并与横杆升降电动机6相连接,通过横杆升降电动机6控制横杆2以铰接点为中心旋转升降;两个立杆架体1内设是有警示装置、动力装置、升降装置 ,升降装置连接绳索3;在未装有横杆2的立杆上部设置有制成横杆的架槽5,架槽5内设置有行程开关16,用以开启警示装置和动力装置;警示装置为多个LED灯17,均布于两个立杆行驶方向的外部杆壁上,并通过导线与行程开关16相连接;动力装置为电动机14,固定于立杆架体1内底部;电动机14通过导线与行程开关16相连接,行程开关16与外部电源相连接;升降装置包括:驱动链轮12、从动链轮7、链条11、压线导轮8、导轮10、配重块13及钢丝绳9;驱动链轮12装于电动机14的输出轴上,从动链轮7装于立杆架体1内上部与驱动链轮12相对应的位置,并通过链条11相连接;压线导轮8装于链条11上,并随链条11的移动上下移动;导轮10装于立杆架体1的内壁上,钢丝绳9的一端装上配重块后绕过导轮10垂下,另一端与绳索3相连接;铁道口同一侧的两个立杆架体1之间的路面上开有用于收纳绳索3的地槽4。
导轮10、钢丝绳9和配重块13根据绳索3的根数而设置,均至少为一个;当导轮10、钢丝绳9和配重块13为两个以上时,多个导轮10上下错位装配,每根钢丝绳9的一端均装有一个配重块13;到线路的两一段分别与绳索3相连接。
电动机14的安装位置低于地槽4的槽底,压线导轮8可随链条11下移至槽底平面下。
架槽5的上部设置有活动的压片15,压片15位于行程开关16的上方;横杆2放下后压动压片15,通过压片启动行程开关16。
绳索3上均匀设置有多根垂直绳索3形成间隙较小的网格,用于阻挡行人穿过。
赏奇析疑之4
《抗冲击缓冲防攀爬护栏》
1 技术领域
本实用新型涉及道路交通设施技术领域,尤其涉及一种抗冲击缓冲防攀爬护栏。
2 背景技术
目前,现有的防护栏有框架护栏网,三角折弯型防护网,双圈防护网,机场专用防护网,桃型柱防护网,C型柱防护网,防眩网护栏网这几类。护栏主要用于工厂、车间、仓库、停车场、商业区、公共场所等场合中对设备和设施进行保护与防护,护栏在我们的生活中随处可见,尤其是在城市道路中。
现有的防护栏结构大同小异,没有新意,大部分是由大体框架和网状结构组成,功能单一;市面上的防护栏栅大部分的功能都是只有防护和警示的作用,功能比较局限,无法针对攀爬护栏现象进行监测以及对过往车辆进行良好的保护。
3 发明内容
本实用新型所提出的一种抗冲击缓冲防攀爬护栏,包括底座、矩形框主体、立柱、伸缩弹簧杆和防攀爬组件;所述矩形框主体设置有两个,间隔一定距离的平行对称布置,且矩形框主体的内部均匀设置有竖向立柱;两个矩形框主体前后两端的底部之间均通过底座与地面连接;两个矩形框主体的上侧以及下侧之间均通过均匀间隔的伸缩弹簧杆连接;所述伸缩弹簧杆之间相互平行并与矩形框主体相互垂直;所述防攀爬组件设置在两个矩形框主体的顶部之间。
4 实用新型的优点
本实用新型在兼顾传统防护栏栅功能的同时,对车辆有了一定程度上的保护,减小了因冲撞对车辆造成的损伤,也提高了防护栏的防冲撞能力;太阳能板为整个装置提供电能符合绿色发展与创新;红外探测可有效针对攀爬护栏行为进行防范,提高道路行驶的安全性;警报灯可提醒驾驶员行人护栏攀爬情况,提早进行减速防范。
5 附图说明
为了更清楚地说明本实用新型实施例或现有技术中的技术方案,下面将对实施例或现有技术描述中所需要使用的附图做以简单地介绍,显而易见地,下面描述中的附图是本实用新型的一些实施例,对于本领域普通技术人员来讲,在不付出创造性劳动性的前提下,还可以根据这些附图获得其他的附图。
图1是本实用新型所提出的一种抗冲击缓冲防攀爬护栏一个实施例的整体结构示意图;
图2是图1中的局部放大结构示意图;
图3是图1中的部分结构示意图。
其中,附图标记:1-红外线接收器;2-伸缩弹簧杆;3-警报灯;4-红外线发射器;5-橡胶滚筒;6-底座;7-矩形框主体;8-太阳能板;9-处理盒。

图1
图2
图3
6 具体实施方式
参见附图1至3,给出了本实用新型所提出的一种抗冲击缓冲防攀爬护栏的一个实施例的具体结构。所述护栏包括伸缩弹簧杆2、底座6、矩形框主体7、立柱和防攀爬组件;所述矩形框主体7设置有两个,两个矩形框主体7间隔一定距离的相互平行且对称布置,且矩形框主体7内部的上下两侧之间均匀设置有多个竖向的立柱,本实施例中,立柱的数量为十三个,且每个立柱的外侧均可转动的包裹连接有防撞滚筒,所述防撞滚筒为橡胶滚筒5;所述矩形框主体7的外表面均匀涂覆有防锈反光油漆层,以起到防锈与警示的双重作用;两个矩形框主体7前端的底部之间连接有底座6,后端的底部之间同样连接有底座6,所述底座6与地面连接;两个矩形框主体7的上侧之间通过若干均匀间隔的伸缩弹簧杆2连接,下侧之间同样通过若干均匀间隔的伸缩弹簧杆2连接,本实施例中,两个矩形框主体7的上侧以及下侧之间分别通过六个伸缩弹簧杆2连接;各所述伸缩弹簧杆2之间相互平行并与矩形框主体7相互垂直;所述防攀爬组件设置在两个矩形框主体7的顶部之间。
所述防攀爬组件包括红外线接收器1、警报灯3、红外线发射器4、太阳能板8和处理盒9;所述处理盒9设置在两个矩形框主体7顶端的一侧之间;所述红外线接收器1设置在两个矩形框主体7顶端的另一侧之间且与处理盒9相对;所述红外线发射器4设置在处理盒9上与红外线接收器1相对应的一侧端面;所述警报灯3和太阳能板8分别设置在处理盒9顶端的两侧,;所述红外线发射器4和处理盒9由太阳能板8提供电能。
本实用新型的作用原理在于:在红外线发射器4和红外线接收器1中间形成一段闭合回路,红外线发射器4和红外线接收器1之间形成一条红外警戒线,若红外线光束中间被阻断,则说明中间段有物体或有行人正在翻越护栏,此时这一变化经处理盒9分析处理后传送至警报灯3,随即警报灯3会开始闪烁警报,电能来源由太阳能板8发电提供。
设置的橡胶滚筒5可减缓汽车撞击时的冲击力,因橡胶材质具有弹性可以在很大程度上对车辆进行很好的保护,伸缩弹簧杆2进一步削弱汽车的冲撞力,也提高了防护栏本身的防冲撞能力。
赏奇析疑之5
《智能触发式事故预警防护栏》
1 技术领域
本实用新型涉及防护栏技术领域,尤其涉及一种智能触发式事故预警防护栏。
2 背景技术
目前,现有的防护栏有框架护栏网、三角折弯型防护网、双圈防护网、机场专用防护网、桃型柱防护网、C型柱防护网和防眩网护栏网等类别。护栏主要用于公路、工厂、车间、仓库、停车场、商业区、公共场所等场合中对设备与设施的保护与防护。护栏在我们生活中处处可见。
但是现有的防护栏结构简单、功能比较局限,不具备即时自动报警功能,不能在发生交通事故的第一时间将警报传输至交警或高速公路监控部门,从而延误对受困人员的救援,造成不必要的人员伤亡。尤其在高速路上发生交通事故时,后方车辆无法及时知道具体情况,导致后方车辆无法及时减速,容易发生二次事故。
3 发明内容
针对上述问题,本实用新型的目的在于提供一种智能触发式事故预警防护栏,功能不再单一,可应用的范围更广,符合绿色发展与创新,实现了信息共享的功能,最大程度避免了二次碰撞和交通拥挤的发生。本实用新型采用的技术手段如下:
一种智能触发式事故预警防护栏,包括护栏主体、自动报警装置、显示器、报警灯和太阳能板;所述自动报警装置分别设置在护栏主体内侧;所述显示器设置在护栏主体顶端的中部;所述报警灯和太阳能板分别设置在护栏主体两侧顶端;所述自动报警装置与显示器、报警灯和太阳能板串联,正常工作时,自动报警装置处于断开状态;自动报警装置受到撞击时,串联回路闭合。
4 实用新型的优点
本实用新型在兼顾传统防护栏栅功能的同时,与节能环保和信息共享相结合,为城市道路交通安全起到保护与提醒的作用;
太阳能板和蓄电池为整个装置提供电能符合绿色发展与创新,报警灯和显示器实现了信息共享的功能;
报警灯可以提醒后方的驾驶人员前方发生事故尽量避免二次碰撞和交通拥挤的发生;
显示器,通过视觉效果给行人与驾驶员提供警示作用,从而使防护栏的警示效果更强。
基于上述理由本实用新型可在交通设施技术等领域广泛推广。
5 附图说明
为了更清楚地说明本实用新型实施例或现有技术中的技术方案,下面将对实施例或现有技术描述中所需要使用的附图做以简单地介绍,显而易见地,下面描述中的附图是本实用新型的一些实施例,对于本领域普通技术人员来讲,在不付出创造性劳动性的前提下,还可以根据这些附图获得其他的附图。
图1是本实用新型所提出的一种智能触发式事故预警防护栏一个实施例的整体结构示意图;
图2是图1中自动报警装置的结构示意图;
图3是图1中报警灯的结构示意图。
图中:1-护栏主体;2-自动报警装置;21-绝缘橡胶片;22-导电金属丝;23-导线;24-金属外壳;3-显示器;4-报警灯;41-LED灯;42-灯罩;43-红色遮光板;5-太阳能板;6-手动报警按钮;7-控制面板;8-蓄电池。
图1

图2

图3
6 具体实施方式
为使本实用新型实施例的目的、技术方案和优点更加清楚,下面将结合本实用新型实施例中的附图,对本实用新型实施例中的技术方案进行清楚、完整地描述,显然,所描述的实施例是本实用新型一部分实施例,而不是全部的实施例。基于本实用新型中的实施例,本领域普通技术人员在没有做出创造性劳动前提下所获得的所有其他实施例,都属于本实用新型保护的范围。
参见附图1至3,给出了本实用新型所提出的一种智能触发式事故预警防护栏的一个实施例的具体结构。所述护栏包括多段护栏主体1、自动报警装置2、显示器3、报警灯4和太阳能板5;所述自动报警装置2分别竖向且均匀间隔的设置在各段护栏主体1内侧的上下两端之间,即呈栅栏结构排布;所述显示器3横向设置在各段护栏主体1顶端的中部区域;所述报警灯4和太阳能板5分别设置在各段护栏主体1顶端两侧的连接处;所述自动报警装置2与显示器3、报警灯4和太阳能板5串联为一个回路,正常工作时,自动报警装置2处于断开状态,整个回路断开,显示器3和报警灯4不工作;当自动报警装置2受到撞击时,串联回路闭合,显示器3和报警灯4工作。
其中,所述自动报警装置2包括绝缘橡胶片21、导电金属丝22、导线23和金属外壳24;所述金属外壳24横向均布的固定在护栏主体1侧面的中下部区域;所述绝缘橡胶片21分别设置在金属外壳24两端的内部;所述导电金属丝22设置在金属外壳24内部,且两端分别与绝缘橡胶片21连接;所述金属外壳24通过两端外部连接的导线23与显示器3、报警灯4和太阳能板5串联;所述导电金属丝22和金属外壳24的材料为铜。
本实施例中,所述护栏主体1的侧面还设置有手动报警装置;所述手动报警装置与显示器3和报警灯4单独串联为一个回路;具体的,所述手动报警装置包括手动报警按钮6、控制面板7和蓄电池8;所述手动报警按钮6、控制面板7、蓄电池8、显示器3和报警灯4单独串联为一个回路
所述报警灯包括LED灯41、灯罩42和红色遮光板43;所述LED灯41设置在灯罩42内的底部;所述红色遮光板43竖向设置在灯罩42内的中部;所述灯罩底部与护栏主体1固连。
本实用新型的作用原理在于:当车辆碰撞到护栏主体1导致自动报警装置2变形时,所述金属外壳24与内部的导电金属丝22接触形成回路,从而触发显示器3和报警灯4工作;若自动报警装置2未被触发,也可以由驾驶员通过手动报警按钮6手动控制,使其由控制面板7控制显示器3和报警灯4进行工作。
同时还可以设置成当自动报警装置2被触发自动报警或者由手动报警按钮6进行报警时,可将由以损坏的护栏主体1为中心向后方的150米以内的显示器3和报警灯4发送控制信息使其显示“前方发生交通事故请减速慢行”和灯光闪烁,以提醒后方驶来的车辆。
本实用新型在兼顾传统防护栏栅功能的同时,与节能环保和信息共享相结合,为城市道路交通安全起到保护与提醒的作用;太阳能板5和蓄电池8为整个装置提供电能符合绿色发展与创新,报警灯4和显示器3实现了信息共享的功能;报警灯4可以提醒后方的驾驶人员前方发生事故尽量避免二次碰撞和交通拥挤的发生;显示器3通过视觉效果给行人与驾驶员提供警示作用,从而使防护栏的警示效果更强,而且该种结构的护栏可应用到高速公路、城市道路等各种道路环境中,预警效果显著。