赏奇析疑之1
《人行道信号联动控制链》
1 技术领域
本实用新型所述的人行道信号联动控制链,涉及一种交通安全设施,具体为与交通信号灯联动的,可预防并阻止行人闯红灯的控制链。
2 背景技术
随和社会的发展,车辆的数量也越来越多,各种交通事故也随之增多;尤其是在各种路口,有些行人会不按照交通信号灯的提示通过马路,导致交通事故的发生,造成不必要的人身伤害及财产损失。
针对上述现有技术中所存在的问题,研究设计一种新型的人行道信号联动控制链,从而克服现有技术中所存在的问题是十分必要的。
3 发明内容
鉴于上述现有技术中所存在的问题,本实用新型的目的是研究设计一种新型的人行道信号联动控制链。用以避免交通路口行人闯红灯而造成的交通事故等问题。
本实用新型设计装于人行横道处,通过与交通信号灯的联动控制,对行人进行必要的阻挡,来防止交通意外的发生。
本实用新型的技术解决方案是这样实现的:
本实用新型所述的人行道信号联动控制链包括:驱动装置、传动装置、阻挡装置、提示装置及交通信号灯;所述的驱动装置与传动装置相连接;传动装置与阻挡装置相连接;阻挡装置上装有提示装置;驱动装置和提示装置均通过导线与交通信号灯的控制系统相连接,实现同步启停;驱动装置和传动装置设置于预先挖出的地槽内,地槽上装有地槽盖,阻挡装置装于地槽盖上部,并与位于地槽盖下部的传动装置相连接。
4 实用新型的优点
(1)本实用新型的使用,改变了行人的行为准则,由制动遵从信号灯的指示行动,改变为由阻挡链的阻挡变为被动遵从行动,大幅度的预防了交通事故的产生;
(2)本实用新型的阻挡链采用具有弹性的链条,可以防止由于硬闯或未注意而闯等时,被阻挡链绊倒的可能性;
(3)本实用新型的阻挡链升起前,通过三色提示灯及提示音报警器对行人进行提醒,防止阻挡链升起时,对行人造成身体伤害;
(4)本实用新型在地槽盖上设置有链槽,对落下的阻挡链进行收纳,防止阻挡链绊倒行人;
(5)本实用新型与交通信号灯同步联动,更好的控制了行人与车辆的行进状态,提高了交通秩序;
(6)本实用新型设置在人行道旁,其上的三色提示灯及提示音报警器,同样对经过人行道的车辆起到了行进规范,避免了交通意外的发生。
本实用新型具有结构新颖、安装简便、使用方便、安全可靠、美观大方等优点,其大批量投入市场必将产生积极的社会效益和显著的经济效益。
5 附图说明
本实用新型共有4幅附图,其中:
附图1为本实用新型布局图;
附图2为本实用新型阻挡链落下时结构示意图;
附图3为本实用新型阻挡链升起前三色提示灯启动是结构示意图;
附图4为本实用新型阻挡链升起后结构示意图。
在图中:1、地槽 2、地槽盖 3、驱动电机 4、减速器 5、联轴器 6、轴承座 7、立柱 8、三色提示灯 9、传动链 10、传动轮座 11、提示音报警器 12、小传动轮 13、阻挡链长槽 14、大传动轮 15、传动轴 16、阻挡链 17、链槽 18、交通信号灯。

图1

图2

图3

图4
6 具体实施方式
本实用新型的具体实施例如附图所示,人行道信号联动控制链包括:驱动装置、传动装置、阻挡装置、提示装置及交通信号灯18;所述的驱动装置与传动装置相连接;传动装置与阻挡装置相连接;阻挡装置上装有提示装置;驱动装置和提示装置均通过导线与交通信号灯18的控制系统相连接,实现同步启停;
驱动装置和传动装置设置于预先挖出的地槽1内,地槽1上装有地槽盖2,阻挡装置装于地槽盖2上部,并与位于地槽盖2下部的传动装置相连接;
驱动装置包括:驱动电机3、减速器4和联轴器5;驱动电机3的输出端通过减速器4和联轴器5与传动装置相连接;驱动电机3通过导线与交通信号灯18的控制系统相连接;
传动装置包括:传动轴15、大传动轮14、传动链9和小传动轮12;传动轴15通过轴承座6装于地槽内,并通过减速器4和联轴器5与驱动电机3的输出轴相连接;大传动轮14装于传动轴15上;小传动轮12通过传动轮座10装于阻挡装置内的上部;大传动轮14与小传动轮12之间装有传动链9;
阻挡装置包括:两根立柱7、阻挡链16;立柱7为顶部封闭的筒型结构;在立柱壁上设置有阻挡链长槽13,两根立柱7的阻挡链长槽13相对设置;阻挡链16的两端由阻挡链长槽13进入立柱7内部,与传动链9可拆卸链接,并在传动链9的带动下升降;阻挡链16为具有弹性的橡胶链、合成纤维制成的链条或金属链条;阻挡链16的长度与人行横道的宽度相同,装于位于人行横道宽度两端的立柱7内;阻挡链16的升起高度为0.8米。
提示装置包括:三色提示灯8和提示音报警器11;三色提示灯8和提示音报警器11装于立柱7的外部,并通过导线与交通信号灯18的控制系统相连接;三色提示灯8为与交通信号灯18相配的红色、黄色及绿色灯,并且三色提示灯各色的开启和关闭与交通信号灯18的三色灯光的开启与关闭同步;三色提示灯8的三色灯光在更换亮灯颜色前5秒发出闪烁灯光;提示音报警器11在三色提示灯8中黄色灯亮起时发出提示音。
地槽盖2上设置有链槽17,用于收纳落下的阻挡链。
赏奇析疑之2
《弹簧式缓压减速装置》
1 技术领域
本实用新型涉及道路安全公共设施技术领域,尤其涉及能够伸缩复位的减速装置。
2 背景技术
减速带也叫减速垄,是安装在公路上使经过的车辆减速的交通设施,形状一般为条状,也有点状的,材质主要是橡胶,也有是金属的,一般以黄色黑色相间以引起视觉注意,使路面稍微拱起以达到车辆减速目的。现有的减速带设置均为固定拱起状,该设置存在如下缺陷:
(1)由于车辆驶过坚硬拱起的减速带,车内驾乘人员会有强烈颠簸感;
(2)不管车速快慢,都会对车辆避震器造成损伤;
(3)经常驶过减速带、能够加剧轮胎磨损,造成车辆行驶安全问题;
(4)经常驶过减速带、会损伤汽车底盘和车身车内的结构,容易产生松动;
(5)现有减速带为橡胶材质,易损坏,用膨胀螺丝固定到路面,造成路面破坏;减速带破损后,螺栓突显对轮胎造成更大的损伤。
针对上述现有技术中所存在的问题,研究设计一种新型的弹簧式缓压减速装置,从而克服现有技术中所存在的问题是十分必要的。
3 发明内容
根据上述现有技术中提出的固定式减速带对车辆造成的损坏以及对车内人员带来的乘坐不适感等技术问题,而提供一种弹簧式缓压减速装置。本实用新型主要利用可复位的伸缩结构支撑活动的减速带上下移动,从而起到减缓车辆行进速度及保护车辆不受损坏和车内乘坐人员的舒适度的目的。
本实用新型采用的技术手段如下:
一种弹簧式缓压减速装置包括:支撑结构、弹性结构、减速板;支撑结构包括:壳体、至少一对支撑立板;壳体为长900mm、宽350mm、高250mm的长条形或直径350mm、高250mm圆形槽状结构,其顶部敞开与路面保持在同一平面;在壳体的内部沿轴向对称装有至少一对支撑立板;弹性结构装于支撑结构内,包括:至少一个伸缩套筒、压缩弹簧及支撑顶板;伸缩套筒均布于壳体内部,并与壳体的底部固定连接;压缩弹簧选用由碳钢及合金钢材质制成的直径≥200mm、≥长度230mm规格的弹簧,套装于伸缩套筒上;支撑顶板与伸缩套筒固定连接;减速板由金属或橡胶材料制成,通过螺栓装于支撑顶板上,顶部突出壳体的上部槽口,在路面上形成减速拱起。
4 实用新型的优点
(1)本实用新型提供的弹簧式缓压减速装置,通过预埋于路面的壳体将可升降的减速带收纳于其中,减少了车辆经过减速带的颠簸,减少了对车辆带来的损伤;
(2)本实用新型提供的弹簧式缓压减速装置,通过预埋于路面的壳体将可升降的减速带收纳于其中,降低驾乘人员感受的颠簸感;
(3)本实用新型提供的弹簧式缓压减速装置,通过预埋于路面的壳体将可升降的减速带收纳于其中,减少对车辆底盘和车身的损伤,避免车辆各结构的松动;
(4)本实用新型提供的弹簧式缓压减速装置,通过预埋于路面的壳体将可升降的减速带收纳于其中,减少了车胎与减速带的摩擦,降低了轮胎的磨损程度;
(5)本实用新型提供的弹簧式缓压减速装置,通过将支撑立板顶端至挡台的距离设置成与减速板突出壳体的高度相同,确保了减速板下降后与路面齐平,避免了车辆行驶过减速带时造成的颠簸。
综上,应用本实用新型的技术方案解决了现有技术中的固定式减速带对车辆造成的损坏以及对车内人员带来的乘坐不适感等问题。
5 附图说明
为了更清楚地说明本实用新型实施例或现有技术中的技术方案,下面将对实施例或现有技术描述中所需要使用的附图做以简单地介绍,显而易见地,下面描述中的附图是本实用新型的一些实施例,对于本领域普通技术人员来讲,在不付出创造性劳动性的前提下,还可以根据这些附图获得其他的附图。
图1为本实用新型减速板为条形结构的结构示意图;
图2为本实用新型减速板为圆形结构的结构示意图;
图3为图1的A-A视图;
图4为图3减速板压下状态结构示意图。
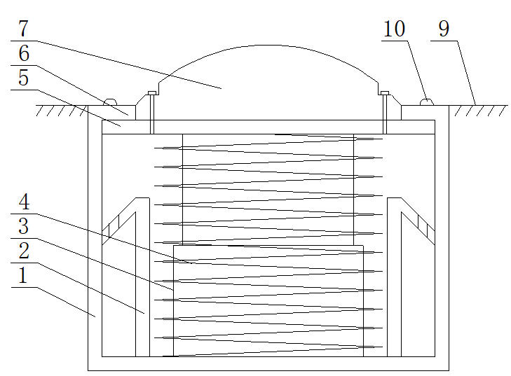
图中:1、壳体 2、支撑立板 3、伸缩套筒 4、压缩弹簧 5、支撑顶板 6、挡台 7、减速板 8、槽口 9、路面。

图1

图2

图3

图4
6 具体实施方式
(1)实施例1
如图1、3和4所示,本实用新型提供了一种弹簧式缓压减速带包括:支撑结构、弹性结构、减速板7;支撑结构包括:壳体1、至少一对支撑立板2;壳体1为长条形槽状结构,其顶部敞开与路面9保持在同一平面;在壳体1的内部沿轴向对称装有至少一对支撑立板2;弹性结构装于支撑结构内,包括:至少一个伸缩套筒3、压缩弹簧4及支撑顶板5;伸缩套筒3均布于壳体1内部,并与壳体的底部固定连接;压缩弹簧4套装于伸缩套筒3上;支撑顶板5与伸缩套筒3固定连接;减速板7通过螺栓装于支撑顶板5上,顶部突出壳体1的上部槽口8,在路面9上形成减速拱起。
壳体1顶端槽口8边缘处沿开口方向设置有挡台6,用于隔挡支撑顶板5。
支撑立板2顶端至挡台6的距离为减速板7突出壳体1的高度。
减速板7为条形板装结构。
减速板7与挡台6的接触面为垂直面,其垂直高度与挡台6的厚度相同,挡减速带7升其后与挡台6紧密结合将壳体1内部完全封闭。
壳体1上还设置有警示灯10,警示灯10通过导线与外部供电设备相连接,用以提醒过往车辆该处有减速装置。
(2)实施例2
如图2-4所示,(在实施例1的基础上,)本实用新型还提供了一种弹簧式缓压减速带包括:支撑结构、弹性结构、减速板7;支撑结构包括:壳体1、至少一对支撑立板2;壳体1为圆形槽状结构,其顶部敞开与路面9保持在同一平面;在壳体1的内部沿轴向对称装有至少一对支撑立板2;弹性结构装于支撑结构内,包括:至少一个伸缩套筒3、压缩弹簧4及支撑顶板5;伸缩套筒3均布于壳体1内部,并与壳体的底部固定连接;压缩弹簧4套装于伸缩套筒3上;支撑顶板5与伸缩套筒3固定连接;减速板7通过螺栓装于支撑顶板5上,顶部突出壳体1的上部槽口8,在路面9上形成减速拱起。
壳体1顶端槽口8边缘处沿开口方向设置有挡台6,用于隔挡支撑顶板5。
支撑立板2顶端至挡台6的距离为减速板7突出壳体1的高度。
减速板7为圆形板状结构。
减速板7与挡台6的接触面为垂直面,其垂直高度与挡台6的厚度相同,挡减速带7升其后与挡台6紧密结合将壳体1内部完全封闭。
壳体1上还设置有警示灯10,警示灯10通过导线与外部供电设备相连接,用以提醒过往车辆该处有减速装置。