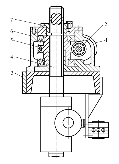
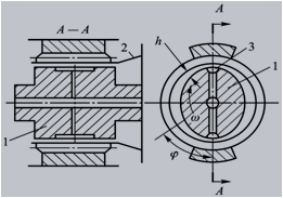
1、机器人的驱动机构
驱动装置是带动臂部到达指定位置的动力源。通常动力是直接或经电缆、齿轮箱或其他方法送至臂部,常见的机器人驱动机构如图2.7所示.目前使用的主要有四种驱动方式: 液压驱动、气压驱动、直流电动机驱动和步进电动机驱动。

图2.7 机械传动系统
(1)直线驱动机构
机器人采用的直线驱动方式包括直角坐标结构的X、Y、Z向驱动、圆柱坐标结构的径向驱动和垂直升降驱动以及球坐标结构的径向伸缩驱动。直线运动可以直接由气缸或液压缸和活塞产生,也可以采用齿轮卤条、丝杠、螺母等传动元件把旋转运动转换成直线运动。
(a)齿轮齿条装置
齿条固定不动,当齿轮传动时, 齿轮轴连同拖板沿齿条方向做直线运动,如图2.8所示。
拖板是由导杆或导轨支承的。
该装置的回差较大。

图2.8 齿轮齿条装置
(b)普通丝杠
普通丝杠驱动是由一个旋转的精密丝杠驱动一个螺母沿丝杠轴向移动。
摩擦力较大, 效率低, 惯性大, 精度低, 回差大,容易产生爬行现象,而且因此在机器人上很少采用。图2.9为由丝杠螺母传动的手臂升降机构。

图2.9 丝杠螺母传动的手臂升降机构
1—电动机;2—蜗杆;3—臂架;4—丝杠;5—蜗轮;6—箱体;7—花键套;
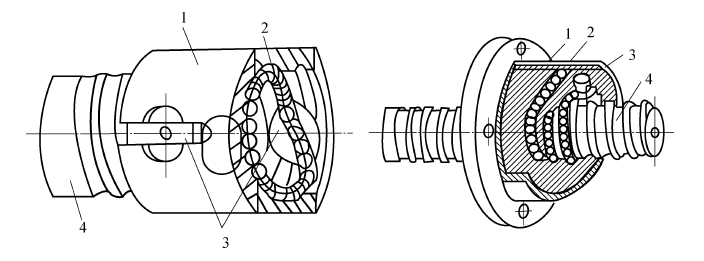
(c)滚珠丝杠
滚珠丝杠在丝杠螺母的螺旋槽里放置了许多滚珠,传动过程中所受的摩擦力是滚动摩擦,可极大地减小摩擦力,因此传动效率高,消除了低速运动时的爬行现象。在装配时施加一定的预紧力,消除回差。如图2.10所示,滚珠丝杠里的滚珠从钢套管里出来,进入经过研磨的导槽,转动2-3圈之后,返回钢套管。通常,人们还使用两个背靠背的双螺母对滚珠丝杠进行预加载来消除丝杠和螺母之间的间隙,提高运动精度。

图2.10 滚球丝杠
1—螺母;2—滚珠;3—回程引导装置;4—丝杠;
(d)液压传动(直接平移)
液压驱动是由高精度的缸体和活塞一起完成的,液压油从液压缸的一端进入,把活塞推向液压缸的另一端,调节液压缸内部活塞两端的液体压力和进入液压缸的油量即可控制活塞的运动。液压驱动适用于生产线固定式大功率机器人。
优点:
液压系统的油压通常为2.6-6.3Mpa,体积小、推力或扭矩大;
液压油可压缩性小,工作平稳可靠;
油液作介质具有防锈和自润滑性,可提高机械效率和寿命;
液压传动中力、速度和方向较易实现自动控制。
缺点:
油液粘度随温度变化,影响工作性能,高温工作时易燃易爆;
液体泄露难于克服,要求液压元件有高的精度和质量,故造价较高;
液压传动要有相应的供油系统,需要严格的滤油装置否则易引起故障;
适用:
生产线固定式大功率机器人;对于单独的机器人机构,今后的发展将以电动驱动为主要方向。
(e)气压传动(直接平移)
与液压传动相比,气压传动的特点是:
优点:
压缩空气粘度小,容易达到高速(1m/s);
利用工厂集中的空气压缩机站供气,不必添加动力设备;
气动元件压力低,故制造要求也比液压元件低;
缺点:
压力为0.4-0.6MPa,出力小;
空气压缩性大,工作平稳性差,速度和位置控制都困难;
压缩空气中的水分会使钢类零件生锈,需要定期水气混排;
适用:
生产线固定式小功率机器人。
(2) 旋转驱动机构
a)齿轮链
齿轮链是由两个或两个以上的齿轮组成的传动机构。它不但可以传递运动角位移和角速度,而且可以传递力和力矩。 现以具有两个齿轮的齿轮链为例, 说明其传动转换关系。其中一个齿轮装在输入轴上,另一个齿轮装在输出轴上, 如图2.12所示。

图2.12 齿轮链机构
使用齿轮链机构应注意的问题
齿轮链的引入会改变系统的等效转动惯量,从而使驱动电机的响应时间减小, 这样伺服系统就更加易控制。
输出轴转动惯量转换到驱动电机上,等效转动惯量的下降与输入输出齿轮齿数的平方成正比。
由于齿轮间隙误差, 将会导致机器人手臂的定位误差增加; 而且, 假如不采取一些补救措施, 齿隙误差还会引起伺服系统的不稳定性。
常用的齿轮链

(a) 圆柱齿轮;(b) 斜齿轮;(c) 锥齿轮;(d) 蜗轮蜗杆; (e) 行星轮系;
b) 同步皮带
同步皮带类似于工厂的风扇皮带和其他传动皮带, 所不同的是这种皮带上具有许多型齿,它们和同样具有型齿的同步皮带轮齿相啮合,如图2.13所示。

图2.13 同步带传动
同步皮带的特点有:
同步带相当于柔软的齿轮, 具有柔性好, 价格便宜、加工也容易。
同步皮带还被用于输入轴和输出轴方向不一致的情况。只要同步皮带足够长,使皮带的扭角误差不太大,则同步皮带仍能够正常工作。
在伺服系统中, 如果输出轴的位置采用码盘测量, 则输入传动的同步皮带可以放在伺服环外面, 这对系统的定位精度和重复性不会有影响, 重复精度可以达到1 mm以内。
有时, 齿轮链和同步皮带结合起来使用更为方便。
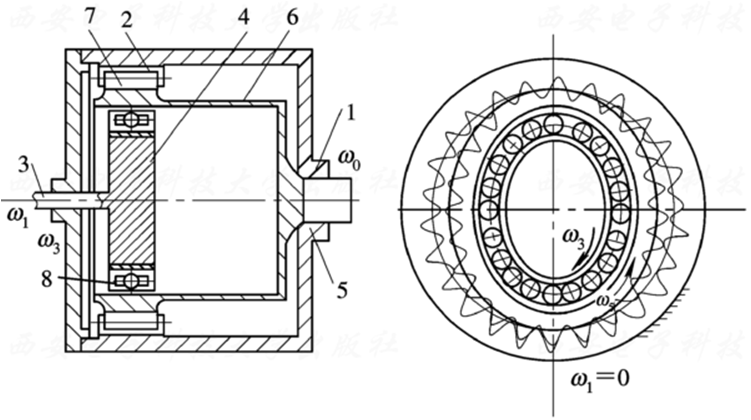
c)谐波齿轮
谐波齿轮传动机构由刚性齿轮、谐波发生器和柔性齿轮三个主要零件组成,如图2.15所示。工作时,刚性齿轮固定安装,各齿均布于圆周,具有外齿形的柔性齿轮沿刚性齿轮的内齿转动。柔性齿轮比刚性齿轮少两个齿,所以柔性齿轮沿刚性齿轮每转一圈就反方向转过两个齿的相应转角。

图2.15 谐波齿轮传动
1—刚轮;2—刚轮的齿;3—输入轴;4—谐波发生器;
5—输出轴;6—柔轮;7—柔轮的齿;8—滚珠轴承
2、传动部件设计
工业机器人的传动装置与一般机械的传动装置的选用和计算大致相同,机器人是运动的,各个部位都需要能源和动力,因此设计和选择良好的传动部件是非常重要的。这涉及到关节形式的确定,传动方式以及传动部件的定位和消隙等多个方面。
(1) 关节(如转动关节与移动关节)
1)转动关节:转动关节由回转轴、轴承和驱动机构组成。
① 转动关节的形式:


②轴承
机器人中轴承起着相当重要的作用,用于转动关节的轴承有多种形式,球轴承是机器人和机械手结构中最常用的轴承。球轴承能承受径向和轴向载荷,摩擦较小,对轴和轴承座的刚度不敏感。

基本耐磨球轴承
2)移动关节
移动关节由直线运动机构和在整个运动范围内起直线导向作用的直线导轨部分组成。导轨部分分为滑动导轨、滚动导轨、静压导轨和磁性悬浮导轨等形式。
一般,要求机器人导轨间隙小或能消除间隙;在垂直于运动方向上要求刚度高,摩擦系数小且不随速度变化,并且有高阻尼、小尺寸和小惯量。通常,由于机器人在速度和精度方面的要求很高,故一般采用结构紧凑且价格低廉的滚动导轨。
滚动导轨可以按直线导轨的种类、轨道形状和滚动体分为:
① 按滚动体分类——球、圆柱滚子和滚针。
② 按轨道分类——圆轴式、平面式和滚道式。
③ 按滚动体是否循环分类——循环式、非循环式。

直线导轨

滚珠丝杠
(2) 传动件的定位和消隙
1)传动件的定位
工业机器人的重复定位精度要求较高,设计时应根据具体要求选择适当的定位方法。目前常用的定位方法有电气开关定位、机械挡块定位和伺服定位。
①电气开关定位
电气开关定位是利用电气开关(有触点或无触点) 作行程检测元件,当机械手运行到定位点时,行程开关发出信号,切断动力源或接通制动器,从而使机械手获得定位。液压驱动的机械手运行至定位点时,行程开关发出信号,电控系统使电磁换向阀关闭油路而实现定位。电动机驱动的机械手需要定位时,行程开关发出信号,电气系统激励电磁制动器进行制动而定位。使用电气开关定位的机械手,其结构简单、工作可靠、维修方便,但由于受惯性力、油温波动和电控系统误差等因素的影响,重复定位精度比较低,一般为±(3-5)mm。
②机械挡块定位
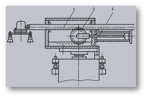
机械挡块定位是在行程终点设置机械挡块,当机械手减速运动到终点时,仅靠挡块而定位。若定位前缓冲较好,定位时驱动压力未撤除,在驱动压力下将运动件压在机械挡块上,或驱动压力将活塞压靠在缸盖上就能达到较高的定位精度,最高可达±0.02mm。若定位时关闭驱动油路、去掉驱动压力,机械手运动件不能紧靠在机械挡块上,定位精度就会减低,其减低的程度与定位前的缓冲效果和机械手的结构刚性等因素有关。图2.16所示为利用机械插销定位的结构。机械手运行到定位点前,由行程节流阀实现减速,到达定位点时,定位油缸将插销推入定位圆盘的定位孔中实现定位。这种方法的定位精度很高。

图2.16 利用插销定位的结构
1—行程节流阀;2—定位圆盘;3—插销;4—定位油缸
③伺服定位系统
电气开关定位与机械挡块定位这两种定位方法只适用于两点或多点定位。而在任意点定位时,要使用伺服定位系统。伺服系统可以输入指令控制位移的变化,从而获得良好的运动特性。它不仅适用于点位控制,而且也适用于连续轨迹控制。开环伺服定位系统没有行程检测及反馈,是一种直接用脉冲频率变化和脉冲数控制机器人速度和位移的定位方式。这种定位方式抗干扰能力差,定位精度较低。如果需要较高的定位精度(如±0.2mm),则一定要降低机器人关节轴的平均速度。闭环伺服定位系统具有反馈环节,其抗干扰能力强,反应速度快,容易实现任意点定位。

齿轮齿条反馈式电-液闭环伺服定位系统方框图
2)传动件的消隙
一般传动机构存在有间隙,也叫侧隙。就齿轮传动而言,齿轮传动的侧隙是指一对齿轮中一个齿轮固定不动,另一个齿轮能够做出的最大的角位移。传动的间隙,影响了机器人的重复定位精度和平稳性。对机器人控制系统来说,传动间隙导致显著的非线性变化、振动和不稳定。但是,传动间隙是不可避免的,其产生的主要原因有: 由于制造及装配误差所产生的间隙,为适应热膨胀而特意留出的间隙。消除传动间隙的主要途径有: 提高制造和装配精度、设计可调整传动间隙的机构及设置弹性补偿零件。
①消隙齿轮
图2.18(a)所示的弹簧消隙方法中的齿轮是由具有相同齿轮参数的并只有一半齿宽的两个薄齿轮组成,利用弹簧的压力使它们与配对的齿轮两侧齿廓相接触,完全消除了齿侧间隙。图2.18(b)所示为用螺钉3将两个薄齿轮1和2连接在一起,代替图2.18(a)中的弹簧,其好处是侧隙可以调整。

图2.18 消隙齿轮
②柔性齿轮消隙
图2.19(a) 所示为一种钟罩形状的具有弹性的柔性齿轮,在装配时对它稍许加些预载,就能引起轮壳的变形,从而引起每个轮齿的双侧齿廓都能啮合,消除了侧隙。图2.19(b) 所示为采用了上述同样的原理却用不同设计形式的径向柔性齿轮,轮壳和齿圈是刚性的,但与齿轮圈连接处具有弹性。

图2.19 柔性齿轮消隙
③对称传动消隙
一个传动系统设置两个对称的分支传动,并且其中必有一个是具有“回弹” 能力的。由于谐波传动中的柔轮弹性很好,图2.20所示的是使用了两个谐波传动的消隙方法。电机置于关节中间,电机双向输出轴连接完全相同的两个谐波减速器,驱动一个手臂的运动。图2.21为两种消隙啮合传动方法。

图2.20 双谐波传动消隙方法

图2.21 对称传动消隙

图(a)1—电动机;2—小齿轮;3',3"—减速传动齿轮;4' ,4"—轴;5',5"—齿轮;6—齿轮
图(b)1,2—齿轮箱;3,4,5—齿轮;6—电动机; 7—同步带;8—压紧轮;9—同步带传动
④偏心机构消隙
如图2.22所示的偏心机构实际上是中心距调整机构。特别是齿轮磨损等原因造成传动间隙增加时,最简单的方法是调整中心距,这是在PUMA 机器人腰转关节上应用的又一实例。

图2.22 偏心轮消隙机构
⑤齿廓弹性覆层消隙
齿廓弹性覆层消隙是在齿廓表面覆有薄薄一层弹性很好的橡胶层或层压材料,相啮合的一对齿轮加以预载,可以完全消除啮合侧隙,如图2.23所示,齿轮几何学上的齿面相对滑动在橡胶层内部发生剪切弹性流动时被吸收。因此,像铝合金,甚至石墨纤维增强塑料这种非常轻而又具备良好接触和滑动品质的材料,可用来作为传动齿轮的材料,也可大大地减少了重量和转动惯量。

图2.23 齿廓弹性覆层消隙
(3) 机器人传动机构(如齿轮、绳与钢带传动等)
1)齿轮传动

行星齿轮传动

谐波齿轮传动

采用液压静压谐波发生器的谐波传动
1—凸轮;2—柔轮;3—小孔
2)丝杠传动
其特点是远距离传动力,性能好。运动形式为转--转。

滚动丝杠的基本组成
1—丝杠;2—螺母;3—滚珠;4—导向槽

丝杠螺母传动的手臂升降机构
1—电动机;2—蜗杆;3—臂架;4—丝杠;5—蜗轮;6—箱体;7—花键套
3)带传动与链传动

齿形带形状
4)绳传动与钢带传动

钢带传动

采用钢带传动的ADEPT机器人
5) 杆、连杆与凸轮传动

凸轮机构

连杆机构
6)流体传动

油缸和齿轮齿条手臂机构

气缸和齿轮齿条增倍手臂机构
1—运动齿条;2—齿轮;3—活塞杆
3、驱动装置的类型和特点
(1)电动驱动装置
电动驱动装置的能源简单,速度变化范围大,效率高,速度和位置精度都很高。但它们多与减速装置相联,直接驱动比较困难。
电动驱动装置又可分为直流 (DC)、交流(AC)伺服电机驱动和步进电机驱动。
直流伺服电机电刷易磨损,且易形成火花。无刷直流电机也得到了越来越广泛的应用。
步进电机驱动多为开环控制,控制简单但功率不大,多用于低精度小功率机器人系统。

直流电机(有刷) 盘式无刷直流电机 步进电机 伺服电机
(2)液压驱动装置
•优点:功率大,可省去减速装置直接与被驱动的杆件相连,结构紧凑,刚度好,响应快,伺服驱动具有较高的精度。
•缺点:需要增设液压源,易产生液体泄漏,不适合高、低温场合,故液压驱动目前多用于特大功率的机器人系统。

液压马达 液压摆动马达 液压泵 液压控制阀
(3)气动驱动装置
气压驱动的结构简单,清洁,动作灵敏,具有缓冲作用。但与液压驱动装置相比,功率较小,刚度差,噪音大,速度不易控制,所以多用于精度不高的点位控制机器人。下图给出了气动驱动装置中常见的一些气动元件。

气动马达 气动摆动马达 气缸

气泵 气动三大件 气动控制阀
(4)驱动装置的选择原则
驱动装置的选择应以作业要求、生产环境为先决条件,以价格高低、技术水平为评价标准。一般说来,目前负荷为100 kg以下的,可优先考虑电动驱动装置。只须点位控制且负荷较小者,或有防暴、清洁等特殊要求者,可采用气动驱动装置。负荷很大或机器人周围已有液压源的常温场合,可采用液压驱动装置。
对于驱动装置来说,最重要的指标要求是起动力矩大,调速范围宽,惯量小,尺寸小,同时还要有性能好、与之配套的数字控制系统。
4、新型的驱动方式
(1)磁致伸缩驱动
铁磁材料和亚铁磁材料在交变磁场的作用下,产生与交变磁场频率相同的机械振动;或者相反,在拉伸、压缩力作用下,由于材料的长度发生变化,使材料内部磁通密度相应地发生变化,在线圈中感应电流,机械能转换为电能,这种现象称为磁致伸缩。这一现象已用于制造具有微英寸量级位移能力的直线电机。


(2)形状记忆合金驱动器
形状记忆效应实验



原始形状 拉直 加热恢复变性前形状
形状记忆合金的另一重要性质是伪弹性,表现为在外力作用下,形状记忆合金具有比一般金属大的多的变形恢复能力,即加载过程中产生的大应变会随着卸载而恢复。利用记忆合金在加热时形状恢复的同时其回复力可对外作功的特性,能够制成各种驱动元件。这种驱动机构结构简单,灵敏度高,可靠性好。

上图是一个双程CuZnAl记忆合金弹簧,它是SMA用作驱动器的典型形式。该弹簧是随温度变化自行伸缩的感温驱动元件。采用CuZnAl记忆合金丝,表面镀锡,以热水或热风为热源,典型伸缩温度为65℃~85℃,自由状态为45mm,伸长状态为200mm。 可见其形变量较大,可以产生足够的驱动力。
(3) 静电驱动器
如图2.28是一个带有电阻器移动子的三相静电驱动器的工作原理图。在图2.28(b)中,表示了当把电压施加到定子的电极上时,在移动子中会感应出极性与其相反的电荷来。在图2.28(c)中,当把外加电压变化时,因为移动子上的电荷不能立即变化,所以由于电极的作用,移动子会受到右上方向的合力作用,驱动其向右方移动。

图2.28 三相静电驱动器工作原理
这种执行器有下列特征:
①因为移动子中没有电极,所以不必确定与定子的相对位置, 定子电极的间距可以非常小。
②因为驱动时会产生浮力,所以摩擦力小,在停止时由于存在着吸引力和摩擦力,因此可以获得比较大的保持力。
③因为构造简单,所以可以实现以薄膜为基础的大面积多层化结构。
基于上述各点, 把这种执行器作为实现人工筋肉的一种方法,受到了人们的关注。
(4)超声波电机
超声波电机的工作原理是用超声波激励弹性体定子, 使其表面形成椭圆运动,由于其上与转子(或滑块)接触,在摩擦的作用下转子获得推力输出。 如图2.29所示, 可以认为定子按照角频率ω0,进行超声波振动, 在预压W作用下, 转子被推动。
超声波电机的负载特性与DC电机相似,相对于负载增加, 转速有垂直下降的趋势,将超声波电机与DC电机进行比较,它的特点有:
① 可望达到低速、 高效率;
②同样的尺寸,能得到大的转矩;
③ 能保持大转矩;
④ 无电磁噪声;
⑤ 易控制,外形的自由度大等。

图2.29 超声波电机的工作原理图
(5)气动肌肉驱动器
气动肌肉驱动器(Pneumatic Muscle Actuator,PMA),以下简称气动肌肉,是一种新型的拉伸型气动驱动器,通常由一段包裹纤维网的橡胶筒和两端的接头附件连接组成,能够像生物肌肉那样产生很大的收缩力。
按结构形式可将气动肌肉分为三类:

1)编织式气动肌肉
编织式气动肌肉主要由气密弹性管和套在它外面的编织套组成。

2)网孔式气动肌肉
网孔式气动肌肉是网状式气动肌肉,网孔比较大,纤维比较稀疏,网是系结而成的,这种肌肉只能在较低的压力下工作。


3)嵌入式气动肌
气动肌肉承受负载的构件(丝、纤维) 嵌入到弹性薄膜里。


气动肌肉原理

气动肌肉的结构虽然很多,但原理上基本类似。其核心是个可膨胀的薄壁囊,外部为限制变形的支撑材料,两端使用连接件固定。对橡胶筒套充气时,橡胶筒套因弹性变形压迫外部编织网,由于编织网刚度很大,限制其只能径向变形,直径变大,长度缩短。此时,如果将气动人工肌肉与负载相联,就会产生收缩力;反之,当放气时气动人工肌肉弹性回缩,直径变细,长度增加,收缩力减小。

