高级设置—后台页面设置:可对表单数据管理页面的显示和布局进行设置。

万能表单页面区域说明
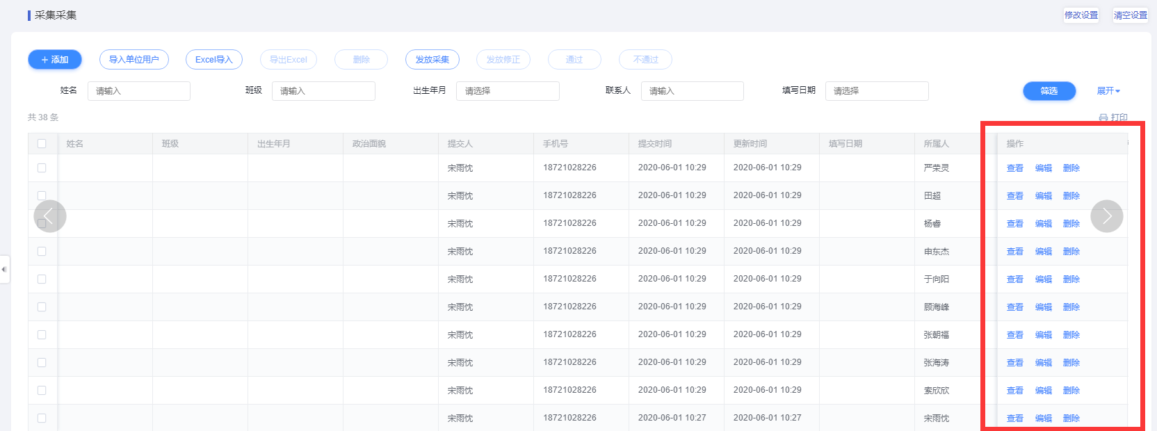
1.顶部操作按钮设置:默认显示添加、导入、导出、删除。从管理后台新建的表单,默认显示发放采集和发放修正,从应用市场创建的表单此两项默认不显示。开启了审核功能的表单会增加通过和不通过2个顶部按钮。

注意:
①只有当表单内存在“所属人”字段时,才能开启并使用“导入单位用户”功能;
②顶部操作按钮可设置是否显示,可调整按钮顺序,可编辑(更改)按钮名称,也可自定义新建按钮。——详见第五章第1节自定义操作按钮
2.筛选设置:可将表单内字段添加作为表单数据筛选项,可调整筛选项顺序,可设置筛选项的默认逻辑:
注意:筛选项中如果包含提交时间,每次进入表单时将默认按提交时间当天对数据进行筛选,如需显示以往数据可先点击“清空筛选”(并非数据丢失)
——如不需要,可在筛选设置中将提交时间删除

表单内筛选项默认展示一行,如超过一行可点击展开显示全部筛选项:


3.右侧操作按钮设置:表单最右侧“操作”一列中按钮的设置,默认查看、编辑、删除3项。开启了审核功能的表单会增加通过和不通过2个右侧按钮。可设置按钮是否显示,可调整按钮顺序,可编辑(更改)按钮名称,设置按钮显示规则。也可自定义新建按钮(支持打开url、修改字段值、打开关联表、发放编辑、发起审核、发起填表和触发修改等——详见第5章相应章节)。


注意:“操作”这一列在表单中默认固定悬浮显示在表格最右侧,若将此列全部操作按钮隐藏、则“操作”这一列不再显示:


4.字段显示设置:控制后台数据管理页面列表中所显示的字段,选择范围是表单内所有字段。数字、日期、单行输入和自动编号字段可以开启支持数据排序。可设置默认的数据排序规则,也可开启手动排序,即允许用户在数据管理页自行调整数据排序。
系统字段序号、提交人、手机号、UID、学工号、部门、提交时间、更新时间默认不显示、可从右上角管理字段中进行添加。
单行输入和数字字段支持开启直接编辑,即可以点击表格直接修改数据、不需要点开编辑按钮。字段并且支持设置不同的底色。

设置了底色的字段效果:

5.底部合计设置:将表单里数字类型的字段内数值进行合计,并于后台表格下方进行展示。支持筛选后重新合计。

合计来源:
①表单中数字输入字段的自动求和(默认未开启,开启后将自动统计并显示于表格下方)
②自定义合计项目:从表单数字输入字段中选择、进行公式编辑

添加合计项目

合计效果
6.页面样式设置:可更改数据管理页显示样式,目前有2套模板可供选择。
