陈开梓
- 单位:宁德师范学院 马克思主义学院
- 职称:副教授
- 职位:教研室主任
- 出生:1968年12月
- 性别:男
- 社会职务: 兼职律师
- 微博:
研究领域
法学、马克思主义理论
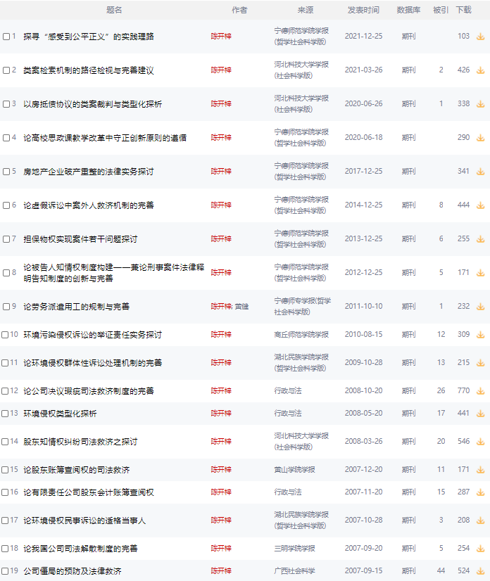
论文与著作

荣誉与奖励
2019年5月获宁德师范学院首届课堂革命智慧教学大赛一等奖
2019年12月任教课程被福建省教育厅评定为福建省线下教学一流本科课程
2020年4月教学案例《小康路上一个不能少--习近平三进下党的故事》被福建省教育厅及省教育工委确定为首批福建省高校“讲好中国故事.上好思政课程”教育教学改革精品项目并获三等奖
2020年9月日获宁德师范学院第四届“学生心目中的好老师"
2021年1月获宁德师范学院首届教师教学创新大赛三等奖
2021年7月参与教学成果获福建省教育厅福建省教学成果奖二等奖