1
十八世纪科学、技术和哲学史
1.26.1 (七)蒸汽机
(七)蒸汽机
一、 纽可门的空气蒸汽机

罗伯特·斯图尔特·米克尔姆于1824 年在他的《描述蒸汽机史》(Descriptive History of the Steam-Engine)的序言中写道:“我们现在已经不得而知,是谁散播这样的说法:〔蒸汽机的〕发明是科学历来奉献给人类的最贵重的礼物之一。事实是,科学或科学家在这件事上始终什么也没有做。诚然,在今天,理论家给任何机器或机构所做的那点工作并不比过去更形无益。然而,这发明是实际工作的机工——而且仅仅是他们作出的,也是他们加以改良和完善的。”

米克尔姆是为机工们写这本书的。这一事实也许使他偏执地下判断,提出了这一不无夸张的主张。但是,只要回想一下,在那1700 年,水还被认为是一种元素,潜热尚属未知,关于燃烧的燃素说正在提出之际,蒸汽压或真空引擎除了实验模型之外,根本还没有进行任何科学研究,而甚至对这些模型的工作也还难下定论,那么,就可认识到,米克尔姆还是言之有理的。伍斯特侯爵二世声称制成了一种“全能的水控引擎”。但是,他的成就(如果有的话)早已被人遗忘了。只是在托马斯·萨弗里(1650—1715)和托马斯·纽可门(1663—1729)两人的工作中,蒸汽才真正有效地以商业规模实际用作为一种动力。萨弗里的蒸汽泵结果证明太危险,也不稳定,因此,无法应用于深矿井的排水。不过,它应用于装饰性的喷水装置,却获得了一定程度成功。它如供公共洪水业运用,则证明过于昂贵。

托马斯·纽可门和约翰·卡利(又名考利)共同发明了最早的火力引擎(即蒸汽机),以满足对相当可靠的机动泵的紧迫需要。纽可门是个小五金商和铁匠,卡利是个管子工和玻璃工,两人都是达特默思地方的人。纽可门可能没有受过什么科学训练。按照约翰·罗比森(1739—1805)的说法,约在1702 年,他曾就帕潘关于依据抽气机原理获得动力的思想同罗伯特·胡克通信。胡克写道:“如果你能在你的第二汽缸中造成快速真空,那你就大功告成了。”然而,人们曾一再试图核实罗比森持此说的根据,却至今未获成功。帕潘曾尝试或者至少曾提出把火药或者冷凝蒸汽应用于这种目的。但是,据说胡克认为,这整个计划是行不通的。然而,在此过程的这一部分,萨弗里取得了一定程度成功。纽可门和考利(他们的实验工作或许同萨弗里一样早)装配了一个蒸汽缸,安装在一个蜂房状锅炉之上,用一根短管和一个控制阀与之相连。汽缸备有一个活塞,活塞用链条悬挂于一根摇杆,后者的另一端向矿井里悬下泵杆。只有当压力略微超过大气压时,蒸汽才可进入汽缸,于是,承受泵杆重载的摇杆压倒活塞,使之停住。每次冲程结束,蒸汽隔绝。当活塞上表面上的大气迫使活塞返入汽缸时,冷水注入汽缸冷凝蒸汽,于是,摇杆的运动逆转,工作冲程也就完成。

纽可门发明的功绩不在于发现了有关科学原理。因为,这一、二条原理简单而又平常:平衡的组合;蒸汽冷凝产生真空;以及活塞在汽缸中作用。他应得的声誉维系于他的技能和才智。他凭借这些,根据这几条简单原理,利用原始工具,花费使用生疏材料和器具时所必须付出的体力,制造出了一种设备,它成功地完成了繁重工作,而以往试用的动力都已证明无法胜任这类工作。这样,纽可门便解决了深矿井排水这个紧迫问题。

这些发明者进行的实验工作没有留传下来什么记录。纽可门死后不久,许多传奇性传说流传了开来。他孩子似的摆弄一个煮锅。偶然发现,当处于活塞之上而形成一种密封的水漏入汽缸时,喷射极大地加速。由一个小孩用所配备的一根绳子操纵喷射阀,而这小孩与其说在照看引擎,还不如说在玩耍。关于这个问题的记载,大都重复这些传说。这些传说至今未得到第一手证据支持。不管怎样,它们肯定无损于纽可门的发明和改造能力。此外,最近发现了一些佚失已久的图版,它们表明了纽可门引擎最早商业机型的全自动控制和内喷射机构(见图299)。

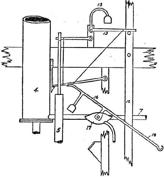
纽可门引擎的阀动装置在蒸汽之成功应用于动力生产上起了极端关键的作用,它的发明是得以认定纽可门应算做真正蒸汽机之父的一个决定性因素。因此,这里必须对这一机构作些说明。图300(采自C.O.Becker 和A.Titley 的论文The Valve Gear of Necomen’s Éngine,Trans.of the Newcomen Soc.,Vol.Ⅹ,p.6)表明,根据巴尼1719 年的原始图样重建的蒂普顿(达德利堡)引擎的控制装置。4 是汽缸;7 是吸气管,其中的水流由标为17的阀控制,后者由一把标为16的F形“扳手”操纵。在图示的位置,汽缸在外冲程结束时充满蒸汽。蒸汽由“柱杆”上一条腿12(它悬吊于横杆)切断,这腿打击“Y”扳手(未示出)的上肢,后者操纵蒸汽阀即“调节器”。

图299—贝顿的纽可门引擎图(1717年)

那些早期的引擎都装备小锅炉,一个全蒸汽缸使这种锅炉暂时排气,并且直到压力恢复之前,一直保持这种状况。5 是一根两端开口的管子,底端沉在锅炉水面之下。因此,这管子包含一个也许几英尺高的可变水柱,上面飘浮一个“浮标”,它带有一根如图所示从其开口顶端伸出的杆。当获得的蒸汽足以产生另一冲程时,浮标杆及其附带绳索使短杆升起,短杆上的一个棘爪使“F”保持图示位置。于是,“F”上的平衡块操纵这构件,使喷射阀打开;汽缸中的蒸汽冷凝,活塞降落到外部大气压之下;塞杆12 随着横杆摇动而降低;塞杆上的一条腿使“F”翻转,后者被棘爪挡住,保持在关闭阀门的位置。塞杆上的另一条腿打击“Y”的下肢,让蒸汽进入汽缸。活塞上升,工作冲程完成,阀动装置回复图示的位置。于是,工作速率自动地受蒸汽提升速率控制。

图300—在蒂普顿的纽可门引擎的阀动装置(1712 年)

迄此尚未提及杆13 以及把它同制动“F”的棘爪相连的“陶绳”。这也许是装设大锅炉时增添的,以便能够提供连续的蒸汽供给。这使塞杆能够在向外冲程结束时马上就促使喷射,无需等待浮标起作用。在后来的引擎中,浮标省去,“陶绳”代之以杠杆。

除了各种杠杆、解扣装置和绳索之外,纽可门引擎还需要一个广布的管道系。空气和冷凝水必须引离汽缸的底部——空气通过一个加载的“喷气阀”,冷凝水由一根管子导入一个比吸头大的、在汽缸下面根深处的贮槽。水流入汽缸顶部而形成水封;在活塞冲程开始时,由此而来的热的溢流向锅炉提供进给水。考利对这发明所作贡献,可能就在于管道系所需要的管子工作。考利死于1725 年。

人们一再说,纽可门于1705 年为他的发明获得了专利权。“在伦敦档案局甚至未能查找到以他名义提出的专利权请求书”(Rhys Jenkins,载Trans.of the Newcome Soc.,Vol.Ⅳ,p.118)。他最早的引擎制造实验究竟是在哪里进行的,现在肯定还不得而知。

1711 年曾尝试(或建议)从沃里克郡产煤区在格里夫地方的一处煤坑汲水,但没有成功。第一台令人满意的引擎看来于1712 年装设在从达德利堡可以望见的蒂普顿地方或其附近。1876 年,在伯明翰发现了T.巴尼在1719年绘制的这种引擎的图版。格里夫的亨利·贝顿绘制的一幅图版更早,是在1717 年。它示出的实际上可能就是格里夫引擎,后者约从1715 年起顺利运行。这幅图版是在牛津大学武斯特学院图书馆发现的,纽可门学会把它复制于该会的《学报》(Transactions)第四卷(见图299)。这两幅图均示出自动阀动装置和内喷射。不过,这机构在原始装配之后,可能又增加了多少东西,则不得而知。

在1716 年之前,消耗可能一直超过利润。那年以后,由于纽可门没有专利权,因此,夸利权税大概趋于使获得萨弗里专利权(它们依法包括纽可门的发明)的城市商人致富。纽可门不得不建立一家公司来开发蒸汽机。1716年,这家公司宣布,蒸汽机已在斯塔福德、沃里克、康沃尔和弗林特等郡运行。不久以后,考利在利兹附近的奥斯索普地方装设了一台引擎,它点燃了斯米顿的青春的想象力。1717 和1718 年间,亨利·贝顿这位勘测师和雕刻师把注意力转向引擎制造,并在纽卡斯尔安装了一台引擎。

德扎古利埃把安全阀和内喷射都运用于他在1717 和1718 年间安装的七台萨弗里式引擎。

十八世纪二十年代里,国外装设了好几台英国造引擎。洛伊波尔德在他的《水力机械舞台》(Theatrum Machinarum Hydraulicarum)(1725 年,Vol.Ⅱ,p.94)中用图说明了1722 年装设在柯尼斯堡的引擎。贝利多也用图说明了1726 年另一台装设在贡德附近的弗雷纳地方的引擎。马唐·特里厄瓦尔(1691—1747)在他的《空气蒸汽机简述》(Short Description of the Atmospheric Engine)(1734 年)(1928 年纽可门学会译)中,用图说明了一台他装设在丹尼莫拉的引擎。后来的建造者做了许多小改良。但是,锅炉的装配仍一直引起麻烦。如果汽缸直接建造在锅炉之上,那么,整个砖圬工将会逐渐瓦解。如果用一根独立管子把它们连接起来,那么,这些接头便需要经常维修。泄漏的阀和活塞使运行不稳定。直到1769 年,才由斯米顿把统计方法和实验方法用于解决这一问题,各零件的正确相对比例才有了判据。1718 年,一台纽可门引擎和锅炉每耗费一英担煤所做的“功”,即在泵抽中所完成的英尺磅数目仅为430 万。斯米顿在1767 年获得740 万的“功”,1774 年获得1250 万的“功”。

斯米顿按照他研究水轮和风车的工作时所采取的路线来研制蒸汽机。

1767 年,他应邀改良一台属于新河公司的引擎的工作。他作了一些经验性的调节。但是,他不满意原始设计,并认识到,还没有令人满意的数据,可据以确定零件的比例以及计算一台给定引擎所应能产生的功率。1769 年,他在奥斯索普建造了一台实验引擎,带有一个直径10 英寸、冲程3 英尺2英寸的汽缸,以便进行一系列试验。他在为期四年的时间里完成了这些试验。

他计算的性能包括所发挥的机械功率和消耗每蒲式耳煤所产生的功率。这台引擎被调到良好的工作状况,在这种状态下细心进行试验。然后,逐个考察调整和运行中的每一重要因素,为此,他极其小心地一次只让一个因素起变化。

斯米顿的第一个目标是判定控制炉火的最佳模式。当稀薄的、清晰的火均匀地散布在炉栅上时,他得到了最佳结果。然后,他估量相对锅炉下侧提高和降低炉栅时的效应。这导致斯米顿指责通常的习惯做法,即用一个大壁炉,中央堆满煤,熊熊燃烧,而周围仍是冷的。另外,常见的壁炉在中央还过于隆起。

蒸汽管和调节阀通常都太小。当纽可门的浮标装置代之以机械的阀动装置时,必须在横杆的泵侧装备一个衡重块,以便从锅炉吸出蒸汽。喷射储水器常常位置太低,不能使水有足够的速度。斯米顿发现,把空气连同蒸汽一起接纳是有利的。空气收集在汽缸边缘,在那里冷凝最迅速,并形成对剩余蒸汽的一种部分保护。他求出,由于冷凝而损失的蒸汽是推动活塞的蒸汽的2.75倍。

在调整好细节之后,斯米顿改变负载,增加或减小水提升的高度,方法是在垂直输送管顶端添加或撤除短的管段(它们直接在泵筒上升起)。

1772 年,130 次实验的结果列成一张表,对于1 到78 匹马力给出最佳汽缸直径、冲程、每分钟冲程数目、锅炉尺寸、喷射水、进给水和煤耗(参见Fare:Steam-Engine,p.183)。

在获得了可靠数据之后,斯米顿感到有信心去制造尺寸和功率空前大的引擎。1772 年,他为朗本顿制造了一台,直径52 英寸,为克龙镇造了一台,直径66 英寸;1774 年,为查斯沃特造了一台,直径72英寸。查斯沃特汽缸适用于9.5英尺活塞冲程,重6.5吨。为了维持这个硕大汽缸的蒸汽供给,需要三个锅炉,每个直径为15 英尺,因为斯米顿还无法建造单一足够大小的锅炉。所产生的马力根据计算为76.5匹。

为了把这功率从汽缸传递到泵,采用一根组合的横杆,它由二十根冷杉大木组成,十根一列,并排两行,牢牢地拴在一起,构成6英尺深、2英尺宽的木件。它围绕一根直径 英寸的轴摇动。详如图301所示。

图301—在查斯沃特的斯米顿引擎(1774 年)

纽可门式引擎在十八世纪末之前一直在使用,甚至还在制造。然而,詹姆斯·瓦特的单独凝汽器这个革命性发明,使纽可门式引擎的甚至最佳性能也相形见绌,并使“功”增加两倍。

二、 瓦特的单独凝汽器

图302—瓦特

十八世纪中叶,大约有好几百台纽可门式引擎在英格兰北部和中部地区、康沃尔和外国服务,尽管费用高昂。然而,它们在燃料消耗上浪费实在太大。因此,甚至在布林德利和斯米顿引入改良之后,它们的应用仍局限于蕴藏丰富低品位且几乎没有销路的煤的煤矿,以及产量极其丰富,以致花任何代价清除巷道积水都值得的金属矿,作为提水工具。如果能够显著地提高工作效率,那么,就将为动力的推广应用开辟广阔天地。许多发明者纷纷致力于利用这一机会。这些蒸汽机改良者中间,首屈一指的是詹姆斯·瓦特。

瓦特并没有受过工程师的训练。他年轻时学的是仪器制造。他最初注意蒸汽动力问题,是在1763 年,那年他应邀修理属于格拉斯哥大学的一具纽可门引擎模型。他成功地使这模型工作起来。但是,他对所产生的蒸汽量之大和工作汽缸尺寸之小,两相悬殊,感到吃惊。他同当时在格拉斯哥大学求学的约翰·罗比森和业已完成了导致发现潜热的研究工作的约瑟夫·布莱克一起,讨论了蒸汽性质的问题。在这以后,他试图找出导致这种严重损失的症结所在,可能的话则消除它们。他很快认识到,所喷射的大量水使蒸汽冷凝,从而产生真空,并使汽缸冷却。他还认识到,接着充入的新汽首先对汽缸重新加热,这样,因冷凝造成体积和压强方面大大损失。然而,他对这个问题钻研了两年之后才领悟到,解决办法在于在一个单独容器中冷凝蒸汽,这容器总是冷的,并借助一台抽气机保持真空,而工作汽缸则利用一个汽套使之保持暖热。一具实验模型工作十分良好,于是,他确信,这种方法值得大规模地试验。(见图303)

图303—瓦特的单独凝汽引擎的实验模型的剖面图(经修复)

从小模型迈向大引擎这一步立即引起三个严重困难。精密工具尚未发明;技能娴熟的机工助手找不到;无力购置材料、工具,也无力雇佣劳力。此外,瓦特在1765 年又结婚了。为了养家糊口,他不得不从事勘测工作和运河规划工作。他体格并不强壮,因此,在这吃力的户外工作之余,他再没有时间和精力从事蒸汽机实验。实际上,要不是那年由于布莱克博士的介绍,他受到卡伦铁工厂约翰·罗巴克博士注意,他本来会由于开发能力不足而放弃这个念头。

罗巴克需要一种强力而又经济的泵抽设备,用来从他正在巴勒斯通斯开发的煤矿提水。在同瓦特通信之后,他于1767 年对瓦特的模型和图样十分满意。因此,他同意合伙为这种新蒸汽机申获专利权,并愿出资三分之二。鉴于合伙关系,他承担了瓦特的债务(总计1000 英镑,主要欠布莱克博士),并让瓦特支配卡伦铁工厂的设备。这项专利权于1769 年获得。

然而,由于工艺低劣,瓦特的发明仍未成功。甚至锤打而成的锡块汽缸也严重漏水,以致令人满意的真空终成泡影。及至1773 年,罗巴克的煤矿仍没有改良的泵和引擎。他的事业陷于严重窘困,因而在资产上放弃了他在瓦特单独凝汽器式蒸汽机专利权上拥有的三分之二股份。这些股权的购买者是伯明翰的马修·博尔顿(1728—1809)。倒运的金尼尔模型在拆卸后,被运到伯明翰的索霍。1775 年,瓦特仿制了他的模型。那年,为期已届六年但除了失望、破费和忧虑之外一无所获的专利权,经议会允准延长25 年。博尔顿和瓦特达成一项正式协议来承担这个时期。

第一台为销售而制造的蒸汽机是伯沙姆铁器制造商约翰·威尔金森定制的。他的镗杆终于能够制造其准确度足以获得必需真空的汽缸。1777 年,建造了一台引擎,供两位合伙人自己用于在伯明翰索霍地方的新工厂,还另造了一台用于康沃尔。

图304—博尔顿
图305—默多克

1777 年,时年23 岁的威廉·默多克(1754—1839)受雇于博尔顿和瓦特。从1779 年到1798 年,默多克一直在康沃尔工作,那里成为这种新式蒸汽机的主要市场。1780 年,供欧洲大陆使用的第一台瓦特蒸汽机制成并装运。当时有40 台瓦将蒸汽机在英国工作——其中有20 台在康沃尔。那年,还围绕这项专利权被违反的问题,开始发生了一系列困难和争执。瓦特生性懦弱、悲观,不喜欢生意经,总是更关心他的最新改良和发明的发展,而不是它们的商业利用。要不是在生意合伙人上交好运,瓦特本来也会像科特、特里维西克和其他许多发明天才一样,很可能在为他人的财富奠定基础之后穷困潦倒。博尔顿提供了瓦特所缺乏的活力、达观、机智和坚毅。博尔顿给常常陷于沮丧的瓦特以安慰,替他解脱一切实际财务风险,始终正直乃至慷慨地待他。

三、 瓦特的旋转式蒸汽机

直到1780 年,蒸汽机业务仍证明代价太昂贵,使博尔顿不堪负担,瓦特也心力交瘁。收益就是所节约的耗煤费用之三分之一的价值所相当的那点年报偿,所以,几乎连生产成本也无法偿付。然而,这种新蒸汽机的成功已牢固确立,足以引起竞争和试图侵犯专利权。同时,由于矿井排水这个领域也已完全被专利权所包括,因此,不仅瓦特而且其他人也都探寻蒸汽机动力的新用途。这些人借助新的器具和组合就能避开瓦特的专利权。碾磨机的驱动就是一个突出的领域。斯米顿为此目的应用纽可门蒸汽机供水。瓦特致力于直接应用蒸汽动力。迄此为止,活塞一直用链条悬于摇杆上的一个扇形体,而泵杆则以类似方式悬于摇杆外端。不知从什么时候起,人们就已用连杆和曲柄这种机构把旋转运动转变成直线运动。因为,为了能把直线运动转变成旋转运动,最简单的方式是把上述装置反转过来。为此,只要找到曲柄越过死点和适时地把这作用力反转的手段。并且,按照这个方案,装于活塞杆的悬挂链条必须代之以一根兼能承受推和挽的杆。瓦特考虑给接续活塞杆的这根杆切割齿条,以便同摇杆上的一个带齿扇形体啮合。但是,这种传动必定不平稳而带噪音,特别当工艺粗糙的时候。这包括在他1782 年的专利之中,但在1784 年的专利中代之以图306 所示的平行运动。在刨床时代以前,只能采取在两条平行导承之间作用的十字头。实际上,也别无他择。瓦特正是如此依凭其发明天才,得以克服他的摇杆的活塞侧的困难。然而,詹姆斯·皮卡德获得的专利权不允许他利用简单的曲柄和连杆。布里斯托尔一个竞争的蒸汽机制造者马修·沃什巴勒蒙准采纳这项专利。他为克服通过死点这一困难而采取的方法是,在曲轴上安装一个飞轮。

图306—瓦特的平行运动平面图

曲柄自古以来就用于驱动足踏车床和泵。像瓦特所指出的那样,当把曲柄应用于引擎时,“就像将一把原来造来切面包的刀去切乳酪”。这项专利大概从未授予过,而且可能很容易被推翻。不过,作为一个多产的专利权获得者,瓦特对专利权的推翻十分敏感,尤其是因为,阿克赖特的内容广泛的纺纱机械专利权在旷日持久的诉讼之后,刚刚因说明书晦涩难懂而被推翻。而且,瓦特不欣赏沃什巴勒。瓦特认为,由于这限制不仅阻挠他本人,而且也阻挠其他比沃什巴勒更能干的竞争者利用曲柄,因此,明智的做法是不要画蛇添足,并以某种方式克服这限制。他尝试了若干种他自己的装置,但最后把威廉·默多克独立发明的行星运动(图307)纳入他1782 年的专利。这项专利还包括“往返作用”,即轮番在活塞上下供新汽,以及通过在冲程之初截断供汽来利用蒸汽的膨胀性质。然而,瓦特应用的是低锅炉汽压。因此,膨胀作用的优越性不大。此外,在改变停汽装置以获得更大动力时,引擎传动装置总要损害阀门,从而致使锅炉排汽,并引起延迟,而预期制造者将因此而受到责备。

瓦特下一个改良是在1788 年给他的蒸汽机添加一个“节流”控制器即节流阀,它由一个离心“调节器”操纵,类似于磨坊机工早已用来控制风力面粉机磨石松紧的装置。“节流阀”放在蒸汽管道之中,用手加以调节,以便控制通过蒸汽管道的蒸汽流,或者完全切断蒸汽流,从而制动引擎。这样,引擎的运行速度便可得到控制。“调节器”或“飞球调节器”用于调节蒸汽流,以便确保引擎工作时速度大致均匀。(见图308,B,C,W)

瓦特另一个有用发明是水银汽压计。它是一根盛有水银的U 形管。一个肢用一根小管道同蒸汽管或锅炉相连,另一个肢向空气开口。蒸汽对一个肢中的水银的压力使水银同这压力成正比例地在另一个肢中上升。他还应用一个十分相似的装置测量凝汽器中真空的性质——外肢中的水银同完全真空的渐进实现成正比例地下降。瓦特还引入了玻璃水标尺,它是一根玻璃管,固装在锅炉前面,指示锅炉内水位变化。

图307—瓦特的旋转式蒸汽机(1788年)

至少还必须提到瓦特的一个发明,即他的示功汽缸和配附的示功图。示功汽缸是一个小汽缸,有一个精密适配的活塞藉助一根螺旋弹簧装在顶部。活塞同作用于它的压力成正比例地上升。活塞杆上固定的一根指针在所附标尺上示出每平方英寸的压力。示功汽缸这样地同汽缸相连,即使得蒸汽能从后者通到前者,并使两者中有相同压力。瓦特一个名叫萨瑟恩的助手给示功汽缸添加一块滑动板,它支承铅笔和纸。铅笔在纸上描绘的曲线相应于汽缸中汽压的变化。这个示功图后来被称为“工程师的听诊器”。

1795 年创设的新的索霍铸造厂装备了制造蒸汽机的专用机械,而且配备的人员基本上都经过小詹姆斯·瓦特培训。

这样的设备,加上这家厂商的声誉和经验,成为防止营业亏损的良好保障,胜过任何专利法规。这项专利权实际上很长时期里已经不再是一种必不可少的保护,反而成为对当时有充分余地的进一步发明的限制。

延期的蒸汽机专利于1800 年期满时,瓦特实际上已脱离同这家厂商的积极联系,关在他的私人车间——希思菲尔德的著名顶楼里,专心于雕刻拷贝机构和其他充分发挥其想象力的发明。这间顶楼的复制品,现在陈列在伦敦的科学博物馆。博尔顿继续积极同这家工厂,尤其是索霍造币厂合作。在默多克襄助下,博尔顿和瓦特领导的这家工厂业务继续扩展。

在博尔顿和瓦特的手下,威廉·默多克除了从蒸汽机装配师擢升为工厂经理之外,还作出过许多发明和改良。他制作了第一辆模型机动蒸汽车以及一台摆动汽缸式蒸汽机。他发明了U 形滑阀,取代瓦特的提升阀。他设想利用煤干馏时散发的气体作为一种照明剂。他还首创用铁屑和硇砂的混合物作为一种黏结剂。很长时期里,机械和结构工程实践上,凡在因过分昂贵而不能用精密机械加工的场合,一直应用这种便宜而又有效的方法来把铁的表面一起砌平。索霍铸造厂装备的许多机床也是默多克设计的。

瓦特的主要发明之重要、他的专利的广包性以及合伙的策略,这一切保障了詹姆斯·瓦特享有作出1769 到1800 年蒸汽机方面实际上全部改良的盛誉。留给其他发明者的地盘极其有限。他们的生平和工作远没有瓦特出名。事实上,许多人只是在同瓦特及其合伙人的谩骂性通信中被提到,他们据说剽窃了他的思想。(参见H. W. Dickinson 和Rhys Jenkins:James Watt and the Steam-Engine,Oxford,1927。)

四、 和瓦特同时代的蒸汽机发明

纽可门蒸汽机的原始蜂房锅炉是一个大的铜质酿造容器,放在一个庞大的厨房火炉上。1780 年时,它可能需要64 蒲式耳煤来填充炉子。由于煤质地低劣,通风差,所以,这些火炉排出的烟必定形成浓密烟云,在矿区上空徘徊。在瓦特时代,蒸汽机配以矩形铸铁锅炉,其火炉对于同样的蒸汽容量只需要十分之一燃料,火焰则实际上包围锅炉。然而,最重要的改良是特里维西克的科尼什锅炉,它逞管状,直径约6.5英尺,带回流烟道。管形锅炉使得汽压显著增加而又安全,但要更小心地维持水位。直到1800 年前后,约每平方英寸2 或3 磅的锅炉汽压限制了可以运用的动力。当更高汽压可资利用时,矿井工作的劳动强度妨碍了对改良的利用。

活动零件、泵杆、平衡重物、横杆等等的重量在较深的矿井中可能重达300 吨,因此,所产生的提升能力不到40 吨。冲程开始时的惯性力证明过于猛烈,旧式传动装置承受不了。这导致在冲程的绝大部分都采用低压蒸汽,甚至在可以得到比较经济的高初始气压和膨胀作用时也是如此。

图308—特里维西克

典型的十八世纪矿井泵是叶片活塞式的,其中所提升的水的重量加载于这叶片活塞。随着深矿井中泵杆长度和重量增加,越来越需要作出一个显著改良,即回复到柱塞式泵。运用这种泵,泵柱的重量能泵抽水,而在返回冲程,蒸汽机“泵抽泵杆”。威廉·默多克试图实施这一改良。但是,它过了很久主要由于理查德·特里维西克的影响才流行开来。

科尼什矿业主日益感到,瓦特的垄断是压制性的。因此,他们鼓励一些当时的发明家,其中最重要的是乔纳森·霍恩布洛尔(1753—1815)、爱德华·布尔和理查德·特里维西克(1753—1815)。

霍恩布洛尔据信是在纽可门手下工作过的一个机工的孙儿,这位机工全家都被培养为从事蒸汽机制造和管理的行家。乔纳森早在1776 年就制作了一台模型蒸汽机,它“带一个汽缸盖,还有一根铁杆,穿过盖上的一个牵拉环”(参见Rhys Jenkins,载The Trans.of the Newcomen Soc.,Vol.Ⅺ,p.138f.)。但是,他直到瓦特1778 年把闭式汽缸蒸汽机引入康沃尔时,才实行这个思想。霍恩布洛尔当时制造一种有两个闭式汽缸的蒸汽机。第一个汽缸接受直接来自锅炉的蒸汽,第二个的容量是第一个两倍,接受第一个汽缸排出的汽。他还获得了这种蒸汽机的专利权。

图309—霍恩布洛尔的复式蒸汽机

他的第一种型式中,蒸汽仅仅在活塞上面作用,一个表面式凝汽器装设在第二个汽缸下端。在后来的机型(图309)中,装设了一个单独凝汽器,一个喷水嘴沿排汽管轴线喷射。然而,由于使用低汽压,这复式汽缸没有真正带来好处,因此被废弃了。直到1804 年,阿瑟·伍尔夫又使之复活。不过,这时它仅仅用于旋转式蒸汽机。然而,1781 年装设在拉德斯托克的霍恩布洛尔蒸汽机是第一台实际使用的真正复式蒸汽机。

布尔的专长是把他的泵用蒸汽机的汽缸垂直地安装在主泵杆之上,而活塞杆同这主泵杆相连。这使得能够采用直接提升,而无需动用惯常那种令人讨厌的横杆。因此,这是一个显著改良。然而,它包括应用瓦特的单独凝汽器。

1790 和1794 年间,在康沃尔装设了十台霍恩布洛尔式和布尔式蒸汽机。但是,在1793 年6 月博尔顿和瓦特对布尔以及1796 年12 月博尔顿和瓦特对马伯利和霍恩布洛尔进行考核之后,这两种型式蒸汽机的用户都得付给瓦特专利税。

图310—布尔的泵用蒸汽机(1798 年)

理查德·特里维西克是一个科尼什矿场经理的儿子。还在他只有六岁那年,这个郡装设的第一台瓦特蒸汽机在当地矿工和机工中引起了一场轩然大波。他的童年时代是在后来的发展和论争的气氛中度过的。他自己年方19岁就当上了几个矿场的工程师。两年以后,他同爱德华·布尔合作,帮助装设几台布尔式蒸汽机。博尔顿和瓦特竭力证明他同布尔的关系是合伙关系。但是,他们未遂愿。他一直逃避一项指令,它禁止他侵犯他们的专利权。直到1796 年,传票送达正在伯明翰的他,当时他作为矿业主代表到索霍执行调停使命。

1796 年,特里维西克转向注意发展高压锅炉——把高压蒸汽机用于矿井拖运和其他目的,包括机动车。他还重新引入了柱塞泵,并设计了水压引擎。1802 年,他获得了他的高压蒸汽机的专利权。在接着的几年里,允许这个郡各地的铸造厂制造这种蒸汽机。他没有建造过专门生产这种蒸汽机的工厂。在还没有得到相当报酬之前,特里维西克就已把他的专利权转让掉了。这些1805 年的早期蒸汽机的一个典型样机现在保存在伦敦的科学博物馆。

十八世纪初蒸汽机的低效率是若干相关因素促成的。工作汽压范围小,因而必须大的汽缸和相应的笨重零件。大的汽缸把广阔的表面暴露于轮番加热和冷却。整个汽缸被喷射水淹没而冷凝,因而使一个又冷又湿的汽缸同入射蒸汽相接触。

像我们所已看到的那样,瓦特通过造成比较完全的冷凝来增加有效汽压。他还通过把热蒸汽空间同冷的凝汽空间隔离而减少热的损失。由于使制冷凝水和被冷凝的蒸汽保持隔离,他达到减小凝汽器尺寸。

完全抛弃冷凝,利用高压蒸汽达致必要的汽压范围,能够实现甚至更大的节省。于是,蒸汽机和锅炉的组合也产生了,它十分轻巧,可以携带。在这之前还只属于幻想和预言的火车,也因之成为实际可能的东西了。

(参见R. H. Thurston:A History of the Growth of the Steam Engine,London,1878;H. W. Dickinson 和R.Jenkins:James Watt and the Steam Engines,Oxford,1927;H. W. Dicknson:A Short History of the Steam Engine,Cambridge,1939;H. W. Dickinson 和A. Titley:Richard Trevithick,Cambridge,1934。)