1
十八世纪科学、技术和哲学史
1.15.2 二、拉瓦锡之前的气体研究
二、拉瓦锡之前的气体研究

人们能够真正认识燃烧的本质,发端于普利斯特列对气体的研究以及舍勒发现大气空气的两个组分。直到范·赫耳蒙特的时代为止,人们只知道氢和二氧化碳是气体。不过,即便对它们,也还不能总是把它们彼此区别开来,也不能把它们同空气区别开来。事实上,那时倾向于认为各种气体全都是空气,把它们彼此的差别归因于空气中的搀质不同。只是在发明了收集和储存气体的合适手段之后,才开始了对气体的成功研究。斯蒂芬·黑尔斯(Vegetable Staticks,1727)发现了一种收集水上“空气”,把它导入一个也倒置在水上的单独“接收器”之中的方法。这种集气槽示于图151。黑尔斯收集和储存水上气体的方法有一个严重缺陷:它无法用于研究那些可溶解于水的气体,例如氨和氯化氢。只是在卡文迪什和普利斯特列分别表明怎样储存和收集水银(而不是水)上的气体之后,才有可能发现和研究这类气体。这些技术上的改进和上述各研究者利用它们作出的各种发现,在拉瓦锡的工作中终于结出累累硕果。拉瓦锡最清楚地认识到气体的本质,率先把氧和氢说成是元素。

图151—黑尔斯的改良集气槽
布莱克

在那些应用定量方法于化学,从而至少隐含地表明他们相信物质守恒原理的先驱者中间,布莱克占有崇高的地位。约瑟夫·布莱克(1728—99)的父母是苏格兰人,他出生于波尔多,在贝尔法斯特上中学,在格拉斯哥和爱丁堡大学学习,并相继在这两所大学里教授这两门课程。1754年,他以一篇拉丁文论文获医学博士学位。这篇学位论文包括一个十分重要的关于化学的部分。这个部分经扩充后于1756年以英译本发表于《爱丁堡物理学和文学随笔》(Edinburgh Physical and Literary Essays),题为《关于碳酸镁、生石灰和其他碱性物质的实验》(Experiments upon Magnesia Alba,Quicklime,and Some Other Alcaline Substances)(No.I of the Alembic Club Reprints提供了该文的单行本)。

首先是医学的兴趣促使布莱克研究“碳酸镁”,他觉得它好像是一种弱性碱。但是,当他让石灰水作用于它时,却没有产生苛性溶液,而弱性碱通常会产生这种溶液。因此,他试图用加热来还原它,结果发现,一盎司氧化镁经过加热失去其重量的十二分之七。这残留物溶解于普通的酸中,产生和通常的碳酸镁一样的盐;但是,与之不同,它溶解时不发生通常的起泡作用,也不沉淀石灰水。他做的第一件事是,试图找出被加热氧化镁所失重量中的挥发性成分。他把称量过的氧化镁放在一个曲颈瓶中加热,使所发散的蒸汽冷凝,称量这样得到的水。然而,这一重量只是氧化镁所失重量的一小部分。布莱克断言,缺失的重量一定是由于被加热的氧化镁发散出的水蒸气中包含不可凝结空气之故。因为,被焙烧的氧化镁未因加入酸而发泡,所以,很显然,这空气是从这镁氧溢出的。他又焙烧了一定量称量过的氧化镁,记下精确的重量损失,把这金属灰溶解在数量充足的矾酸精中,再通过加入碱使之再沉淀。如此复制的氧化镁实际上具有其原始重量,因加入酸而发泡,并沉淀石灰水。所恢复的重量和其他性质都一定是由于它吸收了从碱得到的空气之故。他认为,这完全符合于黑尔斯的观测,也即强碱盐在受酸作用时放出固定在它们中的空气。这为布莱克的实验所证实。这实验用一定量称量过的稀释后的浓硫酸使一定量称量过的纯净而不易挥发的碱性盐(碳酸钠)饱和,结果表明,这混合物失去重量。接着,他取一定量称量过的氧化镁,把它溶解在这种酸里,结果发现,这混合物也损失了重量。然后,他焙烧等量的氧化镁,称量它,把它溶解在同以前一样的酸之中。他发现,这种情形里并无重量损失,为溶解被焙烧的氧化镁所需要的酸的数量实际上和以前的实验里相等。布莱克得出结论:未焙烧过的和焙烧过的氧化镁之间的差别仅仅在于前者包含“相当数量的空气”。布莱克把他的实验扩展到白垩土和生石灰,由此彻底弄清楚了,它们的关系如同碳酸镁之同焙烧过的氧化镁的关系,用石灰进行弱碱苛化的过程就在于“空气”从碱传递到石灰。

布莱克考虑了这种“空气”的本质,认为它不同于大气空气。例如,生石灰不吸引普通空气,但却吸引这种特殊“空气”(或如他采用黑尔斯用的术语,称之为“凝结空气”)。不久以后,他还力陈:引起矿井和洞穴窒息的,以及在植物发酵时散发出来的,正是这种“凝结空气”;它不同于因金属溶解于酸而产生的“空气”,而同燃烧或呼吸放出的空气相似。

气体研究上的下一步进展,是普利斯特列作出的。他和布莱克同时代,但比布莱克年轻。

普利斯特列

图152—普利斯特列

约瑟夫·普利斯特列(1733—1804)出生于利兹附近。他研究神学,当过牧师、校长和家庭教师。他对英国国教采取批判态度,宗教观点又十分自由,因此,他过着颠沛流离的生活,最终迁居北美,在那里终老。尽管他早年没有受过科学训练,但他成功地为气体化学奠定了基础,从而也为拉瓦锡的工作准备了基础。他那高超的实验技巧弥补了年轻时未受严格科学训练的缺陷。他的实验和结果记述于他的《实验和观察》(Experiments and Observations)(六卷,1774—1786年)之中。

普利斯特列最初的化学研究对象,是他所称的“凝结空气”(二氧化碳)。他以多种方式获得这种气体。从酿酒厂获得,因为它由发酵产生;把酸浇在白垩土上;用“浓硫酸”作用于普通盐。他同时研究了“凝结空气”在水中的溶解度;并表明如何使普通的水充满“凝结空气”,便能产生人工矿泉水。这个发明非常有代表性地表明了,普利斯特列相信科学知识可加以实际利用。他通过关于“凝结空气”的实验,走向把科学这样应用于日常需要。他的发明赢得了高度的评价,以致海军当局也采用它作为军舰上的饮料,想藉此抵御坏血病肆虐。按照有些著作家的说法,正是因他发明苏打水,皇家学会在1773年授予他科普利奖章。然而,这个看法是错误的。他是因关于各种“空气”的工作而获得科普利奖章的。他介绍这工作的论文发表于1772年的《哲学学报》(第147—264页)。

1771年,普利斯特列观察到,薄荷小枝在被动物呼吸污染过的空气中生长得惊人地茁壮。他一度在思索,自然界究竟提供了什么措施,使不断为燃烧和呼吸弄污浊的空气恢复新鲜。他认为,显然必定存在某种措施,否则,整个大气终将不能适于维持生命。关于薄荷枝条惊人生长的观察,启发他想到,植物不像呼吸的动物那样污染空气,而是起相反作用即倾向于使空气保持卫生。他写道:“为了确定这一点,我取了一定量空气,让一些老鼠在那里呼吸直至死去,使这空气完全毒化,然后,把这空气分成两部分;我把一份放进一个浸在水中的管形瓶里;在另一份空气(它盛在一个立于水中的玻璃瓶里)中我放进一根薄荷小枝。这大约是在1771年八月初,过了八九天后,我发现,在这薄荷枝条生长的那部分空气中,一个老鼠活得挺好,但是,一旦把它放进那原始数量相等的另一部分空气之中,它马上就死去了,这部分空气我同样将它露置,但没有植物在其中生长”(Experiments and Observations,Vol.Ⅰ,1774,p.86)。普利斯特列以各种方式重复和证实了这些观察,从而下结论说:很可能是,“这许多动物的呼吸不断对大气的损害,以及这许多植物和动物的腐败作用,至少部分地为植物的创生所补偿。尽管这么大量的空气每日每时为上述原因所腐蚀,但是,如果我们考虑到地球表面上有浩瀚的植物,它们生长在适合它们习性的地方,

图153—普利斯特列的装置(I)

集气槽(a),其右端有一块扁平石头做的搁板,恰好在水面之下,上面放着各种容器(c,d,f);c、c是集气瓶;2、2是盛放水上空气的瓶,右边的瓶中有一棵植物;d是一个内装水上空气的啤酒瓶,里面还有一个老鼠,用于检验空气的可呼吸性;3是盛放老鼠的容器,它上下开口,放在一块穿孔的马口铁皮上,顶端的一个重物使之保持一定位置;4是一根铁丝,用于把管形瓶的软木塞从瓶中收集的空气中拔出;5是支承空气瓶内物质的支架,如在f中那样;6是玻璃漏斗,用于让一种空气从一容器通入另一容器;e是一个产生空气(通过把金属溶解于酸,或者某种别的方式)的管形瓶,通过一玻璃管联结到集气瓶;11是圆筒状玻璃容器;12是一根铁丝(b),右端夹持一支蜡烛(a),“火焰很大,使得窜腾的火焰能向下进入容器”(用于判明这容器内空气是否支持这火焰),左端又是一蜡烛(c),用于瓶位于水之上的时候——一旦火焰熄灭,在烟同瓶中空气发生混合之前,这蜡烛可以移开。

因此可以自由发挥它们的作用,包括吸气和呼气,那么,我们几乎就只能认为,这也许是足够的抗衡,这补偿足以对付邪恶”(同上,p.93f.)。

普利斯特列尤其致力于发现和研究新的“空气”(即气体),其中有许多他是从酸获得的。1772年,他通过以硝酸作用于铁、铜、银等等金属,分离出了“亚硝空气”(氧化氮),并在水上收集它,研究了它的性质。同年,他在水银上面(不是水上面)收集“海酸空气”(氯化氢)。卡文迪什在1766年已经把气体储存在水银上面,但普利斯特列以此方式收集它们;他在气体化学上的发现有许多都归功于这种新方法。例如,1773年,他藉此发现了“碱质空气”(氨),1774年发现了“矾酸空气”(二氧化硫)。他最初是通过加热铜和盐精而获得“海酸空气”的。后来,他又通过仅仅加热“盐精”,或者让“浓硫酸”作用于普通盐来制备这种气体。“碱质空气”(氨)最初是通过加热“挥发的硇砂精”(氨的水溶液)获得的,后来则通过加热熟生灰和硇砂得到。1772年,普利斯特列还制备了氧化亚氮(即笑气,N2O)。1776年,他通过让硝酸作用于铋,制备了非纯态的“亚硝[硝]酸蒸汽”,因为它溶解于水和升汞,所以通过置换空气收集它。他还观察到,它在加热时褐色加深。1785年,他用木炭加热铸皮(氧化铁),制备了一氧化碳(CO);但他误以为它是“可燃空气”(H2)。(1776年,拉松通过让木炭加热氧化锌以及加热枪管中的普鲁士兰得到一氧化碳。他在《皇家科学院备忘录》(Mém.de l’Acad.Roy des Sciences)(Vol.XC)中把它说成是“一种性质极怪异的可燃空气”。 [2] )普利斯特列最重要的工作是在1774年发现“脱燃素空气”(氧)。他是通过加热红色汞氧化物得到的。(舍勒约在同时也独立地作出了这个发现。)普利斯特列对氧的发现,最初是他于1775年3月15日在致皇家学会会长约翰·普林格尔爵士的一封信中宣布的,这封信于1775年5月25日在皇家学会宣读(Phil.Trans. ,1775,p.387)。在这封信中,普利斯特列说明了他用取火镜加热各种物质和收集所发散“空气”的实验。他说,他观测到,借助这种方法,不同物质产生不同种类空气,而“我通过这种过程产生的所有种类空气中,最惹人瞩目的是这样一种空气:就呼吸、燃烧以及我相信就普通大气空气的任何其他用途而言,它要比普通空气好五六倍。像我所认为的那样,我已充分证明,空气对呼吸的合适性取决于它接受肺呼出的燃素的能力,因此,这种空气可以恰当地称为脱燃素空气。这种空气我先是从水银烧渣,后来从汞的红色沉淀物,现在则从铅丹产生的”。他发现,“同普通空气相比,一定量这种空气需要约五倍多的亚硝空气来达到饱和。”并且,“一支在这种空气中燃烧的蜡烛的火焰惊人地强;一小块赤热木头噼啪爆裂,立时燃烧,其景象犹如灼热的铁发出白光,火星迸溅。”一只老鼠在这种空气里比在普通空气中活得更长久。当普利斯特列自己吸入一些“脱燃素空气”时,他“在后来一段时间里感到呼吸轻松舒适”。因此,他后来建议,可把“脱燃素空气”用于治疗肺部疾患。这个建议包括在他的《实验和观察》(Vol.Ⅱ,pp.101f.)之中。

普利斯特列于1775年末发表他的《实验和观察》第二卷,这部著作里对他发现氧又作了说明。这里可以从中录引几句。

“在上次发表我的著述时,我尚未拥有力量相当大的取火镜。……但是,后来我得到一面直径12英寸、焦距20英寸的透镜,于是,我兴高采烈地用它来探究,当把形形色色天然和人造物质放入……容器之中……我在容器里充入水银,并使之倒置在一个同样盛有水银的盆中时,将产生哪种空气。借助这个装置……在1774年8月1日,我致力于从水银烧渣萃取空气;我现在发现,利用这种取火镜,空气很快从中排出。放出的空气三四倍于我所有容器的体积,尔后,我给它放入水,发现水并不吸收它。但是,我感到难言的惊讶:一支在这种空气中燃烧的蜡烛发出极其强的火焰”(Experiments and Observations,Vol.Ⅱ,1775,p.33f.)。

图154—普利斯特列的装置(II)

7.收集加热炮筒中产生的水银上空气的装置。一个烟斗柄或一根玻璃管用封泥加封地连接到炮筒开端,以把产物传送到容器。8.另一个收集水银上空气的装置;中间有一个汽水阀,收集加热驱出的湿气。9.一个囊状物,配有排出管和漏斗,用于把水上空气传送到在水银之上的容器或者“任何别的地点”。10.使液体充满一种空气的装置,c中产生的空气压缩在一个囊状物中,经过皮管d进入容器a中的液体(a倒放在盛相同液体的一个碗上)。13.一根虹吸管,用于将空气移出容器以及调节容器中的水位。14.一个抽空的容器,内放的物质在自水上容器传入该容器的空气中晾干。15.空气纯度测定计,用于测试小量空气的“好坏”。16.17,18.各种把电火花通过空气或液体的装置。19.把电火花通过局限在一管子中水银之上的空气的装置,它的两端均立于一个盛水银的容器之中。

普利斯特列在从事气体化学的研究之前,曾长期研究电(见第十章)。事实上,正是他对电的兴趣导致他当选为皇家学会会员(参见W.C.Walker,载Isis,1933)。他于1767年发表的《电学的历史和现状及原始实验》(History and Present State of Electricity with Original Experiments)颇得好评。值得指出的是,普利斯特列如何把他的电学知识应用于他对气体的实验研究。1773—1774年间,他把一定量大气空气放在一个玻璃管中水的上面,水用石蕊着蓝色,再让火花反复通过这空气。结果,空气体积减少,水的颜色由蓝变红。在氨气(即“碱质空气”,NH3)的情形里,发生一种独特的情况:在反复放电火花以后,它的体积增加了,而不是像在大气空气情形里那样减少。普利斯特列认识到,“碱质空气”即氨气必定经历了某种深刻的化学变化。他写道:“我使小量碱质空气中发生电爆炸……观察到,每次爆炸都给空气数量增添不少;当给它送入水时,恰恰因爆炸增加的那许多空气未为水所吸收。然后,我在同一个瓶中进行了约一百次爆炸,其中碱质空气数量更多;这次未被水所吸收而剩下的空气非常之多,使我可以十分准确地鉴定它。它既不影响普通空气,也不受亚硝空气影响,且像我已获得过的空气那样极易燃烧”(Experiments on Air,Vol.Ⅱ.1775,p.239f.)。

普利斯特列还提出了通过和氧一起爆炸来对气体分析的方法。他把可燃气体同氧在水银上面混合。然后,用电火花产生爆炸,考察残留物。这样,普利斯特列发现,酒精蒸汽通过一根灼热管子时,或者用木炭加热炼铁炉渣(氧化铁)时产生的“可燃空气”,在同氧混合并爆炸之后,残留下“固定空气”(CO2),而从铁和硫酸产生的可燃气体(H2)在以同样方式爆炸后,却没有遗留下这种空气(上引著作,Vol.Ⅰ.1790年编,p.309f.)。

普利斯特列的这一切发现都对化学等的进步具有极关重要的意义。但是,他用燃素说的语言表达自己的成果。他说,燃烧就在于损失燃素,燃素为支持燃烧的那些空气所吸收,而它们本身包含的燃素越少,吸收燃素就越多。现在称为氧的气体维持燃烧最好,因为,按照普利斯特列的见解,它丝毫不包含燃素。所以,他称之为“脱燃素空气”。另一方面,普利斯特列一度把“可燃空气”(氢)看做为纯粹燃素。这个观点最早是理查德·柯万(1733—1812)在1782年的《哲学学报》(Vol.L Ⅹ Ⅻ,p.195f.)上提出来的。他主要根据普利斯特列私下提供给他的实验资料,这些实验通过在“可燃空气”中加热金属灰,把它们转变为金属。普利斯特列后来在他的《实验和观察》(Vol.Ⅵ,1786,p.14)中记叙了这些实验。但是,普利斯特列不久就放弃了这种认为“可燃空气”是纯粹燃素的观点。在(同沃尔蒂尔一起)观察到“可燃空气”同普通空气一起爆炸时有露淀积(卡文迪什证明它是水)之后,普利斯特列产生一个见解:“可燃空气”是同水相化合的燃素。

按照燃素说,大气空气是“脱燃素空气”(氧)和“燃素化空气”(氮)的混合物。当在其中发生燃烧时,大气空气充入了附加燃素,因而转变成“燃素化空气”。像同时代人一样,普利斯特列也未充分考虑到下述事实给燃素说造成的困难:在某些燃烧过程中,“脱燃素空气”完全耗尽,而“燃素化空气”一点也未发生。

在研究可燃空气的过程中,普利斯特列试图确定,当通过在“可燃空气”中加热金属灰而获得若干种金属时,“进入这几种金属组分的燃素的数量”。他满以为,这些金属重于它们的灰末,因为,在这个过程中吸收了可燃空气。如果他能满意地完成这些实验,那他对燃素说的信仰就会彻底动摇,因为,他将发现,还原的(即纯粹的)金属轻于它们的灰末。不过,他认为,他的实验不是决定性的,因为,金属灰看来在加热容器中就已部分地升华掉了。他一点也拿不准,究竟他开始时就有了纯粹金属灰,还是实验结束时得到纯粹金属。他不知道,“应当考虑到,可燃空气进入金属灰那仅仅部分地还原的部分;要完全还原全部任何数量的金属灰,是不容易的”(上引著作,Vol.Ⅵ,1786,p.14)。因此,这些实验并未确定地表明,金属是否重于其灰末。

(参见 D.Mckie,“Joseph Priestley”,Science Progress,1933,Vol.28,pp.17—35。)

伏打

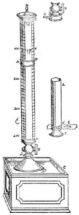
对一封闭容器中的气体放电花的方法,看来是普利斯特列首创的。他在《实验和观察》(第一卷,1774年)中记叙了这种方法以及所用装置。但是,这种方法对混合气体的应用则显然应归功于亚历山德罗·伏打(1745—1827)。他在《趣文集萃》(Scelta d’Opuscoli In terressanti)(Vol.Ⅹ Ⅹ Ⅹ Ⅰ,p.3)(米兰,1777年)上介绍了,他最早做的用电花爆炸封闭容器中混合气体的实验。后来,他又在1777年9月2日写的致普利斯特列的一封信中,再次作了介绍,此信于同年发表于《趣文集萃》(Vol.Ⅹ Ⅹ Ⅹ Ⅳ,p.65)。伏打一度对用蜡烛火焰爆炸开口容器中的“可燃空气”(氢)和“脱燃素空气”(氧)发生兴趣。他还曾试图制造一种由这种爆炸产生的力来控制的小手枪小明火枪。他当时用电花爆炸在用软木塞封闭的玻璃容器中“可燃空气”和普通空气的混合物,软木塞被爆炸力排出。他旨在用这种方法研究这种爆炸引起的体积变化。他的装置是一根带分度的玻璃管,其一端开口,呈漏斗状,另一端用黏合的软木塞封闭,塞子中有两根金属丝穿过,构成电花隙的两点(见图155)。玻璃管充满水,倒置在水上。玻管中导入八份普通空气,然后导入一份“可燃空气”。当电火花通过时,无空气溢出,但水位上升。再补充“可燃空气”,并对混合物施电火花,直至总体积减少将近八分之一份。伏打还发现,当混合物由四份“可燃空气”和十一份普通空气组成时,产生的爆炸最强。在这种情况下,残留物被尽可能地“燃素化”。伏打似乎还对“脱燃素空气”而不是普通空气做过一些实验。他提议用这种方法制造一种用于测量空气好坏的气体测定计(图156)。

图155—伏打的爆炸气体装置
卢瑟福

丹尼尔·卢瑟福(1749—1819)是布莱克的学生,1796—1798年任皇家爱丁堡大学医学院院长。氮的发现归功于他。他是根据布莱克的建议进行这项工作的,他把它写成他的医学博士学位论文。这是他在化学方面的唯一著作,题为《学位论文。论所谓固定空气或碳酸气》(Dissertatio Inauguralis de aere fixo dicto,aut mephitico)(爱丁堡,1772年)。他的著述用燃素说的语言叙述;他做的实验看来不是十分广泛。他表明,一只老鼠在有限量空气中呼吸,直到死去,使这空气减少十六分之一;剩余空气的十一分之一为碱所吸收;最后的残余使一支蜡烛熄灭。在用点燃的蜡烛和燃烧的木炭做的类似实验中,“固定空气”为碱消除后,残余空气也显示类似性质。

卢瑟福把这种“恶浊空气”说成是纯粹燃素和空气的化合物。他说,当在普通空气中焙烧金属时,便获得这种“恶浊空气”。他认为,这进一步证明了它的本质,因为,它只由包含燃素的物体产生。

因此,卢瑟福宣布氮的发现是由于他用燃烧消除空气中的氧,又用碱消除燃烧产生的固定空气后仍有空气剩存。另一方面,他并未认识到,他的“恶浊空气”是一种独特的基本气体,而认为,它只是同燃素相化合的普通空气。

图156—伏打的气体测定计

气体在槽C中水的上面经过一漏斗收集,同氧一起在带分度的容器E中爆炸。一根绝缘金属丝a穿过金属帽b;金属丝端末和金属帽之间形成电花隙。水银柱高度借助环AD从标尺读取。空气的“好坏”根据它所包含的氢的比例估算。

(参见 D.McKie,“Daniel Rutherford and the Discovery of Nitrogen”,in Science Progress,1935,Vol.29,pp.650—60。)
舍勒

卡尔·威廉·舍勒(1742—86)出生于当时属于瑞典的波美拉尼亚的施特拉尔松。他从十四岁起在药房工作。1770年,他定居乌普萨拉,在那里得到柏格曼的友好帮助。1775年,他当选为在斯德哥尔摩的科学院的院士,同年,他在梅拉伦湖的彻平自己开设了药房。他千方百计做异乎寻常地多的研究工作。普利斯特列限于主要研究气体化学,舍勒则实际上涉猎整个化学领域。过度的操劳致使他早逝。

图157—舍勒

舍勒认为,“化学的目标和主要业务是机巧地把物质分解为它们的组分,发现它们的性质,以各种不同方式使它们化合”(Chemical Treatise on Air and Fire,1777;英译文载Dobbin编:The Collected Papers of C.W.Scheele,1931,p.89)。鉴于燃烧研究导致那么多困难和矛盾;他决心独立进行许多实验,以探明燃烧这种神秘现象。他很快认识到,不对空气作缜密的研究,就不可能解决燃烧问题。因此,这些问题在1768—1773年间一直盘踞在他的头脑中;他在他的《论空气与火的化学》(Chemical Treatise on Air and Fire)(1777年)中说明了他的实验和结果。舍勒首先确定了那些使空气区别于其他气体的性质,然后进行了一系列实验,以表明空气由两种不同气体组成。他的方法是取一定量空气,用某种物质处理之,这种物质吸收这空气的一部分而留下其余部分,它在各种实验中有同样的性质和相近的体积。例如,他为此把硫肝溶液放进一个充气长颈瓶之中。他把长颈瓶封闭,倒放在水的上面。他让这瓶如此放置十四天,然后将软木塞拔去,但仍在水下。于是,水立即进入长颈瓶,这空气看来有四分之一到三分之一已被吸收。当舍勒不用硫肝,而代之以磷、铁屑或一种合适的铁化合物重复这实验时,封闭空气体积减小的程度大致相等。但是,当他在以同样方式封闭在一个长颈瓶中的一定量空气中燃烧氢时(图158),空气体积只减少五分之一。

图158—舍勒在空气中燃烧氢的装置

瓶A浸在BB中的热水里,瓶中产生的氢在一根玻璃管的末端被点燃。长颈瓶C放在火焰之上,水上升到高度D,火焰此时熄灭。五分之一的空气消失。

舍勒以多种方式制备氧。一种方式是把浓缩的硫酸同精细研磨的“锰”(即软锰矿,自然的二氧化锰)相混合,把这混合物放在一个小的曲颈甑中加热。一个空的膀胱用来容纳这气体(图159)。

一当曲颈甑底变得炽热,一种气体便进入膀胱,逐渐使之膨胀。舍勒一次取了他通过加热硝酸制备的这种气体的一份样品,并在其中放置一支点燃的小蜡烛。“刚一这样做,这蜡烛便开始燃起很大火焰,发出耀眼的光,令人眼花缭乱。”当把这气体同上述实验中火不再在其中燃烧的残留空气相混合时,他得到了一种空气,它在各方面都同普通空气相像。在上述实验中使火维持并增强的那种气体,他称之为“火空气”;另一种不帮助燃烧的气体,他称之为“污浊空气”。这两种气体后来分别被正式命名为“氧”和“氮”。

图159—舍勒收集气体的装置

经过压缩而内无空气的一个膀胱,缚在一个曲颈甑的颈端A,曲颈甑放在一个火炉上,炉内装有由之产生气体的物质(或几种物质)。

当舍勒在一曲颈甑中加热硝石时,膀胱被一种气体膨胀,这种气体也证明是纯粹“火空气”(O)。因此,他便用“火空气”取代普通空气,重复以前对硫肝、磷等等做的实验。现在,几乎未留下什么残余,这气体差不多全被吸收了。但是,当他把“污浊空气”同“火空气”相混合,并在这气体混合物中放入一块磷时,却只有“火空气”被吸收。这一切实验表明,“火空气”是在大气空气中维持火的气体。舍勒指出,在大气空气的情形里,“火空气”同另一种丝毫无助于燃烧的气体相混合。这另一种气体仅仅阻止发生过分迅速和强烈的大火。舍勒制备“火空气”的方法不仅加热硝石或“锰”与硫酸的混合物,而且还加热氧化物,例如金的氧化物或红色的汞氧化物,而这最后也为普利斯特列所采用。

舍勒对“锰”的实验不仅弄清了氧,而且还弄清了锰、氯和氧化钡(BaO),后者碰巧是他在自己实验中所用的“锰”中的一种杂质。他还发现了一些钡的化合物,注意到其硫酸盐的不溶性。

归功于舍勒的发现还有:硫化氢、氯、氢氟酸、氧化钡、氢氰酸、钼酸、钨酸、砷酸、锰酸盐和高锰酸盐以及亚砷酸铜(一种绿色砷颜料,今天仍称为“舍勒绿”)。他进行的实验还产生了一种最致命的毒气胂(砷化三氢)。

通常归功于普利斯特列和其他人的那些气体化学上的发现中,有些已为舍勒所知。舍勒的实验研究对象除了氧、氮和二氧化碳之外,还包括氢氯酸、硫化氢和氧化氮。而且,他还发现,空气的两个成分即他所称的“火空气”和“污浊空气”在水中的溶解度相差很大。因为水比较容易吸收“火空气”,所以,它具有部分地分离空气两种成分的独特性质。这种“火空气”对生活在水中的动物来说,是不可或缺的。动物的生命过程维系于它们吸入“火空气”和呼出二氧化碳。所呼出的气体释放到大气之中,这样,水就能够溶解更多的“火空气”供这些动物利用。舍勒从他实验所得出的主要成果,概略说来就是如此,它们就性质而言,大都仅仅是定性的而不是定量的。

舍勒可以看作是有机化学的奠基人之一。在他的时代之前,作为科学一个分支的有机化学几乎还不存在。他把一种石灰或铅的溶液加于植物的酸腐液汁,结果得到了一些沉淀物,他认出,它们是某些酸的盐。他用硫酸分解这些沉淀物,成功地制备了各种植物酸,例如酒石酸、柠檬酸、苹果酸、乳酸和草酸。他还发现了鞣酸和苯甲酸;他从大黄根获得“acid of sorrel”(草酸),并表明这种酸化学上等同于用硝酸作用于糖而制备的“糖酸”。他通过对尿石的研究而发现尿酸。

1782年,他通过用硫酸分解普鲁士兰而发现了氢氰酸。他对这种酸的研究堪为楷模。在对脂肪和油的研究中,他分离出了他所称的“油的甜素”(甘油),其方法是用密陀僧和水蒸煮各种油,然后把所留下的水层蒸发掉。

这一切成果对于后来研究者的工作具有根本的重要性。舍勒的研究是在燃素说影响下进行的,但其价值并不因此而受到损害,实际上还有助于推翻它。他的三点论证尤其起到这种作用:(i)空气由两种不同气体组成,其中只有称为“火空气”(氧)的那种有助于燃烧和一切与燃烧相似的过程;(ii)“火空气”可以同普通空气相分离;和(iii)以一比四的比例混合“火空气”和“污浊空气”,可以产生普通空气。

舍勒还是最早研究光的化学效应的人之一。J.H.舒尔茨在1727年首先观察到,包含银的沉淀物对光敏感。舍勒对纯粹氯化银做的实验表明,日光使之还原为银。他还发现,组成光的各种光线对银盐有不同的作用。关于这方面的实验,他对其中一个简述如下。“把一面玻璃棱镜放在窗前,让被弯曲的光线落到地板上;在这种彩色光中,放一张纸,上面撒满角银。于是,可以观察到,角银在紫色中远比在其他颜色中为快地变黑”(Collected Papers,英译本,p.131)。这些发现为照相术准备了基础。值得指出,玻义耳已观察到过氯化银变黑,但把这归因于空气的作用,而不是光的作用。

以上论述只涉及舍勒工作的一部分。他研究的题材范围极其广泛,而且他的实验技能同他的渊博学识一样令人惊叹。然而,这一切工作都是在极端不利的条件下,在十分短暂的一生中完成的。

下一个研究空气化学的重要人物是卡文迪什。

卡文迪什

尊敬的亨利·卡文迪什(1731—1810)是德文郡第三代公爵的兄弟查尔斯·卡文迪什爵士的儿子。他被誉为他那一代中“有学问的人中最富有、富有的人中最有学问的人”。他全身心地致力于化学和物理研究。1766年,他发表了介绍他“关于人工空气的实验”的著述。他写道:“我说的人工空气,一般是指任何包含在其他处于非弹性状态的物体之中、用技术从那里产生出来的空气。”他描述了,他如何收集水上的“固定空气”和“可燃空气”。他解释说,他说的“固定空气”,是指“那些特殊种类的人工空气,它们通过溶解在酸中或通过焙烧从碱性物质中分离出来;这名称是布莱克博士在论生石灰的著述中给予它的”。他所称的“可燃空气”就是后来重新命名的氢。他是通过把锌、铁和锡溶解于“稀释的矾酸或盐精”而得到它的。他测定了这两种空气的密度以及“固定空气”在水中的溶解度。他发现,同样重量的锌溶解于这两种指定的酸中任何一种,都生成同样体积的“可燃空气”。他得出结论:这种空气来自金属(这个推论同他所接受的燃素说相一致)。在对“固定空气”进行的实验中,卡文迪什采用了两种新的重要方法。他为了干燥这气体,让它通过珍珠灰(碳酸钾);他把它储存在水银上面(而不是水的上面)。他还在瞬息间就收集了“海酸空气”(氯化氢),发现它立即溶解于水。

图160—卡文迪什

卡文迪什最著名的工作开始于1781年,他在1784和1785年的《皇家学会哲学学报》上对之作了介绍。他重复了普利斯特列和沃尔蒂尔的实验:当用电火花爆炸普通空气和“可燃空气”的混合物时,在一个干燥容器中生成露。他发现,“423份可燃空气基本上足以使1000份普通空气燃素化;爆炸后留下的空气的体积这时略大于所用普通空气的四五分之一;这样,由于普通空气的体积不可能减小到比用燃素化方法小许多,故我们满可以得出结论:当它们以此比例混合和爆炸时,几乎全部可燃空气和大约五分之一普通空气丧失其弹性,并凝结成沿玻璃容器排列的露。”可是,这露是什么呢?为了回答这个问题,卡文迪什以大得多的规模重复这个实验,逐渐地把500000格令可燃空气同约1250000格令普通空气相混合,并点燃。他得到了135格令液体,这种液体经探究证明是纯水。

他再次重复了可燃空气的实验,但利用“脱燃素空气”代替普通空气。他把适量的这两种气体相混合并使之爆炸,这样耗尽了19500格令“脱燃素空气”和37000格令“可燃空气”。爆炸在其中进行的玻璃球现在包含30格令液体,后者“有明显的酸味,在用固定碱使其饱和并让其蒸发之后,产生近2格令的硝石;所以,它由水同少量亚硝酸[硝酸]混合而成”。并且,当用大大过量的“脱燃素空气”重复此实验时,这液体变得更酸,而当用过量“可燃空气”或普通空气时,则毫无酸的痕迹。他得出结论:像普利斯特列博士和柯万先生所认为的,可燃空气是纯粹燃素,否则,便是同燃素相混合的水;“脱燃素空气实际上无非就是……失去了其燃素的水”;“水由与燃素结合的脱燃素空气组成”;“这实验中出现的酸,只是因杂质同脱燃素空气和可燃空气相混合而产生的。”

图161—卡文迪什测定氢的重量和密度的装置

A是一个盛有稀释硫酸的瓶,B是一根玻璃管,连接于A的口,并用封泥加封;C是一个玻璃圆筒,顶端有一个小孔,它连接于B,也加封泥。C充有粗粉末状的干“珍珠灰”(钾碱)。整个装置加以称量,连接A和B所用的封泥单独加以称量。然后,把一定量称量过的锌加入A,A和B用封泥连接在一起。氢通过C时变得自由和干燥,然后溢入空气。重量的损失由重新称量来确定,并考虑到这装置里空气已为氢所取代。从前面一个实验,可以知道这个质量的锌所使之自由的氢的体积。于是,根据这些数字,便可计算氢的密度。

卡文迪什使用同样或相似的装置来测定化学反应所散发气体的重量。瓶A包含酸,通过管B连接于另一个较粗的管子C,后者在顶端开口,让气体溢出,并充塞“珍珠粉”或“滤纸”,以使放出的气体干燥。整个装置加以称量。然后,将一定量称量过的金属或碳酸盐加入A。当反应完成时,整个装置再行称量。然后,计算给定重量金属或碳酸盐散发的气体的重量。

图162—卡文迪什对气体放电花的装置

M是一根弯玻璃管,其中水银上面有空气,两端浸入两个盛有水银的容器。空气、石蕊溶液或肥皂渣积物的供给,由一根细玻璃管导入,这玻管适当弯曲,以使其弯端同M的一个开端相配合;充入时,按要求将这细玻管倒置在盛有这些物质的容器之中,让弯端位于最高处,同时,通过暂时放开按在另一端的手指,释出一些原先充有的水银。在然后将这些物料导入M时,放开手指,让水银压力迫使它们进入。(试比较图154的图19。)

卡文迪什然后转向研究“亚硝”[硝]酸。普通空气和某种石蕊溶液在一根玻管中被限制在水银上面。然后,对空气放电花。结果,石蕊变红,并且“符合于普利斯特列博士的观察”,空气也减少了。他运用肥皂渣取代石蕊,重复了这实验。他发现,用“好的脱燃素空气”时,空气体积减小甚微,而当用“完全燃素化空气”时,根本没有减少。“但是,当五份纯粹脱燃素空气同三份普通空气相混合时,几乎全部空气都消失了”,肥皂渣中产生的溶液在通过蒸发变干燥时,“便留下少量盐,而它显然是硝石”。他得出结论:“亚硝酸”是“燃素化空气”同“脱燃素空气”的一种化合物。这顺带也解释了,他以往有些实验中为何也出现过这种酸。

这些实验有一个特点已证明特别令人感兴趣。卡文迪什发现,在刚才提到的那些实验中,总是发现有少量残余空气。在对带过量“脱燃素空气”的“燃素化空气”反复放电花,并用硫肝吸收这过量“脱燃素空气”之后,仍留下“未被吸收的一个小气泡进入玻管,它肯定不超过燃素化空气体积的1/120;因此,如果我们大气的燃素化空气有一部分不同于其余部分,并不能还原为亚硝酸,那么,我们可以满有把握地得出结论:它不超过全部的1/120”。1894年,瑞利和拉姆齐分离出了这残留部分,即氩。他们发现,同卡文迪什惊人逼近的估计值1/120=百分之0.83相比,它构成普通空气的百分之0.94。

(参见 J.R.Partington:A Short History of Chemistry,London,1948,和The Composition of Water,London,1928;和J.R.Partington and D.McKie:“Historical Studies on the Phlogiston Theory”,载Annals of Science,1937—39。)


[1] 普罗丢斯(Proteus)是希腊神话中变幻无常的海神。——译注

[2] 直到1801年,克鲁克香克才表明,这种“怪异”的可燃空气是一种碳的氧化物,而不是氢。参见《尼科尔森杂志》(Nicholson’s Journal)(Vol.Ⅴ)。