1
机械工程实训教程
1.13.1 11.1 数控铣床概述

11.1 数控铣床概述

11.1.1 数控铣床简介

数控铣床是机床设备中发展较早、应用较广的加工机床,在数控机床中所占的比例最大。在数控铣床上可以完成各种复杂平面、曲面和型腔的加工,如各种模具、样板、箱体等。另外,数控铣床还可以完成钻削、镗削、螺纹切削等加工。

按照主轴的位置,数控铣床可分为立式数控铣床和卧式数控铣床。其中,立式数控铣床的主轴是垂直方向的,如图11-1(a)所示。一次装夹后,可对工件的上表面进行铣、钻、扩、镗、锪、攻丝等工序以及侧面轮廓的加工。目前,立式数控铣床在数量上占据数控铣床的大多数,应用范围也最广。卧式数控铣床的主轴为水平方向,如图11-1(b)所示。一般都带有回转工作台,一次装夹后可完成除安装面和顶面以外的其余表面各种工序的加工,常用于箱体类零件的加工。

img362

图11-1 数控铣床外观图

11.1.2 数控铣床的组成和结构特点

1.数控铣床的组成

数控铣床一般由铣床基础部件、数控系统、主传动系统、进给伺服系统、辅助控制系统和装置等几大部分组成。

(1)铣床基础部件 又称为铣床大件,通常是指床身、底座、立柱、横梁、滑座、工作台等,是整台铣床的基础和框架。

(2)数控系统 数控铣床运动控制的中心,执行数控加工程序,控制机床进行加工。

(3)主传动系统 包括主轴箱体和主轴传动系统,用于装夹刀具并带动刀具旋转,主轴转速范围和输出扭矩对加工有直接的影响。

(4)进给伺服系统 由进给电机和进给执行机构组成,按照程序设定的进给速度实现刀具和工件之间的相对运动,包括直线进给运动和旋转运动。

(5)辅助控制系统和装置 实现机床某些部件的动作和辅助功能,如液压、气动、润滑、冷却等系统和排屑、防护等装置。

2.数控铣床的结构特点

与其他数控机床(如数控车床、数控钻镗床等)相比,数控铣床在结构上主要有以下特点:

(1)控制机床运动的坐标特征 数控铣床能够控制的坐标数至少是三坐标中任意二坐标联动;如果要实现连续加工直线变斜角工件,起码要实现四坐标联动;而要加工曲线变斜角工件,则要求实现五坐标联动。因此,数控铣床所配置的数控系统在档次上一般都比其他数控机床相应更高一些。

(2)数控铣床的主轴特征 现代数控铣床的主轴开启与停止,主轴正反转与主轴变速等都可以按事先编写好的程序自动执行。在数控铣床的主轴套筒内一般都设有自动拉、退刀装置,能在数秒种内完成装刀与卸刀,使换刀更为方便。此外,多坐标数控铣床的主轴可以绕 X、Y 或 Z 轴作数控摆动,也有的数控铣床带有万能主轴头,扩大了主轴自身的运动范围,但主轴结构更加复杂。

11.1.3 数控铣床的加工对象

1.平面类零件

加工面平行或垂直于水平面,以及加工面与水平面的夹角为定值的零件称为平面类零件。平面类零件的特点是,各个加工单元面是平面或可以展开成为平面。目前,平面类零件是数控铣削加工对象中最简单、最常见的零件,一般只须用2坐标联动的数控铣床就可以把它们加工出来。

图11-2所示的三个零件均为平面类零件,其中,图11-2(a)所示零件中的曲线轮廓面M 垂直于水平面,可采用圆柱立铣刀加工。图11-2(b)所示的零件中带有斜平面 P,当工件尺寸不大时,可用斜板垫平后加工;当工件尺寸很大,斜面坡度又较小时,也常用行切法加工,这时会在加工面上留下进刀时的刀锋残留痕迹,要用钳修方法加以清除。图11-2(c)所示零件的凸台侧面 N 与水平面成一定角度,这类加工面可以采用专用的角度成型铣刀来加工。

img363

图11-2 平面类零件

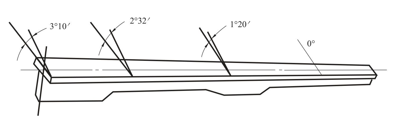
2.变斜角类零件

加工面与水平面的夹角呈连续变化的零件称为变斜角类零件,如图11-3所示。此类零件多数为飞机零件,如飞机上的整体梁、框、缘条与肋等,此外还有检验夹具与装配型架等。

img364

图11-3 变斜角类零件

变斜角类零件的加工面不能展开为平面,但在加工中,加工面与铣刀圆周接触的瞬间为一条直线。加工该类零件最好采用4坐标和5坐标数控铣床的摆动铣头加工,在没有上述机床时,也可在3坐标数控铣床上采用行切法进行2.5坐标近似加工。

3.曲面类(立体类)零件

加工面为空间曲面的零件称为曲面类(立体类)零件。该类零件的特点是加工面不能展开为平面,且加工过程中,加工面与铣刀始终为点接触。此类零件一般采用3坐标数控铣床,一般使用球头铣刀切削,以免产生干涉而铣伤邻近表面。