9.4 典型零件的加工工艺分析实例
9.4.1 轴类零件加工
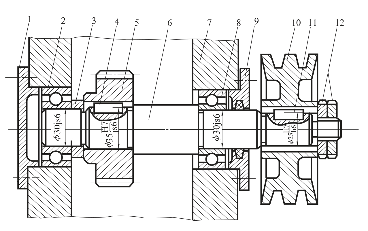
轴类零件是长度大于直径的回转体零件的总称,其主要功能是支承传动件(齿轮、皮带轮、离合器等)和传递扭矩。构成轴类零件的表面要素主要有圆柱面、圆锥面、螺纹、键槽、花健、沟槽等。根据轴上表面类型和结构特征的不同,轴可分为光轴、空心轴、半轴、阶梯轴、花健轴、十字轴、偏心轴、曲轴、和凸轮轴等。现以图9-1减速器传动轴为例介绍一般轴类零件加工工艺分析过程。该轴在减速器中的装配图如图9-2所示。生产数量5件,要求硬度220~240HBS。

图9-1 减速器传动轴

图9-2 减速器部分装配图
1.图纸分析
如图9-2所示,该传动轴两φ30轴径与滚动轴承配合被支承在箱体上,φ35轴径支承
齿轮与φ25轴径支承的皮带轮形成传动扭矩。齿轮与轴通过平健连接,皮带轮与轴通过平健和螺母连接并固定。上述四个表面有较高的尺寸精度、位置精度(径向跳动公差0.012~0.02mm)和表面粗糙度要求(Ra0.8~ Ra3.2),加工时应分粗精分开。相对次要表面有键槽、螺纹、端面越程槽、退刀槽及倒角等。
2.毛坯选择
轴类零件根据批量、重要程度和尺寸的不同,常用的毛坯是圆钢型材和锻件。对于批量大、重要、直径尺寸变化大的轴类零件多选锻件,对批量不大、一般重要、直径尺寸变化不大的轴类零件多选圆钢型材。
3.材料和热处理
通常一般轴类零件材料多用45# 钢,某些重要轴为提高淬透性选择40Cr。为提高材料的综合机械性能,轴类零件都要进行调质处理,某些表面可能需要进行局部表面热处理(如高频淬火)。调制处理工序一般安排在粗加工后半精加工前进行。局部表面热处理安排在半精加工后进行。
4.工艺分析
根据上述分析,加工方案安排如下:下料—粗车—调质—半精车—加工键槽—精加工。
5.基准选择
轴的定位基准最常用的是轴两端的中心孔,采用两顶尖安装方式,以保证各配合表面的位置精度,符合基准统一原则和基准重合原则,所以粗加工时首先应加工中心孔。热处理后,为消除变形和氧化皮,需要修磨中心孔,在最后精磨之前,为提高加工精度也应修磨中心孔。
6.编制工艺文件
编制工艺文件时,对重要表面和有位置精度要求的表面加工一般应画出工序简图(见表9-4所示)。鉴于学生都是初学者,本例多数工序都给出了工序图。
表9-4 减速器传动轴工艺过程卡

(续表)

(续表)

9.4.2 盘套类零件加工
盘套类零件的结构一般由孔、外圆、端面和沟槽组成,除尺寸精度外,其位置精度主要有外圆对内孔轴线的径向圆跳动或同轴度、端面对孔轴线的端面园跳动或垂直度等要求。
如图9-3所示,盘套类零件按用途主要有皮带轮、齿轮、轴承套、轴承端盖、套筒等。

图9-3 盘套类零件
本节以法兰盘和齿轮两种类型的零件为例介绍盘套类零件的加工工艺。
1.法兰盘工艺文件的编制
(1)图纸分析 如图9-4所示,孔
与轴配合,外圆
与箱体配合,两者尺寸精度较高,同时有同轴度要求。另外,两端面对基准轴线也有垂直度要求,其圆跳动小于0.05mm。粗糙度要求 Ra值在1.6μm 以上。在车加工是应采用互为基准原则,粗加工和精加工分开进行。次要表面有键槽和三个螺丁孔。

图9-4 法兰盘
(2)毛坯选择 法兰盘类零件根据其受力和重要程度一般多采用铸造毛坯,材料为HT200。
(3)工艺过程见表9-5所示
表9-5 法兰盘工艺过程卡

(续表)

2.齿轮加工工艺规程的编制
齿轮也是典型的盘套类零件,现以图9-5为例介绍齿轮零件的加工工艺规程的编制。
(1)图纸分析 通常齿轮的内孔既是装配基面,又是设计基面,加工中一般也作为定位基面,所以有较高的要求,如图9-5中,内孔为
,Ra1.6,端面对孔的跳动允差0.025mm。

图9-5 齿轮
本例中齿轮的齿面为渐开线齿面,精度等级和侧隙要求为8—GJ 级,为保证齿轮的等级以及与内孔的径向圆跳动和端面圆跳动,尽管齿顶圆在工作中没有精度要求,但为了加工中需要利用它来找正和测量齿轮的公法线长度及齿厚,则需要在加工中规定较高的精度和对内孔同轴度。
(2)毛坯的选择 毛坯的选择与生产批量有关,批量大时,多用模锻件,中部凹槽(轮辐)可以直接锻出,不需要切削加工。当数量为单件小匹,则考虑选用圆钢,尺寸大,可考虑用钢板或铸钢。
本例中数量按单件考虑且尺寸不大,毛坯用圆钢。材料45号钢,正火处理,可以达到齿面硬度要求180~210HB。
(3)工艺分析 齿轮精度高应粗精加工分开,中间安排正火处理。为保证内、外圆和端面的位置精度,本例采用一次装夹来加工(一刀活),内孔采用钻、镗的方法加工。齿轮的传动精度8级,可以在滚齿机上加工,也可以在铣床上用分度头和模数铣刀加工。工艺过程卡见表9-6所示。
表9-6 齿轮加工工艺过程卡

(续表)

(续表)

9.4.3 支架箱体类零件加工
1.支架箱体类零件的功用及结构特点
支架箱体类零件是机器部件的基础零件,用以支承和组装轴系零件,并使各零件之间保持正确的位置关系。因此,支架箱体类零件的加工质量直接影响机器的工作质量。
图9-6是常见支架 [(a)、(b)]、箱体 [(c)] 类零件。

图9-6 支架、箱体类零件
2.制定支架箱体类零件工艺规程的原则
(1)先面后孔 支架箱体类零件基本由平面和支承孔组成,先加工主要平面(次要平面可随之加工),然后加工支承孔,这样可以为孔加工提供稳定可靠的定位基准;此外,主要平面一般是机器支架和箱体在机器上的装配基准,先加工主要平面可使定位基准与装配基准重合,从而消除因基准不重合造成的定位误差。
(2)粗、精加工分开 对于刚性较差、精度要求高的支架箱体类零件,为了减少加工变形和加工应力,一般要粗、精加工分开。根据支架箱体类零件的结构特点、尺寸和精度要求,选择适当的加工设备、夹具和切削用量进行加工。
对于支架箱体零件的平面加工,对于一般中小件,可在牛头刨床或铣床上加工;对于大件,可在龙门刨床或龙门铣床上加工,对于批量大的零件,应设计专用组合铣床加工(如发动机箱体是在专用的双面铣床上铣削两平面)。
对于支架箱体零件的支承孔加工,对于一般中小件,可在镗床或铣床上加工,小支架也可以在车床上加工;对于大件,一般只能在镗床上加工。孔系加工只宜在镗床上进行,或在专用镗模夹具上进行。对于一般精度的其他孔,则多在摇臂钻床或立钻上进行。
根据上述分析,在单件、小批生产中,要求较高的支架箱体类零件的主要工艺可安排如下:
铸造毛坯—划线—粗加工主要平面—粗加工支承孔—精加工主要平面—精加工支承孔。至于其他次要表面的加工可根据情况穿插进行。螺钉孔一般放在最后进行。
3.支架箱体类零件加工举例
图9-7为一台分离式两级圆柱齿轮传动减速器箱体,它由箱盖和底座组成,其结构特点是:薄壁、空腔、形状复杂。毛坯为 HT200铸造毛坯。

图9-7 分离式两级圆柱齿轮传动减速器箱体
(1)减速器箱体的技术要求
① 底座与对合面必须平行,平行度误差不超过0.5mm/1000mm。
② 为了保证对合面的密封性,对合面加工后,其表面不得有划痕及毛刺,用塞尺检查,两对合面的配合间隙不超过0.03mm。
③ 各支承孔的尺寸精度为 IT7,表面粗糙度 Ra3.2,其圆柱度和圆度误差均不得超过孔径公差的1/2;孔中心距偏差为 ±0.03~0.05mm。
④ 各支承孔的轴线应在箱体对合面内,其不重合度误差不大于0.1mm。
⑤ 各支承孔的平行度要求根据齿轮公差换算决定。
(2)工艺方法分析
图9-7减速箱的上盖和底座如图9-8和图9-9所示。

图9-8 减速箱盖
如图9-7、图9-8和图9-9所示,其主要加工部位是:
1)主要孔 安装轴承的支承孔
、
及孔内环槽。
2)主要平面 底座的底面和对合面,箱盖的对合面和顶部斜方孔等。另外轴承孔两侧平面。
3)加工原则
① 按先面后孔原则安排加工工艺:先加工对合面,然后再加工其他平面和支承孔。
② 工序集中:因为箱体体积大,重量重,应尽量减少运输,以提高生产率。加工时,在一次安装中应加工尽量多的表面,这样即可以减少安装次数,又便于保证各被加工表面的位置精度。
③ 合理安排热处理工序:毛坯铸造后应安排人工时效,以消除铸造应力。对于要求精度高、形状复杂的箱体,应在粗加工后再安排一次人工时效,以便消除切削引起的内应力,进一步提高箱体加工精度的稳定性。

图9-9 减速箱底座
4)基准选择
① 粗基准的选择:一般箱体加工是以箱体上重要孔(如主轴孔)为粗基准,这样可以保证箱体上重要孔的加工余量均匀。
对于分离式减速箱体,由于三个支承孔分布在箱体上下两个部分上,不易用孔定位,则应选对合面法兰的不加工面作为粗基准,这样可以保证加工后的法兰厚度均匀。如图9-7中选 AB 面做粗基准。
② 精基准的选择:减速箱对合面与底面(装配基准)有一定的位置精度要求;支承孔轴线位于对合面内,与底面(装配基准)也有一定的位置精度要求。因此在精加工底座的对合面时,应以底面为精基准,使设计精基与工艺基准重合。箱体组合后加工支承孔时也应以底面为精基准。这既符合基准重合原则,也符合基准统一原则,利于保证箱体的加工精度。为消除工件绕 Z 轴转动自由度,保证支承孔轴线与箱体端面的垂直度,还应以低面上两销孔定位。
(3)分离式减速箱体加工工艺过程
减速箱体加工工艺过程分为两个阶段,首先对箱盖和底座分别进行加工,然后组合成整体进行加工。第一阶段主要完成平面、紧固孔和定位孔的加工,组合成箱体。第二阶段粗、精加工支承孔。
减速箱体加工工艺过程如表9-7所示。
表9-7 减速箱体加工工艺过程卡

(续表)
