1
机械工程实训教程
1.8.1 6.1 铣 床

6.1 铣 床

铣床就是用铣刀进行切削加工的机床,其种类很多,常用的有升降台式铣床、龙门铣床和工具铣床等。

6.1.1 升降台式铣床

升降台式铣床是应用较广的一类铣床,其工作台安装在能作垂直升降的升降台上,使工作台可在相互垂直的三个方向上调整位置或完成进给运动。这类铣床只适用于加工中小型工件。主要有卧式万能升降台铣床、立式升降台铣床。

1.X6132万能卧式铣床

X6132型铣床是中型卧式万能铣床,具有功率大、转速高、刚度好、工艺范围广、操作方便等优点。主要适用于单件小批生产,也可用于成批生产。

X6132万能卧式铣床如图6-1所示。床身是固定和支承其他部件的基础。顶部与前面分别有水平的和垂直的燕尾式导轨,与横梁和升降台相配合,床身内部还装有电动机、主轴变速机构等,床身是保证机床具有足够刚度和加工精度的重要部件。

img136

1.电动机;2.主轴变速机构;3.床身;4.主轴;5.横梁;6.吊架;7.纵向工作台;8.转台;9.横向工作台;10.升降台;11.进给变速箱及操纵机构

图6-1 X6132万能卧式铣床

主轴用来安装与紧固刀杆,并带动铣刀旋转。主轴由安装在床身中的滚动轴承支承,具有较高的旋转精度,是保证加工精度的重要部件。

在横梁上可以安装吊架,用来支承刀杆外伸端,以增加刀杆刚性。横梁可以在床身顶部刀轨上移动,调整其伸出长度。

升降台可带动工作台作垂直升降,以调整铣刀与工作台之间的距离,进给变速箱及操纵机构安装在升降台的侧面,操纵变速手柄,可使工作台获得不同进给速度。

纵向工作台、转台和横向工作台分别完成纵向进给、在水平面内转角和横向进给。

2.X5132立式铣床

X5132立式铣床如图6-2所示,它的主轴与工作台垂直。立式铣床有两种形式:一种是铣头与床身做成整体的;另一种是铣头与床身不成整体,根据加工的需要,可以将铣头转过一定角度,使主轴对台面倾斜。立式铣床生产率较高,能加工平面、台阶、斜面、键槽等,还可以加工内、外圆弧、T 形槽及凸轮等。

img137

图6-2 X5132立式铣床

6.1.2 万能工具铣床

万能工具铣床的基本布局和万能升降台铣床相似,但它配备了多种附件,因而扩大了机床的万能性,常用于工具车间,加工形状较复杂的各种切削刀具、夹具及模具零件等,如图6-3所示。

img138

图6-3 万能工具铣床

6.1.3 龙门铣床

龙门铣床在布局上以两根立柱及顶梁与床身构成龙门式框架而得名,如图6-4所示。龙门铣床可作粗加工、半精加工和精加工,在大批量生产中应用广泛,特别适合于加工大中型或重型工件。

img139

图6-4 龙门铣床

6.1.4 铣床常用附件

1.分度头

(1)分度头的组成 分度头是一种分度的装置,如图6-5所示。在铣六方、齿轮、花键等工作时,要求工件先铣完一个面或一条槽之后转过一个角度,再铣下一个面或一条槽,这种使工件转过一定角度的工作即称分度。分度时摇动手柄,通过蜗杆、蜗轮带动分度头主轴,再通过主轴带动安装在主轴上的工件旋转。分度头应用广泛,可加工圆锥形状零件,可将圆形的或是直线的工件精确地分割成各种等份,还可以加工刀具、沟槽、齿轮、渐升线凸轮以及螺旋线零件等。

img140

1.顶尖;2.主轴;3.回转体;4.分度盘;5.底座;k.分度手柄; J.定位销

图6-5 分度头

(2)简单分度法 分度头蜗杆蜗轮的传动比为1∶40,即当与蜗杆同轴的手柄转过一圈时,单头蜗杆前进一个齿距,并带动与它相啮合的蜗轮转动一个轮齿;这样,当手柄连续转动40圈后蜗轮正好转过一整转。由于主轴与蜗轮相连,故主轴带动工件也转过一整转。如使工件 Z 等分分度,每分度一次,工件(主轴)应转动1/Z 转,则分度头手柄转数 n 与 Z 的关系为:

img141

这种分度方法称为简单分度。

2.万能铣头

万能铣头是铣床的必备附件,如图6-6所示。它由立铣头和回转座两部分组成,可使主轴轴线绕X、Y 两个方向回转,组成所需要的任意角度,扩大机床的加工范围,利用它可以在卧式铣床上进行立铣工作,使用时卸下横梁,装上万能铣头,根据加工需要,其主轴在空间可以转成任意方向。其底座用螺钉固定在铣床的垂直导轨上,其主轴的动力来自机床主轴箱主轴,以十字联轴节与主轴箱相连。它不但能完成立铣工作,而且可以在一次装夹中,通过高速铣头角度完成任意平面、棱角和沟槽的铣削,特别适用于单件二次维修加工。

img142

图6-6 万能铣头

3.回转工作台

回转工作台即圆形工作台,如图6-7所示。其周围有刻度用来观察和确定转台位置,手轮上的刻度盘也可读出转台的准确位置。在回转工作台上,首先校正工件。圆弧中心与转台中心重合,铣刀旋转,工件作弧线进给运动,可加工圆弧槽、圆弧面等零件。

img143

图6-7 回转工作台

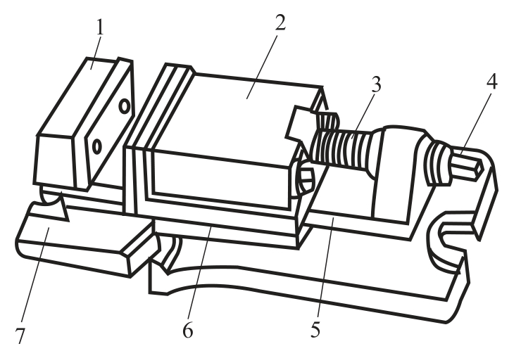
4.平口钳

平口钳又名机用虎钳,是一种通用夹具,如图6-8所示,常用于安装小型工件。它是铣床、钻床的随机附件。将其固定在机床工作台上,用来夹持工件进行切削加工。

img144

1.固定钳口;2.活动钳口;3.丝杆;4.方头;5.导轨;6.压板;7.钳体

图6-8 平口钳

平口钳的工作原理如下:用扳手转动丝杠,通过丝杠螺母带动活动钳身移动,形成对工件的夹紧与松开。被夹工件的尺寸不得超过70mm。