3.4 其他焊接方法
3.4.1 氩弧焊
氩弧焊分为钨极氩弧焊(TIG 焊)和熔化极氩弧焊(MIG 焊)。
1.手工钨级氩弧焊
(1)手工钨级氩弧焊过程 钨极氩弧焊(TIG 焊)用高熔点的钨作为电极材料,焊接中不熔化,在焊接中主要起产生电弧,加热熔化焊件和焊丝,并形成焊缝,钨极氩弧焊过程,如图3-26所示。它是用氩气作为保护气体,气体从喷嘴中送出氩气流,在电弧周围形成保护区,使空气与电极、熔滴和熔池隔离开来,从而保证焊接的正常进行。

图3-26 钨极氩弧焊过程
(2)钨极氩弧焊的特点 氩弧焊保护性能好,焊缝质量高,电弧稳定,飞溅小,表面无焊渣,成形美观;明弧便于操作,现已实现自动化;电弧热量集中,熔池小,HAZ(热影响区)较窄,焊件变形小;由于氩气有冷却作用,可进行全位置焊接;适用各类金属材料的焊接。
2.熔化极氩弧焊
(1)熔化极氩弧焊的过程 熔化极氩弧焊,顾名思义,是一种熔化电极用氩气作为保护气体的一种焊接方法。
熔化极氩弧焊采用卷在焊丝盘上与母材相近材质的焊丝作为电极,从焊枪喷嘴中喷出的保护气体对焊接区及电弧进行保护,熔化极焊丝与焊件之间形成焊接电弧,熔化焊丝与焊件。焊丝熔化形成熔滴并从焊丝端部脱落过渡到熔池,与母材熔化金属共同形成焊缝,如图3-27所示。

图3-27 熔化极氩弧焊示意图
(2)熔化极氩弧焊的特点 熔化极氩弧焊可以焊接几乎所有的金属;电弧稳定,熔滴过渡平稳,几乎不产生飞溅,熔透也较深;电弧的电流密度大,焊丝熔化速度快,熔敷效率高,母材熔深和焊接变形都好于 TIG 焊(惰性气体钨极保护焊),焊接生产率高;熔化极氩弧焊直流反接焊接铝及铝合金,对母材表面的氧化膜有良好的阴极雾化清理作用。
3.4.2 二氧化碳气体保护焊
1.二氧化碳气体保护焊过程
二氧化碳气体保护焊有自动焊和半自动焊,它是以 CO2为保护气体的电弧焊,焊接中焊丝与焊件一同熔化形成焊缝。图3-28为 CO2气体保护焊过程,焊丝通过送丝机构、导电嘴送入焊接区,CO2气体从喷嘴内以一定流量在焊丝周围喷出,在电弧周围形成保护区,防止空气侵入,从而保证焊接的正常进行。

图3-28 CO2气体保护焊过程示意图
2.二氧化碳气体保护焊的特点
CO2气体对铁锈的敏感性低;气体对电弧有一定的冷却作用,使电弧热较集中,焊后焊件HAZ和变形都较小;可采用较大的焊接电流,电流密度大,生产率高;明弧焊接,便于观察熔池的变化,容易发现问题,及时解决;不足之处是 CO2气体有氧化作用,使熔滴飞溅较为严重,焊缝成形差,有益元素烧损。 CO2气体高温分解出碳,所以, CO2气体保护焊只限焊接黑色金属等。
3.4.3 埋弧焊
焊接中电弧在焊剂层下燃烧进行焊接的方法称埋弧焊。
1.埋弧焊焊接过程
(1)引弧前准备 将调整好的焊丝对中,焊丝末端与焊件之间留有2mm 左右的间隙,将筛选、预热好的焊剂自然覆盖在对中的表面,厚度约30mm 左右(视电流大小而定)。
(2)焊接 高频引燃电弧,在焊丝末端与焊件之间产生电弧,形成熔池,熔池结晶成焊缝,随着电弧沿焊接方向移动,焊丝、焊件的不断熔化和冷却,在焊件上形成了焊缝,并由渣壳和未熔化的焊剂所覆盖,如图3-29所示。

1.送丝轮;2.导电嘴;3.焊丝;4.电弧;5.熔池金属;6.熔渣;7.焊剂;8.焊缝;9.焊件;10.渣壳
图3-29 埋弧焊纵截面焊缝成形过程
(3)清理 待焊缝完全冷却后,清除焊缝表面的渣壳和未熔化的焊剂,除去焊渣和杂质,其余回收重新使用。
2.埋弧自动焊的特点
埋弧自动焊可使用大电流,14mm 以下的焊件可一次焊透,生产率是焊条电弧焊的3~6倍;保护性能好,焊缝的力学性能好于焊条电弧焊;焊接熔深大,可节省开坡口的工作量和焊丝的用量;无飞溅,消除了焊条电弧焊中因更换焊条而产生的缺陷;机械化焊接减轻了焊工的劳动强度;因电弧在焊剂下,避免了弧光和减少了粉尘对焊工的有害作用等。
3.埋弧焊用焊接材料
(1)焊剂牌号表示 如 HJXXX。其中 HJ 表示熔炼焊剂,第一位X和第二位 X 表示含义如表3-9所示;第三位同一类型的不同牌号。如常用焊剂 HJ431为高锰高硅低氟焊剂。
表3-9 焊剂牌号表示含义

(2)焊丝 埋弧焊焊丝的要求与焊条的钢芯基本相同。常用焊丝直径有2、3、4、5和6mm 的。焊丝表面要求无氧化皮、铁锈和油污。
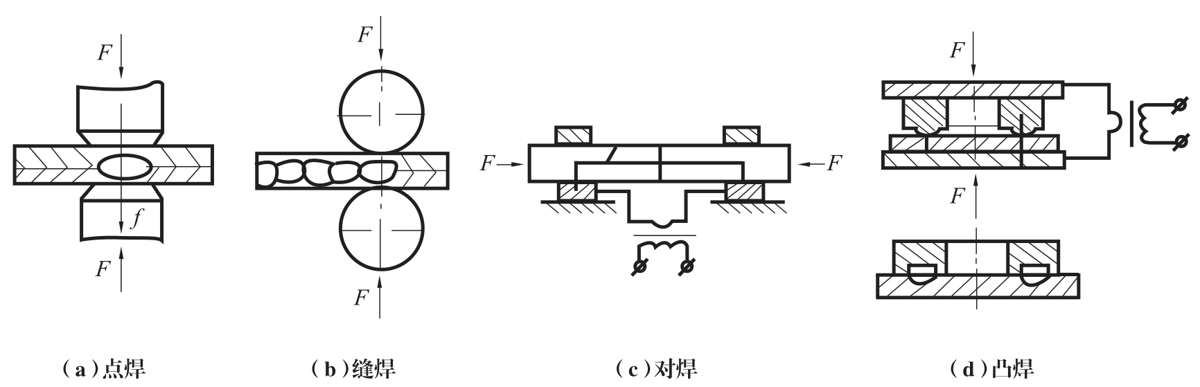
3.4.4 电阻焊
电阻焊是将焊件组合后,通过电极施加压力,利用电流通过接头的接触面产生的电阻热,将焊体加热到塑性或熔化状态,进行焊接的方法。
电阻焊方法常用的有四种,点焊、缝焊、对焊和凸焊,如图3-30所示。

图3-30 常用电阻焊方法
3.4.5 钎焊
钎焊是采用比母材熔点低的钎料作填充材料,将焊件和钎料加热到高于钎料熔点,低于母材的熔点,利用液态钎料润湿母材,填充间隙并与母材相互扩散实现焊件连接在一起的方法。
根据钎料熔点的不同,钎焊可分为硬钎焊与软钎焊。
钎料熔点在450°C 以上,接头强度在200MPa 以上的称硬钎焊,属于这类的钎料有铜基、银基和镍基等钎料。
钎料熔点在450°C 以下,接头强度一般不超过70MPa 的称软钎焊。钎焊主要用于制造电气部件、异种金属构件、硬质合金刀具等。
3.4.6 等离子弧焊接与切割
1.等离子弧的形成和特点
等离子弧是一种被压缩的钨极氩弧。等离子弧的压缩是借助水冷喷嘴对电弧的拘束作用实现的。
等离子弧通过水冷铜喷嘴时,受到机械、热和电磁三种压缩作用,具有很高的能量密度、温度及刚直度,如图3-31所示。等离子弧与普通电弧相比温度高(可达24000~50000K)、能量密度大(可达105~106W/cm2、熔透力强(一次可达8~10mm 不锈钢板),弧长变化时对加热面积影响很小,电流可在很大范围内调节,可焊接微型精密零件等。

图3-31 等离子弧焊枪
2.等离子弧切割
以等离子弧为热源进行切割的方法称为等离子弧切割。其切割是以高温、高速、高冲击力,将金属熔化的同时吹走而形成窄缝。等离子切割的工作气体叫离子气,常用的离子气为氮气。等离子弧可切割氧乙炔难以切割的材料,如铝、铜、钛、不锈钢、铸铁和非金属材料等。
3.等离子弧焊接
等离子弧焊接是一种较先进的焊接工艺,其焊接生产效率高、焊缝尺寸稳定、加热面积小,可焊接各种电弧焊难以焊接的材料。电流在0.1A 左右时等离子弧也能稳定性燃烧,因而可焊接超薄板等。焊接有穿孔型焊接法、熔入型焊接法和微束等离子弧焊三种方法。