3.3 气焊与气割
3.3.1 气焊
气焊是利用可燃气体与助燃气体混合作热源的焊接方法。
1.气焊用材料
(1)氧气(O2) 常温下氧气是一种无色、无味、无毒不自燃的气体,但它是一种活泼的助燃剂,能与自然界几乎一切元素氧化。气焊、气割正是利用可燃气体与氧气配比燃烧所放出的热量作为热源的。根据 GB3863—1995规定,气焊气割用氧气,按其氧含量(体积分数)分为一等品、合格品。对质量要求高的气焊可用优等品或一等品氧气,为减少费用,气割可采用一等品或合格品氧气。
(2)乙炔(C2H2) 目前用于可燃气体的有乙炔、氢气、甲烷(天然气)、丙烷、煤气等。因乙炔具有低热值高(即1m3气体的最低发热量)、火焰温度(3100~3200°C)高、火焰对金属无有害的化学作用、制取方便等,应用最广。
(3)气焊丝 常用气焊丝有碳素结构钢焊丝、合金结构钢焊丝、铜及铜合金焊丝、铝及铝合金焊丝、铸铁气焊丝及不锈钢焊丝等。其中焊接低碳钢、低碳低合金结构钢选用 H08A或选用 H08E 焊丝。
(4)气焊熔剂 气焊熔剂是氧—乙炔气焊时的助熔剂。作用是驱除熔池中的高熔点氧化物夹杂,形成熔渣覆盖在熔池表面,使熔池与空气隔离,防止熔池金属的氧化,改善焊接工艺性等。焊接有色金属、铸铁等必须使用气焊熔剂;气焊低碳钢时一般不使用。通常铝气焊熔剂用 CJ401、铸铁气焊熔剂用 CJ201、铜气焊熔剂用 CJ301。
2.气焊火焰
按氧气和乙炔体积混合比的不同,气焊火焰有中性焰、碳化焰和氧化焰,如图3-17所示。
(1)中性焰 中性焰的氧气与乙炔体积混合比(O2/C2H2)为1.1~1.2时,燃烧后的气体中既无过剩氧,也无游离的碳,这种火焰称为中性焰。中性焰离焰心末端2~4mm 处,火焰温度高达3050~3150°C,为火焰中最高,气焊时应采用该处进行焊接。
中性焰由焰心、内焰和外焰组成。
(2)碳化焰 碳化焰的氧气与乙炔体积混合比(O2/C2H2)小于1.1时,火焰燃烧后的气体中有一些乙炔没有完全燃烧,这种火焰称碳化焰。
碳化焰的焰心呈蓝白色,内焰呈淡白色,外焰呈橙黄色,温度约为2700~3000°C。
(3)氧化焰 氧化焰的氧气与乙炔体积混合比(O2/C2H2)大于1.2时,火焰燃烧后的气体中有过剩的氧存在,所以火焰燃烧剧烈。氧化焰呈紫蓝色,最高温度高达3100~3300°C。

图3-17 氧—乙炔气焰的构造和形状
3.气焊工艺参数
(1)焊丝直径 焊丝直径主要根据焊件的厚度来选择。对开坡口的焊件进行多层焊时,第一、二层焊缝可选用较细的焊丝,以后各层可选用较粗的焊丝。如焊件厚度为1.0~2.0mm 时,可选用直径为1.0~2.0mm 的焊丝等。
(2)火焰性质的选择 常用金属材料焊接时气焊火焰的选择,如表3-6所示。
表3-6 火焰性质的选择

(3)焊嘴倾角 焊嘴与焊件的夹角称焊嘴倾角。其大小主要依据焊件的厚度,倾角越大火焰越集中,热量损失越小,焊件受热量大,所以,焊件越厚,选用的倾角应越大。
(4)焊接速度 根据焊工掌握的熟练程度,原则是在保证焊接质量的前提下,尽可能的提高焊接速度,以提高焊接生产率。
(5)火焰能率 气焊火焰能率用每小时乙炔消耗量(L/h)来确定。焊件越厚,金属的熔点越高,导热性越好,火焰能率也应越大,薄板应小一些。此外,为提高生产率,在保证质量的前提下,应尽量选择较大的火焰能率。
(6)左焊法及右焊法的选择 气焊时焊炬由右向左移动称左焊法,相反方向移动为右焊法,如图3-18所示。左焊法的特点是火焰始终指向未焊冷金属,热量散失一部分,对焊接薄件有利,此外,左焊法在焊接中便于观察熔池,所以,除了厚件选用右焊法外,其余均选用左焊法。

图3-18 气焊操作法
(7)焊炬与焊丝的摆动 常见的焊炬与焊丝的摆动方法如图3-19所示。摆动方法应根据焊件厚度、性质、空间位置和焊缝尺寸等选择。

图3-19 气焊摆动方式
3.3.2 气割
1.氧气切割基本原理
氧气切割简称气割,是利用可燃气体与氧气混合燃烧产生的热能,将工件切割处加热到燃烧点,喷出高速气割氧气流,使其剧烈燃烧将工件分开的加工方法。其有四个步骤:
(1)预热 用氧乙炔混合气火焰对切割部位的表面金属预热至燃点以上。
(2)氧化 对已达到燃点的金属喷射切割氧,使金属剧烈地燃烧,形成氧化物渣。
(3)吹渣 用高速的切割氧将氧化物渣吹走,燃烧产生的热量和预热火焰的热量将要切割的金属加热到燃点。
(4)前进 切割氧继续氧化的同时将氧化物渣吹走。
2.金属的切割条件
(1)在氧气中,金属的燃点必须低于熔点,如果金属的熔点小于燃点,则预热金属首先熔化,温度不会再提高。如铝、铜、铸铁材料的燃点高于熔点,气割较困难。
(2)金属氧化物的熔点应低于金属本身的熔点,且流动性好,否则,氧化物渣不会被吹走,使气割发生困难。
(3)金属在氧气切割中燃烧应是放热反应,放出的热量维持切割进行。
(4)金属的导热性能要低。
3.3.3 气焊、气割用工具
1.气焊设备
(1)气焊工作过程及所用设备 气焊所用设备及管路系统,如图3-20所示。

图3-20 气焊设备
(2)焊炬 焊炬又称焊枪,是气焊的主要工具。通过氧气阀和乙炔阀调节可燃气体和氧气混合比均匀混合,点燃产生稳定燃烧的火焰。
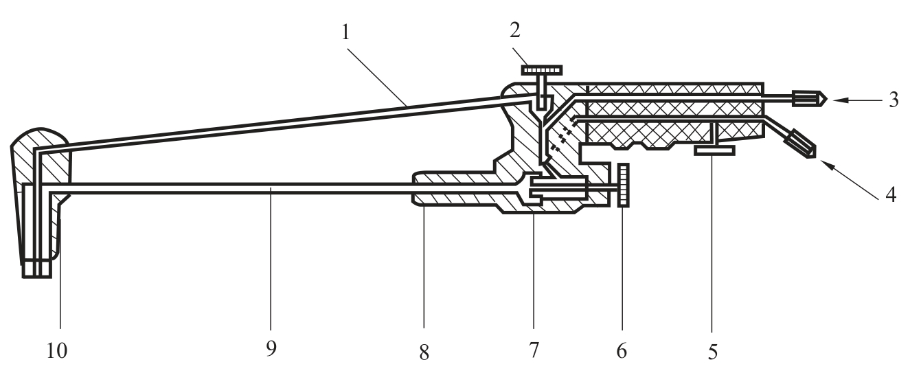
按气体混合方式的不同,焊炬分为射吸式和等压式两种。射吸式焊炬结构,如图3-21所示。

图3-21 射吸式焊炬结构
(3)氧气瓶 氧气瓶是储存和运输氧气的专用高压容器。瓶体外表面涂有天蓝色,并用黑色漆写有“氧气”两字。瓶帽主要用于在运输、搬运、储存中保护瓶阀不被损坏而设置的。氧气瓶的规格,如表3-7所示。
表3-7 氧气瓶的规格

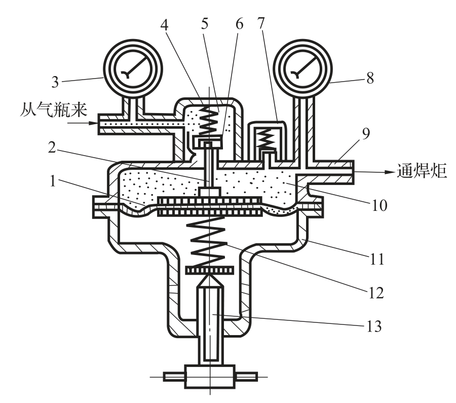
(4)氧气减压器 单级反作用式氧气减压器结构如图3-22所示。

1.弹簧薄膜;2.传动杆;3.高压表;4.副弹簧;5.高压室;6.活门;7.安全阀;8.低压表;9.氧气出口;10.低压室;11.壳体;12.主弹簧;13.调节螺丝
图3-22 单级反作用式减压器结构
1)减压器减压原理 工作时,首先将调节螺丝13顺时针旋入,主弹簧12受压缩产生向上的推力,通过弹性薄膜1、传动杆2、副弹簧4使受压缩活门6被顶开,气瓶中的气体从活门缝隙中进入低压室10。由于低压室的体积大于高压室5,从高压室进入低压室的气体发生膨胀而压力降低。当低压表8显示的压力达到气焊、气割对气体压力的要求时,气焊或气割即可进行工作。
2)减压器稳压原理 工作中,当气瓶中气体的压力增高时(不考虑气体对活门的影响),低压室10的气体压力和副弹簧4压缩产生向下的作用力大于主弹簧12压缩对弹性薄膜1产生向上的作用力,此时,弹性薄膜向下移动,导致活门6开启度减小,甚至关闭,气瓶中进入低压室的气体压力减少,其压力逐渐降低,保证工作压力不变;当气瓶中的气体压力不足,低压室的压力降低,此时,主弹簧压缩对弹性薄膜产生向上的作用力大于低压室的气体压力和副弹簧压缩产生向下的作用力,导致副弹簧压缩活门开启度增大,气瓶中的气体进入低压室数量增多,压力保持原工作压力不变,这种自行调节功能可保证工作压力与气瓶中气体压力大小无关。
(5)乙炔瓶 乙炔气瓶是储存和运输乙炔气的专用容器。瓶体外表面为白色,并用红色标注“乙炔”和“不可近火”字样。乙炔气瓶的规格如表3-8所示。
表3-8 乙炔瓶的规格(GB11638—2003)

2.气割
割炬俗称割枪,是主要用来气割金属的工具。按形成预热火焰原理可分为射吸式和等压式割炬两种。
(1)氧—乙炔用射吸式割炬 氧—乙炔用射吸式割炬的结构,如图3-23所示。
常用的割炬型号 G01—30,其中“G”表示割炬,“0”表示手工,“1”表示射吸式,“30”表示切割低碳钢最大厚度为30mm。

1.切割氧气管通道;2.切割氧气阀;3.氧气进口;4.乙炔进口;5.乙炔阀;6.预热氧气阀;7.喷嘴;8.射吸管;9.混合气管;10.割嘴管
图3-23 射吸式割炬结构
(2)氧气气割的三个过程
1)预热 气割开始时,开启预热氧气阀6和乙炔阀5,利用预热火焰将工件的待切割处预热到该种金属材料的燃烧温度(即燃点)以上(对于碳钢约为1100~1150°C)。
2)燃烧 开启切割氧气阀2,向被加热到金属燃点的部位喷射高纯度、高速的切割氧流,使高温固态金属在氧流中产生激烈的燃烧,并生成铁的氧化物熔渣,同时放出热量。气割中的余热和放出的热量对待切割处产生预热作用,使切割速度加快并达到稳定。
3)吹渣 用高纯高速氧流吹除金属燃烧生成的氧化物,形成切口,使工件分离,完成气割过程。
(3)金属的切割条件
1)在氧气中,金属的燃点必须低于熔点,如果金属的熔点小于燃点,则预热金属首先熔化,温度不会再提高。如铝、铜、铸铁材料的燃点高于熔点,气割较困难。
2)金属氧化物的熔点应低于金属本身的熔点,且流动性好,否则,氧化物渣不会被吹走,使气割发生困难。
金属在氧气切割中燃烧应是放热反应,放出的热量维持切割进行。
3)金属的导热性能要低。
(4)气割工艺参数的选择
1)切割氧气压力 选择压力主要依据切割的板厚,其次是氧气压力和纯度。
2)切割速度 切割速度与割件厚度和使用的割嘴形状有关。割件越厚,气割速度应越慢,否则应越快。如果过慢,割缝边缘熔化,过快易产生后拖量 L,如图3-24所示。

图3-24 割缝边缘熔化和后拖量 L
3)割嘴与割件间的倾斜角 割嘴倾斜角的大小主要根据割件厚度确定,气割厚度为6~30mm 的钢板,割嘴应与割件垂直;割件小于6mm,割嘴应后倾5°~10°;大于30mm,开始前倾5°~10°,割穿后应垂直,快割完时逐渐后倾5°~10°,如图3-25所示。

1.后倾:2.垂直:3.前倾:
图3-25 割嘴的前后倾角
4)割嘴离割件表面的距离 一般3~5mm 时加热条件最好,同时渗碳的可能性也最小。当割件在20mm 左右时,距离可适当大一些;对于厚板距离应小一些。
5)预热火焰能率 预热火焰能率主要依据割件厚度进行选择,板越厚能率越大,否则越小。此外,火焰能率与切割速度有关,当切割薄板时,因割速较快,割嘴离割件稍远一些,所以能率可选大一点,相反,对于厚度较大时,切割速度慢,割嘴离割件近,能率可选小一点。