2.5 板料冲压
2.5.1 概述
板料冲压是利用装在冲床上的冲模对金属板料加压,使之产生变形或分离,从而获得零件或毛坯的加工方法。板料冲压的坯料通常都是较薄的金属板料,而且,冲压时不需加热,故又称为薄板冲压或冷冲压。
1.板料冲压的特点和应用
与锻造和其他加工方法相比,板料冲压具有下列特点:
(1)它是在常温下通过塑性变形对金属板料进行加工的,因而,原材料必须具有足够的塑性,并应有较低的变形抗力。
(2)金属板料经过塑性变形的冷变形强化作用,并获得一定的几何形状,具有结构轻巧、强度和刚度较高的优点。
(3)冲压件尺寸精度高、质量稳定、互换性好。
(4)冲压生产操作简单,生产率高,便于实现机械化和自动化。
(5)冲压模具结构复杂、精度要求高、制造费用高,只有在大批量生产的条件下,采用冲压加工方法在经济上才是合理的。
板料冲压是机械制造中的重要加工方法之一,它在现代工业的许多部门都得到广泛的应用,特别是在汽车制造、拖拉机、电机、电器、仪器仪表、兵器及日用品生产等工业部门中占有重要的地位。
2.冲压设备
板料冲压设备主要是剪床和冲床。剪床用于把板料切成需要宽度的条料,以供冲压工序使用。冲床的种类很多,主要有单柱冲床、双柱冲床、双动冲床等。
2.5.2 板料冲压的基本工序
板料冲压的基本工序有冲裁、弯曲、拉深、成形等。
1.冲裁
冲裁是使板料沿封闭的轮廓线分离的工序,包括冲孔和落料。这两个工序的区别在于冲孔是在板料上冲出孔洞,被分离的部分为废料,而周边是带孔的成品;落料是被分离的部分是成品,周边是废料。
冲裁时板料的变形和分离过程如图2-9所示。凸模和凹模的边缘都带有锋利的刃口。当凸模向下运动压住板料时,板料受到挤压,产生弹性变形并进而产生塑性变形,当上、下刃口附近材料内的应力超过一定限度后,即开始出现裂纹。随着冲头(凸模)继续下压,上、下裂纹逐渐向板料内部扩展直至汇合,板料即被切离。

图2-9 冲裁过程
冲裁后的断面可明显地区分为光亮带、剪裂带、圆角和毛刺四部分。其中光亮带具有最好的尺寸精度和光洁的表面,其他三个区域,尤其是毛刺则降低冲裁件的质量。这四个部分的尺寸比例与材料的性质、板料厚度、模具结构和尺寸、刃口锋利程度等冲裁条件有关。为了提高冲裁质量,简化模具制造,延长模具寿命及节省材料,设计冲裁件及冲裁模具时应考虑:
(1)冲裁件的尺寸和形状 应尽量简化,多采用圆形、矩形等规则形状,以便于使用通用机床加工模具,并减少钳工修配的工作量。线段相交处必须圆弧过渡。冲圆孔时,孔径不得小于板料厚度 δ;冲方孔时,孔的边长不得小于0.9δ;孔与孔之间或孔与板料边缘的距离不得小于 δ。
(2)模具尺寸 冲裁件的尺寸精度依靠模具精度来保证。凸凹模间隙对冲裁件断面质量具有重要影响,合理的间隙值可按表2-1选择。在设计冲孔模具时,应使凸模刃口等于所要求孔的尺寸,凹模刃口尺寸则是孔尺寸加上两倍的间隙值。设计落料模具时,则应使凹模刃口尺寸为成品尺寸,凸模则减去两倍的间隙值。
表2-1 冲裁模的合理间隙值

(3)冲压件的修整 修整工序是利用修整模沿冲裁件的外缘或内孔,切去一薄层金属,以除去塌角、剪裂带和毛刺等,从而提高冲裁件的尺寸精度和降低表面粗糙度。只有当对冲裁件的质量要求较高时,才需要增加修整工序。修整在专用的修整模上进行,模具间隙约为0.006~0.01mm。修整时单边切除量约为0.05~0.2mm,修整后的切面粗糙度 Ra值可达1.25~0.63μm,尺寸精度可达 IT6~IT7。
2.弯曲
弯曲是将平直板料弯成一定角度和圆弧的工序,如图2-10所示。弯曲时,坯料外侧的金属受拉应力作用,发生伸长变形。坯料内侧金属受压应力作用,产生压缩变形。在这两个应力—应变区之间存在一个不产生应力和应变的中性层,其位置在板料的中心部位。当外侧的拉应力超过材料的抗拉强度时,将产生弯裂现象。坯料越厚、内弯曲半径 r 越小,坯料的压缩和拉伸应力越大,越容易弯裂。为防止弯裂,弯曲模的弯曲半径要大于限定的最小弯曲半径 rmin,通常取 rmin=(0.25~1)δ。此外,弯曲时应尽量使弯曲线和坯料纤维方向垂直,不仅能防止弯裂,也有利于提高零件的使用性能。

图2-10 弯曲过程
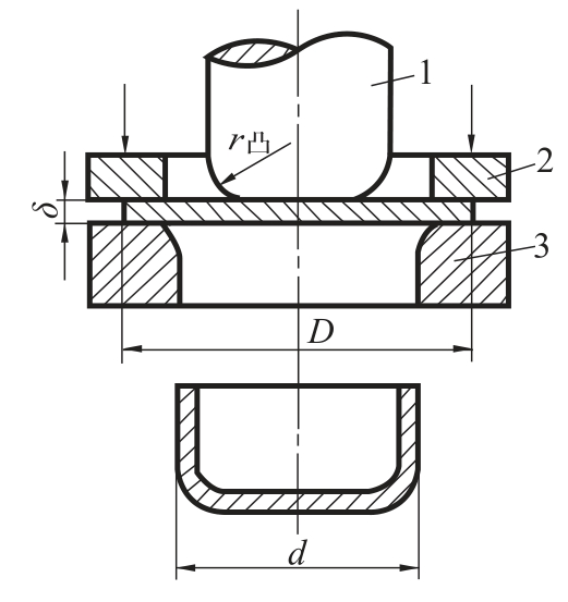
3.拉深
拉深是利用拉深模使平面板料变为开口空心件的冲压工序。拉深可以制成筒形、阶梯形、球形及其他复杂形状的薄壁零件。
拉深过程如图2-11所示。原始直径为 D 的板料,经拉深后变成内径为 d 的杯形零件。凸模压入过程中,伴着坯料变形和厚度的变化。拉深件的底部一般不变形,厚度基本不变。其余环形部分坯料经变形成为空心件的侧壁,厚度有所减小。侧壁与底之间的过渡圆角部位被拉薄最严重。拉深件的法兰部分厚度有所增加。拉深件的成形是金属材料产生塑性流动的结果,坯料直径越大,空心件直径越小,变形程度越大。

图2-11 拉深过程
拉深件最容易产生的缺陷是拉裂和起皱。拉裂产生的最危险的部位是侧壁与底的过渡圆角处。为使拉深过程正常进行,必须把底部和图侧壁的拉应力限制在不使材料发生塑性变形的限度内,而环形区内的径向拉应力则应达到和超过材料的屈服极限,并且,任何部位的应力总和都必须小于材料的强度极限,否则,就会造成如图2-12(a)所示的拉穿缺陷。起皱是拉深时坯料的法兰部分受到切向压应力的作用,使整个法兰产生波浪形的连续弯曲现象。环形变形区内的切向压应力很大,很容易使板料产生如图2-12(b)所示的皱折现象,从而造成废品。

图2-12 拉深废品
4.成形
成形是使板料或半成品改变局部形状的工序,包括压筋、压坑、胀形、翻边等。
(1)压筋和压坑(包括压字,压花) 压筋和压坑是压制出各种形状的凸起和凹陷的工序。采用的模具有刚模和软模两种。图2-13所示是用刚模压坑。与拉深不同,此时只有冲头下的这一小部分金属在拉应力作用下产生塑性变形,其余部分的金属并不发生变形。图2-14所示是用软模压筋,软模是用橡胶等柔性物体代替一半模具。这样可以简化模具制造,冲制形状复杂的零件。但软模块使用寿命低,需经常更换。此外,也可采用气压或液压成形。

图2-13 刚模压坑

图2-14 软模压筋
(2)胀形 胀形是在管坯内部或在板坯一侧通以高压液体﹑气体或放入刚模﹐迫使管﹑板塑性变形﹐以制成工件的冲压成形工艺。由于受到材料塑性变形能力的限制﹐胀形程度不宜过大。胀形可用以制造平板的局部突起﹑凹坑﹑花纹﹐波纹管﹐皮带轮和自行车五通接头等。胀形时作为介质的气体﹑液体的压力随工件材料﹑厚度﹑变形情况而异﹐一般用10~13MPa,也有用高能率成形和超塑成形的。胀形变形均匀﹐只需要一块模具(通常为凹模)﹐可以节省制模费用﹐但辅助工序较多﹐效率不高。
(3)翻边 翻边是在板料或半成品上沿一定的曲线翻起竖立边缘的冲压工序。按变形的性质,翻边可分为伸长翻边和压缩翻边。当翻边在平面上进行时,称平面翻边;当翻边在曲面上进行时,又称曲面翻边。
成形工序使冲压件具有更好的刚度和更加合理的空间形状。