1
数控机床故障诊断与维修
1.4.9.4 任务4 辅助装置故障诊断与维修

项目9 数控机床机械结构故障诊断与维修

知识目标

1.能够掌握数控机床常见机械故障的类型;

2.了解数控机床典型部件的机械结构;

3.了解数控机床的液压传动系统;

4.掌握数控机床机械故障的诊断方法。

技能目标

1.能够对数控机床的常见机械故障进行诊断;

2.能够找到数控机床机械故障的原因,并排除。

任务1 数控机床主轴部件的故障诊断与维修

数控机床加工工件时,时常出现切削振动大、主轴箱噪声大、主轴发热等现象。切削振动过大,直接影响到所加工零件的尺寸精度与表面粗糙度;而主轴箱噪声大会产生噪声污染,影响操作工人的身体健康;主轴发热会使得切削加工区域温度升高,改变刀具与工件的机械性能,降低所加工零件的尺寸精度与表面粗糙度。引起这些故障的原因均是因为主轴部件的安装误差或工作时的损耗造成的。要解决这一类故障,必须熟悉数控机床的主传动系统及主轴部件,找到故障产生的部位。

子任务1 数控铣床开机后主轴不转

◎任务提出

在生产加工中,某台数控铣床开机后主轴不转,不能工作。试分析原因,排除故障。

◎任务目标

1.掌握不同类型数控机床主传动系统的结构特点;

2.掌握不同类型数控机床的主轴部件。

◎相关知识

主传动系统将动力传递给主轴,保证系统具有切削所需要的转矩和速度。由于数控机床具有更高的切削性能要求,因而要求数控机床的主轴部件具有更高的回转精度,更好的结构刚度和抗振性能。

一、数控铣床主传动系统的变速方式

数控铣床主传动系统,是指将主轴电动机的原动力通过该传动系统变成可供切削加工用的切削力矩和切削速度。为了适应各种不同材料的加工及各种不同的加工方法,要求数控铣床的主传动系统要有较宽的转速范围及相应的输出转矩。此外,由于主轴部件直接装夹刀具来对工件进行切削,因而对加工质量(包括加工粗糙度)及刀具寿命有很大的影响,所以对主传动系统的要求是很高的。为了能高效率地加工出高精度、低粗糙度的工件,必须要有一个具有良好性能的主传动系统和一个具有高精度、高刚度、振动小、热变形及噪声均能满足需要的主轴部件。

数控铣床的主传动系统一般采用直流或交流主轴电动机,通过带传动和主轴箱的变速齿轮带动主轴旋转。由于这种电动机调速范围广,又可无级调速,使得主轴箱的结构大为简化。主轴电动机在额定转速时输出全部功率和最大转矩,随着转速的变化功率和转矩将发生变化。在调压范围内(从额定转速调到最低转速)为恒转矩,功率随转速成正比例下降;在调速范围内(从额定转速调到最高转速)为恒功率,转速转矩随转速升高成正比例减小。这种变化规律是符合正常加工要求的,即低速切削所需转矩大,高速切削消耗功率大。同时也可以看出电动机的有效转速范围并不一定能完全满足主轴的工作需要,所以主轴箱一般仍需要设置几挡变速(2~4挡)。机械变挡一般采用液压缸推动滑移齿轮实现,这种方法结构简单,性能可靠,一次变速只需1 s。有些小型的或者调速范围不需太大的数控铣床,也常采用由电动机直接带动主轴或用带传动使主轴旋转。

为了满足主传动系统的高精度、高刚度和低噪声的要求,主轴箱的传动齿轮都要经过高速滑移齿轮(一般都用花键传动),采用内径定心。侧面定心的花键对降低噪声更为有利,因为这种定心方式传动间隙小,接触面大,但加工需要专门的刀具和花键磨床。带传动容易产生振动,在传动带长度不一致的情况下更为严重。因此,在选择传送带时,应尽可能缩短带的长度。如因结构限制,带长度无法缩短时,可增设压紧轮,将带张紧,以减少振动。

数控铣床的主传动系统要求具有较宽的转速范围及相应的输出转矩。由于主轴部件直接装夹刀具对工件进行加工,因此对加工质量及刀具寿命有很大的影响,所以对主传动系统的要求很高。为了满足加工需要,必须要有一个良好性能的主传动系统和一个具有高精度、高刚度、振动小、热变形小及噪声均能满足要求的主轴部件。数控铣床一般采用直流或交流主轴电动机,通过带传动和主轴箱的变速齿轮带动主轴旋转。为了适应不同的加工要求,目前主传动系统大致可分为3种。

1.二级以上变速的主传动系统

图9. 1(a)所示是使用滑移齿轮实现二级变速的主传动系统,滑移齿轮的移位大都采用液压缸和拨叉或直接由液压缸带动齿轮来实现。因数控铣床使用可调无级变速交流、直流电动机,所以经齿轮变速后,实现分段无级变速,调速范围增加。其优点是能够满足各种切削运动的转矩输出,且具有大范围调节速度的能力。但由于结构复杂,需要增加润滑及温度控制装置,成本较高,此外制造和维修也比较困难。图9. 1(a)所示是一种典型的二级齿轮变速主轴结构。这种配置方式大、中型数控机床采用较多。它通过少数几对齿轮降速,使之成为分段无级变速,确保低速时的转矩,以满足主轴输出转矩特性的要求。但有一小部分数控机床也采用这种传动方式,以获得强力切削时所需要的转矩。滑移齿轮的位移大都采用液压拨叉或直接由液压缸带动齿轮来实现。

图9.1 数控铣床主轴传动系统分类

2.一级变速器的主传动系统

如图9. 1(b)所示,其优点是结构简单,安装调试方便,且在一定条件下满足转速与转矩的输出要求。但系统的调速范围与电动机一样,受电动机调速范围的约束。这种传动方式可以避免齿轮传动时引起的振动与噪声,适用于低转矩特性要求的主轴。

这种变速方式主要应用在小型数控机床上,可以避免齿轮传动时引起的振动和噪声,但它只能适用于低转矩特性要求的主轴。同步带传动是一种综合了带、链传动优点的新型传动。带的工作面及带轮外圆上均制成齿形,通过带轮与轮齿相嵌合,作无滑动的啮合传动。带内采用了承载后无弹性伸长的材料作强力层,以保持带的节距不变,使主、从动带轮可作无相对滑动的同步传动,与一般带传动相比,同步传动具有如下优点:无滑动,传动比准确;传动效率高,可达98%以上;传动平稳,噪声小;使用范围较广;速度可达50 m/ s,速比可达10左右,传递功率由几瓦至数千瓦;维修保养方便,不需要润滑。

3.调速电动机直接驱动的主传动系统

如图9. 1(c)所示,其优点是结构紧凑,占用空间少,转换频率高。但是主轴转速的变化及转矩的输出和电动机的输出特性完全一致,因而使用受到限制。

将调速电动机与主轴合成一块(电动机转子轴即为机床主轴),这是近年来新出现的一种结构。这种变速方式大大简化了主轴箱体与主轴的结构,有效地提高了主轴部件的刚度,但主轴输出转矩小,电动机发热对主轴精度影响较大。从直流主轴电动机的速度与转矩关系中可以看出,在低于额定转速时为恒转矩输出,高于额定转矩时为恒功率输出,使用这种电动机可实现纯电气定向,而且主轴的控制功能可以很容易与数控系统相连接并实现修调输入、速度和负载测量输出等。

二、数控铣床主轴部件的支撑

主轴支撑分径向和推力(轴向)支撑。角接触轴承兼起径向和推力支撑的作用。推力支撑应位于前支撑内,因为数控机床的坐标原点常设定在主轴前端。为了减少热膨胀造成的坐标原点位移,应尽量缩短坐标原点至推力支撑之间的距离。主轴上的切削力是通过支撑装置而传递给机床基础件的,主轴部件支撑装置的作用是在刀具或工件作回转运动时承受切削力,同时保证主轴运动精度,为了保证加工精度,必须保证其旋转精度和相应的承载能力,即有足够的轴向和径向刚度。

主轴轴承,主要应根据精度、刚度和转速来选择。为了提高精度和刚度,主轴轴承的间隙应该是可调的。线接触的滚子轴承比点接触的球轴承刚度高,但在一定温升下允许的转速较低。根据数控机床的规格、精度采用不同的主轴轴承。一般中小规格数控机床的主轴部件多采用成组高精度滚动轴承,重型数控机床则采用液体静压轴承,高速主轴常采用氮化硅材料的陶瓷滚动轴承。

数控机床的主轴轴承主要有3种配置形式,如图9. 2所示。

图9.2 数控机床主轴轴承配置形式

图9. 2(a)所示为前后支撑采用不同轴承的配置形式,即前支撑采用双列短圆柱滚子轴承和60°角接触双列向心推力球轴承。这种配置形式能使主轴获得较大的径向和轴向刚度,满足机床强力切削的要求,所以目前各类数控机床的主轴普遍采用这种配置形式。

图9. 2(b)所示为采用高精度双列向心推力球轴承的配置形式,前轴承采用高精度双列向心推力球轴承,后支撑采用单列角接触球轴承。向心推力球轴承高速时性能良好,主轴最高转速可达4 000 r/ min,但是它的承载能力小,因而适用于高速、轻载和精密的数控机床主轴。

图9. 2(c)所示为前后轴承分别采用双列和单列圆锥滚子轴承的配置形式,这种轴承径向和轴向刚度高,能承受重载荷,尤其能承受较大的动载荷,安装和调试性能好,但这种轴承配置形式限制了主轴的最高转速和精度,故适用于中等精度、低速、重载的数控机床主轴。

三、主轴部件的日常保养

主轴部件是数控机床机械部分中的重要组成部件,主要由主轴、轴承、主轴准停装置、自动装夹和切屑清除装置组成。

数控机床主轴部件的润滑、冷却与密封是机床使用和维护过程中值得重视的几个问题:

①良好的润滑效果,可以降低轴承的工作温度和延长使用寿命;为此,在操作使用中要注意:低速时,采用油脂、油液循环润滑;高速时,采用油雾、油气润滑方式。但是,在采用油脂润滑时,主轴轴承的封入量通常为轴承空间容积的10%,切忌随意填满,因为油脂过多,会加剧主轴发热。对于油液循环润滑,在操作使用中要做到每天检查主轴润滑恒温油箱,看油量是否充足,如果油量不够,则应及时添加润滑油;同时要注意检查润滑油温度范围是否合适。

为了保证数控机床主轴有良好的润滑,减少摩擦发热,同时又能把主轴组件的热量带走,通常采用循环式润滑系统,用液压泵强力供油润滑,使用油温控制器控制油箱油液温度。高档数控机床主轴轴承采用了高级油脂封存方式润滑,每加一次油脂可以使用7~10年。新型的润滑冷却方式不单要减少轴承温升,还要减少轴承内外圈的温差,以保证主轴热变形小。

常见主轴润滑方式有两种,油气润滑方式近似于油雾润滑方式,但油雾润滑方式是连续供给油雾,而油气润滑则是定时定量地把油雾送进轴承空隙中,这样既实现了油雾润滑,又避免了油雾太多而污染周围空气。喷注润滑方式是用较大流量的恒温油(每个轴承3~4 L/ min)喷注到主轴轴承,以达到润滑、冷却的目的。这里较大流量喷注的油必须靠排油泵强制排油,而不是自然回流。同时,还要采用专用的大容量高精度恒温油箱,油温变动控制在±0. 5℃。

②主轴部件的冷却主要是以减少轴承发热,有效控制热源为主。

③主轴部件的密封则不仅要防止灰尘、屑末和切削液进入主轴部件,还要防止润滑油的泄漏。主轴部件的密封有接触式和非接触式密封。对于采用油毡圈和耐油橡胶密封圈的接触式密封,要注意检查其老化和破损;对于非接触式密封,为了防止泄漏,重要的是保证回油能够尽快排掉,要保证回流孔的通畅。

◎任务实施

基本任务 数控铣床开机后主轴不转

参考设备说明书,发现该数控铣床采用三相交流变频电动机驱动,由V带传动、调速,主轴由滚动轴承支撑。主轴不转的原因一般有电动机损坏、传动键损坏、V带松动、制动器损坏、轴承损坏等,需对以上部件进行逐一诊断排查。按照传动的先后顺序,从电动机开始进行检查。具体实施过程是:打开机床主轴箱,在断电状态下,检查电动机各项参数正常;检查传动键,发现并没有损坏;拆下传动轴观察轴承,发现轴承缺乏润滑油而损坏,将其拆下更换,用手盘转动主轴正常。故故障原因是支撑主轴的轴承损坏导致主轴不转。

◎任务扩展

故障现象:在生产加工中,某台数控车床开机后主轴不转,不能工作。试分析原因,排除故障。

故障分析:数控车床的主传动系统一般采用交流主轴电动机,通过带传动或主轴箱内2~4级齿轮变速传动主轴。由于这种电动机调速范围宽而且又可无级调速,因此大大地简化了主轴箱结构。主轴电动机在额定转速时可输出全部功率和最大转矩,随着转速的变化,功率和转矩将发生变化;也有的主轴由交流调速电动机通过两级塔轮直接带动,并由电气系统无级调速。由于主传动链中没有齿轮,故噪声很小。

图9. 3所示为CK7815型数控车床的主轴箱展开图。电动机通过带轮1,2和三联V带带动主轴。

传动主轴的带形式主要有同步齿形带、多楔带(即多联V带)。采用同步齿形带传动时,齿形带兼有带传动、齿轮传动及链传动的优点,无相对滑动,无需特别张紧,传动效率高;平均传动比准确,传动精度较高;有良好的减振性能,无噪声,无需润滑,传动平稳;带的强度高、厚度小、质量小、故可用于高速传动。采用多楔带传动时,多楔带综合了V带和平带的优点,是一次成形的,不会因长度不一致而受力不均,承载能力也比多根V带高,最高线速度可达40 m/ min。

图9.3 CK7815型数控车床主轴箱

1、2—带轮;3、7、11—螺母;4—脉冲发生器;5—螺钉;6—支架;8、10—锁紧螺母;9—主轴

故障维修:打开机床主轴箱,在断电状态下,检查电动机运行良好;检查传动键,发现机床主轴与V带带轮间的传动键松动,重新安装好,主轴正常运行,故障排除。

子任务2 加工中心刀具无法夹紧或松开

◎任务提出

加工中心区别于普通数控机床的最显著的特点就是多工序集中加工,主传动系统所具备的自动换刀功能正是实现这一目的的执行机构。在加工中心的加工过程中有时会出现刀具无法夹紧或松开的故障,此时,加工过程被迫中止,影响加工效率。为解决这一类故障的发生,需要掌握主轴准停装置与刀具自动夹紧机构的机械结构及特点,运用故障诊断方法逐级检查,排除故障。

◎任务目标

1.掌握加工中心主轴准停装置的机械特点;

2.掌握加工中心刀具自动夹紧机构;

3.能够判断换刀故障的发生部位。

◎相关知识

一、加工中心的主轴部件

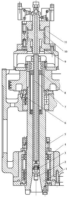
图9. 4为JCS-018A主轴箱结构简图。如图所示,1为主轴,主轴的前支承4配置了3个高精度的角接触球轴承,用以承受径向载荷和轴向载荷,前两个轴承大口朝下,后面1个轴承大口朝上。前支承按预加载荷计算的预紧量由螺母5来调整。后支承6为一对小口相对配置的角接触球轴承,他们只承受径向载荷,因此轴承外圈不需要定位。该主轴选择的轴承类型和配置形式,满足主轴高转速和承受较大轴向载荷的要求。主轴受热变形向后伸长,不影响加工精度。

图9.4 JCS-018A主轴箱结构简图

1—主轴;2—拉钉;3—钢球;4、6—角接触球轴承;5—预紧螺母;7—拉杆;8—碟形弹簧;9—圆柱螺旋弹簧;10—活塞;11—液压缸

二、刀具的自动夹紧机构

加工中心具有更高的加工效率、更宽的使用范围和更高的加工精度,它的主轴系统要满足更高的要求。加工中心主轴系统必须具有更大的调速范围并实现无级变速,而且具有较高的精度与刚度,传动平稳,噪声低,才能满足其加工工艺的需要,获得更高的生产率、加工精度和表面质量。加工中心在工作时,会使主轴产生振动,影响加工精度和表面质量,为此,主轴组件要有较高的固有频率,保持合适的配合间隙并进行循环润滑等,即具有良好的抗振性和热稳定性;为保证加工过程连续实施,加工中心主轴系统与其他主轴系统相比,必须具有自动换刀功能。

如图9. 4所示,主轴内部和后端安装的是刀具自动夹紧机构,主要由拉杆7、拉杆端部的4个钢球3、碟形弹簧8、活塞10、液压缸11等组成。机床执行换刀指令,机械手从主轴拔刀时,主轴需松开道具。这时液压缸上腔通压力油,活塞推动拉杆向下移动,使蝶形弹簧压缩,钢球进入主轴锥孔上端的槽内,刀柄尾部的拉钉2被松开,机械手拔刀。之后,压缩空气进入活塞和拉杆的中孔,吹净主轴锥孔,为装入新刀具做好准备。当机械手将下一把刀具插入主轴后,液压缸上腔无油压,在蝶形弹簧和弹簧9的恢复力作用下,使拉杆、钢球和活塞退回到图示的位置,即蝶形弹簧通过拉杆和钢球拉紧刀柄尾部的拉钉,使刀具被夹紧。

主轴前端钢球与拉钉的结构关系如图9. 5所示。

图9.5 加工中心主轴与刀柄连接图

图9.6 机械式主轴准停装置

1—无触点开关;2—感应块;3—凸轮定位盘;4—定位液压缸;5—定向滚轮;6—定位活塞

三、加工中心主轴准停装置

机床的切削转矩由主轴上的端面键来传递,每次机械手自动装取刀具时,必须保证刀柄上的键槽对准主轴的端面键,这就要求主轴具有准确定位的功能。为满足主轴这一功能而设计的装置称为主轴准停装置或称为主轴定向装置。主轴准停的另一原因是便于在镗完内孔后能正确地退刀。主轴准停装置分机械式和电气式两种。

图9. 6所示机械准停装置的工作原理如下:准停前主轴必须是处于停止状态,当接收到主轴准停指令后,主轴电动机以低速转动,主轴箱内齿轮换挡使主轴以低速旋转,时间继电器开始动作,并延时4至6 s,保证主轴转稳后接通无触点开关1的电源,当主轴转到图示位置即凸轮定位盘3上的感应块2与无触点开关1相接触后发出信号,使主轴电动机停转。另一延时继电器延时0. 2至0. 4 s后,压力油进入定位液压缸下腔,使定向活塞向左移动,当定向活塞上的定向滚轮5顶入凸轮定位盘的凹槽内时,行程开关LS2发出信号,主轴准停完成。若延时继电器延时1 s后行程开关LS2仍不发信号,说明准停没完成,需使定向活塞6后退,重新准停。当活塞杆向右移到位时,行程开关LSl发出滚轮5退出凸轮定位盘凹槽的信号,此时主轴可启动工作。

图9.7 电气式主轴准停装置

1—主轴;2—同步感应器;3—主轴电动机;4—永久磁铁;5—磁传感器

机械准停装置比较准确可靠,但结构较复杂。现代的数控铣床一般都采用电气式主轴准停装置,只要数控系统发出指令信号主轴就可以准确地定向。如常用磁力传感器检测定向的电气式主轴准停装置,其工作原理如图9. 7所示,在主轴上安装有一个永久磁铁4与主轴一起旋转,在距离永久磁铁4旋转轨迹外1至2 mm处固定有一个磁传感器5,当铣床主轴需要停车换刀时,数控装置发出主轴停转的指令,主轴电动机3立即降速,使主轴以很低的转速回转,当永久磁铁4对准磁传感器5时,磁传感器发出准停信号,此信号经放大后,由定向电路使电动机准确地停止在规定的周向位置上。这种准停装置机械结构简单,发磁体与磁感传感器间没有接触摩擦,准停的定位精度可达±1°,能满足一般换刀要求。而且定向时间短,可靠性较高。

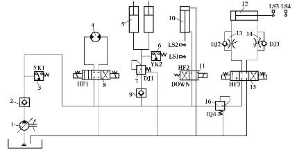
四、加工中心自动换刀装置的液压传动系统

液压系统传动功率大、效率高、运行安全可靠,一般在要求力或力矩较大的情况下采用液压传动。在加工中心上主要实现链式刀库的刀链驱动、上下移动的主轴箱的配重、刀具的安装和主轴高低速的转换等辅助动作的完成。图9. 8为VP1050加工中心的液压系统工作原理图。整个液压系统采用变量叶片泵为系统提供压力油,并在泵后设置止回阀2用于减小系统断电或其他故障造成的液压泵压力突然降低而对系统的影响,避免机械部件的冲击损坏。压力开关TK1用以检测液压系统的状态,如压力达到预定值,则发出液压系统压力正常的信号,该信号作为CNC系统开启后PLC高级报警程序自检的首要检测对象。如YK1无信号,PLC自检发出报警信号,整个数控系统的动作将全部停止。

图9.8 VP1050加工中心的液压系统工作原理图

LS1、LS2、LS3、LS4—行程开关;1—液压泵;2、9—止回阀;3、6—压力开关;4—液压马达;5—配重液压缸;7、16—减压阀;8、11、15—换向阀;10—松刀缸;12—变速液压缸;13、14—单向节流阀

VP1050加工中心的液压系统包括刀链驱动支路、主轴箱配重支路、松刀缸支路及高低速转换支路。

1.刀链驱动支路

VP1050加工中心配备24刀位的链式刀库,为节省换刀时间,选刀采用就近原则。在换刀时,由双向液压马达4拖动刀链使所选刀位移动到机械手抓刀位置。液压马达的转向控制由双电控三位电磁阀HF1完成,具体转向由CNC进行运算后,发信号给PLC控制HF1,用HF1不同的得电方式对液压马达4进行不同转向的控制。刀链不需驱动时,HF1失电,处于中位截止状态,液压马达4停止。刀链到位信号由感应开关发出。

2.主轴箱配重支路

VP1050加工中心Z轴进给是由主轴箱做上下移动实现的,为消除主轴箱自重对Z轴伺服电动机驱动Z向移动的精度和控制的影响,机床采用两个液压缸进行配重。主轴箱向上移动时,高压油通过止回阀9和直动型减压阀7向配重缸下腔供油,产生向上的配重力;当主轴箱向下移动时,液压缸下腔高压油通过减压阀7进行适当减压。压力开关YK2用于检测配重支路的工作状态。

3.松刀缸支路

VP1050加工中心采用BT40型刀柄使刀具与主轴连接。为了能够可靠地夹紧与快速地更换刀具,采用蝶形弹簧拉紧机构使刀柄与主轴连接为一体,采用液压缸使刀柄与主轴脱开。机床在不换刀时,单电控两位四通电磁换向阀HF2失电,控制高压油进入松刀缸10下腔,松刀缸10的活塞始终处于上位状态,感应开关LS2检测松刀缸上位信号;当主轴需要换刀时,通过手动或自动操作使单电控两位四通电磁阀HF2得电换位,松刀缸10上腔通入高压油,活塞下移,使主轴抓刀爪松开刀柄拉钉,刀柄脱离主轴,松刀缸运动到位后感应开关LS1发出到位信号并提供给PLC使用,协调刀库、机械手等其他机构完成换刀操作。

4.高低速转换支路

VP1050主轴传动链中,通过一级双联滑移齿轮进行高低速转换。在由高速向低速转换时,主轴电动机接收到数控系统的调速信号后,减低电动机的转速到额定值,然后进行齿轮滑移,完成高低速的转换。在液压系统中该支路采用双电控三位四通电磁阀HF3控制液压油的流向,变速液压缸12通过推动拨叉控制主轴变速箱交换齿轮的位置,来实现主轴高低速的自动转换。高速、低速齿轮位置信号分别由感应开关LS3、LS4向PLC发送。

当机床停机或控制系统有故障时,液压系统通过双电控三位四通电磁阀HF3使变速齿轮处于原工作位置,避免高速运转的主轴传动系统产生硬件冲击损坏。单向节流阀DJ2、DJ3用以控制液压缸的速度,避免齿轮换位时的冲击振动。减压阀16用于调节变速液压缸12的工作压力。

◎任务实施

基本任务 加工中心刀具无法夹紧或松开

刀具无法夹紧或松开,是指刀具夹不紧掉刀或刀具夹紧后松不开,分析故障原因,刀具夹不紧掉刀的原因可能有:蝶形弹簧位移量较小,刀具松夹弹簧上的螺母松动,刀具超重等。刀具夹紧后松不开的原因可能有:松刀弹簧压合过紧,液压缸压力和行程不够,液压系统电磁阀失灵等。

1.刀具夹不紧掉刀

打开机床主轴箱,检查刀具松夹弹簧上的螺母是否松动,若松动,顺时针旋转松夹弹簧上的螺母,使其最大作用载荷达到要求。若没有松动,可检查是否为蝶形弹簧位移量小,调整蝶形弹簧行程长度进行检测。

2.刀具夹紧后松不开

打开机床主轴箱,检查是否为刀具松夹弹簧上的螺母压合过紧,可逆时针旋转松夹弹簧上的螺母,试运行机床,观察故障是否排除。再检查液压缸压力是否达到机床说明书规定的要求,若压力达标,可调整液压缸活塞行程开关位置进行故障检测。

◎任务扩展

故障现象:机床主轴调速上采用的是齿轮分挡加电动机无级调速,正常调速范围是低速挡50~80 r/ min,高速挡800~4 000 r/ min。在机床运行过程中遇到了低速挡不能向高速挡转换的故障。当输入换挡指令后,出现KA1,KA3继电器一直振荡的现象,对应液压系统中的变速液压缸无向上推动变速齿轮的动作,并且一直保持在此动作的重复执行中。

故障分析:根据液压系统图对应的线路进行分析:如图9. 9所示,在正常使用中,当KA1,KA2,KA3均不得电时,液压系统经过KA1液压阀左侧向润滑分油器供油。当要求换刀时,需要KA1,KA2同时得电,油路经过KA1右侧、KA2右侧,向拉刀机构上方供油,实现换刀过程。当要求高速向低速转换时,仅仅需要KA1得电,油路经过KA1右侧、KA3左侧,将变速液压缸从上往下作用,实现换挡过程。当要求低速向高速转换时,需要KA1,KA3同时得电,油路经过KA1右侧、KA3右侧,将变速液压缸从下往上作用,实现换挡过程。

图9.9 数控机床高低速转换回路

最初分析认为,可能是系统的PLC程序出现了故障。于是将系统PLC程序调出进行分析,发现程序完全正确。分析PLC要求KA1,KA3振荡是为了保证变速齿轮啮合过程的安全。如果齿轮没有对插到正确位置,KA1,KA3长时间得电,将导致两变速齿轮齿侧相互挤压,损坏机床,KA1,KA3振荡的目的就是为了(配合低速振荡的主轴)保证变速齿轮对插啮合的顺利进行。

经过分析并讨论:由于机床使用时间较长,液压系统的响应时间变大,在原先设定的振荡时间内未能产生足够的压力推动换挡齿轮变速。即在原先设定的振荡时间0. 2 s(PLC程序内查得)内,KA1,KA3液压阀得电,但变速液压缸内未能产生足够压力推动变速齿轮动作,振荡时间到达后,系统要求KA1,KA3液压阀失电,进行保护,液压缸卸压,导致换挡失败,系统检测换挡未完成,要求重复以上动作,进入死循环(复位、急停键均不起作用,需要断电重新启动系统)。

故障维修:经多次调试(分别取0. 25 s,0. 3 s,0. 4 s,0. 5 s,0. 6 s,…),发现将原先的振荡时间0. 2 s更改为0. 4 s较合适,重新执行换挡指令后,换刀动作恢复正常。

任务2 数控机床进给传动部件的故障诊断与维修

机械加工的最终目的是要得到形状与图纸规定相一致,尺寸和表面质量在图纸规定范围内的一批合格零件。如果零件尺寸超差或者尺寸不稳定,将造成废品率增加,成本升高,给企业带来经济损失。所以在加工过程中,需要保证机床可以持续稳定地加工出合格的零件。影响加工零件尺寸的因素有很多,除了工艺参数方面的影响外,机床的磨损与故障也可能造成加工零件尺寸不稳定。

◎任务提出

用数控机床加工零件的过程中发现时有尺寸超差零件,排除了工艺参数的原因后,对机床进行检测,找出故障点,排除故障。

◎任务目标

1.掌握滚珠丝杠螺母副的工作原理与结构特点;

2.掌握主轴轴承的配置形式;

3.认识数控机床的导轨副。

◎相关知识

一、数控机床进给传动系统

进给传动系统将实现工作台的直线或旋转运动的进给和定位,保证系统的运行精度和质量。因此,要求数控机床的进给传动系统具有更高的传动精度、系统的稳定性和快速响应的能力,既要能尽快地根据控制指令要求,稳定地达到需要的加工速度和位置精度,并尽量小地出现振荡和超调现象。为确保传动系统达到这样的要求,对驱动装置机械结构总的要求是消除间隙、减少摩擦、减少运动惯量、提高部件精度和刚度。通常采用低摩擦的传动副,如滚珠丝杠、减摩滑动导轨、滚动导轨及静压导轨等。

1.进给传动系统的机械结构

(1)进给传动系统的结构简图

数控铣床的进给传动系统如图9. 10所示,由伺服电机驱动,经齿轮传动带动滚珠丝杠转动,实现工作台的进给运动。

图9.10 数控机床进给传动系统

1—伺服电动机;2—联轴器;3—螺母;4、6—轴承;5—丝杠

(2)对进给传动系统的要求

1)调速范围要宽

在各种数控机床中,由于加工用刀具、被加工材料、主轴转速以及零件加工工艺要求的不同,为保证在任何情况下都能得到最佳切削条件,就要求进给驱动系统必须具有足够宽的无级调速范围(通常大于1∶10 000)。尤其在低速(如<0. 1 r/ min)时,要仍能平滑运动而无爬行现象。

脉冲当量为1 μm/ P情况下,最先进的数控机床的进给速度从0~240 m/ min连续可调。但对于一般的数控机床,要求进给驱动系统在0~24 m/ min进给速度下工作就足够了。

2)定位精度要高

使用数控机床主要是为了保证加工质量的稳定性、一致性,减少废品率;解决复杂曲面零件的加工问题;解决复杂零件的加工精度问题,缩短制造周期等。数控机床是按预定的程序自动进行加工的,避免了操作者的人为误差,但是,它不可能应付事先没有预料到的情况。就是说,数控机床不能像普通机床那样,可随时用手动操作来调整和补偿各种因素对加工精度的影响。因此,要求进给驱动系统具有较好的静态特性和较高的刚度,从而达到较高的定位精度,以保证机床具有较小的定位误差与重复定位误差(目前进给伺服系统的分辨率可达1 μm或0. 1 μm,甚至0. 01 μm);同时进给驱动系统还要具有较好的动态性能,以保证机床具有较高的轮廓跟随精度。

3)快速响应,无超调

为了提高生产率和保证加工质量,除了要求有较高的定位精度外,还要求有良好的快速响应特性,即要求跟踪指令信号的响应要快。一方面,在启、制动时,要求加、减加速度足够大,以缩短进给系统的过渡过程时间,减小轮廓过渡误差。一般电动机的速度从零变到最高转速,或从最高转速降至零的时间在200 ms以内,甚至小于几十ms,这就要求进给系统要快速响应,但又不能超调,否则将形成过切,影响加工质量;另一方面,当负载突变时,要求速度的恢复时间也要短,且不能有振荡,这样才能得到光滑的加工表面。

4)低速大转矩,过载能力强

数控机床要求进给驱动系统有非常宽的调速范围,例如在加工曲线和曲面时,拐角位置某轴的速度会逐渐降至零。这就要求进给驱动系统在低速时保持恒力矩输出,无爬行现象,并且具有长时间内较强的过载能力和频繁的启动、反转、制动能力。一般,伺服驱动器具有数分钟甚至半小时内1. 5倍以上的过载能力,在短时间内可以过载4~6倍而不损坏。

5)可靠性高

数控机床,特别是自动生产线上的设备要求具有长时间连续稳定工作的能力,同时数控机床的维护、维修也较复杂,因此,要求数控机床的进给驱动系统可靠性高、工作稳定性好,具有较强的温度、湿度、振动等环境适应能力,具有很强的抗干扰的能力。

2.滚珠丝杠螺母副

(1)工作原理及特点

图9.11 滚珠丝杠螺母副的工作原理

1—丝杠;2—滚道;3—螺母;4—滚珠

滚珠丝杠螺母副是回转运动与直线运动相互转换的传动装置,在数控铣床上得到了广泛的应用。滚珠丝杠副是由丝杠,螺母,滚珠组成的机械元件。其作用是将旋转运动转变为直线运动,或逆向由直线运动变为旋转运动。丝杠、螺母之间用滚珠做滚动体。由于在丝杠和螺母之间放入了滚珠,使丝杠与螺母间变为滚动摩擦,因而大大地减小了摩擦阻力,提高了传动效率。图9. 11为滚珠丝杠螺母副的工作原理示意图。丝杠和螺母上均制有圆弧形面的螺旋槽,将它们装在一起便形成了螺旋滚道,滚珠在其间既自转又循环滚动。

滚珠丝杠螺母副的优点:

①传动效率高,摩擦损失小。滚珠丝杠螺母副的传动效率η=0. 92~0. 96,可实现高速运动。

②运动平稳无爬行。由于摩擦阻力小,动、静摩擦系数之差极小,故运动平稳,不易出现爬行现象。

③传动精度高,反向时无空程。滚珠丝杠副经预紧后,可消除轴向间隙。

④磨损小,精度保持性好,使用寿命长。

⑤具有运动的可逆性。可以将旋转运动转换成直线运动,也可将直线运动转换成旋转运动,即丝杠和螺母均可作主动件或从动件。

滚珠丝杠螺母副的缺点:

由于结构复杂,丝杠和螺母等元件的加工精度和表面质量要求高,故制造成本高。由于不能自锁,特别是垂直安装的滚珠丝杠传动,会因部件的自重而自动下降。当部件向下运动且切断动力源时,由于部件的自重和惯性,不能立即停止运动,因此必须增加制动装置。

(2)滚珠的循环方式

1)外循环

滚珠在循环过程结束后通过螺母外表面上的螺旋槽或插管返回丝杠螺母间重新进入循环,如图9. 12所示。图示为常见的外循环结构形式。在螺母外圆上装有螺旋形的插管口,其两端插入滚珠螺母工作始末两端孔中,以引导滚珠通过插管,形成滚珠的多圈循环链。结构简单,工艺性好,承载能力较高,但径向尺寸较大。应用最广,也可用于重载传动系统。

2)内循环

靠螺母上安装的反向器接通相邻滚道,使滚珠成单圈循环,如图9. 13所示。反向器2的数目与滚珠圈数相等。结构紧凑,刚度好,滚珠流通性好,摩擦损失小,但制造较困难。适用于高灵敏、高精度的进给系统,不宜用于重载传动中。

图9.12 外循环滚珠丝杠

图9.13 内循环滚珠丝杠

1—丝杠;2—反向器;3—滚珠;4—螺母

(3)滚珠丝杠螺母副轴向间隙的调整

为了保证滚珠丝杠反向传动精度和轴向刚度,必须消除滚珠丝杠螺母副轴向间隙。消除间隙的方法常采用双螺母结构,利用两个螺母的相对轴向位移,使每个螺母中的滚珠分别接触丝杠滚道的左右两侧。用这种方法预紧消除轴向间隙时,预紧力一般应为最大轴向负载的1/3。当要求不太高时,预紧力可小于此值。常用的双螺母丝杠消除间隙方法有:垫片调整式、螺纹调隙式、齿差调隙式和单螺母变位螺距预加负荷的方式。

(4)滚珠丝杠副的安装支撑方式

数控铣床的进给系统要获得较高的传动精度,除了加强滚珠丝杠副本身的刚度外,滚珠丝杠的正确安装及支撑结构的刚度也是不可忽视的因素。为减少受力后的变形,螺母座应有加强肋,增大螺母座与铣床的接触面积,并且要连接可靠。采用高刚度的推力轴承以提高滚珠丝杠的轴向承载能力。

滚珠丝杠的支撑方式有4种,如图9. 14所示。

图9.14 滚珠丝杠在铣床上的支撑方式

图9. 14(a)为仅一端装推力轴承。这种安装方式只适用于行程小的短丝杠,它的承载能力小,轴向刚度低,一般用于数控铣床的调节环节或升降台式铣床的垂直坐标进给传动结构。

图9. 14(b)为一端装推力轴承,另一端装向心球轴承。此种方式用于丝杠较长的情况,当然变形造成丝杠伸长时,其一端固定,另一端能做微量的轴向浮动。为减少丝杠热变形的影响,安装时应使电动机热源和丝杠工作时的常用端远离止推端。

图9. 14(c)为两端装推力轴承。把推力轴承装在滚珠丝杠的两端,并施加预紧力,可以提高轴向刚度,但这种安装方式对丝杠的热变形较为敏感。

图9. 14(d)为两端装推力轴承及深沟球轴承。它的两端均采用双重支撑并施加预紧,使丝杠具有较大的刚度,这种方式还可使丝杠的温度变形转化为推力轴承的预紧力,但设计时要求提高推力轴承的承载能力和支架刚度。

3.导轨副

导轨副是数控机床的重要部件之一,它的作用是为了导向和支承,也即支承运动部件并保证其能在外力的作用下准确地沿着规定的方向运动,在很大程度上决定数控机床的刚度、精度和精度保持性。导轨的精度以及它的性能直接影响机床的加工精度和承载能力。因此,数控机床导轨必须具有较高的导向精度、高耐磨性和良好的精度保持性,机床在高速进给时不振动、低速进给时不爬行等特性。此外,导轨还要结构简单,工艺性好,便于加工、装配、调整和维修。目前数控机床使用的导轨主要有3种:塑料滑动导轨、滚动导轨和静压导轨。

(1)塑料滑动导轨

目前,数控机床所使用的滑动导轨材料为铸铁对塑料或镶钢对塑料滑动导轨。导轨塑料常用聚四氟乙烯导轨软带和环氧型耐磨导轨涂层两类。

1)聚四氟乙烯导轨软带的特点

①摩擦特性好:金属—聚四氟乙烯导轨软带的动静摩擦因数基本不变。

②耐磨特性好:聚四氟乙烯导轨软带材料中含有青铜、二硫化铜和石墨,因此其本身即具有自润滑作用,对润滑油的要求不高。此外,塑料质地较软,即使嵌入金属碎屑、灰尘等,也不致损伤金属导轨面和软带本身,可延长导轨副的使用寿命。

③减振性好:塑料的阻尼性能好,其减振效果、消声的性能较好,有利于提高运动速度。

④工艺性好:可降低对粘贴塑料的金属基体的硬度和表面质量要求,而且塑料易于加工(铣、刨、磨、刮),使导轨副接触面获得优良的表面质量。聚四氟乙烯导轨软带被广泛用于中小型数控机床的运动导轨中。

2)环氧型耐磨涂层

环氧型耐磨涂层是以环氧树脂和二硫化钼为基体,加入增塑剂,混合成液状或膏状为一组份和固化剂为另一组分的双组分塑料涂层。德国生产的SKC3和我国生产的HNT环氧型耐磨涂层都具有以下特点:

①良好的加工性:可经车、铣、刨、钻、磨削和刮削。

②良好的摩擦性。

③耐磨性好。

④使用工艺简单。

(2)滚动导轨

滚动导轨作为滚动摩擦副的一类,具有以下特点:

①摩擦因数小(0. 003~0. 005),运动灵活。

②动、静摩擦因数基本相同,因而启动阻力小,而不易产生爬行。

③可以预紧,刚度高。

④寿命长。

⑤精度高。

⑥润滑方便,可以采用脂润滑,一次填装,长期使用。

⑦由专业厂生产,可以外购选用。

因此滚动导轨副被广泛应用于精密机床、数控机床、测量机和测量仪器上。滚动导轨副的主要缺点是抗冲击载荷的能力较差,且滚动导轨副对灰尘屑末等较敏感,应有良好的防护罩。

直线滚动导轨主要由导轨体、滑块、滚柱或滚珠、保持器、端盖等组成。

当滑块与导轨体相对移动时,滚动体在导轨体和滑块之间的圆弧直槽内滚动,并通过端盖内的滚道,从工作负荷区到非工作负荷区,然后再滚动回工作负荷区,不断循环,从而把导轨体和滑块之间的移动变成滚动体的滚动。为防止灰尘和脏物进入导轨滚道,滑块两端及下部均装有塑料密封垫,滑块上还有润滑油杯。最近新出现的一种在滑块两端装有自动润滑的滚动导轨,使用时无须再配润滑装置。

(3)液体静压导轨

液体静压导轨是将具有一定压力的油液经节流器输送到导轨面的油腔,形成承载油膜,将相互接触的金属表面隔开,实现液体摩擦。这种导轨的摩擦因数小(约0. 000 5),机械效率高;由于导轨面间有一层油膜,吸振性好;导轨面不相互接触,不会磨损,寿命长,而且在低速下运行也不易产生爬行。但静压导轨结构复杂,制造成本较高。静压导轨按导轨形式可分为开式和闭式两种;按供油方式分为恒压(即定压)供油和恒流(即定量)供油两种。

4.直线电机

(1)线性直接驱动的概念

线性直接驱动技术是采用沿直线导轨移动的直线电动机直接驱动固定或可直接变长度的杆件。线性直接驱动与旋转电动机(滚珠丝杠)驱动的很本区别在于:直线电动机所产生的力直接作用于移动部件,中间没有通过任何有柔度的机械传动环节,诸如滚珠丝杠和螺母、齿形带以及联轴器等。因此,可以减少传动系统的惯性矩,提高系统的运动速度、加速度和精度,避免振动的产生。与此同时,由于动态性能好,可以获得较高的运动精度。如果采用拼装的次级部件,还可以实现很长的直线运动距离。此外,运动功率的传递是非接触的,因此没有机械磨损。

但是,直线电动机最根本的缺点是发热较多、效率低下。因此,直线电动机通常必须采用循环强制冷却以及隔热措施,才不会导致机床热变形。

(2)直线电动机的原理和性能

直线电动机的供电方式可以是直流或交流的、同步的或异步的,工作原理不完全相同。交流感应异步原理是直线电动机的基本形式。它的工作原理是将旋转感应异步电动机转子和定子之间的电磁作用力从圆周展开为平面。如图9. 15所示,对应于旋转电动机的定子部分,称之为直线电动机的初级;对应于旋转电动机的转子部分,称之为直线电动机的次级。当多项交变电流通入多相对称绕组时,就会在直线电动机初级和次级之间的气隙中产生一个行波磁场,从而使初级和次级之间产生相对移动。当然,二者之间也存在一个垂直力,可以是吸引力,也可以是推斥力。

图9.15 直线电动机的工作原理

图9.16 西门子1FN1系列直线电动机的外观

(3)直线电动机的冷却

直线电动机的功率损失主要产生在初级绕组。由于电流密度大,温升可能高达120℃,必须采用循环水冷却。次级的涡流损失取决于电流频率(运动速度)相对较小。例如,1FN1 246系列直线电动机在正常运转时,初级功率损失(PV1)约为5 400 W,而次级功率损失(PV2)仅为50 W左右。因此,初级绕组的冷却系统是主冷却回路(内冷却回路)。在要求较高时,可以选用附加的精密冷却回路(外冷却回路)。1FN1系列直线电动机的冷却回路和隔热措施如图9. 17所示。

图9.17 1FN1直线电动机的散热机理

从图可见,主冷却回路是装在初级部件里面的,也称为内冷却回路,它能够带走功率损失PV190%的热量,保护初级绕组不至于过热。直线电动机的持续驱动力FN与温升有关,当没有冷却或水箱温度高于35℃时,直线电动机的持续驱动力FN将明显下降。

在初级部件上面安装有板状铝散热器,其中间安放外冷却回路(精密冷却回路)。铝板两侧也安装有散热板,以增加散热面积。在散热器与初级部件之间还有一层隔热材料。次级部件与机床部件之间也有一层隔热材料和空气层,还可以安装V2A材料的附加冷却管道。

二、数控机床的床身

数控机床基础件包括床身、立柱、横梁、工作台、刀架等结构件,构成了机床的基本框架,而数控机床的其他部件均附着在基础件上。由于基础件起着支撑和导向的作用,因而对基础件的基本要求是有好的刚性及较大的阻尼特性。

1.对床身的基本要求

数控机床的床身是整个机床的基础支承件,一般用来放置导轨、主轴箱等重要部件。为了满足数控机床高速度、高精度、高生产率、高可靠性和高自动化程度的要求,与普通机床相比,数控机床应有更高的静、动刚度,更好的抗振性。对数控机床床身主要在以下3个方面提出了更高的要求:

(1)很高的精度和精度保持性

在床身上有很多安装零部件的加工面和运动部件的导轨面,这些面本身的精度和相互位置精度要求都很高,而且要能长时间保持。

(2)应具有足够的静、动刚度

静刚度包括:床身的自身结构刚度、局部刚度和接触刚度,都应该采取相应的措施,最后达到有较高的刚度—质量比。动刚度直接反映机床的动态特性,为了保证机床在交变载荷作用下具有较高的抵抗变形的能力和抵抗受迫振动及自激振动的能力,可以通过适当增加阻尼、提高固有频率等措施避免共振及因薄壁振动而产生的噪声。

(3)较好的热稳定性

对数控机床来说,热稳定性已成了一个突出问题,必须在设计上做到使整机的热变形较小,或使热变形对加工精度的影响较小。

2.床身的结构

(1)床身结构

根据数控机床的类型不同,床身的结构形式有各种各样的形式。例如,数控车床床身的结构形式有平床身、斜床身、平床身斜导轨和直立床身等4种类型。另外,斜床身结构还能设计成封闭式断面,这样大大提高了床身的刚度。数控铣床、加工中心等这一类数控机床的床身结构与数控车床有所不同,加工中心的床身有固定立柱式和移动立柱式两种。前者一般适用于中小型立式和卧式加工中心,而后者又分为整体T形床身和前后床身分开组装的T形床身。所谓T形床身是指床身是由横置的前床身(亦叫横床身)和与它垂直的后床身(亦叫纵床身)组成。整体式床身,刚性和精度保持性都比较好,但是却给铸造和加工带来很大不便,尤其是大中型机床的整体床身,制造时需有大型设备。而分离式T形床身,铸造工艺性和加工工艺性都大大改善。前后床身连接处要刮研,连接时用定位键和专用定位销定位,然后沿截面四周用大螺栓固紧。这样连接的床身,在刚度和精度保持性方面,基本能满足使用要求。这种分离式T形床身适用于大中型卧式加工中心。

由于床身导轨的跨距比较窄,致使工作台在横溜板上移动到达行程的两端时容易出现翘曲,这将影响加工精度。为了避免工作台翘曲,有些立式加工中心增设了辅助导轨。

(2)床身的截面形状

数控机床的床身通常为箱体结构,合理设计床身的截面形状及尺寸,采用合理布置的肋板结构可以在较小质量下获得较高的静刚度和适当的固有频率。床身中常用的几种截面肋板布置有V形肋、对角肋和斜方肋。

床身肋板通常是根据床身结构和载荷分布情况进行设计的,满足床身刚度和抗振性要求,V形肋有利于加强导轨支承部分的刚度,斜方肋和对角肋结构可明显增强床身的扭转刚度,并且便于设计成全封闭的箱形结构。

此外,还有纵向肋板和横向肋板,分别对抗弯刚度和抗扭刚度有显著效果;米字形肋板和井字形肋板的抗弯刚度也较高,尤其是米字形肋板更高。

(3)钢板焊接结构

随着焊接技术的发展和焊接质量的提高,焊接结构的床身在数控机床中应用越来越多。而轧钢技术的发展,提供了多种形式的型钢,焊接结构床身的突出优点是制造周期短,一般比铸铁结构的快1. 7~3. 5倍,省去了制作木模和铸造工序,不易出废品。焊接结构设计灵活,便于产品更新、改进结构。焊接件能达到与铸件相同,甚至更好的结构特性,可提高抗弯截面惯性矩,减小质量。

采用钢板焊接结构能够按刚度要求布置肋板的形式,充分发挥壁板,和肋板的承载和抗变形作用。另外,焊接床身采用钢板,其弹性模量E = 2×105MPa,而铸铁的弹性模量E = 1. 2×105MPa,两者几乎相差一倍。因此,采用钢板焊接结构床身有利于提高固有频率。

3.床身的刚度

根据床身所受载荷性质的不同,床身刚度分为静刚度和动刚度。床身的静刚度直接影响机床的加工精度及其生产率。静刚度和固有频率,是影响动刚度的重要因素。合理设计床身的肋板结构,可提高床身的刚度。

◎任务实施

基本任务 加工零件尺寸不稳定

由机床自身造成加工零件尺寸超差,可能是因为主传动系统中的齿轮或轴承损坏造成的机床主轴摆动、进给传动系统中滚珠丝杠螺母副的运行精度不良、支撑滚珠丝杠螺母副的轴承损坏产生的运动不平稳、机床导轨表面损伤造成直线度超差等原因。

先查看发生故障的机床,了解故障现象。再检测不合格的零件,分析尺寸超差是发生在工件的X向、Y向、还是Z向,确定故障发生部位。分析零件尺寸,确认超差尺寸是否具有规律性。

经检查分析,出故障的机床尺寸偏差发生在工件Y轴方向,超差尺寸不具有规律性。现对机床Y向进给伺服系统进行检查。

1.检查Y轴有关位置参数

检查后发现反向间隙、夹紧误差等均在要求范围内,可排除由于参数设置不当引起故障的因素。

2.检查Y轴进给传动链

应检查传动链中各元件间的连接,由连接松动或间隙均可产生位置偏差,造成加工零件尺寸超差。

①将千分表表座吸在横梁上,测量头找正主轴Y运动的负方向,并使测量头压缩到50 μm左右,然后使测量头复位到零。

②将机床操作面板上的工作方式开关置于增量方式(1NC)的“×10”挡,轴选择开关置于Y轴挡,按负方向进给键,观察千分表读数的变化。经测量,Y轴正、负方向的增量运动都存在不规则的偏差。

③找一粒滚珠置于滚珠丝杠的端部中心,用千分表的测量头顶住滚珠。将机床操作面板上的工作方式开关置于手动方式,按正、负方向的进给键,主轴箱沿Y轴正、负方向连续运动,观察千分表读数无明显变化,故排除滚珠丝杠轴向窜动的可能。

④检查与Y轴伺服电动机和滚珠丝杠连接的同步齿形带轮,发现与伺服电动机转子轴连接的带轮锥套有松动,使得进给传动与伺服电动机驱动不同步。

此次故障是由机械部分与伺服电动机转子轴连接的带轮锥套松动造成的,使得进给传动与伺服电动机驱动不同步。由于在运行中松动是不规则的,从而造成零件尺寸偏差不规则。

◎任务扩展

故障现象:某加工中心运行时,工作台X轴方向位移接近行程终端过程中产生明显的机械振动故障,故障发生时系统不报警。

故障分析:因故障发生时系统不报警,但故障明显,故通过交换法检查,确定故障部位应在X轴伺服电动机与丝杠传动链一侧;为区别电动机故障,可拆卸电动机与滚珠丝杠之间的弹性联轴器,单独通电检查电动机。检查结果表明,电动机运转时无振动现象,显然故障部位在机械传动部分。脱开弹性联轴器,用扳手转动滚珠丝杠进行手感检查;通过手感检查,发现工作台X轴方向位移接近行程终端时,感觉到阻力明显增加。

故障维修:拆下工作台检查,发现滚珠丝杠与导轨不平行,故而引起机械转动过程中的振动现象。经过认真修理、调整后,重新装好,故障排除。

任务3 刀具自动交换装置故障诊断与维修

由于加工中心具有刀具自动交换装置,能够实现多工序集中加工,因而可以大大减少工件装夹、测量和机床的调整时间,减少工件的周转、搬运和存放时间,使机床的切削时间利用率高于普通机床,具有较好的加工一致性,高的生产率和质量稳定性及良好的经济性。但是在使用中,由于长期工作磨损或操作不当等原因会造成刀库转动不正常、机械手夹持刀柄不稳定、刀具自动交换装置不工作或旋转不到位便停止等故障。

子任务1 刀库转动不正常

◎任务提出

加工中心工作时,可能会出现刀库不能转动或刀库转动不到位,试分析原因,找出故障点,并排除故障。

◎任务目标

1.掌握加工中心刀库的种类与结构特点;

2.能够判断换刀故障的发生部位。

◎相关知识

一、加工中心自动换刀装置

加工中心有立式、卧式、龙门式等多种,其自动换刀装置的形式更是多种多样。换刀的原理及结构的复杂程度也各不相同,除利用刀库进行换刀外,还有自动更换主轴箱、自动更换刀库等形式。利用刀库实现换刀、是目前加工中心大量使用的换刀方式。由于有了刀库,机床只要一个固定主轴夹持刀具,有利于提高主轴刚度。独立的刀库,大大增加了刀具的储存数量,有利于扩大机床的功能,并能较好地隔离各种影响加工精度的干扰。

刀库换刀按换刀过程中有无机械手参与分成有机械手换刀和无机械手换刀两种情况,有机械手的系统在刀库配置与主轴的相对位置及刀具数量上都比较灵活,换刀时间短;无机械手方式结构简单,只是换刀时间较长。

由刀库和机械手组成的自动换刀装置(Automaitic Tool Changer简称ATC)是加工中心的重要组成部分。加工中心上所需更换的刀具较多,从几把到几十把,甚至上百把,故通常采用刀库形式,其结构比较复杂自动换刀装置种类繁多。由于加工中心上自动换刀次数比较频繁,故对自动换刀装置的技术要求十分严格,如要求定位精度高、动作平稳、工作可靠以及精度保持性等。这些要求都与加工中心的性能息息相关。

各种加工中心自动换刀装置的结构取决于机床的形式、工艺范围以及刀具的种类和数量等。换刀装置主要可以分为以下几种方式:

1.更换主轴换刀装置

更换主轴换刀装置是一种简单的换刀方式。这种机床的主轴头就是一个转塔刀库,主轴头有卧式和立式两种。八方形主轴头(转塔头)上装有8根主轴,每根主轴上装有一把刀具。根据各加工工序的要求按顺序自动地将所需要的刀具由其主轴转到工作位置,实现自动换刀,同时接通主传动。不处在工作位置的主轴便与主传动脱开。转塔头的转位由槽轮机构来实现。

这种换刀装置优点是省去了自动松、夹、卸刀、装刀以及刀具搬运等一系列的复杂操作,从而缩短了换刀时间,并提高了换刀的可靠性。但是由于空间位置的限制,使主轴部件结构不能设计得十分坚实,因而影响了主轴系统的刚度。为保证主轴的刚度,必须限制主轴数目,否则将使结构尺寸大大增加。由于这些结构上的原因,所以转塔主轴头通常只适应于工序较少、精度要求不太高的机床,如数控钻镗铣床。

2.更换主轴箱换刀装置

有的加工中心采用多主轴的主轴箱,利用更换这种主轴箱来达到换刀的目的。在实际换刀时,根据加工要求,先选好所需的主轴箱,将其运行到机床动力头两侧的更换位置。待上一道工序完成后,动力头带着使用过的主轴箱运行到更换位置,动力头上的夹紧机构将主轴箱松开,推杆机构将用过的主轴箱从动力头上推开,同时将待用主轴箱推到机床动力头上并进行定位与夹紧。动力头沿立柱导轨下降开始新的加工,使用过的主轴箱被送回到主轴箱库,并选择下一次需要使用的主轴箱。这种形式的换刀,对于加工箱体类零件,可以提高生产率。

3.带刀库的自动换刀系统

这类换刀装置由刀库、选刀机构、刀具交换机构及刀具在主轴上的自动装卸机构等4部分组成,应用广泛。刀库可装在机床的立柱上、主轴箱上或工作台上。当刀库容量大及刀具较重时,也可装在机床之外,作为一个独立部件。如刀库远离主轴,常常要附加运输装置,来完成刀库与主轴之间刀具的运输。

带刀库的自动换刀系统,整个换刀过程比较复杂,首先要把加工过程中要用的全部刀具分别安装在标准的刀柄上,在机外进行尺寸预调整后,插入刀库中。换刀时,根据选刀指令先在刀库上选刀,由刀具交换装置从刀库和主轴上取出刀具,进行刀具交换,然后将新刀具装入主轴,将用过的刀具放回刀库。这种换刀装置和转塔主轴头相比,由于机床主轴箱内只有一根主轴,为缩短换刀时间,可采用带刀库的双主轴或多主轴系统。该转塔轴上待更换刀具的主轴与转塔刀库回转轴线成45°角,当水平方向的主轴处在加工位置时,待更换刀具的主轴处于换刀位置,由刀具交换装置预先换刀,待本工序加工完毕后,转塔头回转并交换主轴,即换刀。这种换刀方式,换刀时间大部分和机床加工时间重合,只需要转塔头转位的时间,所以换刀时间短;转塔头上的主轴数目较少,有利于提高主轴的结构刚性;刀库上刀具数目也可增加,对多工序加工有利。但这种换刀方式也难保证精镗加工所需要的主轴刚度。因此,这种换刀方式主要用于钻床,也可用于铣镗床和数控组合机床。

二、加工中心刀库形式

加工中心刀库的形式很多,结构也各不相同,最常用的有鼓盘式刀库、链式刀库和格子盒式刀库。

1.鼓盘式刀库

鼓盘式刀库结构紧凑、简单,在钻削中心上应用较多。一般存放刀具不超过32把。图9. 18为刀具轴线与鼓盘轴线平行布置的刀库,其中图9. 18(a)为径向取刀形式,图9. 18(b)为轴向取刀形式。

图9.18 鼓盘式刀库(一)

图9.19 鼓盘式刀库(二)

2.链式刀库

在环形链条上装有许多刀座,刀座的孔中装夹各种刀具,链条由链轮驱动。链式刀库适用于刀库容量较大的场合,且多为轴向取刀。链式刀库有单环链式和多环链式等几种,如图9. 20所示。当链条较长时,可以增加支承链轮的数目,使链条折叠回绕,提高空间利用率。

图9.20 链式刀库

3.格子盒式刀库

图9. 21所示为固定型格子盒式刀库。刀具分几排直线排列,由纵、横向移动的取刀机械手完成选刀运动,将选取的刀具送到固定的换刀位置刀座上,由换刀机械手交换刀具。由于刀具排列密集,因此空间利用率高,刀库容量大。

图9.21 固定型格子盒式刀库

1—刀座;2—刀具固定板架;3—取刀机械手横向导轨;4—取刀机械手纵向导轨;5—换刀位置刀座;6—换刀机械手

除上面介绍的3种刀库形式之外,还有直线式刀库、多盘式刀库等。

◎任务实施

基本任务 刀库转动不正常

刀库转动不正常的故障,可分为刀库不能转动和刀库转动不到位两种情况。要找出故障点需仔细分析故障现象,在排除电气故障的情况下,在刀库机械结构上查找问题原因。打开刀库外罩,仔细检查机床刀库的机械连接,发现刀库不转动的原因是连接电机轴与蜗杆轴的联轴器松动所造成,紧固联轴器上的螺钉,刀库转动,故障排除。

对于刀库转动不到位的故障,排除电气故障的情况下,需在刀库的机械连接与液压传动系统找故障发生的原因。经分析,造成刀库转动不到位的原因有:

①电机故障,传动机构误差。

②刀库负载大或者有阻滞现象。

③系统润滑不良。

④液压马达故障。

⑤液压系统油路不畅或液压阀故障。

打开刀库外罩,先检查系统内润滑油路是否畅通,并重新对系统进行润滑,试运行看故障是否排除。在断电状态下,检查电动机各项参数是否正常。空载状态下检测液压马达工作是否正常。最后,检查液压系统油路流通情况及液压阀是否正常。找出故障点之后,对其进行维修更换,再运行机床,检查故障是否排除。

子任务2 机械手夹持刀柄不稳定

◎任务提出

加工中心工作一段时间后,有时会出现机械手夹持刀柄不稳定的故障,试分析原因,找出故障点,并排除故障。

◎任务目标

掌握加工中心机械手的结构特点。

◎相关知识

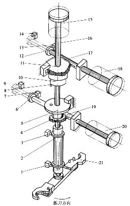
一、JCS-018A型加工中心机械手结构及动作过程

如图9. 22所示为加工中心机械手传动结构示意图,当前一步加工工作结束需要换刀时,位置开关被压下,发出机械手抓刀信号。液压系统依次向液压缸18右腔,液压缸15上腔和液压缸20右腔通入压力油。使机械手先按图示箭头方向旋转75°,同时将主轴上使用过的刀具与刀库中的待用刀具卡入手爪中,实现抓刀。之后机械手垂直向下运动将刀具从主轴中拔出,运动到最底部时旋转180°实现换刀。此时,挡环6压下位置开关9,液压系统得到信号后向液压缸15下腔通入压力油,活塞带动机械手垂直向上运动,两手爪中的刀具分别插入主轴孔与刀库中,刀具装好之后机械手反转75°复位,为下次选刀做好准备。

二、其他类型机械手

1.两手呈180°的回转式单臂双手机械手

(1)两手不伸缩的回转式单臂双手机械手

如图9. 23所示,这种机械手适用于刀库中刀座轴线与主轴轴线平行的自动换刀装置,机械手回转时不得与换刀位置刀座相邻的刀具干涉。手臂的回转由蜗杆凸轮机构传动,快速可靠,换刀时间在2 s以内。

图9.22 JCS-018A机械手传动结构示意图

1、3、7、9、13、14—位置开关;2、6、12—挡环;4、11—齿轮;5—连接盘;8—销子;10—传动盘;15、18、20—液压缸;16—轴;17、19—齿条;21—机械手

图9.23 两手不伸缩的回转式单臂双手机械手

1—刀库;2—换刀位置的刀座;3—机械手;4—机床主轴

(2)两手伸缩的回转式单臂双手机械手

如图9. 24所示,这种机械手也适用于刀库中刀座轴线与主轴轴线平行的自动换刀装置。由于两手可伸缩,缩回后回转,可避免与刀库中其他刀具干涉。由于增加了两手的伸缩动作,因此换刀时间相对较长。

图9.24 两手伸缩的回转式单臂双手机械手

1—机床主轴;2—主轴中刀具;3—刀库中刀具;4—刀库;5—机械手

(3)剪式手爪的回转式单臂双手机械手

其特点是用两组剪式手抓夹持刀柄,故又称剪式机械手。如图9. 25(a)所示,为刀库刀座轴线与机床主轴轴线平行时用的剪式机械手示意图。图9. 25(b)为刀库刀座轴线与机床主轴轴线垂直时用的剪式机械手示意图。与上述剪式机械手不同的是两组剪式手爪分别动作,因此换到时间较长。

图9.25 剪式机械手

1—刀库;2—剪式手爪;3—机床主轴;4—伸缩臂;5—伸缩与回转机构;6—手臂摆动机构

2.两手互相垂直的回转式单臂双手机械手

图9. 26所示的机械手用于刀库刀座轴线与机床主轴轴线垂直,刀库为径向存取刀具形式的自动换刀装置。机械手有伸缩、回转和抓刀、松刀等动作。

图9.26 两手相互垂直的回转式单臂双手机械手

1—刀库;2—齿条;3—齿轮;4—抓刀活塞;5—手臂托架;6—机床主轴;7—抓刀动块;8—销子;9—抓刀定块;10、12—小齿轮;11—弹簧;13、14—小齿条

3.两手平行的回转式单臂双手机械手

如图9. 27所示,由于刀库中刀具的轴线与机床主轴轴线方向相垂直,故机械手需有3个动作:沿主轴轴线移动,进行主轴的插、拔刀;绕垂直轴作90°摆动,完成主轴与刀库间的刀具传递;绕水平轴作180°回转,完成刀具交换。

图9.27 两手平行的回转式单臂双手机械手

◎任务实施

基本任务 机械手夹持刀柄不稳定

机械手夹持刀柄不稳定,会造成在换刀时刀具从机械手中脱落,使加工被迫停止甚至损坏刀具,刀具脱落的原因可能是刀具超重或机械手卡紧锁损坏。首先检查刀具重量是否在机床说明书的允许范围内,然后检查机械手卡紧锁,更换机械手卡销。之后运行机床,检查故障是否排除。

任务4 辅助装置故障诊断与维修

数控机床已成为机械制造的重要机床设备之一,要保证数控机床可靠稳定的工作,除了在机械结构和数控系统等方面要达到一定的要求之外,良好的冷却、润滑也是不可忽视的部分,数控机床的辅助装置主要是指润滑系统和冷却系统。

在机床工作过程中,发现一些部位无润滑,检查后发现是液压系统出油不畅造成。现找出出油不畅的原因,并排除故障。

◎任务目标

1.掌握数控机床润滑系统的作用及工作原理;

2.掌握数控机床冷却系统的作用及工作原理。

◎相关知识

一、润滑系统

随着数控机床朝高速度、大功率、高精度的方向上发展,其可靠性已成为衡量其性能的重要指标。要保证数控机床可靠稳定的工作,除了在机械结构和数控系统等方面要达到一定的要求之外,良好的冷却、润滑也是不可忽视的因素,它们对延长数控机床的使用寿命、提高切削效率、保证工作正常具有十分重要的作用。

1.润滑的作用及分类

在数控机床中润滑主要有以下几个方面的作用:

(1)减小摩擦

在两个具有相对运动的接触表面之间存在着摩擦,摩擦使零件、部件产生磨损,增大运动阻力,剧烈的摩擦甚至会使接触表面发热损坏。以润滑油或者润滑脂加入到摩擦表面后,可以降低摩擦系数,从而减小摩擦。

(2)减小磨损

润滑油或润滑脂在相对运动件之间可以形成一层油膜,避免了两接触相对运动件的直接接触,可以减小磨损。

(3)降低温度

流动的润滑油可以把摩擦产生的大量热量带走,从而起到降低润滑表面温度的作用。

(4)防止锈蚀

润滑油在摩擦表面形成的保护油膜,阻挡了金属与空气或其他氧化源的直接接触,在一定程度上防止了金属零件的锈蚀。

(5)形成密封

润滑脂除具有主要的润滑作用外,还具有防止润滑剂的流出和外界尘屑进入摩擦表面的作用,避免了摩擦、磨损的加剧。

2.数控机床的润滑系统

数控机床良好的润滑对提高各相对运动件的寿命、保持良好的动态性能和运动精度等具有较大的意义。在数控机床的运动部件中,既有高速的相对运动,也有低速的相对运动,既有重载的部位,也有轻载的部位,所以在数控机床中通常采用分散润滑与集中润滑、油润滑与脂润滑相结合的综合润滑方式对数控机床的各个需润滑部位进行润滑。数控机床中润滑系统主要包括主轴传动部分、轴承、丝杠和导轨等部件的润滑。

在数控机床的主轴传动部分中,齿轮和主轴轴承等零件转速较高、负载较大,温升剧烈,所以一般采用润滑油强制循环的方式,对这些零件进行润滑的同时完成对主轴系统的冷却。这些润滑和冷却兼具的液压系统对液压油的过滤要求较为严格,否则容易影响齿轮、轴承等零件的使用寿命。一般在这部分液压系统中采用沉淀、过滤、磁性精过滤等手段保持液压油的洁净,并要求经过规定的时间后进行液压油的清理更换。

轴承、丝杠和导轨是决定加工中心各个运动精度的主要部件。为了维持它们的运动精度并减少摩擦及磨损,必须采用适当的润滑,具体采用何种润滑方式取决于数控机床的工作状况及结构要求。对负载不大、极限转速或移动速度不高的数控机床一般采用脂润滑,采用脂润滑可以减少设置专门的润滑系统,避免润滑油的泄露污染和废油的处理,而且脂润滑具有一定的密封作用,降低外部灰尘、水气等对轴承、丝杠和导轨副的影响。对一些负载较大、极限转速或移动速度较高的数控机床一般采用油润滑,采用油润滑既能起到对相对运动件之间的润滑作用,又可以起到一定的冷却作用。在数控机床的轴承、丝杠和导轨部位,无论是采用油润滑还是脂润滑,都必须保持润滑介质的洁净无污染,按照相应润滑介质的要求和工况定期地清理润滑元件,更换或补充润滑介质。

数控车床主轴轴承润滑可采用油脂润滑、迷宫式密封,也可采用集中强制型润滑,为保证润滑的可靠性,常装有压力继电器作为失压报警装置。

主轴轴承的润滑与密封是机床使用和维护过程中值得重视的两个问题。良好的润滑效果可以降低轴承的工作温度和延长使用寿命。密封不仅要防止灰尘屑末和切削液进入,还要防止润滑油的泄漏。

3.主轴轴承润滑方式

在数控机床上,主轴轴承润滑方式有油脂润滑、油液循环润滑、油雾润滑、油气润滑等方式。

(1)油脂润滑方式

这是目前在数控机床主轴轴承上最常用的润滑方式,特别是在前支撑轴承上更是常用。当然,如果主轴箱中没有冷却润滑油系统,那么后支撑和其他轴承,一般采用油脂润滑方式。

(2)油液循环润滑方式

在数控机床主轴上,有采用油液循环润滑方式的。装有GA,MET轴承的主轴,即可使用这种方式。对一般主轴来说,后支撑上采用这种润滑方式的比较常见。

(3)油雾润滑

油雾润滑是将油液经高压气体雾化后从喷嘴成雾状喷到需润滑的部位的润滑方式。由于是雾状油液吸热性好,又无油液搅拌作用,所以通常用于高速主轴轴承的润滑。但是,油雾容易吹出,污染环境。

(4)油气润滑方式

油气润滑方式是针对高速主轴而开发的新型润滑方式。它是利用极微量的油(8~10 min约0. 03 cm3油)润滑轴承,以抑制轴承发热。

在用油液润滑角接触轴承时,要注意角接触轴承油泵效应,须使油液从小口进入。

二、冷却系统

数控机床的冷却系统按照其作用主要分为机床的冷却和切削时对刀具和工件的冷却两部分。

1.机床的冷却和温度控制

数控机床属于高精度、高效率、高投入成本的机床,为了提高生产效率,尽可能地发挥其作用,一般要求24 h不停机连续工作。为了保证在长时间工作情况下机床加工精度的一致性、电气及控制系统的工作稳定性和机床的使用寿命,数控机床对环境温度和各部分的发热冷却及温度控制均有相应的要求。

环境温度对数控机床加工精度及工作稳定性有不可忽视的影响。对精度要求较高和整批零件尺寸一致性要求较高的加工,应保持数控机床工作环境的恒温。

数控机床的电控系统是整台机床的控制核心,其工作时的可靠性以及稳定性对数控机床的正常工作起着决定性作用,并且电控系统中间的绝大部分元器件在通电工作时均会产生热量,如果没有充分适当的散热,容易造成整个系统的温度过高,影响其可靠性、稳定性及元器件的寿命。数控机床的电控系统一般采用在发热量大的元器件上加装散热片与采用风扇强制循环通风的方式进行热量的扩散,降低整个电控系统的温度。但该方式具有灰尘易进入控制箱、温度控制稳定性差、湿空气易进入的缺点。所以,在一些较高档的数控机床上一般采用专门的电控箱冷气机进行电控系统的温湿度调节。

在数控机床的机械本体部分,主轴部件及传动机构为最主要的发热源。对主轴轴承和传动齿轮等零件,特别是中等以上预紧的主轴轴承,如果工作时温度过高很容易产生胶合磨损、润滑油黏度降低等后果,所以数控机床的主轴部件及传动装置通常设有工作温度控制装置。

2.工件切削冷却

数控机床在进行高速大功率切削时伴随大量的切削热产生,使刀具、工件和内部机床的温度上升,进而影响刀具的寿命、工件加工质量和机床的精度。所以,在数控机床中,良好的工件切削冷却具有重要的意义,切削液不仅具有对刀具、工件、机床的冷却作用,还起到在刀具与工件之间的润滑、排屑清理、防锈等作用。为了充分提高冷却效果,在一些加工中心上还采用了主轴中央通水和使用内冷却刀具的方式进行主轴和刀具的冷却。这种方式对提高刀具寿命、发挥加工中心良好的切削性能、切屑的顺利排出等方面具有较好的作用,特别是在加工深孔时效果尤为突出,所以目前应用越来越为广泛。

◎任务实施

基本任务 液压系统出油不畅造成润滑不良

液压系统的动力元件是液压泵,首先检查液压泵工作是否正常,液压泵输出压力是否达到机床说明书规定的额定压力;其次检查液压油是否有沉淀或杂质,检查回路中是否有堵塞,检查管路或液压元件是否有破裂或渗漏,造成系统压力损失。

检查液压泵工作正常,输出压力达到机床说明书规定的额定压力;观察液压油,质地清透没有沉淀;观察回路中各压力表,发现其中一个压力明显偏低,检查管路后发现管路连接处有泄漏,造成压力损失,致使出油不畅。重新连接后,不产生泄漏,系统出油顺畅。机床零部件得到有效润滑,故障排除。

◎思考题

1.数控机床主轴轴承的润滑方式有哪些?并简述其特点。

2.数控机床润滑装置的作用是什么?