10.4 气动控制元件
在气压传动系统中,气动控制元件是控制和调节压缩空气的压力、流量和方向的各种控制阀,其作用是保证气动执行元件(如气缸、气马达等)按设计的程序正常地进行工作。
10.4.1 方向控制阀
方向控制阀是气压传动系统中通过改变压缩空气的流动方向和气流的通断,来控制执行元件启动、停止及运动方向的气动元件。
根据方向控制阀的功能、控制方式、结构方式、阀内气流的方向及密封形式等,可将方向控制阀分为几种类型,如表10-3所示。
表10-3 方向控制阀的分类

下面介绍几种典型的方向控制阀。
1.气压控制换向阀
气压控制换向阀是以压缩空气为动力切换气阀,使气路换向或通断的阀类。气压控制换向阀的用途很广,多用于组成全气阀控制的气压传动系统或易燃、易爆及高净化等场合。
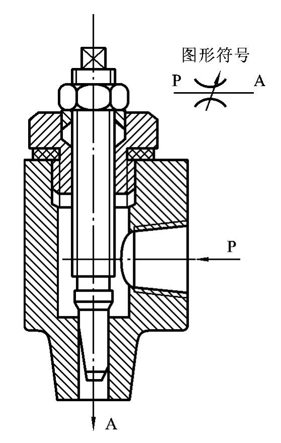
1)单气控加压式换向阀
图10-21所示为单气控加压式换向阀的工作原理。图10-21(a)所示为无气控信号K时阀的状态(即常态),此时,阀芯1在弹簧2的作用下处于上端位置,使阀A口与O口相通,O口排气。图10-21(b)所示为在有气控信号K时阀的状态(即动力阀状态)。由于气压力的作用,阀芯1压缩弹簧2下移,使阀A口与O口断开,P口与A口接通,A口有气体输出。

图10-21 单气控加压式换向阀的工作原理图
1—阀芯;2—弹簧
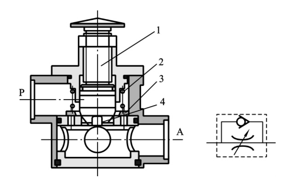
图10-22所示为二位三通单气控截止式换向阀的结构图。这种结构简单、紧凑、密封可靠、换向行程短,但换向力大。若将气控接头换成电磁头(即电磁先导阀),可变气控阀为先导式电磁换向阀。

图10-22 二位三通单气控截止式换向阀的结构图

图10-23 双气控滑阀式换向阀的工作原理图
2)双气控加压式换向阀
图10-23所示为双气控滑阀式换向阀的工作原理图。图10-23(a)所示为有气控信号K2时阀的状态,此时阀停在左边,其通路状态是P口与A口、B口与O2口相通。图10-23(b)所示为有气控信号K1时阀的状态(此时信号K2已不存在),阀芯换位,其通路状态变为P口与B口、A口与O1口相通。双气控滑阀具有记忆功能,即气控信号消失后,阀仍能保持在有信号时的工作状态。
3)差动控制换向阀
差动控制换向阀是利用控制气压作用在阀芯两端不同面积上所产生的压力差来使阀换向的一种控制方式。
图10-24所示为二位五通差动控制换向阀的结构原理图。阀的右腔始终与进气口P相通。在没有进气信号K时,控制活塞13上的气压力将推动阀芯9左移,其通路状态为P口与A口、B口与O2口相通,A口进气、B口排气。当有气控信号K时,由于控制活塞3的端面积大于控制活塞13的端面积,作用在控制活塞3上的气压力将克服控制活塞13上的压力及摩擦力,推动阀芯9右移,气路换向,其通路状态为P口与B口、A口与O1口相通,B口进气、A口排气。当气控信号K消失时,阀芯9借右腔内的气压作用复位,采用气压复位可提高阀的可靠性。
2.电磁控制换向阀
电磁控制换向阀是利用电磁力的作用来实现阀的切换以控制气流的流动方向。常用的电磁换向阀有直动式电磁换向阀和先导式电磁换向阀两种。
1)直动式电磁换向阀
图10-25所示为直动式单电控电磁阀的工作原理图。它只有一个电磁铁。图10-25(a)所示为常态情况,即激励线圈不通电,此时阀在复位弹簧的作用下处于上端位置。其通路状态为A口与T口相通,A口排气。当通电时,电磁铁1推动阀芯2向下移动,气路换向,其通路为P口与A口相通,A口进气,如图10-25(b)所示。

图10-24 二位五通差动控制换向阀结构原理图
1—端盖;2—缓冲垫片;3、13—控制活塞;4、10、11—密封垫;
5、12—衬套;6—阀体;7—隔套;8—挡片;9—阀芯

图10-25 直动式单电控电磁阀的工作原理图
1—电磁铁;2—阀芯
图10-26所示为直动式双电控电磁阀的工作原理图。它有两个电磁铁,当电磁铁1通电、电磁铁2断电时,如图10-26(a)所示,阀芯被推向右端,其通路状态是P口与A口相通,B口与O2口相通,A口进气、B口排气。当电磁铁1断电时,阀芯仍处于原有状态,即具有记忆性。当电磁铁2通电、电磁铁1断电时,如图10-26(b)所示,阀芯被推向左端,其通路状态是P口与B口相通,A口与O1口相通,B口进气、A口排气。若电磁线圈断电,气流通路仍将保持原状态。
2)先导式电磁换向阀
直动式电磁阀是由电磁铁直接推动阀芯移动的,当阀通径较大时,用直动式结构所需的电磁铁体积和电力消耗都必然加大,为克服此弱点可采用先导式电磁换向阀。

图10-26 直动式双电控电磁阀的工作原理图
1、2—电磁铁;3—阀芯
先导式电磁换向阀是由电磁铁首先控制气路,产生先导压力,再由先导压力推动主阀阀芯移动,使其换向。
图10-27所示为先导式双电控换向阀的工作原理图。当先导阀1通电、先导阀2断电时,如图10-27(a)所示,由于主阀3的K1腔进气,K2腔排气,使主阀阀芯向右移动。此时P口与A口相通,B口与O2口相通,A口进气、B口排气。当先导阀2通电、先导阀1断电时,如图10-27(b)所示,主阀的K2腔进气,K1腔排气,使主阀阀芯向左移动。此时P口与B口相通,A口与O1口相通,B口进气、A口排气。先导式双电控电磁阀具有记忆功能,即通电换向,断电保持原状态。为保证主阀正常工作,两个电磁阀不能同时通电,电路中要考虑互锁的问题。

图10-27 先导式双电控换向阀的工作原理图
1、2—先导阀;3—主阀
先导式电磁换向阀便于实现电、气联合控制,所以应用广泛。
3.机械控制换向阀
机械控制换向阀又称为行程阀,多用于行程程序控制系统,作为信号阀使用,常依靠凸轮、挡块或其他机械外力推动阀芯动作,使阀换向。
4.人力控制换向阀
这类阀分为手动和脚踏两种操纵方式。手动阀的主体部分与气控阀类似,其操纵方式有多种形式,如按钮式、旋钮式、锁式及推拉式等。
5.时间控制换向阀
时间控制换向阀是使气流通过气阻(如小孔、缝隙等)节流后到气容(储气空间)中,经一定的时间使气容内建立起一定的压力后,再使阀芯换向的阀类。在不允许使用时间继电器(电控制)的场合(如易燃、易爆、粉尘大等),用气动时间控制就显出其优越性。
6.梭阀
梭阀相当于两个单向阀组合的阀。图10-28所示为梭阀的工作原理图。

图10-28 梭阀的工作原理图
梭阀有两个进气口P1和P2,一个工作口A,阀芯在两个方向上起单向阀的作用。其中P1口和P2口都可与A口相通,但P1口与P2口不相通。当P1口进气时,阀芯右移,封住P2口,使P1口与A口相通,A口进气,如图10-28(a)所示。反之,P2口进气时,阀芯左移,封住P1口,使P2口与A口相通,A口也进气。若P1口与P2口都进气时,阀芯就可能停在任意一边,这主要视压力加入的先后顺序和压力的大小而定。若P1口与P2口不等,则高压口的通道打开,低压口的通道则被封闭,高压气流从A口输出。
梭阀的应用很广,多用于手动与自动控制的并联回路中。
10.4.2 压力控制阀
1.压力控制阀的作用及分类
气动系统不同于液压系统,一般每一个液压系统都自带液压源(液压泵);而在气动系统中,一般来说,由空气压缩机先将空气压缩,储存在储气罐内,然后经管路输送给各个气动装置使用。而储气罐的空气压力往往比各台设备实际所需要的压力要高,同时,其压力波动值也较大。因此,需要用减压阀(调压阀)将其压力减到每台装置所需的压力,并使减压后的压力稳定在所需压力值上。
有些气动回路需要依靠回路中压力的变化来实现控制两个执行元件的顺序动作,所用的这种阀就是顺序阀。顺序阀与单向阀的组合称为单向顺序阀。
所有的气动回路或储气罐为了安全起见,当压力超过允许压力值时,需要实现自动向外排气,这种压力控制阀称为安全阀(溢流阀)。
2.减压阀(调压阀)
图10-29所示为QTY型直动式减压阀结构图及其职能符号。其工作原理如下:当阀处于工作状态时,调节手柄1、调压弹簧2、调压弹簧3及膜片5,通过阀杆6使阀芯8下移,进气阀口被打开,有压气流从左端输入,经阀口节流减压后从右端输出。输出气流的一部分由阻尼管7进入膜片气室,在膜片5的下方产生一个向上的推力,这个推力总是企图把阀口开度关小,使其输出压力下降。当作用于膜片上的推力与弹簧力相平衡后,减压阀的输出压力便保持一定。
当输入压力发生波动时,如输入压力瞬时升高,输出压力也会随之升高,作用于膜片5上的气体推力也随之增大,破坏了原来的力的平衡,使膜片5向上移动,有少量气体经溢流孔12、排气孔11排出。在膜片上移的同时,因复位弹簧9的作用,使输出压力下降,直到建立新的平衡为止。重新平衡后的输出压力又基本上恢复至原值。反之,输出压力瞬时下降,膜片下移,进气口开度增大,节流作用减小,输出压力又基本上回升至原值。
调节手柄1使调压弹簧2、3恢复自由状态,输出压力降至零,阀芯8在复位弹簧9的作用下,关闭进气阀口,这样,减压阀便处于截止状态,无气流输出。
QTY型直动式减压阀的调压范围为0.05~0.63MPa。为限制气体流过减压阀所造成的压力损失,规定气体通过阀内通道的流速在15~25m/s范围内。

图10-29 QTY型直动式减压阀结构图及其职能符号
1—手柄;2、3—调压弹簧;4—溢流阀座;5—膜片;6—阀杆;7—阻尼管;
8—阀芯;9—复位弹簧;10—进气阀口;11—排气孔;12—溢流孔
安装减压阀时,要按气流的方向和减压阀上所示的箭头方向,依照分水滤气器—减压阀—油雾器的安装次序进行安装。调压时应由低向高调,直至规定的调压值为止。阀不用时应把手柄放松,以免膜片受压变形。
3.顺序阀
顺序阀是依靠气路中压力的作用而控制执行元件按顺序动作的压力控制阀,如图10-30所示,它是根据弹簧的预压缩量来控制其开启压力的。当输入压力达到或超过开启压力时,顶开弹簧,于是P口到A口才有输出;反之A口无输出。
顺序阀一般很少单独使用,往往与单向阀配合在一起,构成单向顺序阀。图10-31所示为单向顺序阀的工作原理图。当压缩空气由左端进入阀腔后,作用于活塞3上的气压力超过压缩弹簧2上的压力时,将活塞顶起,压缩空气从P口经A口输出,如图10-31(a)所示,此时单向阀4在压力差及弹簧力的作用下处于关闭状态。反向流动时,输入口变成排气口,输出口压力将顶开单向阀4由O口排气,如图10-31(b)所示。

图10-30 顺序阀工作原理图及其职能符号

图10-31 单向顺序阀的工作原理图及其职能符号
1—调节手柄;2—压缩弹簧;3—活塞;4—单向阀
调节旋钮就可改变单向顺序阀的开启压力,以便在不同的开启压力下,控制执行元件的顺序动作。
4.安全阀
当储气罐或回路中压力超过某调定值时,要用安全阀向外放气,安全阀在系统中起过载保护作用。
图10-32所示为安全阀的工作原理图。当系统中气体压力在调定范围内时,作用在活塞3上的压力小于弹簧2的压力,活塞处于关闭状态,如图10-32(a)所示。当系统压力升高,作用在活塞3上的压力大于弹簧的预定压力时,活塞3向上移动,阀门开启排气,如图10-32(b)所示。直到系统压力降到调定范围以下,活塞又重新关闭。开启压力的大小与弹簧的预压量有关。

图10-32 安全阀的工作原理图及其职能符号
1—调节手柄;2—弹簧;3—活塞
10.4.3 流量控制阀
在气压传动系统中,有时需要控制气缸的运动速度,有时需要控制换向阀的切换时间和气动信号的传递速度,这些都需要通过调节压缩空气的流量来实现。流量控制阀就是通过改变阀的通流截面面积来实现流量控制的元件。流量控制阀包括节流阀、单向节流阀、排气节流阀和快速排气阀等。
1.节流阀
图10-33所示为圆柱斜切型节流阀的结构图。压缩空气由P口进入,经过节流后,由A口流出。旋转阀芯螺杆就可改变节流口的开度,这样,就调节了压缩空气的流量。由于这种节流阀的结构简单、体积小,故应用范围较广。

图10-33 圆柱斜切型节流阀的结构图

图10-34 单向节流阀的结构原理图
1—调节杆;2—弹簧;3—单向阀;4—节流口
2.单向节流阀
单向节流阀是由单向阀和节流阀并联而成的组合式流量控制阀,如图10-34所示。当气流沿着一个方向,例如P→A流动时,经过节流阀节流;反方向流动,由A→P流动时,单向阀打开,不节流。单向节流阀常用于气缸的调速和延时回路。
3.排气节流阀
排气节流阀是装在执行元件的排气口处,调节进入大气中气体流量的一种控制阀。它不仅能调节执行元件的运动速度,还常带有消声器件,所以也能起到降低排气噪声的作用。
图10-35所示为排气节流阀的工作原理图。其工作原理和节流阀类似,靠调节节流口1处的通流面积来调节排气流量,由消声套2来减小排气噪声。
4.快速排气阀
图10-36所示为快速排气阀的工作原理图。压缩空气由进气口P进入,并将密封活塞迅速向上推,开启阀口2,同时关闭排气口O,使进气口P和工作口A相通,如图10-36(a)所示。图10-36(b)所示为P口没有压缩空气进入时的状态,在A口和P口的压力差作用下,密封活塞迅速下降,关闭P口,使A口通过O口快速排气。

图10-35 排气节流阀的工作原理图
1—节流口;2—消声套

图10-36 快速排气阀的工作原理
1—排气口;2—阀口

图10-37 快速排气阀的应用回路
快速排气阀常安装在换向阀和气缸之间。图10-37所示为快速排气阀的应用回路。它使气缸的排气不用通过换向阀而快速排出,从而加速了气缸往复的运动速度,缩短了工作周期。
10.4.4 气动逻辑元件
气动逻辑元件是一种以压缩空气为工作介质,通过元件内部可动部件的动作,改变气流流动的方向,从而实现一定逻辑功能的流体控制元件。气动逻辑元件种类很多,按工作压力分为高压、低压、微压三种。按结构形式分类,主要包括截止式、膜片式、滑阀式和球阀式等几种类型。本节仅对高压截止式逻辑元件作简要介绍。
1.气动逻辑元件的特点
(1)元件孔径较大,抗污染能力较强,对气源的净化程度要求较低。
(2)元件在完成动作后,能切断气源和排气孔之间的通道,因此无功耗气量较小。
(3)负载能力强,可带多个同类型元件。
(4)在组成系统时,元件间的连接方便,调试简单。
(5)适应能力较强,可在各种恶劣环境下工作。
(6)响应时间一般为几毫秒或十几毫秒。响应速度较慢,不宜组成运算很复杂的系统。
2.高压截止式逻辑元件
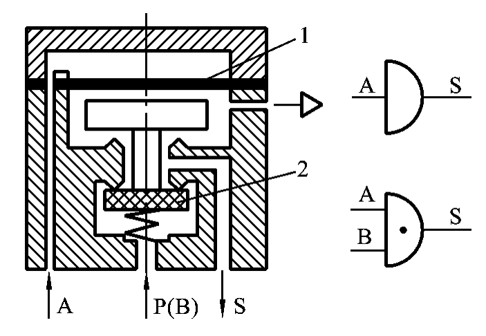
1)“是门”和“与门”元件
图10-38所示为“是门”元件及“与门”元件的结构图。P为气源口,A为信号输入口,S为输出口。当A无信号时,阀片2在弹簧及气源压力作用下上移,关闭阀口,封住P→S通路,S无输出。当A有信号时,膜片1在输入信号作用下,推动阀芯下移,封住S与排气孔通道,同时接通P→S通路,S有输出。即元件的输入和输出始终保持相同状态。
当气源口P改为信号口B时,则变成“与门”元件,即只有当A口和B口同时输入信号时,S口才有输出,否则S口无输出。

图10-38 “是门”元件和“与门”元件的结构图
1—膜片;2—阀片

图10-39 “或门”元件的结构图
1—阀片
2)“或门”元件
图10-39所示为“或门”元件的结构图。当只有A口信号输入时,阀片1被推动下移,打开上阀口,接通A→S通路,S口有输出。类似地,当只有B口信号输入时,接通B→S通路,S口也有输出。显然,当A口、B口均有信号输入时,S口一定有输出。
3)“非门”和“禁门”元件
图10-40所示为“非门”和“禁门”元件的结构图。A口为信号输入孔,S口为信号输出孔,P口为气源孔。在A口无信号输入时,阀片3在气源压力作用下上移,开启下阀口,关闭上阀口,接通P→S通路,S口有输出。当A口有信号输入时,膜片2在输入信号作用下,推动阀杆1及阀片3下移,开启上阀口,关闭下阀口,S口无输出。显然此时为“非门”元件。若将气源口P改为信号B口,该元件就成为“禁门”元件。在A口、B口均有信号时,阀片3及阀杆1在A口输入信号作用下封住B口,S口无输出;在A口无信号输入,而B口有输入信号时,S口就有输出,即A口输入信号对B口输入信号起“禁止”作用。
4)“或非”元件
图10-41为“或非”元件的结构图。P为气源口,S为输出口,A、B、C为三个信号输入口。当三个输入口均为无信号输入时,阀芯在气源压力作用下上移,开启下阀口,接通P→S通路,S口有输出。三个输入口只要有一个口有信号输入,都会使阀芯下移关闭下阀口,截断P→S通路,S口无输出。
“或非”元件是一种多功能逻辑元件,用它可以组成“与门”、“或门”、“非门”、“双稳”等逻辑元件。
5)“记忆”元件
记忆元件分为单输出和双输出两种。双输出记忆元件称为双稳元件,单输出记忆元件称为单记忆元件。下面仅介绍双稳元件。

图10-40 “非门”和“禁门”元件的结构图
1—阀杆;2—膜片;3—阀片

图10-41 “或非”元件的结构图
图10-42所示为双稳元件的原理图。当A口有控制信号输入时,阀芯带动滑块右移,接通P→S1通路,S1口有输出,而S2口与排气孔O相通,无输出。此时“双稳”处于“1”状态,在B口输入信号到来之前,A口信号虽消失,阀芯总是保持在右端位置。当B口有输入信号时,则P→S2相通,S2口有输出,S1→O相通,此时元件置“0”状态,B口信号消失后,A口信号未到来前,元件一直保持此状态。

图10-42 双稳元件的原理图
3.逻辑元件的应用
每个气动逻辑元件都对应于一个最基本的逻辑单元,逻辑控制系统的每个逻辑符号都可以用对应的气动逻辑元件来实现,气动逻辑元件设计有标准的机械和气信号接口,元件更换方便,组成逻辑系统简单,易于维护。但逻辑元件的输出功率有限,一般用于组成逻辑控制系统中的信号控制部分,或者推动小功率执行元件。如果执行元件的功率较大,则需要在逻辑元件的输出信号后接大功率的气控滑阀作为执行元件的主控阀。