10.2 气源装置及辅助元件
气压传动系统中的气源装置是为气动系统提供满足一定质量要求的压缩空气,它是气压传动系统的重要组成部分。由空气压缩机产生的压缩空气,必须经过降温、净化、减压、稳压等一系列处理后,才能供给控制元件和执行元件使用。气动辅助元件是元件连接和提高系统可靠性、使用寿命及改善工作环境等所必需的器件。
10.2.1 气源装置
1.对压缩空气的要求
由空气压缩机排出的压缩空气虽然可以满足气动系统工作时的压力和流量要求,但其温度高达140~180℃。这时空气压缩机气缸中的润滑油也有一部分成为气态,这样,油分、水分及灰尘便形成混合的胶体微尘与杂质混在压缩空气中一同排出。如果将此压缩空气直接输送给气动装置使用,将会产生下列影响。
(1)一方面,混在压缩空气中的油蒸气可能聚集在储气罐、管道、气动系统的容器中形成易燃物,有引起爆炸的危险;另一方面,润滑油被汽化后,会形成一种有机酸,对金属设备、气动装置有腐蚀作用,影响设备的寿命。
(2)混在压缩空气中的杂质能沉积在管道和气动元件的通道内,减少了通道面积,增加了管道阻力。特别是对内径只有0.2~0.5mm的某些气动元件会造成阻塞,使压力信号不能正确传递,整个气动系统不能稳定工作甚至失灵。
(3)压缩空气中含有的饱和水分,在一定的条件下会凝结成水,并聚集在个别管道中。在寒冷的冬季,凝结的水会使管道及附件结冰而损坏,影响气动装置的正常工作。
(4)压缩空气中的灰尘等杂质,对气动系统中作往复运动或转动的气动元件(如气缸、气马达、气动换向阀等)的运动副会产生研磨作用,使这些元件因漏气而降低效率,影响它的使用寿命。
因此,气源装置必须设置一些除油、除水、除尘,并使压缩空气干燥,提高压缩空气质量,进行气源净化处理的辅助设备。
2.气源装置的组成
压缩空气站的设备一般包括产生压缩空气的空气压缩机和使气源净化的辅助设备。图10-2所示为压缩空气站设备组成及布置示意图。
在图10-2中,1为空气压缩机,用以产生压缩空气,一般由电动机带动。其吸气口装有空气过滤器,以减少进入空气压缩机的杂质。2为后冷却器,用以降温冷却压缩空气,使气化的水、油凝结出来。3为油水分离器,用以分离并排出降温冷却的水滴、油滴、杂质等。4、7为储气罐,用以储存压缩空气,稳定压缩空气的压力并除去部分油分和水分。5为干燥器,用以进一步吸收或排除压缩空气中的水分和油分,使之成为干燥空气。6为过滤器,用以进一步过滤压缩空气中的灰尘、杂质颗粒。储气罐4输出的压缩空气可用于一般要求的气压传动系统,储气罐7输出的压缩空气可用于要求较高的气动系统(如气动仪表及射流元件组成的控制回路等)。

图10-2 压缩空气站设备组成及布置示意图
1—空气压缩机;2—后冷却器;3—油水分离器;4、7—储气罐;5—干燥器;6—过滤器
3.压缩空气发生装置
1)空气压缩机的分类
空气压缩机是一种压缩空气发生装置,它是将机械能转化成气体压力能的能量转换装置,其种类很多。如按工作原理可分为容积型压缩机和速度型压缩机。容积型压缩机的工作原理是压缩气体的体积,使单位体积内气体分子的密度增大,以提高压缩空气的压力;速度型压缩机的工作原理是提高气体分子的运动速度,然后使气体的动能转化为压力能,以提高压缩空气的压力。
2)空气压缩机的工作原理
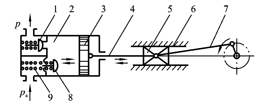
气压传动系统中最常用的空气压缩机是往复活塞式,其工作原理是通过曲柄连杆机构使活塞作往复运动而实现吸、压气,并达到提高气体压力的目的,如图10-3所示。当活塞3向右运动时,气缸2内活塞左腔的压力低于大气压力,吸气阀9被打开,空气在大气压力作用下进入气缸2内,这个过程称为吸气过程。当活塞向左移动时,吸气阀9在缸内压缩气体的作用下而关闭,缸内气体被压缩,这个过程称为压缩过程。当气缸内空气压力增高到略高于输气管内压力后,排气阀1被打开,压缩空气进入输气管道,这个过程称为排气过程。活塞3的往复运动是由电动机带动曲柄转动,通过连杆、滑块、活塞杆转化为直线往复运动而产生的。图中只表示了一个活塞一个缸的空气压缩机,大多数空气压缩机是多缸多活塞的组合。

图10-3 活塞式空气压缩机原理图
1—排气阀;2—气缸;3—活塞;4—活塞杆;5—滑块;
6—滑道;7—曲柄连杆;8—吸气阀;9—弹簧
3)空气压缩机的选用原则
选用空气压缩机的依据是气压系统所需的工作压力和流量两个参数。按排气压力不同,排气压力0.2MPa为低压空气压缩机;排气压力1.0MPa为中压空气压缩机;排气压力10MPa为高压空气压缩机;排气压力100MPa为超高压空气压缩机。低压空气压缩机为单级式,中压、高压和超高压空气压缩机为多级式,最多级数可达8级。目前,国外已制成压力达343MPa聚乙烯用的超高压压缩机。
输出流量的选择,要根据整个气动系统对压缩空气的需要再加一定的备用余量,作为选择空气压缩机的流量依据。空气压缩机铭牌上的流量是指自由空气流量。
4.压缩空气净化、储存设备
压缩空气净化装置一般包括后冷却器、油水分离器、储气罐、干燥器、过滤器等。
1)后冷却器
后冷却器安装在空气压缩机出口处的管道上。它的作用是将空气压缩机排出的压缩空气温度由140~170℃降至40~50℃。这样,就可使压缩空气中的油雾和水汽迅速达到饱和,使其大部分析出并凝结成油滴和水滴,以便经油水分离器排出。后冷却器的结构形式有蛇形管式、列管式、散热片式、管套式。冷却方式有水冷和气冷两种方式,蛇形管式和列管式后冷却器的结构如图10-4所示。

图10-4 后冷却器
2)油水分离器
油水分离器安装在后冷却器出口管道上,它的作用是分离并排出压缩空气中凝聚的油分、水分和灰尘杂质等,使压缩空气得到初步净化。图10-5所示为油水分离器的示意图。压缩空气由入口进入分离器壳体后,气流先受到隔板阻挡而被撞击折回向下(见图中箭头所示流向);之后又上升产生环形回转,这样凝聚在压缩空气中的油滴、水滴等杂质受惯性力作用而分离析出,沉降于壳体底部,由放水阀定期排出。
3)储气罐
储气罐的主要作用是储存一定数量的压缩空气,以备发生故障或临时需要应急使用;消除由于空气压缩机断续排气而对系统引起的压力脉动,保证输出气流的连续性和平稳性;进一步分离压缩空气中的油、水等杂质。储气罐一般采用焊接结构。
4)干燥器
经过后冷却器、油水分离器和储气罐后得到初步净化的压缩空气,已能满足一般气压传动的需要。但压缩空气中仍含一定量的油、水及少量的粉尘。如果用于精密的气动装置、气动仪表等,上述压缩空气还必须进行干燥处理。压缩空气的干燥方法主要采用吸附法,以及离心、机械降水和冷却等方法。

图10-5 油水分离器
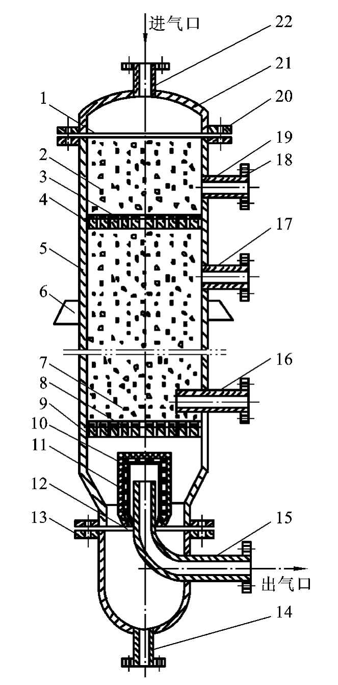
吸附法是利用具有吸附性能的吸附剂(如硅胶、铝胶或分子筛等)来吸附压缩空气中含有的水分,而使其干燥;冷却法是利用制冷设备使空气冷却到一定的露点温度,析出空气中超过饱和水蒸气部分的多余水分,从而达到所需的干燥度。吸附法是干燥处理方法中应用最为普遍的一种方法。吸附式干燥器的结构如图10-6所示。它的外壳呈筒形,其中分层设置栅板、吸附剂、滤网等。湿空气从湿空气进气管22进入干燥器,通过吸附剂层2、钢丝过滤网3、上栅板4和下部吸附剂层7后,因其中的水分被吸附剂吸收而变得很干燥。然后,再经过钢丝过滤网8、下栅板9和钢丝过滤网11,干燥、洁净的压缩空气便从输出管15排出。
5)过滤器
空气的过滤是气压传动系统中的重要环节。不同的场合,对压缩空气的要求也不同。过滤器的作用是进一步滤除压缩空气中的杂质。常用的过滤器有一次性过滤器(也称简易过滤器,滤灰效率为50%~70%)和二次过滤器(滤灰效率为70%~99%)。在要求高的特殊场合,还可使用高效率的过滤器(滤灰效率大于99%)。

图10-6 吸附式干燥器的结构
1、12—密封座;2、7—吸附剂层;3、8、11—钢丝过滤网;
4—上栅板;5—筒体;6—支撑板;
9—下栅板;10—毛毡;13、18、20—法兰;
14—排水管;15—干燥空气输出管;16—再生空气进气管;
17、19—再生空气排气管;21—顶盖;22—湿空气进气管
10.2.2 辅助元件
分水滤气器、减压阀和油雾器一起称为气动三大件。三大件依次无管化连接而成的组件称为三联件,三联件是多数气动设备中必不可少的气源装置。大多数情况下,三大件组合使用,其安装次序依进气方向为分水滤气器、减压阀、油雾器。三大件应安装在进气设备的附近处。
压缩空气经过三大件的最后处理,将进入各气动元件及气动系统。因此,三大件是气动系统使用压缩空气质量的最后保证。其组成及规格,必须由气动系统具体的用气要求确定,可以少于三件,只用一件或两件,也可多于三件。
1.分水滤气器
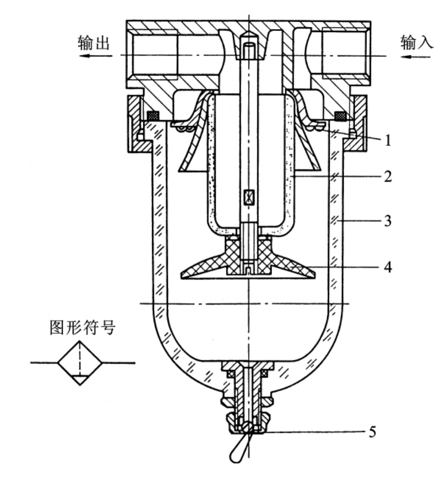
分水滤气器能除去压缩空气中的冷凝水、固态杂质和油滴,用于空气精过滤。分水滤气器的结构如图10-7所示。其工作原理如下:当压缩空气从输入口流入后,由导流叶片1引入滤杯中,导流叶片使空气沿切线方向旋转形成旋转气流,夹杂在气体中的较大水滴、油滴和杂质被甩到滤杯的内壁上,并延杯壁流到底部。然后气体通过中间的滤芯2,部分灰尘、雾状水被滤芯2拦截而滤去,洁净的空气便从输出口输出。挡水板4是为了防止气体旋涡将杯中积存的污水卷起而破坏过滤作用。为保证分水滤气器正常工作,必须及时将储水杯中的污水通过排水阀5放掉。在某些人工排水不方便的场合,可采用自动排水式分水滤气器。

图10-7 分水滤气器结构图
1—导流叶片;2—滤芯;3—储水杯;4—挡水板;5—手动排水阀
2.油雾器
油雾器是一种特殊的注油装置。它以空气为动力,使润滑油雾化后,注入空气流中,并随空气进入需要润滑的部件,以达到润滑的目的。
图10-8所示为普通油雾器(也称一次油雾器)的结构简图。当压缩空气由输入口进入后,通过喷嘴1下端的小孔进入阀座4的腔室内,在截止阀的钢球2上下表面形成压差,由于泄漏和弹簧3的作用,而使钢球处于中间位置,压缩空气进入存油杯5的上腔使油面受压,压力油经吸油管6将单向阀7的钢球顶起,钢球上部管道有一个方形小孔,钢球不能将上部管道封死,压力油不断流入视油器9内,再滴入喷嘴1中,被主管气流从上面小孔引射出来,雾化后从输出口输出。节流阀8可以调节流量,使滴油量在每分钟0~120滴内变化。

图10-8 普通油雾器的结构简图
1—喷嘴;2—钢球;3—弹簧;4—阀座;5—存油杯;6—吸油管;7—单向阀;
8—节流阀;9—视油器;10、12—密封垫;11—油塞;13—螺母、螺钉
二次油雾器能使油滴在雾化器内进行两次雾化,使油雾粒度更小、更均匀,输送距离更远。二次雾化粒径可达5μm。
油雾器的选择主要是根据气压传动系统所需额定流量及油雾粒径大小来进行。所需油雾粒径在50μm左右选用一次油雾器。若所需油雾粒径很小,可选用二次油雾器。油雾器一般应配置在滤气器和减压阀之后、用气设备之前较近处。
3.消声器
在气压传动系统之中,气缸、气阀等元件工作时,排气速度较高,气体体积急剧膨胀,会产生刺耳的噪声。噪声的强弱随排气的速度、排量和空气通道的形状变化而变化。排气的速度和功率越大,噪声也越大,一般可达100~120dB,为了降低噪声可以在排气口安装消声器。
消声器是通过阻尼或增加排气面积来降低排气速度和功率,从而降低噪声的。根据消声原理不同,消声器可分为三种类型:阻性消声器、抗性消声器和阻抗复合式消声器。常用的是阻性消声器。

图10-9 阻性消声器的结构简图
1—连接螺丝;2—消声罩
图10-9所示是阻性消声器的结构简图。这种消声器
主要依靠吸音材料来消声。消声罩2用多孔的吸音材料,一般用聚苯乙烯或铜珠烧结而成。当消声器的通径小于20mm时,多用聚苯乙烯作消声材料制成消声罩;当消声器的通径大于20mm时,消声罩多用铜珠烧结而成,以增加强度。其消声原理是:当有压气体通过消声罩时,气流受到阻力,声能量被部分吸收而转化为热能,从而降低了噪声强度。
阻性消声器结构简单,具有良好的消除中、高频噪声的
性能。在气动系统中,排气噪声主要是中、高频噪声,尤其是高频噪声,所以采用这种消声器是合适的。
4.真空元件
气动系统中的大多数气动元件,包括气源发生装置、执行元件、控制元件及各种辅助元件,都是在高于大气压力的气压作用下工作的,用这些元件组成的气动系统称为正压系统;另有一类元件可在低于大气压力下工作,这类元件组成的系统称为负压系统(或称真空系统)。
1)真空系统的组成
真空系统一般由真空发生器(真空压力源)、吸盘(执行元件)、真空阀(控制元件,有手动阀、机控阀、气控阀及电磁阀)及辅助元件(管件接头、过滤器和消声器等)组成。有些元件在正压系统和负压系统中是通用的,如管件接头、过滤器和消声器及部分控制元件。
图10-10所示为典型的真空回路。实际上,用真空发生器构成的真空回路,往往是正压系统的一部分,同时组成一个完整的气动系统。如在气动机械装置中,图10-10所示的真空回路仅是其气动控制系统的一部分,吸盘是机械手的抓取机构,随着机械手臂的动作而运动。

图10-10 典型的真空回路
1—过滤器;2—精过滤器;3—减压阀;4—压力表;5—电磁阀;6—真空发生器;
7—消声器;8—真空过滤器;9—真空压力开关;10—真空压力表;11—吸盘;12—工件
以真空发生器为核心构成的真空系统适合于任何具有光滑表面的工件,特别是对于非金属制品且不适合夹紧的工件,如易碎的玻璃制品,柔软而薄的纸张、塑料及各种电子精密零件。真空系统已广泛应用于轻工、食品、印刷、医疗、塑料制品及自动搬运和机械手等各种机械,如玻璃的搬运、装箱,机械手抓取工件,印刷机械中的纸张检测、运输,真空包装机械中包装纸的吸附、送标、贴标、包装袋的开启,精密零件的输送,塑料制品的成形,电子产品的加工、运输、装配等各种工序作业。
2)真空发生器
用真空发生器产生负压的特点如下:结构简单、体积小、使用寿命长;产生的真空度可达88kPa,抽吸流量不大,但可控、可调,稳定可靠;瞬时开关特性好,无残余负压;同一输出口可使用负压或交替使用正负压。

图10-11 真空发生器的工作原理图
1—喷嘴;2—接收室;3—混合室;4—扩散室
图10-10所示为真空发生器的工作原理图。真空发生器由喷嘴、接收室、混合室和扩散室组成。压缩空气通过收缩的喷嘴射出的一束流体的流动称为射流。射流能卷吸周围的静止流体和它一起向前流动,这称为射流的卷吸作用。而自由射流在接收室内的流动,将限制射流与外界的接触,但从喷嘴流出的主射流还是要卷吸一部分周围的流体向前运动,于是在射流的周围形成一个低压区,接收室内的流体便被吸进来,与主射流混合后,经接收室另一端流出。这种利用一束高速流体将另一束流体(静止或低速流)吸进来,相互混合后一起流出的现象称为引射现象。若在喷嘴两端的压差达到一定值时,气流达声速或亚声速流动,于是在喷嘴出口处,即接收室内可获得一定的负压。
10.2.3 管路系统设计
1.供气系统管道
1)压缩空气站内气源管道
压缩空气站内气源管道包括压缩机的排气口至后冷却器、油水分离器、储气罐、干燥器等设备的压缩空气管道。
2)厂区压缩空气管道
厂区压缩空气管道包括从压缩空气站至各用气车间的压缩空气输送管道。
3)用气车间压缩空气管道
用气车间压缩空气管道包括从车间入口到气动设备和气动装置的压缩空气输送管道。
2.供气管道设计的原则
1)从供气的压力和流量考虑
若工厂中的气动设备对压缩空气源压力有多种要求,则气源系统管道必须按满足最高压力要求来设计。若仅采用同一个管道系统供气,对于供气压力要求较低者,可通过减压阀来实现。从供气的最大流量和允许压缩空气在管道内流动的最大压力损失来决定气源供气系统管道的管径大小。为避免在管道内流动时有较大的压力损失,压缩空气在管道中的流速一般应小于25m/s。当管道内气体的体积流量为q,管道中允许流速为v时,管道的内径为

式中:q——流量,单位为m3/h;
v——流速,单位为m/s。
由式(10-1)可计算求得管道内径d,结合流量(或流速)再验算空气通过某段管道的压力损失是否在允许范围内。通常,对较大的空气压缩站,在厂区范围内,从管道的起点到终点,压缩空气的压力降不能超过气源初始压力的8%;在车间范围内不能超过供气压力的5%。若超过了,可增大管道直径。
2)从供气的质量要求考虑
若气动装置对供气质量(含水、油及干燥程度等)有不同要求时,如果用一个气源管道供气,则必须考虑其中对气源供气质量要求较高的气动装置,可采取就地设置小型干燥过滤装置或空气过滤器的方法来解决相关问题。也可通过技术、经济全面比较,设置两套气源管道供气系统。
3)从供气的可靠性、经济性考虑
(1)单树枝状管网供气系统。

图10-12 单树枝状管网供气系统
单树枝状管网供气系统如图10-12所示。这种供气系统简单、经济性好,适合于间断供气的工厂采用。但该系统中的阀门等附件容易损坏,尤其是开关频繁的阀门更易损坏。对于开关频繁的阀门,可用两个阀门串联起来,其中一个用于经常动作,另一个在一般情况下总处于开启状态,当经常动作的阀门需要更换检修时,这个阀门才关闭,使之与系统切断,不致影响整个系统工作。
(2)环状管网供气系统。
环状管网供气系统如图10-13所示。这种系统的供气可靠性比单树枝状管网供气系统的要高,而且压力较稳定,末端压力损失较小,当支管上有一个阀门损坏需要检修时,可将环形管道上两侧的阀门关闭,以保证更换、维修支管上的阀门时,整个系统能正常工作。但此系统成本较高。

图10-13 环状管网供气系统

图10-14 双树枝状管网供气系统
(3)双树枝状管网供气系统。
双树枝状管网供气系统如图10-14所示。这种供气系统能保证对所有的用户不间断供气,正常状态为两套管网同时工作。当其中任何一个管道附件损坏时,可关闭其所在的那套系统进行检修,而另一套系统照常工作。这种双树枝状管网供气系统实际上是有一套备用系统,相当于两套单树枝状管网供气系统,适用于不允许停止供气等特殊要求的用户。