5.5 插装阀、叠加阀、数字阀
5.5.1 插装阀
插装阀又称为二通插装阀、逻辑阀、锥阀,是一种以二通型单向元件为主体、采用先导控制和插装式连接的新型液压控制元件。插装阀具有一系列的优点:主阀芯质量小、行程短、动作迅速、响应灵敏、结构紧凑、工艺性好、工作可靠、寿命长、便于实现无管化连接和集成化控制等。该阀特别适用于高压大流量系统,二通插装阀控制技术在锻压机械、塑料机械、冶金机械、铸造机械,船舶、矿山及其他工程领域得到了广泛的应用。
1.插装阀的基本结构及工作原理
二通插装阀的主要结构由插装件、控制盖板、先导控制阀和集成块四部分组成,如图5-66(a)所示。图5-66(b)所示为其原理符号图。

图5-66 插装阀结构原理图和原理符号图
1—插装件;2—控制盖板;3—先导控制阀;4—集成块
插装阀有两个主通道进出油口A、B和一个控制油口C。工作时,阀口是开启还是关闭取决于阀芯的受力状况。通常状况下,阀芯的质量、阀芯与阀体的摩擦力和液动力可以忽略不计,则

当ΣF>0时,阀芯处于关闭状态,A口与B口不通;当ΣF<0时,阀芯开启,A口与B口连通;ΣF=0时,阀芯处于平衡位置。由式(5-17)可以看出,采取适当的方式控制C腔的压力pc就可以控制主油路中A口与B口的油流方向和压力。由图5-66(a)还可以看出,如果采取措施控制阀芯的开启高度(也就是阀口的开度),就可以控制主油路中的流量。
以上所述即为二通插装阀的基本工作原理。在这里特别要强调的一点是:二通插装阀A口控制面积与C腔控制面积之比,β=Ac/Aa,称为面积比,它是一个十分重要的参数,对二通插装阀的工作性能有重要的影响。
1)插装阀的插装件
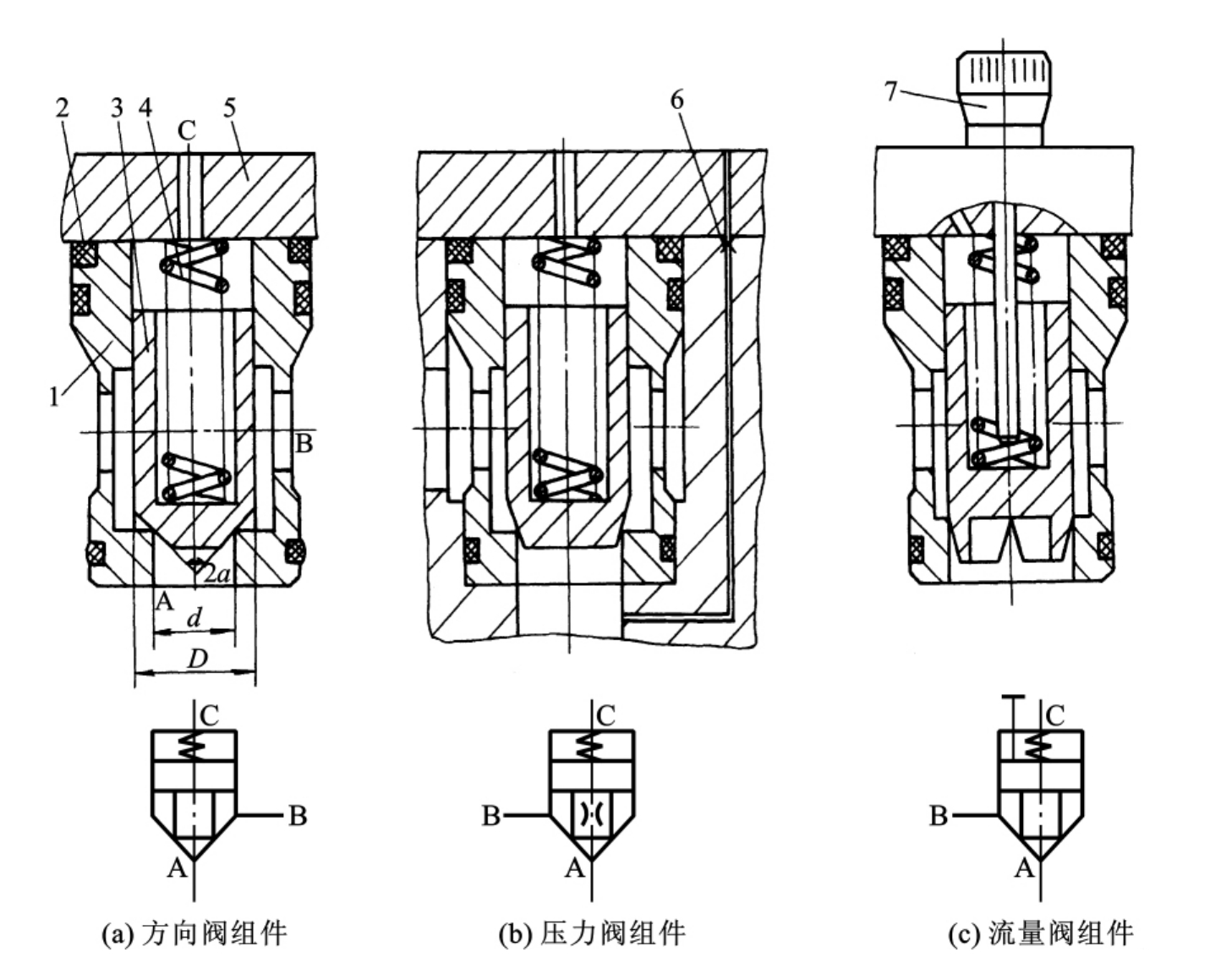
插装件是由阀芯、阀体、弹簧和密封件等组成,根据其用途不同分为方向阀插装件、压力阀插装件和流量阀插装件三种。其结构可以是锥阀式结构,也可以是滑阀式结构。插装件是插装阀的主体。插装元件为中空的圆柱形,前端为圆锥形封面的组合体,性能不同的插装阀其阀芯的结构不同,如插装阀芯的圆锥端可以为封堵的锥面,也可以是带阻尼孔或开三角槽的圆锥面。插装元件安装在插装块体内,可以自由地轴向移动。控制插装阀芯的启闭和开启量的大小,可以控制主油路液体的流动方向、压力和流量。同一通径的三种插装件的安装尺寸相同,但阀芯的结构形式和阀体孔直径不同。图5-67所示为三种插装件的结构图及职能符号。

图5-67 插装阀基本组件
1—阀套;2—密封圈;3—阀芯;4—弹簧;5—盖板;6—阻尼孔;7—阀芯行程调节杆
方向阀插装件的阀芯半锥角α=45°,面积比β=2,即油口作用面积Aa=Ab,油口A、B可双向流动。
压力阀插装件中的减压阀阀芯为滑阀,面积比β=1,即油口作用面积Aa=Ac,Ab=0,油口A出油,溢流阀和顺序阀的阀芯半锥角α=15°,面积比β=1.1,油口A进油,油口B出油。
流量阀插装件为得到好的压力流量增益,常把阀芯设计成带尾部的结构,尾部窗口可以是矩形,也可以是三角形,面积比β=1或β=1.1,一般油口A进油,油口B出油。
2)插装阀的控制盖板
控制盖板由盖板内嵌装各种微型先导控制元件(如梭阀、单向阀、插式调压阀等)及其他元件组成。内嵌的各种微型先导控制元件与先导控制阀结合可以控制插装件的工作状态,在控制盖板上还可以安装各种检测插装件工作状态的传感器等。根据控制功能不同,控制盖板可以分为方向控制盖板、压力控制盖板和流量控制盖板三大类。当具有两种以上功能时,称为复合控制盖板。控制盖板主要功能是固定插装件、建立控制油路与主阀控制腔之间的联系等。
3)插装阀的先导控制阀
插装阀的先导控制阀是指安装在控制盖板上(或集成块上),对插装件动作进行控制的小通径控制阀,主要有6mm和10mm通径的电磁换向阀、电磁球阀、压力阀、比例阀、可调阻尼器、缓冲器及液控先导阀等。当主插件通径较大时,为了改善其动态特性,也可以用较小通径的插装件进行两级控制。先导控制元件用于控制插装件阀芯的动作,以实现插装阀的各种功能。
4)集成块
集成块用来安装插装件、控制盖板和其他控制阀,以及沟通主要油路。
2.插装阀的应用
1)插装方向控制阀
同普遍液压阀相类似,插装阀与换向阀组合,可形成各种形式的插装方向阀。图5-68所示为几种插装方向阀的示例。
(1)插装单向阀如图5-68(a)所示,将插装阀的控制油口C与A口或B口连接,形成插装单向阀。若C口与A口连接,则阀口B到A口导通,A口到B口不通;若C口与B口连接,则阀口A到B口导通,B口到A口不通。
(2)电液控单向阀如图5-68(b)所示,当电磁阀不通电时,B口与C口连通,此时只能从A口到B口导通,B口到A口不通;当电磁阀通电时,C口通过电磁阀接油箱,此时A口与B口可以两方向导通。
(3)二位二通插装换向阀如图5-68(c)所示,当电磁阀不通电时,A口与B口关闭;当电磁阀通电时,A口与B口导通。
(4)二位三通插装换向阀如图5-68(d)所示,当电磁阀不通电时,A口与T口导通,P口关闭;当电磁阀通电时,P口与A口导通,T口关闭。
(5)三位三通插装换向阀如图5-68(e)所示,当电磁阀不通电时,控制油液使二个插装件关闭,P口、T口、A口互不连通;当电磁阀左电磁铁通电时,P口与A口导通,T口关闭;当电磁阀右电磁铁通电时,A口与T口导通,P口关闭。
(6)二位四通插装换向阀如图5-68(f)所示,当电磁阀不通电时,P口与B口导通,A口与T口导通;当电磁阀通电时,P口与A口导通,B口与T口导通。
(7)三位四通插装换向阀如图5-68(g)所示,当电磁阀不通电时,控制油液使四个插装件关闭,P口、T口、A口、B口互不连通;当电磁阀左电磁铁通电时,P口与A口导通,B口与T口导通;当电磁阀右电磁铁通电时,P口与B口导通,A口与B口导通。
根据需要还可以组成具有更多位置和不同机能的四通换向阀。例如一个由二位四通电磁阀控制的三通阀和一个由三位四通电磁阀控制的三通阀组成的四通阀则具有6种工作机能。如果用两个三位四通电磁阀来控制,则可构成一个九位的四通换向阀。
如果4个插装件各自用一个电磁阀进行分别控制时,就可以构成一个具有12种工作机能的四通换向阀。这种组合形式机能最全、适用范围最广、通用性最好,但是应用的电磁阀数量最多,对电气控制的要求较高,成本也高。在实际使用中,一个四通换向阀通常不需要这么多的工作机能,所以,为了减少电磁阀数量,减少故障,应该多采用上述的只用一个或两个电磁阀集中控制的形式。

图5-68 插装方向控制阀
2)压力控制插装阀
采用带阻尼的插装阀芯并在控制口C安装压力控制阀,就组成了图5-69所示的各种插装式压力控制阀。
(1)图5-69(a)所示为插装式溢流阀,用直动式溢流阀来控制油口C的压力,当油口B接油箱时,阀口A处的压力达到溢流阀控制口的调定值后,油液从B口溢流,其工作原理与传统的先导式溢流阀完全一样。
(2)图5-69(b)所示为插装式电磁溢流阀,溢流阀的先导回路上再加一个电磁阀来控制其卸荷,便构成一个电磁溢流阀,这种形式在二通插装阀系统中是很典型的,它的应用极其普遍。电磁阀不通电时,系统卸荷;通电时溢流阀工作,系统升压。
(3)图5-69(c)所示为插装式卸荷溢流阀,用卸荷溢流阀来控制油口C的压力,当远控油路没有油压时,系统按溢流阀调定的压力工作;当远控油路有控制油压时,系统卸荷。
(4)图5-69(d)所示为插装式减压阀,当A口的压力低于先导溢流阀调定的压力时,A口与B口直通,不起减压作用;当A口压力达到先导溢流阀调定的压力时,先导溢流阀开启,减压阀芯动作,使B口的输出压力稳定在调定的压力。
(5)图5-69(e)所示为插装式远控顺序阀,B口不接油箱,与负载相接,先导溢流阀的出口单独接油箱,就成为一个先导式顺序阀。当远控油路没有油压时,就是内控式顺序阀;当远控油路有控制油压时,就是远控式顺序阀。

图5-69 插装式压力控制阀
(6)图5-69(f)所示为插装双级调压溢流阀,用两个先导溢流阀控制一个压力插装件,用一个三位四通换向阀控制两个先导阀的导通,更换不同中位机能的换向阀,就有不同的控制方式。
3)插装式流量阀
控制插装件阀芯的开启高度就能使它起到节流作用。如图5-70(a)所示,插装件与带行程调节器的盖板组合,由调节器上的调节杆限制阀芯的开口大小,就形成了插装式节流阀。若将插装式节流阀与定差减压阀连接,就组成了插装式调速阀,如图5-70(b)所示。

图5-70 插装式流量阀
总之,插装阀经过适当的连接和组合,可组成各种功能的液压控制阀。实际上插装阀系统是一个集方向、流量、压力于一体的复合油路,一组插装油路也可以由不同通径规格的插装件组合,也可与普通液压阀组合,组成复合系统;也可以与比例阀组合,组成电液比例控制的插装阀系统。
5.5.2 叠加阀
叠加阀是叠加式液压阀的简称。叠加阀是在集成块的基础上发展起来的一种新型液压元件。叠加阀的结构特点是阀体本身既是液压阀的机体,又具有通道体和连接体的功能。使用叠加阀可实现液压元件间无管化集成连接,使液压系统连接方式大为简化,系统紧凑,功耗减少,设计安装周期缩短。
目前,叠加阀的生产已形成系列化。每一种通径系列的叠加阀的主油路通道的位置、直径,安装螺钉的大小、位置、数量都与相应通径的主换向阀相同。因此,每一通径系列的叠加阀都可叠加起来组成相应的液压系统。
在叠加式液压系统中,一个主换向阀及相关的其他控制阀所组成的子系统可以叠加成一阀组,阀组与阀组之间可以用底板或油管连接形成总液压回路。因此,在进行液压系统设计时,完成了系统原理图的设计后,还要绘制成叠加阀式液压系统图。为便于设计和选用,目前所生产的叠加阀都给出其型谱符号。有关部门已颁布了国产普通叠加阀的典型系列型谱。
叠加阀根据工作性能,可分为单功能叠加阀和复合功能叠加阀两类。
1.单功能叠加阀
单功能叠加阀与普通液压阀一样,也具有压力控制阀(如溢流阀、减压阀、顺序阀等)、流量阀(如节流阀、单向节流阀、调速阀等)和方向阀(如换向阀、单向阀、液控单向阀等)。为便于连接形成系统,每个阀体上都具备P、T、A、B四条以上贯通的通道,阀内油口根据阀的功能分别与自身相应的通道相连接。为便于叠加,在阀体的结合面上,上述各通道的位置相同。由于结构的限制,这些通道多数是精密铸造成型的异型孔。
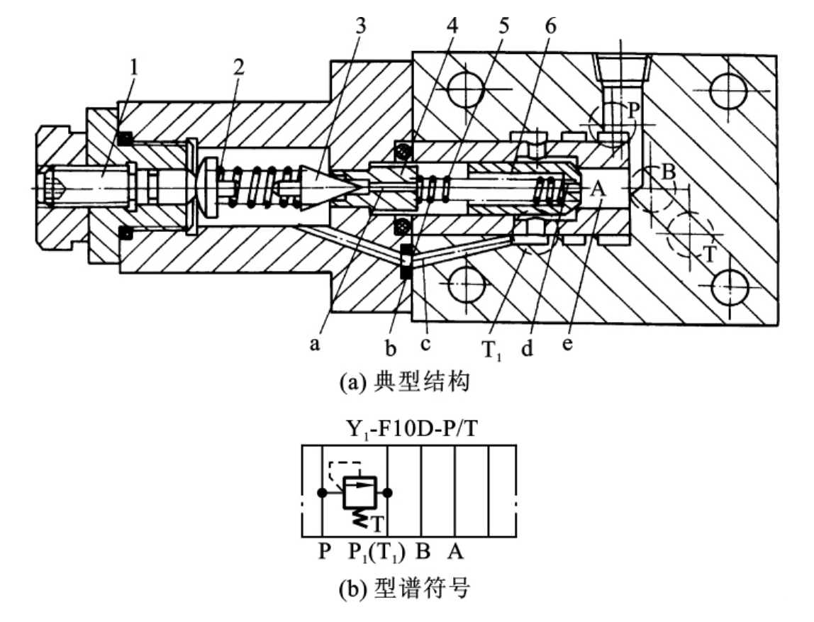
单功能叠加阀的控制原理、内部结构,均与普通同类板式液压阀相似,为避免重复,在此仅以Y1型溢流阀为例,说明叠加阀的结构特点。
图5-71所示为先导叠加式溢流阀。图中先导阀为锥阀,主阀芯为前端是锥形面的圆柱体。压力油从阀口P进入主阀芯右端e腔,作用于主阀芯6右端,同时通过小孔d进入主阀芯左腔b,再通过小孔a作用于锥阀芯3上。当进油口压力小于阀的调整压力时,锥阀芯关闭,主阀芯无溢流;当进油口压力升高,达到阀的调整压力后,锥阀芯打开,液流流经小孔d、a到达出油口T1,液流流经阻尼孔d时产生压力降,使主阀芯两端产生压力差,此压力差克服弹簧力使主阀芯6向左移动,主阀芯开始溢流。调节螺钉1,可压缩弹簧2,从而调节阀的调定压力。图5-71(b)所示为叠加式溢流阀的型谱符号。

图5-71 先导叠加式溢流阀
1—螺钉;2、5—弹簧;3—锥阀芯;4—锥阀座;6—主阀芯
2.复合功能叠加阀
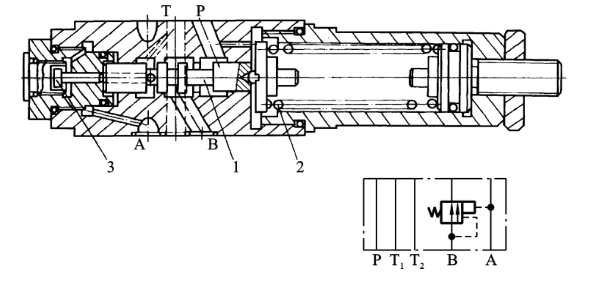
复合功能叠加阀又称之为多机能叠加阀。它是在一个控制阀芯单元中实现两种以上的控制机能的叠加阀。在此以顺序背压叠加阀为例,介绍复合叠加阀的结构特点。

图5-72 顺序背压叠加阀
1—主阀芯;2—调压弹簧;3—控制活塞
图5-72所示为顺序背压叠加阀,其作用是在差动系统中,当执行元件快速运动时,保证液压缸回油畅通;当执行元件进入工进工作过程后,顺序阀自动关闭,背压阀工作,在油缸回油腔建立起所需的背压。该阀的工作原理为:当执行元件快进时,A口的压力低于顺序阀的调定压力值,主阀芯1在调压弹簧2的作用下,处于左端,油口B液流畅通,顺序阀处于常通状态。执行件进入工进后,由于流量阀的作用,使系统的压力提高,当进油口A的压力超过顺序阀的调定值时,控制活塞3推动主阀芯右移,油路B被截断,顺序阀关闭,此时B腔回油阻力升高,压力油作用在主阀芯上开有轴向三角槽的台阶左端面上,对阀芯产生向右的推力,主阀芯1在A、B两腔油压的作用下,继续向右移动使节流阀口打开,B腔的油液经节流口回油,维持B腔回油并保持一定的压力值。
5.5.3 数字阀
用数字信息直接控制阀口的开启和关闭,从而实现液流压力、流量、方向控制的液压控制阀,称为电液数字阀,简称数字阀。数字阀可直接与计算机的数据口连接,不需要D/A转换器。数字阀与伺服阀和比例阀相比,其结构简单、工艺性好、价格低廉、抗污染能力强、工作稳定可靠、功耗小。在计算机实时控制的电液系统中,数字阀已部分取代比例阀或伺服阀,为计算机在液压领域的应用开拓了一个新的途径。
1.数字阀的工作原理与组成
对计算机而言,最普通的信号是量化为两个量级的信号,即“开”和“关”。用数字量来控制阀口的方法很多,常用的是由脉数调制(PNM)演变而来的增量式控制法及脉宽调制(PWM)控制法。
增量式数字阀采用步进电机-机械转换器,通过步进电动机,在脉数调制信号的基础上,使每个采样周期的步数在前一个采样周期步数上增加或减少步数,以达到需要的幅值,由机械转换器输出位移控制液压阀阀口的开启和关闭。图5-73所示为增量式数字阀控制系统的框图。

图5-73 增量式数字阀控制系统的框图
脉宽调制式数字阀通过脉宽调制放大器将连续信号调制为脉冲信号并放大,然后输送给高速开关数字阀,以开启时间的长短来控制阀的开口大小。在需要作两个方向运动的系统中,要用两个数字阀分别控制不同方向的运动,这种数字阀用于控制系统的框图如图5-74所示。
以上两种控制方式中步进电动机使用较成熟,国外已有系列产品,脉宽调制式数字阀尚在研制阶段。

图5-74 脉宽调制式数字阀控制系统的框图
2.数字阀的典型结构
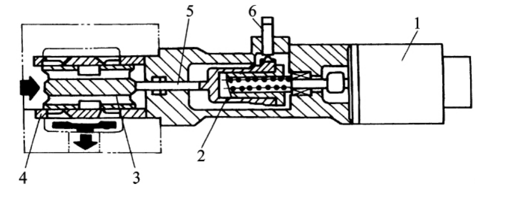
1)数字式流量控制阀
图5-75所示为步进电动机直接驱动的数字式流量控制阀的结构。当计算机给出脉冲信号后,步进电动机1转过一个角度Δθ,作为机械转换装置的滚珠丝杠2将旋转角度Δθ转换为轴向位移Δx直接驱动节流阀阀芯3,开启阀口。步进电动机转过一定步数,可控制阀口的一定开度,从而实现流量控制。

图5-75 数字式流量控制阀的结构
1—步进电动机;2—滚珠丝杠;3—节流阀阀芯;4—阀套;5—连杆;6—零位移传感器
如图5-75所示,开在阀套上的节流口有两个,其中右节流口为非圆周通流,左节流口为全圆周通流。阀芯向左移时先开启右节流口,阀开口较小,移动一段距离后左节流口打开,两节流口同时通油,阀的开口增大。这种节流开口大小分两段调节的形式,可改善小流量时的调节性能。

图5-76 高速开关型数字阀
2)高速开关型数字阀
图5-76所示为力矩马达与球阀组成的高速开关型数字阀。力矩马达得到计算机输入的脉冲信号后,衔铁偏转(图示为顺时针方向),推动球阀2向下运动,关闭压力油口PP,油腔L2连通回油口PR,球阀4在下端压力油的作用下向上运动,开启PP口和PA口。与此同时,球阀1因压力油的作用而处在上边位置,油腔L1与PP口连通,球阀3向下关闭,切断PP口与PR口的通路。如力矩马达衔铁反向偏转,则压力油腔PP口与回油腔PR口连通,油口PA被切断。由此可知,此阀为二位三通换向阀。其工作压力可达20MPa,额定流量为1.2L/min,切换时间为0.8ms。