任务一 发动机的总装
任务目标
1.了解装配发动机所需要的安全操作规程;
2.掌握桑塔纳2000AJR发动机装配工艺。
必备知识
装配是汽车修理和生产的后备阶段。一辆汽车能否可靠的运行,保证良好的动力性和经济性,在很大程度上取决于最终的装配质量。
1.装配的含义
将零件按照一定的顺序和要求相互连接组成部件、总成和整车的过程。
2.安全操作规程
(1)所有零件在组装前必须经过彻底清洗并用压缩空气吹干,经检验确认合格后方可装配。
(2)对于螺纹联接件的安装,应选用合适的开口扳手、梅花扳手或套筒扳手及专用工具,不可使用活动扳手或手钳,以免损伤螺母或螺栓头的棱角。
(3)对重要件的安装,首先要熟悉其结构,并按照合理的工艺规程进行。
(4)在任何零件的加工面上捶击时,都必须垫以软金属或垫棒,不可用锤子直接敲打。
(5)凡是螺栓、螺母所使用的平垫圈、弹簧垫圈、锁止垫圈、开口销、垫片及其他金属索线等,必须按照规定装配齐全;主要螺栓的螺纹稳固时后杆部应伸出螺母1至3扣;一般螺栓允许螺纹不低于螺母上平面,在不防碍使用的情况下,也可高出螺母。
(6)使用手电钻、台钻、砂轮机、空气压缩机等机具时,必须严格遵守有关安全操作规程,防止发生安全事故。
(7)密封部分应防止“三漏”,即漏油、漏气和漏水。
(8)对于出厂前已涂有密封、紧固胶的零件,在重新安装时必须除尽残胶、油污,涂上所规定的密封紧固胶加以密封或紧固。
(9)注意防火、防漏电等。
3.装配过程
1)准备
(1)装前准备对修理和更换的所有零件进行质量检查。
(2)清洁工作对零件表面的油污、尘粒、金属屑等进行清洗,甚至用压缩空气吹干。
2)装配
按一定的顺序和技术要求进行零部件的装合,以保证它们之间的正确装配关系。
3)调试
通过试验对装配后的部件、总成或是对整车进行整体性能试验和运转试验,是检验其装配质量的重要内容。通过试验可以发现是否存在卡滞、异响、过热、渗油等现象。
4.装配顺序
基本原则:以气缸体为装配基础,与拆卸步骤相反,由内到外的逐段装配。
5.装配过程中应注意的问题
(1)不可互换的零件、组合件应按原位安装,不准错乱;对有安装位置要求的零部件,则必须根据记号按方向、部位对准,不得错位;
(2)重要的螺栓、螺母,必须按规定扭紧力矩分次拧紧(注意次序、方向);
(3)重要部位的间隙必须符合装配标准规定(如活塞与缸壁间隙、气门间隙等);
(4)在装配过程中,应尽量用专用工具,以防零件受损;在装配过盈配合组件时,则应使用专用压力机和夹具;
(5)装配有相对运动的零件,在装配时应涂上润滑油。
6.桑塔纳2000AJR发动机主要螺栓螺母拧紧力矩

任务实施
桑塔纳2000AJR发动机装配
1.考核标准

(续表)

2.相关设备
(1)常用拆装工具套(包括开口扳手、梅花扳手、套筒扳手、活动扳手、内六方扳手、钢丝钳、尖嘴钳、一字起子、十字起子、手锤、扭力扳手、橇棒、冲头等)。
(2)气门拆装钳、活塞环卡箍、桑塔纳专用拆装工具。
(3)机油、D6粘结剂、棉纱等。
3.注意事项
(1)在操作中要注意个人以及他人的人身安全;
(2)正确使用工具、量具,避免误伤;
(3)任何螺栓螺母都要按照规定要求和力矩上紧,以防损伤发动机;
(4)零件要摆放整齐,并按照类别区分摆放。
4.实施步骤
1)曲轴飞轮组的安装(如图10-1所示)
(1)将各道曲轴主轴承上瓦片放入轴承座内,并涂上机油;
(2)将曲轴平稳放入轴承内,然后将带有下瓦片主轴承的轴承盖对号装在相应的轴承座上。
(3)主轴承盖螺栓安装遵循“从中间向两边、对角、多次”原则。拧紧力矩为65N·m+ 90°每上紧一道主轴承,转动曲轴几周,查看有无阻滞现象。

图10-1 曲轴飞轴组的安装
2)活塞连杆组的安装(如图10-2所示)
(1)用活塞环拆装钳装上活塞环。注意:活塞环的装配标记“TOP”必须朝上。在活塞环上涂以润滑油,再将第一压缩环的开口方向与第二道压缩环的开口方向错开180°,第一道环开口方向与活塞销中心错开45°,油环的两片刮片的开口方向互相错开180°,油环刮片开口方向与压缩环的开口方向错开90°。
(2)在各缸壁内涂以润滑油,再分别在活塞裙部、活塞销和连杆轴承表面涂以润滑油。
(3)转动曲轴使1.4缸连杆轴颈处于下方位置,再将这两缸的活塞连杆组件装入气缸。注意:连杆的朝前标记必须朝向发动机同步带端。
(4)用活塞环包箍抱紧活塞环后,再用锤柄或木棒将活塞连杆组轻轻打入气缸中。当连杆大头接近曲轴轴颈时,要用手托住连杆大头,并继续敲击活塞顶部,使之装配到位。
(5)安装时连杆螺栓时,拧紧力矩为30N·m,不要再加90°。注意:连杆轴承盖的标记应朝向发动机同步带端。
(6)以同样的方法和要求装复2.3缸的活塞连杆组件。

图10-2 活塞连杆组的安装
3)机油泵的安装(如图10-3所示)
(1)将销钉插入到机油泵上端,机泵轴与链轮只能有一个安装位置。
(2)用22N·m的力矩拧紧链轮与机油泵的紧固螺栓,用16N·m的力矩拧紧机油泵与气缸体的紧固螺栓。

图10-3 机油泵的安装
4)油底壳的安装(如图10-4所示)
(l)更换油底壳衬垫。
(2)交替对角拧紧油底壳与气缸体的紧固螺栓。

图10-4 油底壳的安装
5)气缸盖的安装(如图10-5所示)
(1)在安装气缸盖之前,要将曲轴转动到第一缸的上止点位置。
(2)安装气缸盖衬垫时,有标号(配件号)的一面必须可见。
(3)按拆装的相反顺序分次拧紧缸盖螺栓,拧紧力矩40N·m,然后再用扳手拧紧180°。

图10-5 气缸盖的安装
6)凸轮轴的安装(如图10-6所示)
(1)安装凸轮轴时,第一缸凸轮必须朝上。安装前放上轴承盖,确定安装位置(注意孔的上下两半部要对准)。凸轮轴转动时,曲轴不可置于上止点位置,否则会损坏气门和活塞顶部。
(2)先对角交替拧紧第2.4号轴承盖螺栓,拧紧力矩为20N·m。
(3)装上第1、3、5号轴承盖,拧紧力矩为20N·m。
(4)装入凸轮轴正时齿带轮并紧固,拧紧力矩为80N·m。

图10-6 凸轮轴的安装
7)水泵的安装(如图10-7所示)
(1)清洁O形密封圈的密封表面,用冷却液浸湿新的O形密封圈。
(2)水泵罩壳上的凸耳朝下。
(3)安装同步带后防护罩。
(4)拧紧水泵螺栓至15N·m。

图10-7 水泵的安装
8)机油滤清器的安装(如图10-8所示)
(1)用专用工具安装机油滤清器。
(2)安装新滤清器时,应在密封圈上涂上干净的机油。
(3)用手轻轻拧进机油滤清器,直到感觉有阻力为止,再用专用工具重新拧紧机油滤清器3/4圈。

图10-8 机油滤清器的安装
9)节温器的安装(如图10-9所示)
(1)清洁O形密封圈的密封表面。
(2)节温器的感温部分必须在气缸体内。
(3)用冷却液浸湿新的O形密封圈。

图10-9 节温器的安装
10)正时齿带安装(如图10-10所示)
(1)转动曲轴,使曲轴不在上止点的位置,以免损坏气门及活塞。
(2)将凸轮轴正时齿带轮上的标记对准正时齿带防护罩上的标记。
(3)检查曲轴正时齿带轮上止点记号与参考标记是否对准。
(4)将正时齿带安装到曲轴正时齿带轮和水泵上,注意安装位置。
(5)将正时齿带安装到张紧轮和凸轮轴正时齿带轮上。注意半自动张紧轮的位置,定位块必须嵌入气缸盖上的缺口内。
(6)使用卡簧钳将半自动张紧轮逆时针转动,直到指针1与缺口2对齐为止。然后以15N·m的力矩拧紧张紧轮固定螺母。
(7)用手转动曲轴,检查并调整。
(8)安装正时齿带下防护罩、曲轴正时齿带轮、正时齿带上部和中间防护罩。

图10-10 正时齿带安装
11)其他附件的安装
安装附件时注意各螺栓和螺母的拧紧力矩要符合规定要求。
应该安装进排歧管。在气缸盖侧面安放好进排气歧管衬垫(翻边朝向进排气歧管)。
任务报告
理论习题
1.装配的定义是什么?
2.发动机装配过程分哪三步?
识图
1.曲柄连杆机构图知

2.配气机构图知

3.汽油机燃油供给系图知

4.冷却系图知

5.润滑系图知

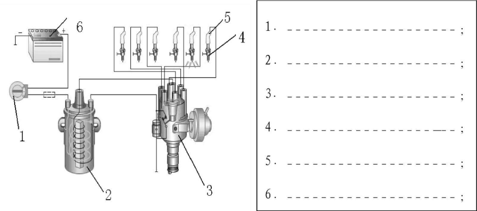
6.点火系图知

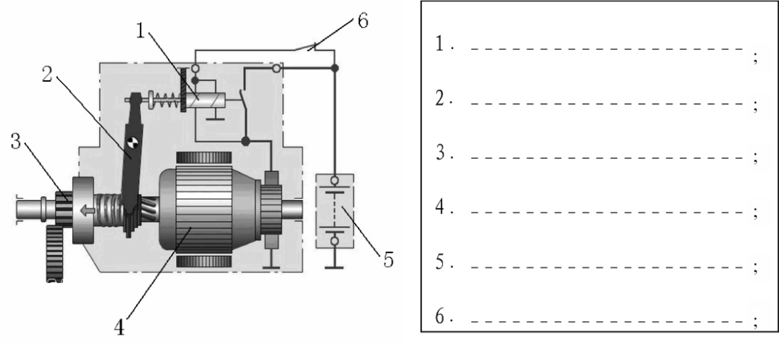
7.启动系图知

实训报告
实训题目:_______________________________________
实验时间:_______________________________________
实训人员姓名:___________________________________
仪器、设备准备:_________________________________
实训过程、步骤、现象:___________________________
实训成果及分析:_________________________________
实训体会或实训建议:_____________________________
任务评价

教师签名:____________学生签名:___________
日期:___________