任务一 润滑系的维护与保养
任务目标
1.掌握润滑系的功用及其基本组成;
2.学完本任务要能说出润滑系的工作原理、滤清方式;
3.通过实际操作学会对润滑系进行维护与必要的保养。
必备知识
发动机润滑系是发动机正常运行的一个重要保障系统,其主要作用是润滑、冷却、清洗、密封、减振、防锈。润滑系工作不正常,将引起摩擦阻力增加,机件磨损加快,甚至在短时间内造成发动机损坏。因此,要使汽车能够正常运行,必须保证润滑系处于正常工作状态。
1.润滑系的功用
汽车发动机润滑系的功用:
(1)润滑
可使发动机内部运动零件表面之间的干摩擦变为液体摩擦,减少零件表面摩擦、磨损和摩擦功率损失。
(2)冷却
润滑油经过摩擦表面,带走摩擦副产生的6%~14%的热量,维持零件正常的工作温度。
(3)清洗
利用润滑油冲洗零件表面,带走零件的磨损磨屑和其他杂质。
(4)密封
利用润滑油的黏性,附在互相运动零件的表面之间,提高间隙密封效果,如活塞环、活塞裙部表面与气缸壁之间的环形间隙,形成油膜,从而减少了漏气和窜油。
(5)防锈
润滑油吸附在零件表面形成的油膜,阻隔零件与大气中的水、燃烧时产生的酸性气体接触,防止零件的生锈。
(6)减振
具有相对运动的零件,其表面的油膜在加速以及负荷增加时,可吸收部分冲击能量,起到缓冲、减震的作用。
2.润滑系的润滑方式与滤清方式
1)润滑系的润滑方式
发动机按润滑油供应方式不同,其润滑方式有:压力润滑、飞溅润滑、压力飞溅复合润滑等。
发动机工作时,因为发动机各运动零件的工作条件不同,所要求的润滑强度也不同,所以要相应地采取不同的润滑方式。曲轴主轴承、连杆轴承及凸轮轴轴承等处承受的负荷及相对运动速度较大,需要将一定的压力油输送到摩擦表面上,才能形成油膜而润滑,这种润滑方式称为压力润滑。而利用发动机工作时运动零件飞溅起来的油滴或油雾润滑摩擦表面的润滑方式,称为飞溅润滑。这种方式可润滑相对滑动速度较小的部位,如活塞销、配气机构的凸轮表面等。
2)润滑系的滤清方式
四冲程发动机一般设有润滑油滤清装置,润滑油滤清方式通常有三种形式:全流式、分流式、并用式。
润滑油滤清方式示意图,如图4-1所示。其中(a)图为全流式滤清方式,即滤清器与主油道串联的滤清方式。从机油泵1压送出的油全部经过滤清器3供给各个摩擦部位,润滑油得到较好的清洁,若滤清器被堵塞,就会出现润滑不良的后果,因此和滤清器并联一个旁通阀2,其作用是当滤清器被堵塞时,可越过滤清器向各摩擦部位供油。(b)图为分流式滤清方式,仅将油路中的一部分油滤清,即滤清器与主油道并联的滤清方式。(c)图为并用式滤清方式,也就是将全流式与分流式混合使用。

1—机油泵;2—旁通阀;3—滤清器
图4-1 润滑油滤清方式示意图
3.润滑系的组成
润滑系由油底壳、机油泵、机油滤清器、限压阀、旁通阀、机油压力表、机油标尺等部件组成,如图4-2所示是典型的桑塔纳2000润滑系的组成。
润滑系中必须具有为进行润滑和保证机油循环而建立足够油压的机油泵、贮存润滑油的容器——油底壳、润滑油管以及在发动机机体上加工出的一系列润滑油道的循环油道;并且,油路中还必须有限制最高油压的装置——限压阀,它既可以附于机油泵中,也可以单独设置。这样才能使发动机得到必要的润滑。
发动机的润滑系统中还必须加装机油滤清器。因为发动机在工作过程中,会将混有发动机零件的金属磨屑和其他机械杂质等,以及机油本身生成的胶质,混入润滑油。这些杂质若随同润滑油进入润滑油路,必将加速发动机零件的磨损,甚至可能堵塞油管或油道,使发动机润滑无法正常进行。

图4-2 桑塔纳2000润滑系的组成
另外,发动机都设有指示润滑油压力的机油压力表及报警装置,如报警灯、蜂鸣器等。这种装置可以使驾驶员随时掌握润滑系的工作状况。
4.润滑系油路
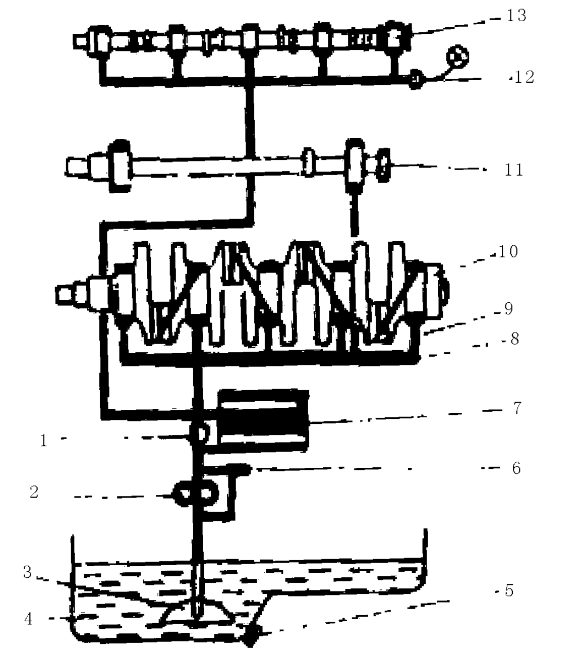
桑塔纳2000型轿车发动机润滑系如图4-3所示。机油泵2通过集滤器3从油底壳4中吸上机油,以防止大的杂质进到机油泵内。当油压过高或流量过大时,由安全阀6旁流一部分回油底壳4。具有一定压力的机油进入滤清器7进一步滤清,大部分进入发动机主油道8,另一小部分压力油首先进入凸轮轴13的轴承,再进入气门机构,之后流回油底壳。进入主油道8的压力油又分成两路:一路经过曲轴内部油道进入连杆大端轴承再经过连杆油道进入连杆小端轴承,最后回油底壳4。另一路则进入中间轴11的轴承(AJR发动机已取消中间轴),然后回油底壳4。如果机油滤清器阻塞,机油能短路直接进入主油道,不影响发动机正常工作。主油道上有5条分油道,对准5个主轴承。缸盖上凸轮轴总油道尾端,也是整个压力油润滑路线的终端,在此装有一只开关,即最低压力报警开关,动作压力为30kPa。桑塔纳2000型轿车发动机润滑系统的循环路线,如图4-4所示。

1—旁通阀;2—机油泵;3—集滤器;4—油底壳;5—放油塞;6—安全阀;7—机油滤清器;8—主油道;9—分油道;10—曲轴;11—中间轴;12—压力开关;13—凸轮轴
图4-3 桑塔纳2000型发动机润滑系示意图

图4-4 桑塔纳2000型轿车发动机润滑系的循环路线
知识链接
在某些高级轿车上润滑油还起着控制的作用,即利用润滑油的油压进行功能切换控制,以提高发动机的性能,如液力挺柱、可变配气相位与气门升程的控制机构等。
汽车发动机润滑系所用的润滑剂有润滑油(机油)和润滑脂(黄油)两种。在这里我们只简单介绍一下润滑油。
润滑油是由石油炼制而成的,一般是通过加热蒸馏得到的,加热的温度范围为350℃~500℃,此时的石油馏出物称为润滑油。
润滑油的主要性能指标有:黏度、温度-黏度特性、低温性、安定性、腐蚀性。
发动机机油的选择应兼顾使用性能级别的选择和黏度级别的选择两个方面:
1)使用性能级别的选择
发动机机油使用性能级别的选择,主要根据发动机的性能、结构、工作条件和燃料品质。因此发动机的机油使用性能级别的选择一般应考虑以下因素:
(1)发动机压缩比、排量、最大功率、最大扭矩。
(2)发动机机油负荷,即发动机功率(kW)与曲轴箱机油容量(L)之比。
(3)曲轴箱强制通风、废气再循环等排气净化装置的采用对发动机机油的影响。
(4)城市汽车时开时停等运行工况对生成沉积物和机油氧化的影响等。
2)黏度级别的选择
发动机机油黏度级别的选择,主要是根据气温、工况和发动机的技术状况。
发动机机油的黏度要保证发动机低温易于启动,而走热后又能维持足够黏度,以保证发动机正常润滑。
在选择机油黏度的时候我们还要考虑汽车的工况,重载低速和高温下应选择黏度较大的发动机机油;轻载高速时应选择黏度较小的发动机机油;磨损严重的发动机应选择黏度较大的发动机机油。
发动机机油黏度级别选择的参考资料如表4-1所示:
表4-1 SAE黏度级号适用的范围

注:SAE——美国汽车工程师学会 W——冬用机油系列代号
在发动机工作时,还会有少量未燃烧的混合气和废气经活塞环窜到曲轴箱内,为不影响发动机正常工作,必须在发动机内加设曲轴箱通风系统。若发动机没有曲轴箱通风系统,那么在正常工作时引起的后果如下:
(1)窜入曲轴箱内的汽油蒸汽凝结后导致机油变稀,机油性能变差;
(2)废气中的水蒸气凝结在机油中形成泡沫,破坏机油的供给;
(3)废气中的二氧化硫遇水则生成亚硫酸,亚硫酸再遇到空气中的氧而生成硫酸,会腐蚀、损坏发动机零件;
(4)使曲轴箱内的压力增大,破坏发动机的密封,导致发动机的渗漏等。
从减少摩擦零件的磨损与腐蚀、延长机油的使用期限、防止发动机渗漏等方面出发,必须对发动机的曲轴箱进行通风,抽出曲轴箱内的混合气和废气,因此常见的曲轴箱通风方式有以下两种:
(1)自然通风:即把曲轴箱内抽出的气体直接排入大气中去;
(2)强制通风:即把曲轴箱内抽出的气体导入发动机的进气管内。
现代汽车发动机曲轴箱一般都是采用强制通风。这样可以回收使用窜入曲轴箱内的混合气、提高发动机的经济性、减少排放污染等。
任务实施
1.考核标准

2.实训设备
1.桑塔纳2000试验车辆。
2.桑塔纳专用工具和常用工具各一套。
3.机油滤清器、相配的机油。
3.注意事项
(1)正确使用举升机
①应按汽车使用说明书规定的托举位置支车。
②除下降过程外其余时间被动立柱上的保险手柄必须置于工作状态。
③下降作业时应检查车辆下部,必须保证车下无人和物。
④车下作业时,禁止过度用力推动车辆,以防汽车从撑脚上滑下。
⑤若有上横梁的举升器,在其上升过程中应注意车辆上部不能与横梁相撞。
(2)车辆热车操作时,应注意自我保护,避免被热机油烫伤。
(3)释放废机油时,应做好承接工作,避免溅在脸部或身上,或弄脏环境。
(4)正确使用有关工具,避免误伤。
(5)零件要摆放好,不准乱丢。
4.实施步骤
1)检查机油液面
(l)车辆必须处于水平位置。
(2)启动发动机1分钟左右,使机体内机油处于温热状态(即60℃左右)。
(3)关闭点火开关,使发动机停机,等待几分钟以使机油回流到油底壳中。
(4)拔出机油标尺。
(5)将机油标尺擦拭干净,并将它重新插回到油标尺套管中。
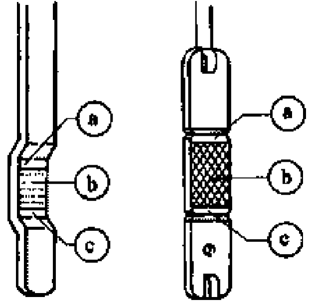
(6)拔出机油标尺,并察看上面显示的油位,如图4-5所示。

a—过高的油位;b—适当的油位;c—过低的油位
图4-5 检查机油液面高度
(7)根据机油标尺所显示的液面高度,采取相应的措施
①液面高度过高,必须释放出多余的机油,否则将会影响发动机正常工作。
②液面高度过低,必须添加适量的机油,否则将会导致整个发动机的润滑不良。
(8)将机油标尺完全插回到发动机中。
2)更换机油及滤清器
(l)将车辆停在举升器中间。
(2)使举升器的四个举升臂分别与车辆前后支撑点相接触,如图4-6所示。

图4-6 汽车举升示意图
(3)举升车辆,当车辆的四个轮胎被举升至刚好离开地面时,用两手轻推车身,检查车辆支撑是否牢固。
(4)启动发动机,并将转速控制在2000r/min,保持1分钟左右。目的使得发动机油道、油底壳中沉淀的杂质能够混在即将被释放的机油中。
(5)关闭点火开关,使发动机停转。
(6)打开并支撑好发动机罩盖。
(7)拧下发动机加油口盖。
(8)将车辆举升到所需高度后,检查各支点的固定情况,确认安全后再进行下面的作业。
(9)拧松油底壳底部的放油螺塞,如图4-7所示。

图4-7 拧松放油螺塞
(10)相对油底壳放油口调整废油收集器位置和高度。
(11)拧下放油螺塞,放尽发动机内的旧机油。应避免旧机油弄脏维修场地,如图4-8所示。

图4-8 拧下放油螺塞,释放旧机油
(12)待旧机油放尽后,再装回放油螺塞,将放油螺塞拧到规定力矩。
(13)用专用工具拆卸机油滤清器,如图4-9所示。

图4-9 拆卸机油滤清器
(14)擦拭滤清器安装表面及附近的油污。
(15)安装新滤清器时,应在密封圈上涂上干净的机油,如图4-10所示。若不涂机油,安装时密封圈与接合面发生干摩擦,密封圈易翘曲或损坏,造成密封不良而漏油。

图4-10 清洁滤清器座、密封圈上涂机油
(16)用手轻轻拧进机油滤清器,直到感觉有阻力为止,再用专用工具重新拧紧机油滤清器3/4圈,如图4-11所示。

图4-11 拧紧机油滤清器

图4-12 加注新机油
(17)操纵举升器,将车辆降至地面,处于水平位置。
(18)从发动机加油口加注适量新机油,如图4-12所示。加注新机油时应分两到三次加注,每加注一次应抽出机油尺察看机油液位,加油完毕将发动机加油口盖拧紧,并擦拭加油口。
(19)启动发动机1分钟左右,使机体内机油处于温热状态(即60℃左右)。
(20)熄火,继续检查机油液面高度。
(21)将车辆举升到所需高度后,检查机油滤清器、放油螺塞是否有泄漏。
(22)将车辆降至地面,取出举升臂,放下发动机罩盖。
(23)做好车辆、场地的清洁工作。
任务报告
理论习题
1.润滑系的作用是什么?
2.润滑系由哪几部分组成?
3.润滑系的润滑方式有哪些?
4.简述如何更换机油滤清器,在更换机滤的同时应该注意哪些问题?
实训报告
实训题目:_______________________________________
实验时间:_______________________________________
实训人员姓名:___________________________________
仪器、设备准备:_________________________________
实训过程、步骤、现象:__________________
_______________________________________
_______________________________________
_______________________________________
实训成果及分析:________________________
_______________________________________
_______________________________________
_______________________________________
实训体会或实训建议:____________________
_______________________________________
_______________________________________
_______________________________________
任务评价

教师签名:__________学生签名:____________
日期:____________