5.3 底盘的检测
5.3.1 传动系的检测与诊断
汽车底盘包括传动系、行驶系、转向系和制动系。汽车底盘的技术状况,直接关系到整车行驶的操纵稳定性和安全性,同时还影响发动机的动力传递和燃油消耗。
常用的汽车底盘检测设备有:离合器打滑频闪测定仪、传动系游动角度检测仪、车轮定位仪、四轮定位仪、车轮动平衡仪、悬架和转向系检测仪、悬架装置检测台等。随着科学技术的发展,这些检测设备已大量采用光、机、电一体化技术,并采用微机控制,有些还具有智能化功能或专家诊断系统。正确地使用这些检测设备,可以保证在汽车底盘的维修中获得可靠的技术数据,从而保证底盘有效的工作。
传动系包括离合器、变速器、万向传动装置、主减速器及差速器等部件,在汽车运行过程中,传动系功能会逐渐下降,出现异响、过热、漏油及乱挡等故障。对传动系及时进行检测、诊断、维修,可确保汽车正常运行和安全行驶。
在汽车不解体的情况下,使用仪器既可以检测传动系的技术参数,如滑行距离、功率消耗和游动角等,还可以对传动系的主要部件进行检测诊断,如离合器是否打滑、各部分游动角、各部分异响和变速器是否跳挡等。
(1)传动系滑行距离的检测
传动系滑行距离可在惯性式底盘测功试验台上进行检测,也可用五轮仪在道路试验中进行。测试前要求发动机运行至正常温度,当试验速度达到设定滑行初速度时,变速器置空挡,滑行到车轮停转为止,测出滑行距离和滑行时间即可。
(2)传动系功率消耗的检测
传动系功率消耗可在惯性式底盘测功试验台上进行检测。在测完驱动车轮的输出功率后,立即踏下离合器踏板,利用试验台的惯性反拖传动系运转,即可测出在一定车速下的传动系消耗功率。
(3)传动系游动角度的检测
汽车传动系游动角度常用指针式游动角度检测仪和数字式游动角度检测仪进行检测。
1)指针式游动角度检测仪及检测方法
①仪器的结构与工作原理
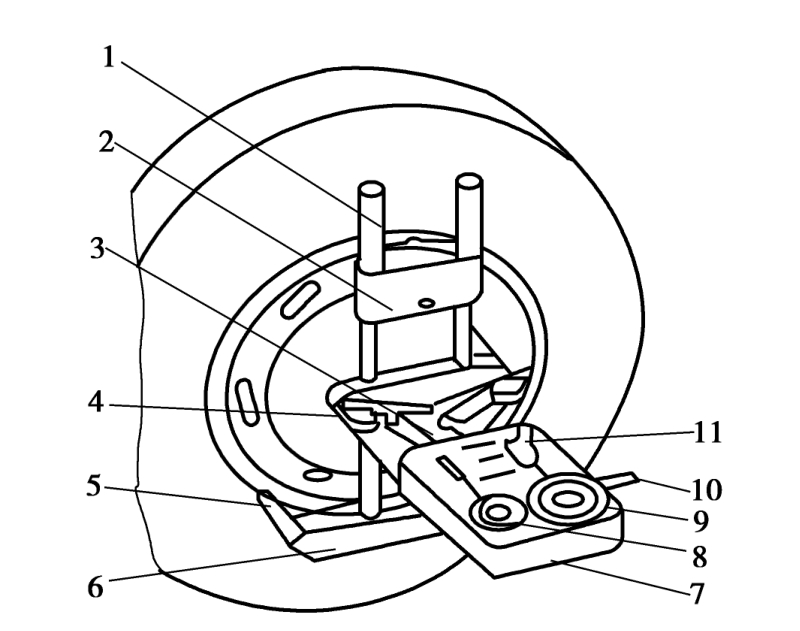
指针式游动角度检测仪是由指针、刻度盘、测量扳手等组成。在测量过程中,指针固定在驱动桥主动轴上,刻度盘固定在主减速器壳上,如图5-53(a)所示。测量扳手一端带有U形卡嘴,以便卡在十字万向节上。为了适应多种车型,卡嘴上带有可更换的钳口。测量扳手另一端有指针和刻度盘,可指示转动扳手的转矩值,如图5-53(b)所示。
检测传动系游动角度时,将检测扳手卡在万向节上,用不小于30N·m的转矩转动,使之从一个极端位置转到另一个极端位置,刻度盘上指针转过的角度即为所测游动角度值。
②仪器的使用方法
a.检测驱动桥的游动角度。变速器挂空挡,驻车制动器松开,驱动轮制动,将测量扳手卡在驱动桥主动轴万向节的从动叉上,即可测得驱动桥的游动角度。

图5-53 指针式游动角度检测仪
1—卡嘴;2—指针座;3—指针;4—刻度盘;5—手柄;6—手柄套筒;7—定位销;8—可换钳口
b.检测万向传动装置的游动角度。与测驱动桥游动角度的方法基本相同,只是扳手卡在变速器后端万向节的主动叉上。此时获得的游动角度减去驱动桥的游动角度,即为万向传动装置的游动角度。
c.检测离合器和变速器的游动角度。放松制动器,离合器处于接合状态,视必要可支起驱动桥。测量扳手仍卡在变速器后端万向节的主动叉上,依次挂入各挡,即可获得不同挡位下从离合器到变速器的游动角度。
对上述三段游动角度求和,即可获得传动系的游动角度。

图5-54 倾角传感器结构示意图
1—弧形线圈;2—弧形铁氧体磁棒;3—摆杆;4—心轴;5—轴承
2)数字式游动角度检测仪及检测方法
数字式游动角度检测仪的检测范围为0°~30°,使用的电源为直流12V。
①仪器的结构与工作原理
数字式游动角度检测仪由倾角传感器和测量仪两部分组成,两者以电缆相连。
a.倾角传感器。倾角传感器的作用是将其外壳随传动轴游动之倾斜角转换为相应频率的电振荡。传感器外壳是一个长方形的壳体,其上部开有V形缺口,并配有带卡扣的尼龙带,因而可方便地固定在传动轴上。传感器壳内的装置如图5-54所示。图中弧形线圈固定在外壳中的夹板上,弧形铁氧体磁棒通过摆杆和心轴支承在夹板的两轴承上,因此可绕心轴轴线摆动。在重力作用下,摆杆与重力方向始终保持某一夹角α0。当传感器外壳倾斜角度不同时,弧形线圈内弧形磁棒的长度亦随之不同,产生的电感量亦不同,因而也就改变了电路的振荡频率。可见,传感器实际上是一个倾角—频率转换器。为使传感器摆动后能迅速处于平衡状态,传感器外壳内装有变压器油。
b.测量仪。测量仪是一台专用的数字式频率计,由于采用了与传感器特性相应的门时和初始置数的措施,因而能直接显示传感器的倾角。
仪器采用PMOS数字集成电路。由传感器送来的振荡信号经计数门进入主计数器,在置成的补数基础上累计脉冲数。计数结束后,在锁存器接收脉冲作用下,将主计数器的结果送入寄存器,并由荧光数码管将结果显示出来,将游动范围内两个极端位置的倾角读出,其差值即为游动角度。
②仪器的使用方法
将测量仪接好电源,用电缆把测量仪和传感器连接好,先按仪器使用说明书的要求对仪器进行自校,再将转换开关扳到“测量”位置上,即可进行实测。在汽车传动系统中,最便于固定倾角传感器的部位是传动轴。因此,在整个检测过程中,该传感器一直固定在传动轴上。
a.万向传动装置的游动角度。把传动轴置于驱动桥游动范围的中间位置或将驱动桥支起,拉紧驻车制动器。左、右旋转传动轴至极端位置,测量仪便直接显示出固定在传动轴上的传感倾斜角度,将两个极端位置的倾斜角度记下,其差值即为万向传动装置的游动角度。此角度不包括传动轴与驱动桥之间的万向节的游动角度。
b.离合器与变速器及各挡的游动角度。放松驻车制动器,将变速器挂入选定挡位,离合器处于接合状态,传动轴置于驱动桥游动范围中间位置或将驱动桥支起。左、右旋转传动轴至极端位置,测量仪便显示出传感器的倾斜角度。求出两极端位置倾斜角度的差值,便可得到一游动角度值。该游动角度减去已测得的万向传动装置的游动角度,即为离合器与变速器在该挡位下的游动角度。按同样方法,依次挂入各挡位,便可测得离合器与变速器各挡位下的游动角度。
c.驱动桥的游动角度。变速器置于空挡位置,松开驻车制动器,踩下制动踏板将驱动轮制动。左、右旋转传动轴至极端位置,即可测得驱动桥的游动角度。该角度包括传动轴与驱动桥之间万向节的游动角度。
对于多桥驱动的汽车,分别将传感器固定在变速器与分动器之间的传动轴、前桥传动轴、中桥传动轴和后桥传动轴上,可以检测每段传动轴的游动角度。
在测量仪上读取数值时应注意,显示的角度值在0°~30°内有效,出现大于30°的情况,可将固定在传动轴上的传感器适当转过一定角度。若其中一极限位置为零度,另一极限位置超过30°,说明该段游动角度已大于30°,超出了仪器的测量范围。
3)诊断参数标准
目前,我国尚无游动角度的诊断参数标准,根据国外资料,中型载货汽车传动系游动角度及各分段游动角度应不大于表5-15所列数据(仅供诊断时参考)。
表5-15 游动角度参考数据

(4)离合器打滑的检测
离合器打滑会使发动机的动力不能有效地传递到驱动轮上,并使离合器磨损加剧、过热、烧焦甚至损坏。使用离合器频闪测定仪可检测离合器是否打滑。
1)测定仪的结构与工作原理
离合器打滑频闪测定仪主要由透镜、闪光灯、电阻器、电容器、传感器和电源等组成,如图5-55所示,电源可采用汽车蓄电池。

图5-55 离合器打滑频闪测定仪
1—环;2—透镜;3—框架;4—闪光灯;5—护板;6、9、11、12、18—隔板;7—电阻器;8、10—电容器;13—二极管;14—支持器;15—座套;16—变压器;17—开关;19—导线;20—传感接头
该仪器由发动机火花塞的高压电极输入电脉冲信号,火花塞每跳火一次,闪光灯就亮一次,闪光频率与发动机转速成正比。离合器不打滑时,传动轴上设定点会与闪亮点同步动作,传动轴似乎处于不转动状态。否则,轴上设定点转速会滞后于闪亮点动作,而说明离合器存在打滑现象。
2)测定仪的使用方法
离合器打滑的检测可以在底盘测功试验台上或车速表试验台上进行,无试验台的可支起驱动轮进行。检测时,在传动轴上作一标记点,变速器应挂入直接挡并踩下加速踏板,使车轮原地运转,必要时可给试验台滚筒增加负荷或使用行车制动器,以增加驱动轮和传动系的负荷。将闪光灯发出的光亮点投射到传动轴上的标记点。若离合器不打滑,传动轴上标记点与光亮点同步。若离合器打滑,则传动轴上标记点与光亮点不同步。
(5)自动变速器的检测
自动变速器由液力变矩器、齿轮变速系统、电子控制系统、液力控制系统和换挡执行器等组成。自动变速器是一个比较复杂的系统,且型号各异,应根据各自结构特点和故障现象进行检测与诊断。
1)自动变速器的检测
自动变速器的检测分为基础检测、失速检测、挡位检测、液压检测和道路试验等,目的是通过检测确定变速器的技术状况,找出故障原因及所在部位,采取相应的措施排除故障。
①常规检测
自动变速器的故障多是由于使用、维修不当造成的。因此首先应对自动变速器进行基本的检测与调整,既可以解决一些由维护不当引起的故障,又可以为进一步故障诊断提供有用的信息。
a.发动机怠速时的检测。发动机处于怠速,达正常水温后,当自动变速器置于“N”位时,发动机的怠速是否在规定的范围内。若怠速过低,当变速器置于“R”“D”“2”或“1”位时,会使汽车产生震动,影响乘坐的舒适性,严重时会使发动机熄火。若怠速过高,则会产生换挡冲击。
b.节气门阀拉线的检测。在自动变速器中,节气门阀拉线连接于节气门阀与发动机上的节气门,通过节气门阀的位移量变化,将发动机节气门开度信号转化成节气门的油压信号。节气门阀拉线的检测主要是检查表征发动机负荷大小的节气门开度,是否准确地反映到自动变速器内部的节气门阀处。
c.选挡机构的检测。驾驶员通过操作选挡控制阀实现换挡。若选挡控制阀处有故障,将使自动变速器不能正常工作。
首先观察选挡机构传动杆件是否变形或有干涉,各连接处是否固定良好等。再将选挡手柄分别挂入每一个挡位,靠手柄上的感觉来判断选挡机构的工作是否正常。如手柄进入每个挡位时是否灵活自如,进入挡位后手柄位置是否正确等。
检测空挡启动开关,看发动机是否只在变速器选挡手柄处于“N”或“P”位时方可启动,以及倒车灯是否仅在选挡手柄处于“R”位时才接通,使倒车灯亮。
检测超速挡控制开关,看自动变速器超速挡是否正常。
检测强制挡开关,看传感器电路部分导线的连接是否良好,强制降挡开关安装及开关接通时的节气门开度是否正常。
d.自动变速器油面高度的检测
检测自动变速器油面高度是否在规定范围之内。
②挡位检测
挡位检测即为检查自动变速器各个挡位的工作情况是否良好,包括手动选挡、手动换挡和前进换挡等。
③失速检测
自动变速器失速检测是在车速为零的状态下,检测发动机转速的试验。其目的是通过测取选挡手柄置于“D”位或“R”位时的失速转速,检查自动变速器和发动机的整体性能。
a.进行失速试验之前,应确认发动机加速性能良好,变速器内的油面及油温正常,脚制动器与驻车制动器的性能良好,并用三角木等将车轮挡住,汽车的周围不应有影响安全的人或障碍物。若车上没有发动机转速表,须加装发动机转速表。
b.试验时拉紧驻车制动器,同时将制动踏板牢牢踩到底,启动发动机,将选挡手柄拉到“D”位,迅速将加速踏板踩到最大加速位置,使发动机转速上升,当发动机转速上升到最大时,记下此时的转速即是失速转速。不同发动机、不同的液力变矩器的失速转速是不同的,但一般失速转速都为1500~3000r/min。
c.进行失速试验时间不能过长,一般应控制在5s之内,即读完数据后应马上放松加速踏板,并在完成试验后让发动机怠速运转几分钟,使变矩器产生的热量散失,然后再关闭发动机或进行下一次实验。实验时应注意倾听发动机及自动变速器内部声音的变化,在实验时随着加速踏板的踩下,发动机和变矩器会发出很大的轰鸣声,但不应该由金属撞击声和尖锐的杂音。
④电控系统元件的检测
检测电控系统线束导线及各接插件是否有短路、断路、搭铁和接触不良等问题,以及各电控元件是否损坏或失效等。电控元件的检测内容和方法根据车型不同而异,这里主要介绍一些通用的元件损坏可能引发的故障和检查方法。
a.车速传感器检测。车速传感器损坏可能使自动变速器只能以一个挡位行驶,不能升挡或不能降挡,严重时出现频繁跳挡。
首先目测传感器有无损伤变形等,然后用万用表测量传感器线圈电阻是否正常。其阻值因车型不同,一般在几百欧姆到几千欧姆之间。
b.换挡电磁阀检测。换挡电磁阀有故障会造成不能换挡。检测线圈是否短路、断路或接触不良。
c.油压控制电磁阀检测。测量电磁阀两端的电阻值,一般为3~5Ω。在电磁阀线圈的两端接上可调电源,改变电压,电磁阀阀芯应移动。
d.控制开关检测。自动变速器的控制开关较多,有超速开关、模式开关、挡位开关、制动开关和强制降挡开关等。一般用万用表测量两端子的通、断情况。挡位开关有多组触点,应分别测量。
e.油温传感器检测。检测油温传感器是否短路或断路,以及传感器的电阻、温度值与标准是否相符。
⑤液压检测
关闭发动机,将变速器置于“P”位置,拆下需要测试油压的接点堵头,再接上油压测试管接头,然后接上油压软管及油压表(量程为0~3MPa)。启动发动机,使变速器处于油压被测状态,检查管接头和油管的连接是否可靠,有无漏油。待变速器的油温达到正常工作温度后,在各种工况下测试并记录油压标定数值,通过比较测量值与标准值的差异,判断系统的工作情况。
⑥道路试验
上述检测均属正常情况下,可以上路进行试验。进行道路实验前,应对汽车外观及安全项目进行检查,并对发动机润滑油和自动变速器油进行检查,使之达到要求。
道路试验一般进行如下项目的检测:
a.起步工况检测。
b.汽车加速驱动传动性能检测。
c.匀速行驶传动系性能检测。
d.大负荷高速行驶传动系性能检测。
e.汽车变速器减速滑行性能检测。
f.自动换挡检测。
g.发动机制动性能检测。
h.强制降挡功能检测。
i.液力变矩器锁止功能检测。
5.3.2 转向系的检测
(1)转向盘自由行程和转向阻力的检测
转向盘自由行程,是指汽车转向轮保持直线行驶位置静止不动时,转动转向盘所测得的游动角度。根据《机动车运行安全技术条件》(GB7258—2004)的规定,最大设计车速大于或等于100km/h的机动车,其转向盘的最大转动量不得大于10°;最大设计车速小于100km/h的机动车,则不得大于15°。
转向盘的转向力,是指在一定行驶条件下,作用在转向盘外缘的圆周力。这两个参数主要用来诊断转向系中各零件的配合状况。该配合状况直接影响到汽车的操纵稳定性和行车安全。因此,对于新车和在用车都必须对其进行该两项参数的检测。
1)转向盘自由行程的检测
转向盘自由行程采用专用检测仪进行检测。简易的转向盘自由行程检测仪如图5-56所示,主要由刻度盘和指针组成。刻度和指针分别固定在转向盘轴管和转向盘边缘上。固定方式有机械式和磁力式两种。

图5-56 简易的转向盘自由行程检测仪
1—指针;2—夹盘;3—刻度盘;4—弹簧;5—连接板;6—固定螺钉
测量时,应使汽车的两转向轮处于直线行驶位置不动,轻轻向左(或向右)转动转向盘至空行程一侧的极端位置(感到有阻力),调整指针指向刻度盘零度。然后,再轻轻转动转向盘至另一侧空行程极端位置,指针所示刻度即为转向盘的自由行程。
2)转向盘转向阻力的检测
转向盘转向阻力采用转向参数测量仪或转向力角仪进行检测。国产ZC-2型转向参数测量仪如图5-57所示,是以微机为核心的智能仪器,可测得转向盘自由转向量和转向力。该仪器由操纵盘、主机箱、连接叉和定位杆4部分组成。操纵盘由螺钉固定在三爪底板上,底板经力矩传感器与3个连接叉相连,每个连接叉上都有一只可伸缩长度的活动卡爪,以便与被测转向盘相连接。主机箱为一圆形结构,固定在底板中央,其内装有口板、微机板、转角编码器、打印机、力矩传感器和电池等。定位杆从底板下伸出,经磁力座吸附在驾驶室内的仪表盘上。定位杆的内端连接有光电装置,光电装置装在主机箱内的下部。

图5-57 ZC-2型转向参数测量仪
1—定位杆;2—固定螺钉;3—电源开关;4—电压表;5—主机箱;6—连接叉;7—操纵盘;8—打印机;9—显示器
测量时,把转向参数测量仪对准被测转向盘中心,调整好3个连接叉上伸缩卡爪的长度,与转向盘连接并固定好。转动操纵盘,转向力通过底板、力矩传感器、连接叉传递到被测转向盘上,使转向盘转动以实现汽车转向。此时,力矩传感器将转向力矩转变成电信号,而定位杆内端连接的光电装置则将转角的变化转变成电信号。这两种电信号由微机自动完成数据采集、转角编码、运算、分析、存储、显示和打印。因此,使用该测量仪既可测得转向盘的转向力,又可测得转向盘的自由转动量。
转向力角仪与转向参数测量仪结构类似,一般都是具有检测转向盘转向力和转向角的功能,所以也完全可以用来检测转向盘的自由转动量。
(2)车轮定位的检测
汽车车轮定位的检测有静态检测法和动态检测法两种类型。静态检测法是在汽车停止的状态下,使用测量仪器对车轮定位进行几何角度的测量。动态检测是在汽车以一定车速行驶的状态下,用测量仪器检测车轮定位产生的侧向力或由此引起的车轮侧滑量。
1)静态检测方法及定位仪的类型
车轮定位值的静态检测法,是根据车轮旋转平面与各定位角间存在的直接或间接的几何关系,用专用的检测设备测量其是否符合规定。使用的检测设备有气泡水准式、光学式、激光式、电子式和微机式等车轮定位仪。
气泡水准式定位仪由于具有结构简单、价格低廉、便于携带等优点,在国内获得广泛应用,但是也有安装和测试费时费力等缺点。
光学式车轮定位仪一般由转盘、支架、车轮镜和投光装置等组成。投光装置(由投光器和投影屏组成)也像水准仪一样安装在支架上,支架固定在轮辋上。该定位仪利用光学投影原理,将车轮纵向旋转平面与车轮定位的关系投影到带有指示刻度的投影屏上,从而测得车轮定位值。
激光式车轮定位仪的检测原理与光学式相同,只不过采用的是激光投影系统,因而在强烈的阳光下也能清楚地从投影屏读出测量数据。
电子式车轮定位仪则是在光学式和激光式的基础上,由投影屏刻度显示转变为显示屏数字显示。
微机式车轮定位仪比以上几种车轮定位仪先进,目前国内外生产的定位仪多以这种类型为主,且一般为四轮定位仪,可同时检测前、后轮的定位参数。微机式车轮定位仪由于采用微电脑技术和精密传感测量技术,并备有完整齐全的配套附件,所以具有测量准确和操作简便等优点。它一般由微机主机、显示器、操作键盘、转盘、支架、打印机和遥控器等组成,往往制成可移动台式。它由安装在车轮上的传感器把车轮定位角的几何关系转变成电信号,送入微机分析判断,然后由显示屏显示和打印机打印输出。测试过程中,可通过操作全功能红外线遥控器,在汽车的任何位置实现远距离的测试控制。
2)气泡水准式定位仪及使用方法
①气泡水准式定位仪结构简介
气泡水准定位仪按适用车型范围分为两种,一种适用于大、中、小型汽车,另一种仅适用于小型汽车。前者一般由水准仪、支架、转盘(转角仪)等组成,后者一般由水准仪和转盘组成。
a.水准仪。如图5-58所示,水准仪也分为两种,一种适用于大、中、小型汽车,另一种仅适用小型汽车。它们均由壳体、水泡管、水泡调节装置和刻度盘等组成。适用于大、中、小型汽车的水准仪带有两个定位锁,以便插入支架中心孔固装在支架上;适用于小型汽车的水准仪带有永久磁铁和定位针,可以对准转向节枢轴中心孔吸附在轮毂的端面上,因而省去了支架。

图5-58 水准仪
1、3—定位锁;2—旋钮;4—永久磁铁;5—定位针;6—校正水平的水泡管;7—测量主锁后倾角的水泡和;8—测量前轮外倾角的水泡管;9—测量主锁内倾角的水泡管
b.支架。支架是水准仪与轮辋之间的连接装置。支架固定在轮辋上,水准仪则插在支架的中心孔内,由锁紧螺钉锁住。支架有卡紧式和磁力式两种。
c.转盘。转盘一般由固定盘、活动盘、扇形刻度尺、游标指示针、锁止销和若干滚珠等组成。
②气泡水准式定位仪使用方法
常见气泡水准定位仪的使用方法大同小异,下面以国产GCD-1型光束水准仪为例介绍使用方法。GCD-1型水准仪,除由一个水准仪、两个支架和两个转盘组成外,还配备有两个聚光器、两个标尺、两根标杆和一个踏板抵压器。聚光器在标杆配合下可测得车轮前束值,聚光器在标尺配合下可测得后轴与前轴间的平行度、后轴与车架间的垂直度及后轴与车架在水平平面的弯曲变形等。踏板抵压器可将制动踏板压住,省去人力。
a.检测前的准备。汽车技术状况汽车轮胎及气压应符合规定。车轮轮辋轴承、转向节衬套与主锁的配合符合要求。汽车制动可靠。
检测场地要求检测场地水平且平整。检测时,应保证前后车轮接地面处于同一水平面上。
汽车摆放将汽车两前轮处于直驶位置,分别放置在各自的转盘上,并使主锁中心线的延长线通过转盘中心。确定前轮直驶位置后,将转盘扇形刻度尺调整到零位,对准游动指针,然后固定。当再转动转向盘时,前轮的转角可从转盘刻度尺上读取。
支架安装先将固定支架的两个固定脚卡在轮辋适当部位,再移动活动支架,使其固定脚也卡在轮辋上,然后用活动支架的偏心卡紧机构将3个固定脚卡紧在轮辋上。此时,3个固定脚的定位端面贴紧在轮辋的边缘上。松开调整支座弹性固定板的固定螺栓,使调整支座沿导轨滑动,通过特制芯棒使调整支座安装聚光器或水准仪的孔中心与前轮中心重合,然后拧紧螺栓,将调整支座固定于导轨上。经验表明,当支架中心与车轮中心偏离2~3mm时,对测量结果影响甚微,故也可以目视对中,而不使用芯棒。
轮辋变形的检查及补偿将聚光器定位销轴插入支座孔中,使销轴定位端面与支座定位端面贴合,然后拧紧弹簧卡固定螺钉,使聚光器不至于从支座上滑落。顶起被测车轮,使其离开转盘,当在其圆周上施力时能自由转动。将标杆以轮辋半径7倍的距离放在所测车桥之前或之后的地面上,一般而言,测前轮轮辋变形量时,可把标杆放于前桥之前;测后轮轮辋时,可把标杆放在后桥之后。将聚光器通以电源,聚光器发出强光束指针,转动聚光器的调节盘,使光束指针的扇形缺口朝上,调整聚光器伸缩套筒,使光束指针清晰地指在标杆上带有刻度的标牌上,用手把持聚光器,松开弹簧卡固定螺钉,缓慢转动车轮一周,读出光束指针指示的最大值与最小值,最大值与最小值之差即为轮辋端面的摆差。当摆差大于3mm时,一般认为轮辋是不合格的,应予更换。对于有摆差的车轮轮辋,为了消除对检测车轮定位角度值的影响,可转动调整支座上的滚花调节螺钉,直至光束指针指示的最大值与最小值之差在3mm之内为止。轮辋的变形补偿后,将车轮放回转盘上。
b.前束值的检测。以前轮前束为例,讲述前束的检测方法。汽车两前轮放于转盘上,找正直驶位置后,在检测前束的过程中不得再转动转向盘。
调节标杆长度,使同一标杆两标牌之间的距离略大于被测轮距,并能使聚光器光束指针大致投射到标牌的中间位置。两套标杆一定要调整到等长,特别是标牌之间的距离一定要相等,否则将影响检测结果。
将已调好的两套标杆放置在被测车桥的前后两侧,并平行于该车桥。每一标杆距车轮中心的距离为车轮上规定前束测点处半径的7倍。车轮上规定前束测点依车型而定,有的测点在胎面中心处,有的测点在胎侧突出处,而有的测点在轮辋边缘处,检测前束应注意查阅汽车使用说明书。
先将车轮一侧聚光器的光束投向前标杆的标牌上,使光束指针指于某一整数位置上,如图5-59所示。再将该聚光器的光束向后投射到后标杆的标牌上,并平行移动后标杆使光束指针落在与前标牌同一数值上。然后,将另一侧聚光器分别向前标杆、后标杆投射光束,读出光束指针指示值,计算前束。若前标杆指示值为25mm,后标杆指示值为28mm,则前束值为28-25=3mm。若前标杆指示值为28mm,后标杆指示值为25mm,则前束值为-3mm,即为负前束。
汽车后轮前束的检测方法与此相同。
c.车轮外倾角的检测。在车轮保持直驶位置不动的情况下,将水准仪黑箭头指示的定位销插入车轮上支架的中心孔内,并使水准仪在左右方向上大致处于水平状态。轻轻拧紧弹簧卡锁紧螺钉,固定水准仪,如图5-60所示。

图5-59 检测车轮前束值
1—支架;2—聚光器;3—标杆;4—转盘

图5-60 检测车轮外倾角和主销后倾角
1—导轨;2—活动支架;3—调整支座;4—调节螺钉;5—固定脚;6—固定支架;7—水准仪;8—A调节盘;9—BC调节盘;10—定位销;11—旋钮
转动水准仪上的A调节盘,直到对应气泡管内的气泡处于中间位置为止,然后在黑刻度盘上读出A盘红线所指角度值,该角度值即为前轮外倾角。用同样的方法可检测其他车轮的外倾角。
d.主销后倾角的检测。前轮外倾角测定后,可不动水准仪,接着进行主销后倾角的检测。
将前轮向内转20°(左前轮向左转,右前轮向右转,下同),松开弹簧卡锁紧螺钉,使水准仪左右方向处于水平状态,然后拧紧锁紧螺钉。
转动水准仪上的BC调节盘,使其上红线与蓝、红、黄刻度盘零线重合。调整对应气泡管的旋钮,使气泡居中。
将前轮向相反方向转40°,转动BC盘使气泡管居中,在蓝盘上读出BC盘红线所示之值即为主销后倾角。
e.主销内倾角的检测。检测前应使前轮处于制动状态,以防止转动转向盘时前轮滚动。
将红黄箭头所指的定位销插入支架中心孔内,轻轻拧紧锁紧螺钉,如图5-61所示。将被测前轮向内转20°,松开锁紧螺钉,使水准仪在左右方向上处于水平状态,然后拧紧锁紧螺钉。

图5-61 检测主销内倾角
1—水泡管;2—定位销;3—旋钮;4—调节螺钉;5—导轨;6—活动支架;7、9—固定脚;8—调整支座;10—BC调节盘;11—A调节盘;12—水准仪
转动BC调节盘,使其红色刻线与蓝、红、黄刻度盘零线重合。调节对应气泡管旋钮,使气泡居中。
将前轮向外转40°,调节BC盘使水泡管气泡居中。此时,BC盘红线在红刻度盘或黄刻度盘所示之值即为主销内倾角。检测左前轮时,在黄刻度盘上读数;检测右前轮时,在红刻度盘上读数。
f.前轮最大转角的检测。前轮最大转角是指前轮处于直线行驶位置时,分别向左、右转至极限位置的角度。
前轮处于直驶位置,置转盘扇形刻度尺于零位并固定。
转动转向盘,使前轮向任一侧至极限位置,从扇形刻度尺上读出的数值,即为该侧最大转角,同理可测出转向另一侧的最大转角。
3)四轮定位仪及使用方法
由于汽车行驶速度越来越高,汽车的操纵稳定性对行车安全影响越来越大。有些汽车,尤其是轿车不仅具有前轮定位,还具有后轮外倾角和后轮前束等定位参数。如果能对汽车四轮定位参数进行检测,不仅能确定所有车轮定位正确与否,还能确定前轴、后轴、悬架、车架等的技术状况,为底盘不解体诊断提供可靠依据。所以四轮定位仪使用越来越广泛。
四轮定位仪是专门用来测量车轮定位参数的设备。四轮定位仪可检测的项目包括:前轮前束、前轮外倾角、主销后倾角、主销内倾角、后轮前束、后轮外倾角、轮距、轴距、推力角和左右轴距差等。
目前使用的四轮定位仪有光学式和电脑式,它们的测量原理基本是一致的,但不同类型的四轮定位仪的使用方法有一定的差异,因此应严格按使用说明书的要求和方法进行操作。
下面以电脑式四轮定位仪为例,说明四轮定位仪的使用方法。
电脑式四轮定位仪由主机、显示器、打印机、前后车轮检测传感器、传感器支架、转盘、刹车锁、转向盘锁及导线等零件构成。配有专用软件和数据光盘,可读取近10年来世界各地汽车四轮定位参数,且可更新。还配有数码视频图像数据库,显示检查和调整位置等。
为便于检测和调整,被检汽车需放在地沟上或举升平台上,地沟或举升平台应处于水平状态,四轮定位仪则安装在地沟两旁或举升平台上,图5-62是四轮定位仪安装在举升平台上的情况。
①检测前的准备
a.把汽车开上举升平台,托住车轮,把汽车举升0.5m(第一次举升)。
b.托住车身,把汽车举升至车轮能自由转动(第二次举升)。
c.拆下各车轮,检查轮胎磨损情况,要求各轮胎磨损基本一致。

图5-62 四轮定位仪安装在举升平台上
d.检查轮胎气压,使其符合标准值。
e.作车轮动平衡试验,动平衡完成后,将车轮装回车上。
f.检查车身高度,检查车身4个角的高度和减振器技术状况,如车身不平应先调平,同时检查转向系统和悬架是否松旷,如松旷则应先紧固或更换零件。
②检测步骤
a.把传感器支架安装在轮辋上,再把传感器(定位校正头)安装到支架上,并按使用说明书的规定调整。
b.开电脑主机进入测试程序,输入被测汽车的车型和生产年份。
c.进行轮辋变形补偿,转向盘位于直驶位置,使每个车轮旋转一周,即可把轮辋变形误差输入电脑。
d.降下第二次举升量,使车轮落到平台上,把汽车前部和后部向下压动4~5次,使各部位落到实处。
e.用刹车锁压下制动踏板,使汽车处于制动状态。
f.将转向盘左转至电脑显示“OK”,输入左转角度数;然后将转向盘右转至电脑显示“OK”,输入右转角度数。
g.将转向盘回正,电脑显示出后轮的前束及外倾角数值。
h.调下转向盘,并用转向盘锁锁止转向盘,使之不能转动。
i.将安装在4个车轮上的定位校正头的水平仪调到水平线上,此时电脑显示出转向轮的主销后倾角、主销内倾角、转向轮外倾角和前束的数值。电脑将比较各测量数值,得出“无偏差”“在允许范围内”或“超出允许范围”的结论。
j.若“超出允许范围”,按电脑提示的调整方法进行针对性调整。调整后仍不能解决问题,则应更换有关零部件。
k.再次压试汽车,将转向轮左右转动,观察屏幕上数值有无变化,若有变化应重新调整。
l.拆下定位校正头和支架,进行路试,检查四轮定位调整的效果。
5.3.3 行驶系的检测
(1)车轮平衡度的检测
随着汽车行驶速度的不断提高,车轮不平衡越来越严重地影响着汽车行驶的平顺性、安全性和乘坐舒适性。如果车轮不平衡,在高速旋转时,会引起车轮的上下跳动和摆动,使车辆难于控制,同时还加剧轮胎和有关机件的非正常磨损和冲击。因此,车轮平衡度检测已成为汽车检测的重要项目之一。
1)车轮平衡的概念与不平衡的原因
①车轮平衡的概念
车轮的平衡可分为车轮静平衡和车轮动平衡。
a.车轮静平衡与静不平衡。支起车轴,调整好轮毂轴承松紧度,用手轻转动车轮,使其自然停转。车轮停转后在离地最近处作一标记,然后重复上述试验多次。若车轮经几次转动自然停转后,所做标记的位置各不一样,或强迫停转后,消除外力车轮也不再转动,则车轮为静平衡。静平衡的车轮,其旋转中心与车轮中心重合。
如果每次试验的标记都停在离地最近处,则车轮为静不平衡。静不平衡的车轮,其旋转中心与车轮中心不重合。
b.车轮动平衡与动不平衡。在图5-63(a)中,车轮是静平衡的,在该车轮旋转轴线的径向反位置上,各有一作用半径相同质量也相同的不平衡点m1与m2,且不处于同一平面内。对于这样的车轮,其不平衡点的离心力合力为零,但离心力的合力矩不为零,转动中产生方向反复变动的力偶M,使车轮处于动不平衡中。动不平衡的前轮绕主销摆动。如果在m1与m2同一作用半径的相反方向上配置相同质量m′1与m′2,则车轮处于动平衡中,如图5-63(b)所示。动平衡的车轮肯定是静平衡的,因此对车轮主要应进行动不平衡检测。

图5-63 车轮平衡示意图
②引起车轮不平衡的原因
a.轮毂、制动鼓(盘)加工时定心定位不准、加工误差大、非加工面铸造误差大、热处理变形、使用中变形或磨损不均。
b.轮胎螺栓质量不等、轮辋质量分布不均或径向圆跳动、端面圆跳动太大。
c.轮胎质量分布不均、尺寸或形状误差太大、使用中变形或磨损不均、使用翻新胎或补胎。
d.并装双胎的充气嘴未相隔180°安装,单胎的充气嘴未与不平衡点标记(经过平衡试验的新轮胎,往往在胎侧标有红、黄、白或浅蓝色的□、△、○或◇符号,用来表示不平衡点位置)相隔180°安装。
e.轮毂、制动鼓(盘)、轮胎螺栓、轮辋、内胎、衬带、轮胎等拆卸后重新组装成车轮时,累计的不平衡质量或形位偏差太大,破坏了原来的平衡。
2)车轮动平衡的检测及校正方法
车轮平衡机也称为车轮平衡仪,用来检测车轮的平衡度。按功能可分为车轮静平衡机和车轮动平衡机两类;按测量方式可分为离车式车轮平衡机和就车式车轮平衡机两类;按车轮平衡机转轴的形式可分为软式车轮平衡机和硬式车轮平衡机两类。
使用离车式车轮平衡机时,将车轮从车上拆下安装到车轮平衡机的转轴上检测其平衡状况。
软式车轮平衡机,安装车轮的转轴由弹性元件支承。当被测车轮不平衡时,该轴与其上的车轮一起振动,测得该振动即可获得车轮的不平衡量。硬式车轮平衡机的转轴由刚性元件支承,工作中转轴不产生振动,它是通过直接测量车轮旋转时不平衡点产生的离心力来确定不平衡量的。
凡是可以测定车轮左、右两侧的不平衡量及其相位的,可以称为二面测定式车轮平衡机。
就车式车轮平衡机既可进行静平衡试验,又可进行动平衡试验。
3)离车式车轮平衡机的结构与使用方法
①离车式车轮平衡机的结构简介
离车式车轮动平衡机如图5-64所示,其专用卡尺如图5-65所示。目前应用最多的是硬式二面测定车轮动平衡机。该动平衡机一般由驱动装置、转轴与支承装置、显示与控制装置、制动装置、机箱和车轮防护罩等组成。驱动装置一般由电动机、传动机构等组成,可驱动转轴旋转。转轴由两个滚动轴承支承,每个轴承均有一能将动反力变为电信号的传感器。转轴的外端通过锥体和大螺距螺母等固装被测车轮。驱动装置、转轴与支承装置等均装在机箱内。车轮防护罩可防止车轮旋转时其上的平衡块或花纹内夹杂物飞出伤人。制动装置可使车轮停转。

图5-64 离车式车轮动平衡机
1—显示与控制装置;2—车轮防护罩;3—转轴;4—机箱

图5-65 离车式车轮动平衡机的专用卡尺
近年来生产的车轮动平衡机,其显示与控制装置多为微机式,具有自动诊断和自动系统,能将传感器的电信号通过微机运算、分析、判断后显示出不平衡量及相位。为了使显示的不平衡量恰是轮辋边缘所加平衡块的质量,还必须将测得的轮辋直径d、轮辋宽度b和轮辋边缘至平衡机机箱的距离a(轮辋外悬尺寸),通过键盘或选择器旋扭输入微机。
②离车式车轮平衡机的使用方法
a.清除被测车轮上的泥土、石子和旧平衡块。
b.检查轮胎气压,视必要充至规定值。
c.根据轮辋中心孔的大小选择锥体,仔细地装上车轮,用大螺距螺母上紧。
d.打开电源开关,检查指示与控制装置的面板是否指示正确。
e.用卡尺测量轮辋宽度b、轮辋直径d(也可由胎侧读出),用平衡机上的标尺测量轮辋边缘至机箱距离a,用键入或选择器旋钮对准测量值的方法,将a,b,d直接输入指示与控制装置中。为了适应不同计量制式,平衡机上的所有标尺一般都同时标有英制和公制刻度。
f.放下车轮防护罩,按下启动键,车轮旋转,平衡测试开始,微机自动采集数据。
g.车轮自动停转或听到“笛”声,按下停止键并操纵制动装置使车轮停转后,从指示装置读取车轮内、外不平衡量和不平衡位置。
h.抬起车轮防护罩,用手慢慢转动车轮。当指示装置发出指示(音响、指示灯亮、制动、显示点阵或显示检测数据等)时停止转动。在轮辋的内侧或外侧的上部(时钟12点位置)加装指示装置显示的该侧平衡块质量。内、外侧要分别进行,平衡块装卡要牢固。
i.安装平衡块后有可能产生新的不平衡,应重新进行平衡试验,直至不平衡量<5g(0.3oz),指示装置显示“00”或“OK”时才能满意。当不平衡量相差10g左右时,如能沿轮辋边缘左右移动平衡块一定角度,将可获得满意的效果。
4)就车式车轮平衡机及使用方法
①就车式车轮平衡机结构简介
使用就车式车轮平衡机,无需从车上拆下车轮,就车即可测得车轮的平衡状况。就车式车轮动平衡机一般由驱动装置、测量装置、指示与控制装置、制动装置和小车等组成,如图5-66所示,图5-67所示为工作图。驱动装置由电动机、转轮等组成,能带动支离地面的车轮转动。测量装置由传感磁头、可调支杆、底座和传感器等组成。它能将车轮不平衡量产生的振动变成电信号,送至指示与控制装置。指示与控制装置由频闪灯、不平衡度表或数字显示屏等组成。频闪灯用来指示车轮不平衡点位置,不平衡度表或数字显示屏用来指示车轮的不平衡量。不平衡量,一般有两个挡位。第一挡往往用于初查时的指示,第二挡往往用于装上平衡块后复查时指示。制动装置用于车轮停转。除测量装置外,车轮动平衡机的其余装置都装在小车上,可方便地移动。

图5-66 就车式车轮动平衡机示意图
1—转向节;2—传感磁头;3—可调支杆;4—底盘;5—转轮;6—电动机;7—频闪灯;8—不平衡度表

图5-67 就车式车轮平衡机工作图
1—光电传感器;2—手柄;3—仪表板;4—驱动电机;5—摩擦轮;6—传感器支架;7—被测车轮
②就车式车轮平衡机的使用方法
A.准备工作
a.用千斤顶支起车轴,两边车轮离地间隙要相等。
b.清除被测车轮上的泥土、石子和旧平衡块。
c.检查轮胎气压,视必要充至规定值。
d.检查轮毂轴承是否松旷,视必要调整至规定松紧度。
e.在轮胎外侧面任意位置上用白粉笔或白胶布做上记号。
B.从动前轮静平衡
a.用三角垫木塞紧非测试车轮,将就车式车轮动平衡机的测量装置推至被测前轮一端的前轴下,传感磁头吸附在悬架下或转向节下,调节可调支杆高度并锁紧。
b.推平衡机至车轮侧面或前面(视车轮平衡机形式不同而异),检查频闪灯工作是否正常,检查转动的旋转方向能否使车轮的转动力与前进行驶时方向一致。
c.操纵车轮动平衡机转轮与轮胎接触,启动驱动电机带动车轮旋转至规定转速。
d.观察频闪灯照射下的轮胎标记位置,并从指示装置(第一挡)上读取不平衡量数值。
e.操纵平衡机上的制动装置,使车轮停止转动。
f.用手转动车轮,使其上的标记仍处在上述观察位置上,此时轮辋的最上部(时钟12点位置)即为加装平衡块的位置。
g.按指示装置显示的不平衡量选择平衡块,牢固地装卡到轮辋边缘上。
h.重新驱动车轮进行复查测试,指示装置用两挡显示。若车轮平衡度不符合要求,应调整平衡块质量和位置,直至符合平衡要求。
C.从动前轮动平衡
a.将传感磁头吸附在经过擦拭的制动底板边缘平整之处。
b.操纵平衡机转轮驱动车轮旋转至规定转速,观察轮胎标记位置,读取不平衡量数值,停转车轮找平衡块加装位置,加装平衡块和复查等,方法与静平衡相同。
D.驱动轮平衡
a.顶起驱动车轮。
b.用发动机、传动系驱动车轮,加速至50~70km/h的某一转速下稳定运转。
c.测试结束后,用汽车制动器使车轮停转。
d.其他方法与从动轮动、静平衡测试相同。
5)注意事项
a.离车式车轮动平衡机的主轴固定装置和就车式车轮动平衡机的支架上都装有精密的位移传感器和易碎裂的压电晶体传感器,因此严禁冲击和敲打主轴或传感器支架。
b.在检修车轮动平衡机时,传感器的固定螺栓不得松动。因为这一螺栓不是一般的紧固件,需要由它向传感晶体提供必要的预紧力。当这一预紧力发生变化时,电算过程将完全失准。
c.车轮动平衡机的平衡重也称配重,通常有卡夹式和粘贴式两种类型。卡夹式适用于轮辋有卷边的车轮。对于铝镁合金轮辋,因无卷边可夹,可使用粘贴式配重。粘贴式配重的外弯面有不干胶,粘贴于轮辋内各面。
d.必须明确,车轮动平衡机的机械系统和电算电路都是针对正常车轮使用条件下平衡失准或轻微受损但仍能使用的车轮而设计的,对因交通事故而严重变形的轮辋或胎面大面积剥离的车轮是不能上机进行平衡检测的。一方面,不平衡量过大的车轮旋转时的离心力可能损伤车轮动平衡机的传感系统;另一方面,超值的不平衡力可能溢出电算范围而使仪器自动拒绝工作。
e.当不平衡量超过最大配重时,可用两个以上配重并列使用。但这时要注意因多个配重占用较大的扇面会使其有效质量低于实际质量。
f.一般情况下,离车式车轮动平衡机或就车式车轮动平衡机都是分别各自使用的。但对高速行驶的汽车车轮而言,如果用离车式车轮动平衡机平衡后再装在车上行驶时,仍会出现不平衡现象。因此,使用离车式车轮动平衡机平衡车轮后,最好能再用就车式车轮动平衡机进行校对。
(2)汽车悬架的检测
悬架装置是汽车底盘的一个重要装置,通常由弹性元件、导向装置和减振器3部分组成。汽车悬架系统的故障将直接影响汽车的行驶平顺性、操纵稳定性和行驶安全性。因此,悬架装置的技术状况和工作性能,对汽车整体性能有着重要影响。所以,检测悬架装置的工作性能是十分重要的。
汽车悬架装置工作性能的检测方法有经验法、按压车体法和试验台检测法3种类型。
经验法是通过人工外观检视的方法,主要从外部检查悬架装置的弹簧是否有裂纹,弹簧和导向装置的连接螺栓是否松动,减振器是否漏油、缺油和损坏等项目。
按压车体法既可以人工按压车体,也可以用试验台的动力按压车体。按压使车体上下运动,观察悬架装置减振器和各部件的工作情况,凭经验判断是否需要更换或修理减振器和其他部件。
检测台能快速检测、诊断悬架装置工作性能,并能进行定量分析。根据激振方式不同,悬架装置检测台可分为跌落式和共振式两种类型。其中,共振式悬架装置检测台根据检测参数的不同,又可分为测力式和测位移式两种类型。
1)悬架检测台的结构与工作原理
①悬架装置检测台的工作原理
a.跌落式悬架装置检测台。测试中,先通过举升装置将汽车升起一定高度,然后突然松开支撑机构,车辆落下产生自由振动。用测量装置测量车体振幅或者用压力传感器测量车轮对台面的冲击压力,对振幅或压力分析处理后,评价汽车悬架装置的工作性能。
b.共振式悬架装置检测台。如图5-68所示,通过试验台的电动机、偏心轮、蓄能飞轮和弹簧组成的激振器,迫使试验台台面及其上被检汽车悬架装置产生振动。在开机数秒后断开电机电源,从而由蓄能飞轮产生扫频激振。由于电机的频率比车轮固有频率高,因此蓄能飞轮逐渐降速的扫频激振过程总可以扫到车轮固有振动频率处,从而使台面—汽车系统产生共振。通过检测激振后振动衰减过程中力或位移的振动曲线,求出频率和衰减特性,便可判断悬架装置减振器的工作性能。

图5-68 共振式悬架检测台
1—蓄能飞轮;2—电动机;3—偏心轮;4—激振弹簧;5—台面;6—测量装置
测力式悬架装置检测台和测位移式悬架装置检测台,一个是测振动衰减过程中的力,另一个是测振动衰减过程中的位移量,它们的结构如图5-69所示。由于共振式悬架装置检测台性能稳定、数据可靠,因此应用广泛。

图5-69 测力式和测位移式悬架检测台结构
1、6—车轮;2—位移传感器;3—偏心轮;4—力传感器;5—偏心轴
②共振式悬架装置检测台的结构
共振式悬架装置检测台一般由机械部分和电子电器控制部分组成。
a.机械部分。共振式悬架装置检测台的机械部分,由箱体和左右两套相同的振动系统构成,结构如图5-70所示。每套振动系统由上摆臂、中摆臂、下摆臂、支承台面、激振弹簧、驱动电机、蓄能飞轮和传感器等构成。传感器一端固定在箱体上,另一端固定在台面上。

图5-70 共振式悬架检测台单轮支承结构简图
1—支承台面;2—上摆臂;3—中摆臂;4—下摆臂;5—激振弹簧;6—驱动电机;7—偏心惯性结构
上摆臂、中摆臂和下摆臂通过3个摆臂轴和6个轴承安装在箱体上。上摆臂和中摆臂与支承台面连接,并构成平行四边形的四连杆机构,以保证上下运动时能平行移动,以及台面受载时始终保持水平。中摆臂和下摆臂端部之间装有弹簧。
驱动电机的一端装有蓄能飞轮,另一端装有凸缘,凸缘上有偏心轴。连接杆一端通过轴承和偏心轴连接,另一端和下摆臂端部连接。
检测时,将汽车驶上支承平台,启动测试程序,驱动电机带动偏心机构使整个台面—汽车系统振动。激振数秒钟达到角频率为ω0的稳定强迫振动后,断开驱动电机电源,接着由蓄能飞轮以起始频率为ω0的角频率进行扫频激振。由于停在台面上车轮的固有频率处于ω0和0之间,因此蓄能飞轮的扫频激振总能使台面—汽车系统产生共振。断开驱动电机电源的同时,启动采样测试装置,记录数据和波形,然后进行分析、处理和评价。
b.电子电器控制部分。共振式悬架装置检测台电子电器控制部分,主要由微机、传感器、A/D转换器、电磁继电器及控制软件等组成。控制软件是悬架装置试验台电子电器控制部分与机械部分联系的桥梁。软件不仅实现对悬架装置试验台测试过程的控制,同时也对悬架装置试验台所采集的数据进行分析和处理,并最终将检测结果显示和打印出来。
③用检测台检测悬架特性的方法
a.汽车轮胎规格、气压应符合规定值,车辆空载,不乘人。
b.将车辆每轴车轮驶上悬架检测台,使轮胎位于台面的中央位置,驾驶员离车。
c.启动检测台,使激振器迫使汽车悬挂产生振动,使振动频率增加至超过振荡的共振频率。
d.在共振点过后,将激振源关断,振动频率减少,并将通过共振点。
e.记录衰减振动曲线,纵坐标为动态轮荷,横坐标为时间,测量共振时动态轮荷。计算并显示动态轮荷与静态轮荷的百分比及其同轴左右轮百分比的差值。
2)悬架装置工作性能的诊断标准
《营运车辆综合性能要求和检验方法》(GB18565—2001)中规定:对于最大设计车速≥100km/h、轴载质量≤1500kg的载客汽车,应用悬架检测台按规定的方法检测悬架特性,受检车辆的车轮在受外界激励振动下测得的吸收率,即被测汽车共振时的最小动态车轮垂直载荷与静态车轮垂直载荷的百分比值(又称车轮接地性指数),应不小于40%,同轴左右轮吸收率之差不得大于15%。
车轮接地性指数可以表征悬架装置的工作性能,车轮接地性指数表明了悬架装置在汽车行驶中确保车轮与路面相接触的最小能力。汽车行驶中,所有车轮的接地性指数是不一样的,这是因为各轮悬架装置工作性能不一、各轮承受载荷不一、各轮气压不一等原因造成的。如果在检测台上,人为使各轮承受的载荷和轮胎气压一致,那么,车轮接地性指数就主要决定于悬架装置的工作性能。因此,完全可以用车轮接地性指数评价悬架装置的工作性能。
在欧美一些国家,悬架装置检测台已被广泛应用在检测汽车悬架装置工作性能上。欧洲使用的悬架装置检测台主要的生产厂家有德国的HOFMANN公司和意大利的CEMB公司等。他们生产的悬架检测台在检测中,悬架检测台台板连同其上的被检汽车按正弦规律作垂直振动,激振振幅固定而频率变化。力传感器感应到车轮作用到台板上的垂直作用力,并将力信号存入存储器。当对全车所有车轮悬架装置检测完后,微机将力信号进行分析和处理,便可获得车轮的接地性指数。
欧洲减振器制造协会(EUSAMA)推荐的评价车轮接地性指数的参考标准如表5-16所示,可供我国检测悬架装置工作性能时参考。
表5-16 车轮接地性指数参考标准
