§7.4 坡屋顶设计
所谓坡屋顶是指屋面坡度在10%以上的屋顶。与平屋顶相比较,坡屋顶的屋面坡度大,因而其屋面构造及屋面防水方式均与平屋顶不同。
7.4.1 坡屋顶的承重结构
1.承重类型
坡屋顶中常用的承重结构有横墙承重、屋架承重和梁架承重,如图7-29所示。
(1)横墙承重(硬山搁檩)。
横墙间距较小的坡屋面房屋,可以把横墙上部砌成三角形,直接把檩条支承在三角形横墙上,称为横墙承重,也称为硬山搁檩。
檩条可以用木材、预应力钢筋混凝土、轻钢桁架、型钢等材料。檩条的斜距不得超过1.2m。木质檩条常选用Ⅰ级杉圆木,木檩条与墙体交接段应进行防腐处理,常用方法是在山墙上垫上一层油毡,并在檩条端部涂刷沥青。
(2)屋架承重。
当坡屋面房屋内部需要较大空间时,可以把部分横向山墙取消,用屋架作为承重构件。坡屋面的屋架多为三角形(分豪式和芬克式两种)。屋架可以选用木材(Ⅰ级杉圆木)、型钢(角钢或槽钢)制作,也可以用钢木混合制作(屋架中受压杆件为木材,受拉杆件为钢材),或钢筋混凝土制作。若房屋内部有一道或两道纵向承重墙,可以考虑选用三点支承或四点支承屋架。

图7-29 坡屋顶的承重结构类型
(3)梁架承檩式屋架。
为了防止屋架的倾覆,提高屋架及屋面结构的空间稳定性,屋架之间应设置支撑。屋架支撑主要有垂直剪刀撑和水平系杆等。
房屋的平面有凸出部分时,屋面承重结构有两种做法。当凸出部分的跨度比主体跨度小时,可以把凸出部分的檩条搁置在主体部分屋面檩条上,也可以在屋面斜天沟处设置斜梁,把凸出部分檩条搭接在斜梁上。当凸出部分跨度比主体部分跨度大时,可以采用半屋架。半屋架的一端支承在外墙上,另一端支承在内墙上;当无内墙时,支承在中间屋架上。对于四坡形屋顶,当跨度较小时,在四坡屋顶的斜屋脊下设斜梁,用于搭接屋面檩条;当跨度较大时,可以选用半屋架或梯形屋架,以增加斜梁的支承点。
2.承重结构构件
(1)屋架。
屋架形式常为三角形,由上弦、下弦及腹杆组成,所用材料有木材、钢材及钢筋混凝土等。木屋架一般用于跨度不超过12m的建筑物。将木屋架中受拉力的下弦及直腹杆件用钢筋或型钢代替,这种屋架称为钢木屋架,钢木组合屋架一般用于跨度不超过18m的建筑物。当跨度更大时需采用预应力钢筋混凝土屋架或钢屋架。
(2)檩条。
檩条所用材料可以为木材、钢材及钢筋混凝土,檩条材料的选用一般与屋架所用材料相同,使两者的耐久性接近。
3.承重结构布置
坡屋顶承重结构布置主要是指屋架和檩条的布置,其布置方式视屋顶形式而定,如图7-30所示。
7.4.2 坡屋顶屋面
1.平瓦屋面
坡屋顶屋面一般是利用各种瓦材,如平瓦、波形瓦、小青瓦等作为屋面防水材料。近些年来还有不少采用金属瓦屋面、彩色压型钢板屋面等。平瓦屋面根据基层的不同有冷摊瓦屋面、木望板平瓦屋面和钢筋混凝土板瓦屋面三种做法。

图7-30 屋架和檩条布置示意图
平瓦屋面的主要优点是瓦本身具有防水性,不需特别设置屋面防水层,瓦块之间搭接构造简单,施工方便。其缺点是屋面接缝多,若不设屋面板,雨、雪易从瓦缝中飘进屋内,造成漏水。为保证有效排水,瓦屋面坡度不得小于1∶2(26°34')。在屋脊处需盖上鞍形脊瓦,在屋面天沟下需放上镀锌铁皮,以防漏水。平瓦屋面的构造方式有下列几种:
(1)椽条、屋面板平瓦屋面。在屋面檩条上放置椽条,椽条上稀铺或满铺厚度为8~12mm的木板(稀铺时在板面沙锅内还可以铺芦席等),板面(或芦席)上方平行于屋脊方向铺干油毡一层,钉顺水条和挂瓦条,安装机制平瓦。采用这种构造方案,屋面板受力较小,因而其厚度较薄。
(2)冷摊瓦屋面。这是一种构造简单的瓦屋面,在檩条上钉断面为35mm×60mm,中距为500mm的椽条,在椽条上钉挂瓦条(注意挂瓦条间距符合瓦的标志长度),在挂瓦条上直接铺瓦。由于构造简单,冷摊瓦屋面只用于简易建筑物或临时建筑物,如图7-31(a)所示。
(3)木望板瓦屋面。在檩条上钉厚度为15~25mm的屋面板(板缝不超过20mm)平行于屋脊方向铺油毡一层,钉顺水条和挂瓦条,安装机制平瓦。这种方案将屋面板与檩条垂直布置为受力构件,因而厚度较大,如图7-31(b)所示。

图7-31 平瓦屋面示意图
2.波形瓦屋面
波形瓦屋面包括水泥石棉波形瓦、钢丝网水泥瓦、玻璃钢瓦、钙塑瓦、金属钢板瓦、石棉菱苦土瓦等。根据波形瓦的波形大小可以分为大波瓦、中波瓦和小波瓦三种。波形瓦具有重量轻,耐火性能好等优点,但易折断破裂,其强度较低。
3.小青瓦屋面
小青瓦屋面在我国传统房屋中采用较多,目前有些地方仍然采用。小青瓦断面呈弧形,尺寸及规格不统一。铺设时分别将小青瓦仰、俯铺排,覆盖成垅。仰铺瓦成沟,俯铺瓦盖于仰铺瓦纵向交接处,与仰铺瓦之间搭接瓦长
左右。上、下瓦之间的搭接长在少雨地区为搭六露四,在多雨地区为搭七露三。小青瓦可以直接铺设于椽条上,也可以铺于望板(屋面板)上。
4.钢筋混凝土坡屋顶
由于建筑技术的进步,传统坡屋顶已很少在城市建筑中采用。但因坡屋顶具有其特有的造型特征,因此近年来民用建筑中多采用钢筋混凝土坡屋顶。
瓦屋面由于保温、防火或造型等的需要,可以将钢筋混凝土板作为瓦屋面的基层盖瓦。盖瓦的方式有两种:一种是在找平层上铺油毡一层,用压毡条钉在嵌在板缝内的木楔上,再钉挂瓦条挂瓦;另一种是在屋面板上直接粉刷防水水泥砂浆并贴瓦,或贴陶瓷面砖,或贴平瓦。在仿古建筑中也常常采用钢筋混凝土板瓦屋面,如图7-32所示。
7.4.3 坡屋面的细部构造
1.檐口
(1)纵墙檐口。
纵墙檐口根据造型要求做成挑檐或封檐,如图7-33所示。
①砖挑檐。砖挑檐一般不超过墙体厚度的
,且大于240mm。每层砖挑长为60mm,砖可以平挑出,也可以把砖斜放,用砖角挑出,挑檐砖上方瓦伸出50mm。

图7-32 钢筋混凝土板瓦屋面构造示意图

图7-33 平瓦屋面纵墙檐口构造示意图(单位:mm)
②椽木挑檐。当屋面有椽木时,可以用椽木出挑,以支承挑出部分的屋面。挑出部分的椽条,外侧可以钉封檐板,底部可以钉木条并油漆。
③屋架端部附木挑檐或挑檐木挑檐。若需要较大挑长的挑檐,可以沿屋架下弦伸出附木,支承挑出的檐口木,并在附木外侧面钉封檐板,在附木底部做檐口吊顶。对于不设屋架的房屋,可以在其横向承重墙内压砌砖挑檐木并外挑,用挑檐木支承挑出的檐口。
④钢筋混凝土挑天沟。当房屋屋面集水面积大、檐口高度高、降雨量大时,坡屋面的檐口可以设钢筋混凝土天沟,并采用有组织排水。
(2)山墙檐口。
山墙檐口按屋顶形式分为硬山檐口与悬山檐口两种。硬山檐口构造,将山墙升起包住檐口,女儿墙与屋面交接处应作泛水处理。女儿墙顶应作压顶板,以保护泛水,如图7-34所示。

图7-34 山墙檐口构造示意图(单位:mm)
悬山屋顶的山墙檐口构造,先将檩条外挑形成悬山,檩条端部钉木封檐板,沿山墙挑檐的一行瓦,应用1∶2.5的水泥砂浆做出披水线,将瓦封固,如图7-35所示。

图7-35 悬山檐口封檐示意图(单位:mm)
2.山墙
双坡屋面的山墙有硬山山墙和悬山山墙两种。硬山山墙是指山墙与屋面等高或高于屋面成女儿墙。悬山山墙是把屋面挑出山墙之外。
3.天沟和斜沟构造
在等高跨或高低跨相交处,常常出现天沟,而两个相互垂直的屋面相交处则形成斜沟。沟应有足够的断面面积,上口宽度不宜小于300~500mm,一般用镀锌铁皮铺于木基层上,镀锌铁皮伸入瓦片下面至少150mm。高低跨和包檐天沟若采用镀锌铁皮防水层,应从天沟内延伸至立墙(女儿墙)上形成泛水。
坡屋面的房屋平面形状有凸出部分,屋面上会出现斜天沟。构造上常采用镀锌铁皮折成槽状,依势固定在斜天沟下的屋面板上,以作防水层,如图7-36所示。

图7-36 天沟、斜沟构造示意图(单位:mm)
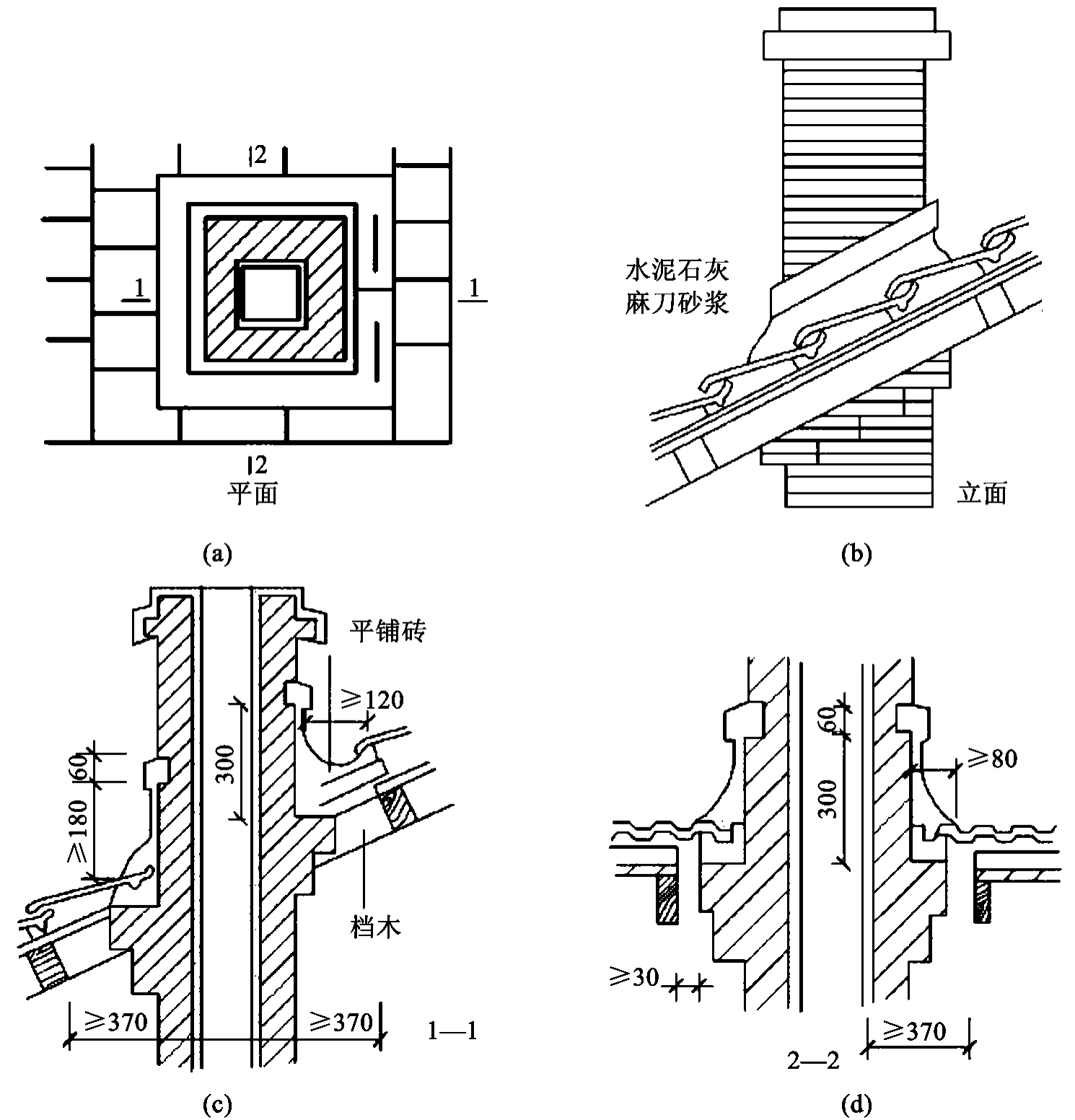
4.烟囱出屋面构造
烟囱出屋面应注意防水和防火。因屋面木基与烟囱接触,容易引起火灾,故相关建筑防火规范要求木基层距烟囱保持一定的距离,一般不小于370mm。烟囱四周应做泛水,以防止雨水的渗漏。一种做法是镀锌铁皮泛水,将镀锌铁皮固定在烟囱四周的预埋件上,向下排水。在靠近屋脊的一侧,铁皮伸入瓦下,在靠近檐口的一侧,铁皮盖在瓦面上。另一种做法是用水泥砂浆或水泥石灰麻刀砂浆做抹灰泛水,如图7-37所示。
7.4.4 其他屋面构成
1.金属瓦屋面
金属瓦屋面是用镀锌铁皮或铝合金瓦做防水层的一种屋面,金属瓦屋面自重轻、防水性能好、使用年限长,主要用于大跨度建筑物的屋面。
金属瓦的厚度很薄(厚度在1mm以内),铺设这样薄的瓦材必须用钉子固定在木望板上,木望板则支撑在檩条上,为防止雨水渗漏,瓦材下应干铺一层油毡。所有的金属瓦必须相互连通导电,并与避雷针或避雷带连接。
2.彩色压型钢板屋面
彩色压型钢板屋面简称为彩板屋面,是近十多年来在大跨度建筑物中广泛采用的高效能屋面,彩色压型钢板屋面不仅自重轻强度高且施工安装方便。彩板的连接主要采用螺栓连接,不受季节气候影响。彩板色彩绚丽,质感好,大大增强了建筑物的艺术效果。彩板除用于平直坡面的屋顶外,还可以根据造型与结构的形式需要,在曲面屋顶上使用。

图7-37 烟囱出屋面构造示意图(单位:mm)