7.2.5 WCDMA核心网标准及规范
WCDM A核心网是按照R99—R4—R5—R6—A LL IP的路线演进的,总的来说,演进的思路就是分层、分离、宽带、IP。这里将详细介绍R99、R4、R5、R6版本的核心网。
1.R99版本核心网
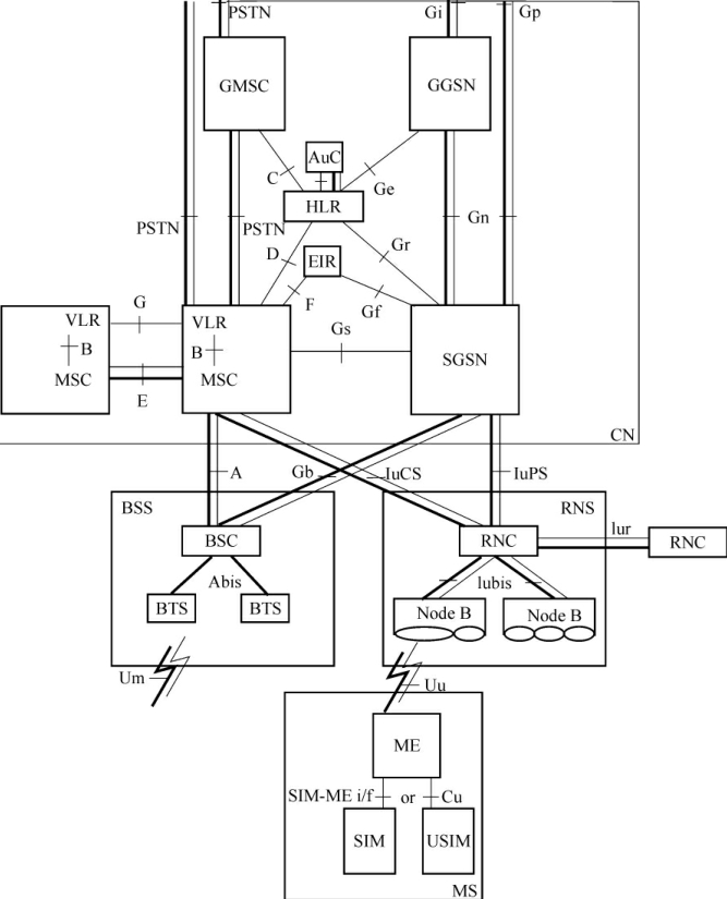
R99版本冻结时间为2000年3月,在R99网络结构设计中继承了GSM/GPRS核心网络结构。其基本的网络结构如图7-8所示。

图7-8 R99网络结构图
R99核心网络分为CS域和PS域。CS域以原有的GSM网络为基础,PS域以原有的GPRS网络为基础。
CS域用于向用户提供电路型业务的连接,实现方式包括TDM方式和A T M方式。它包括MSC/VLR、GMSC等交换实体以及用于与其他网络互通的IWF实体等。
PS域用于向用户提供分组型业务的连接,实现方式为IP包分组方式。它包括SGSN、GGSN以及与其他PL MN互连的BG等网络实体。
(1)CS域主要功能实体
①共用功能实体
归属位置寄存器(Home Location Register,HLR):是一个负责管理移动用户的数据库系统。H LR所存储的用户信息分为两类:一类是一些永久性的信息,例如,用户类别、业务限制、电信业务、承载业务、补充业务、用户的国际移动用户识别码(IMSI)以及用户的保密参数等;另一类是有关用户当前位置的临时性信息,例如,移动用户漫游号(MSRN)等,用于建立至移动台的呼叫路由。存储在H LR的数据由授权维护人员设置。
鉴权中心(Authentication Center,A UC):是认证移动用户的身份以及产生相应认证参数的功能实体。A UC对任何试图入网的用户进行身份认证,只有合法用户才能接入网中并得到服务。每个AUC只和对应的一个H LR相关联。
设备识别寄存器(Equipment Identity Register,EIR):目前中国没有用到该设备。该设备存储着系统中移动设备的国际移动设备识别码(IMEI)。EIR实现对移动设备的识别、监视、闭锁等功能,以防止非法移动台使用。
②CS域特有实体
移动业务交换中心(Mobile-services Switching Centre,MSC):完成电路型呼叫所有的功能,MSC作为一个交换机,完成在一个MSC区域内所有的移动终端的电路型业务接续交换和信令的转接,并提供计费信息。与固网交换机不同的是,MSC还要完成位置管理功能和移动性管理功能。
关口移动业务交换中心(Gateway MSC,GMSC):作为系统与其他公用通信网之间的接口,同时还具有查询位置信息的功能。运营商具体决定哪些MSC作为GMSC。
拜访位置寄存器(Visitor Location Register,VLR):是一个动态数据库,存储进入该MSC区域内已经登记用户的相关信息,为移动用户提供呼叫接续的漫游号码。在实现中通常都将MSC和VLR合为一体。
互操作功能(Interworking Function,IWF):提供PL M N和固定网络(ISDN、PSTN与PDN)互联互通的功能,用于将PL M N的信令和协议转换成固定网络的信令和协议。通常和MSC合为一体。
(2)CS域主要接口
R99核心网CS域依然是基于GSM MAP和TDM承载的网络,其主要接口协议如表7-1所示。
表7-1 R99 CS域主要接口

(3)PS域功能实体
R99分组域网络结构设计中继承了GSM/GPRS的核心网结构,其基本结构如图7-9所示。PS域特有的实体包括:SGSN、GGSN等。

图7-9 分组域逻辑结构图
SGSN(Serving GPRS Support Node)保存和追寻每一个移动台之间的位置信息,同时执行安全功能和接入控制。SGSN完成GPRS所有功能,并作为一个桥接器,完成在一个SGSN区域内所有MS的数据业务通道建立和信令控制,并提供计费信息。SGSN提供如下功能:
·移动性管理(Mobility Management);
·计费(Charging);
·分组路由和传送功能。
GGSN(Gateway GPRS Support Node)提供与外部互联网和包交换网络的接口,并通过PS的IP PL MN骨干网与SGSN相连,作为每一个MS发起的PPP连接的终结点,相当于MS对外连接的网关,可以提供计费信息。GGSN提供如下功能:
·分组路由和传送功能;
·负责管理和回收IP地址池;
(4)PS域主要接口
R99中PS域是基于IP承载的网络,其主要接口协议如表7-2所示。
表7-2 PS域主要接口协议

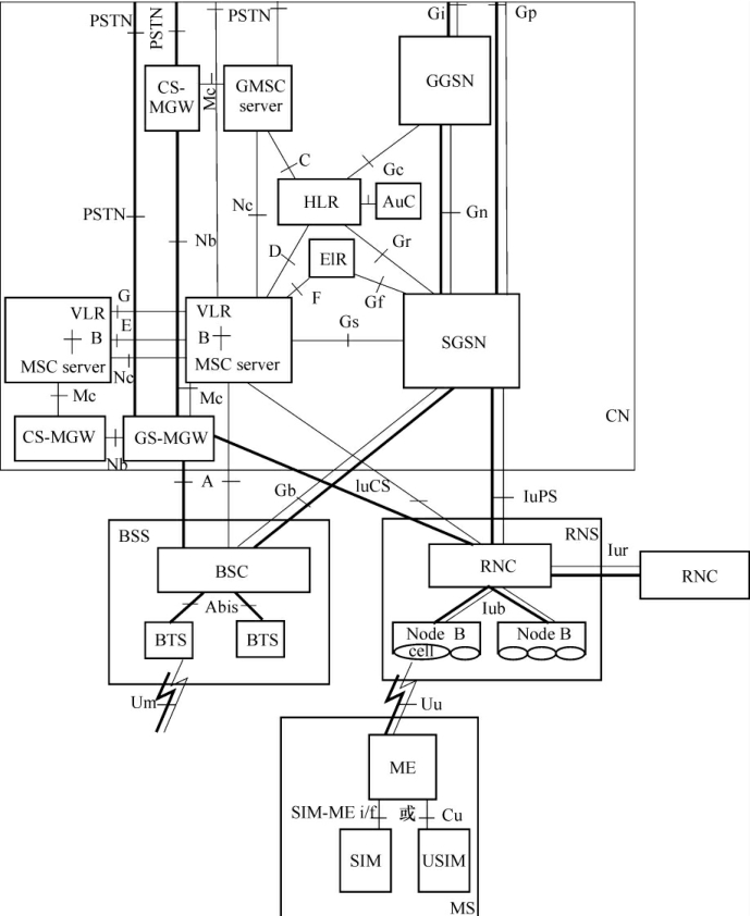
2.R4版本核心网
(1)R4网络的主要特点
·R4电路域实现呼叫控制与承载层相分离,话音、信令分组化。
·采用NGN的相关协议,各实体之间提供标准化的接口。
·纳入TD-SCDM A无线空中接口技术。
·使用TFO、Tr FO技术,明显改善语音质量。
TFO通过带内信令建立免编码器的连接,Tr FO通过带外信令建立免编码器的连接。TFO和Tr FO可以提高话音质量。MGW的A MR编解码器提供A MR和PCM码流之间的转换,由于编码器对话音编码是有损压缩,每经过一次编解码就会降低话音质量。采用TFO/Tr FO技术,A MR码流承载在IP之上,直接在两个MGW透明传输,减少编解码的次数,同时也减少了话音的传输时延,从而提高了话音质量。
另外,TFO和TrFO可以节约成本,提高传输效率。R4核心网电路域直接采用IP组网,MGW之间透明传输A MR码流,只有当MGW介于R4核心网和PSTN或其他TDM网络之间时,需要提供A MR编解码单元。因此可以根据具体组网情况选择MGW是否需要提供A MR编解码单元,从而节省设备成本,另外经过压缩的A MR语音可以节省传输资源。
R4网络结构如图7-10所示,和R99相比,PS域无变化,CS域的MSC基本上被分成MSC服务器(MSC Server)和媒体网关(Media Gateway,MGW)两个部分。
其中MSC服务器包含着一个标准MSC的移动性管理和呼叫控制逻辑电路。交换矩阵(Switching Matrix)不是被包含在MSC服务器中的,而是被包含在媒体网关(MGW)中。这个MGW受MSC服务器的控制,并可以被放置在远离MSC的位置处。电路交换呼叫控制信令存在于RNC和MSC服务器之间。电路交换呼叫的媒体路径则存在于RNC和MGW之间。

图7-10 R4网络结构
(2)新增功能实体
MSC服务器(MSC Server):主要由MSC的呼叫控制和移动控制组成,负责完成呼叫控制、移动性管理、用户业务数据和CA MEL相关数据的管理(V LR功能)等信令处理功能。
电路交换媒体网关(CS-MGW):是PSTN/PL M N的传输终结点,并且通过Iu接口连接核心网和U TRAN。CS-MGW可以是从电路交换网络来的承载通道的终结点,也可以是分组网来的媒体流的终结点。CS-MGW主要功能如下:
·与MSC服务器和GMSC服务器相连,进行资源控制;
·拥有并使用回音消除器等资源;
·可具有多媒体数字信号编解码器。
GMSC服务器(GMSC Server):主要由GMSC的呼叫控制和移动控制组成,负责完成PSTN/PLMN的呼叫处理和信令转换功能。
信令网关功能(SGW):网络必须利用媒体网关(Media Gateway)与传统网络进行接口,同时网络也必须与标准SS7网络接口,这个接口是通过使用一个SS7网关(SS7 GW,SS7 Gateway)来实现的。SGW在基于No.7信令的R4之前的网络和基于IP传输信令的R99之后的网络之间完成传输层信令的双向转换(Sigtran SCTP/IP对No.7 M TP),通常与MSC Server合设。
(3)主要接口协议
R4主要接口协议如表7-3所示,CS域接口增加了Mc、Nc、Nb,并且接口之间的协议可以基于IP方式。
表7-3 R4核心网CS域的接口

(G)MSCserver与MGW之间的Mc接口(媒体控制接口):支持多种呼叫模式、多种媒体的灵活的连接处理。使用IETF M EGACO(即H.248)协议。
MSCserver与(G)MSC Server之间的Nc接口(呼叫控制接口):完成局间的呼叫控制。使用基于ISUP的BICC呼叫控制协议。
MGW之间的Nb接口(网络承载接口):完成承载方式的控制和用户信息(语音、数据、图像、多媒体)的传送,完成不同媒体帧格式之间的转换。可以使用RTP/UDP/IP或AAL2/ATM协议。
在MSC服务器或(GMSC服务器)与媒体网关之间采用的控制协议是IT U的H.248协议。这个协议是由ITU和因特网工程特别任务组(Iinternet Engineering Task force,IETF)共同发展的。它有时还被称为媒体网关控制协议(Media Gateway Control,MEGACO)。
MSC服务器和GMSC服务器之间的呼叫控制协议可以是任何一种合适的呼叫控制协议。3GPP建议使用承载独立呼叫控制协议(Bearer Independent Call Contro1,BICC),但3GPP对这种协议的使用未作强制规定。这种BICC协议是基于IT U-T建议Q.1902的。
3.R5版本核心网
UM TS发展演化的下一步将是一种全IP多媒体网络体系结构的引入,R5网络结构如图7-11所示。
在从用户终端到最终目的地的所有路径上,话音和数据自始至终都是以同一方式进行处理的。这种体系结构可以被认为是话音和数据的最终统一化。图7-11中,话音和数据不再需要相互独立的两个接口,而是由同一个Iu接口来传送所有的媒体。这个Iu接口在核心网内部中止于SGSN,而不再需要独立的媒体网关。

图7-11 R5网络结构
还能在图中发现一些新的网络部件,主要是:呼叫状态控制功能(Call State Control Function,CSCF)、多媒体资源功能(Multimedia Resource Function,MRF)、媒体网关控制功能(Multimedia Gateway Control Function,MGCF)、传输信令网关(Transport Signaling Gateway,T-SGW)、漫游信令网关(Roaming Signaling Gateway,R-SGW)等。
所有IP体系结构的一个重要特征是用户设备(UE)的性能将大为提升。用户设备内将放置重要的逻辑电路。用户设备实际上将支持会话发起协议(Session Initiation Protocol,SIP),用户设备具有比以前更强的业务控制能力。
SGSN和GGSN是经过对GPRS和U M TS协议R99以及R4中所使用的相同节点进行了增强后得到的。它们在增强前后的区别在于:这些节点在增强后不仅能支持数据业务,还能支持传统上应属于电路交换的业务(如话音业务)。因此在SGSN和GGSN中,或者至少是在直接与SGSN及GGSN相连的路由器中,必须支持合适的服务质量(Quality of Service,QoS)功能。
MGW受到一个媒体网关控制功能(MGCF)的控制。这些实体间的控制协议是IT U-T H.248协议。MGCF同时还可以与CSCF进行通信。这个接口选择的协议是“会话发起协议(SIP)”。
3GPP协议第5版的全IP体系结构是对现有的R99以及R4的增强(提升)。这种增强在实际上是增加了核心网内一个新的域——“IP多媒体域(IM domain)”。这个新的域使得话音和数据从手机话筒开始一直能够自始至终通过IP进行传送。
(1)R5核心网络的特色
R5核心网络有以下特色:
·A LL IP网络的出现,不但在核心网络实现IP,在无线接入部分也引入IP。
·使用IPv6协议作为基本的IP承载协议。
·为适应IP多媒体业务的出现,新增IMS子域。引入大量新的功能实体。
·可连接多种无线接入技术(U TRAN、EGRAN)。
·智能业务的控制更加灵活,CA MEL4完成。
(2)IMS网络模型
归属用户服务器(Home Subscriber Server,HSS):H LR的功能是存储用户的标识、业务数据、位置数据等信息。HSS和H LR在功能上是等价的,HSS功能在H LR的基础上功能更加强大、支持更多的接口,可以处理更多的用户信息。HSS的功能包括IP多媒体功能、PS域必须的H LR功能、CS域必须的H LR功能等。它们两者的区别在于,与HSS的接口采用的是像IP这样的基于分组的传输方式,而H LR则倾向于使用基于No.7信令系统的标准接口形式。
状态控制功能(Call State Control Function,CSCF):对来自以及发往用户装置的多媒体会话(Multimedia Session)的建立、保持和释放进行管理,其中包括了像翻译和路由选择这样的功能。
网关控制功能(Media Gateway Control Function,MGCF):对一个特定网络而言,媒体网关控制功能是PSTN/PL MN网络的终结点。
多媒体资源功能(Multimedia Resource Function,MRF):提供多方呼叫和多媒体会议功能。它与H.323网络中的多点控制单元(MCU)的功能相同。在多方/多媒体会议中,与GGSN和MGW共同负责承载业务控制。可以与CSCF进行通信,对多方/多媒体会话进行业务认证(validation)。
传送信令网关(Transport Signalling Gateway,T-SGW):是PSTN/PL MN网络的终结点,包括以下功能,即在IP层上对来自PST N/PL M N的与呼叫有关的信令进行映射,然后将它发送给MGCF;或者接收来自于MGCF的与呼叫有关的信令,然后在IP层上对其进行映射,再将它发送给PST N/PL M N,提供PSTN/PL MN与IP传输层之间的地址映射。
(3)相关接口
R5在R99、R4基础上,由于引入IMS的概念带来了接口上的变化。IP多媒体子系统提供相关接口有Mj、Mk、Mm、Mg、Mc、Mw、Mr、Cx等。
Cx接口:HSS与CSCF之间的接口,支持CSCF和HSS之间的信息传输。
Gm接口:CSCF与UE之间的接口,UE通过该接口与CSCF联系,通过该接口实现在CSCF登记、呼叫始发与终接、补充业务控制等。
Mc接口:MGCF与IM-MGW之间的接口,完全遵从H.248标准,支持不同呼叫模型的灵活连接处理;MGW物理节点资源的动态共享,一个物理的MGW可以分割成多个分离的逻辑MGW;根据H.248协议实现在MGW控制的承载和管理资源之间动态的传输资源共享;支持移动特定的功能,如SRNS重定位/切换等。
Mg接口:MGCF与CSCF之间的接口,基于外部网络定制,如SIP。
Mm接口:CSCF和IP网络之间的IP接口,该接口用于从另一个VoIP呼叫控制服务器或终端接收呼叫请求。
Mr接口:CSCF与MRFC之间的接口,用于S-CSCF和MRFC的交互,接口协议使用SIP。
Mp接口:MRFC与MRFP之间的接口,MRFC通过Mp接口控制MRF提供的媒体流资源,该接口的特征完全遵从H.248标准,是一个开放的接口。
Mw接口:CSCF与CSCF之间的接口,通过该接口,询问CSCF和服务CSCF之间交互信息。
Mi接口:CSCF与BGCF之间的接口,通过该接口,服务CSCF前转会话到BGCF以达到与PSTN交换的功能。基于SIP协议。
Mj接口:BGCF与MGCF之间的接口,该接口允许BGCF前转相关信令到MGCF以完成PSTN网络的交互。基于SIP协议。
Mk接口:BGCF与BGCF之间的接口,该接口允许BGCF前转相关信令到另外一个BGCF。基于SIP协议。
4.R6版本的核心网
到了R6版本阶段,网络架构方面已没有太大变更,主要是增加了一些新的功能特性,以及对已有功能特性的增强。目前,R6版本还在制订过程中,实际的最终冻结时间尚未确定。