1
移动通信原理与系统
1.6.2.1 5.2.1 WCDMA标准历程

5.2.1 WCDMA标准历程

WCDMA和TD-SCDMA的标准化工作由3GPP来完成,随着技术的创新,不断有新的版本推出,目前有R99、R4、R5、R6、R7等多个标准。

1.R99阶段

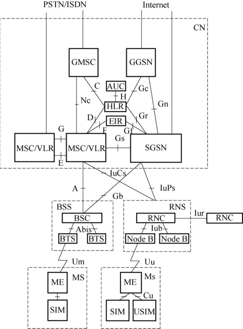
R99是3GPP关于第三代网络标准化的第一阶段版本。R99的协议标准化已于2001年6月冻结。R99的基本配置结构如图5.6所示。

img208

图5.6 R99基本网络结构

为了确保运营商的投资利益,R99的网络结构设计中充分考虑了2G与3G的兼容性问题,以支持现网向3G的平滑过渡,因此基本网络结构及核心网部分没有变化。

WCDMA系统的网络部分分为无线接入网(UTRAN)和核心网(CN)。无线接入网包括一个或几个通过Iu接口连接到CN的RNS。一个RNS由多个无线基站收发设备Node B和一个无线网络控制器RNC组成。Node B通过标准的Iub接口和RNC互连,主要完成Uu接口物理层协议的处理。它的主要功能是扩频、调制、信道编码及解扩、解调、信道解码,还包括基带信号和射频信号的相互转换等功能。

核心网包括两部分:电路交换域(基于原来的GSM的电路交换部分)和分组交换域(基于原来的GPRS的分组交换部分)。为了支持3G业务,有些网元增加了相应的接口协议,引入了新的无线接入网WCDMA。

R99网络的核心网主要功能实体可以分成三部分:分组交换域(PS,PacketSwitch)和电路交换域(CS,Circuit Switch)共用的实体、只在电路交换域(CS)使用的实体、只在分组交换域(PS)使用的实体。

(1)电路交换域(CS)和分组交换域(PS)共用的实体

电路交换域(CS)和分组交换域(PS)共用的实体主要包括以下几个部分:

归属用户服务器(HSS):负责存储用户信息,包括支持网络实体呼叫/会议处理的相关签约信息。HSS包括HLR(归属位置寄存器)和AUC(鉴权中心)。

设备标识寄存器(EIR):负责存储国际移动设备标识(IMEI)的数据库,用于对移动设备的鉴别和监视,并拒绝非法终端入网。

(2)只在电路交换域(CS)使用的实体

在R99中,只在电路交换域(CS)使用的实体包括以下部分:

移动业务交换中心(MSC):CS域的核心,执行所有必需的功能来处理和终端之间的电路交换业务,是一个对位于本MSC控制区域内的移动用户执行信令和交换功能的交换机。

网关MSC(GMSC):负责转接相关网络间的呼叫。当网络传递一个呼叫到PLMN,但无法查询HLR时,该呼叫将被路由到GMSC,由GMSC查询HLR,并将呼叫路由转接到MS所处的MSC。

访问位置寄存器(VLR):负责用户的位置登记和位置信息的更新,存储位于管辖区内的移动用户信息。

(3)只在分组交换域(PS)使用的实体

只在分组交换域(PS)使用的实体主要包括以下两部分:

服务GPRS支持节点(SGSN):主要完成分组的路由寻址和转发,负责跟踪记录终端的位置信息,执行安全性功能。

网关GPRS支持节点(GGSN):起网关的作用,主要完成移动性管理、网络接入控制、路由选择和转发、计费数据的收集和传送,以及网络管理等功能。

商用网络采用R99,其主要优点是:技术成熟、风险小;已经形成多厂商供货环境。但因为过多地考虑了向下兼容,技术先进性差,也存在以下的缺点:核心网因考虑向下兼容,其发展滞后于接入网,接入网已经分组化的语音须经过编解码器转化成64kbit/s电路,降低了语音质量,核心网的传输资源利用率低;分组交换域和电路交换域两域并行,不仅投资增加,而且网管复杂程度高,维护费用高;网络的智能仍然基于节点,全网新业务部署仍需逐点进行,耗时且成本高。

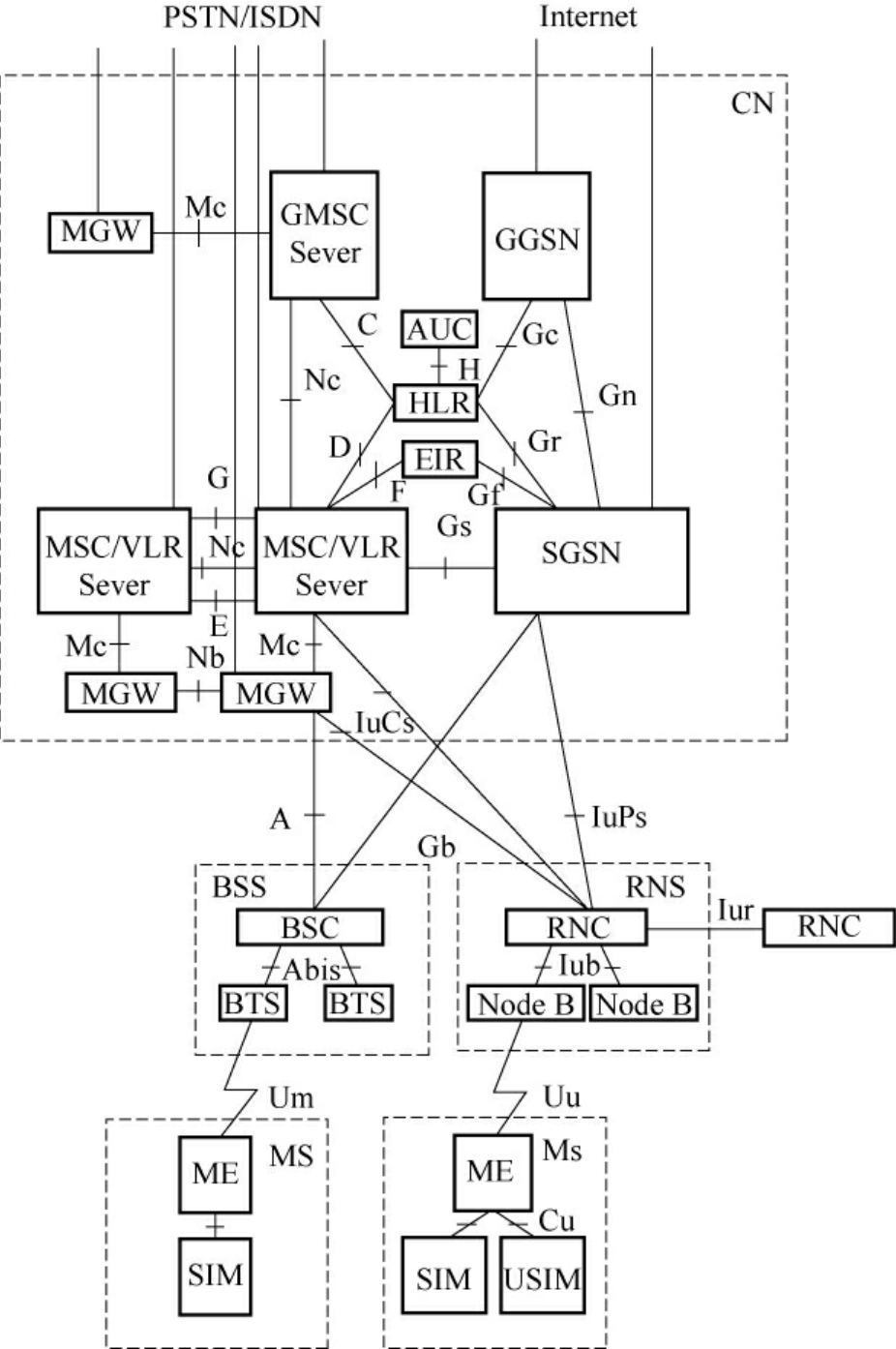
2.R4阶段

R4版本在2001年3月首次发布。R4的基本配置结构如图5.7所示,R4的网络结构和R99相比,其核心网分组域和UTRAN的网络结构几乎没变,主要是核心网电路域的结构发生了很大变化,R4在电路域上根据呼叫控制和承载以及承载控制分离的思想,R99网络电路域的网元实体(G)MSC演化为媒体网关(MGW,完成媒体流的转换和承载控制)和(G)MSC Server(完成呼叫控制和移动性管理,VLR和MSC Server集成在一起)。同时相关接口发生了变化,向全IP的核心网迈进了一步。

img209

图5.7 R4基本网络结构

R4主要优势是:核心网络上体现了NGN的体系构架思想,电路域由TDM中心节点交换型演进为典型的分组话音分布式体系结构,业务逻辑与底层承载相分离,通过MSC Serv-er、MGW将语音和控制信令分组化,使电路交换域和分组交换域可以承载在一个公共的分组骨干网上。R4主要实现了语音、数据、信令承载统一,这样可以有效降低承载网络的运营和维护成本;而在核心网采用压缩语音的分组传送方式,可以节省传输带宽,降低传输建设成本。另外,由于控制和承载分离,使得MGW和MSC Server可以灵活放置,提高组网的灵活性,集中放置的MSC Server可以使业务的开展更快捷。当然,由于R4网络主要是基于软交换结构的网络,为向R5的顺利演变奠定了基础。但是运营商和各个厂家还需要一段时间来积累新网络运营的经验,需要关注和解决很多新的问题,如在IP网络上的安全性问题、Qos问题等。

3.R5阶段

R5于2002年6月定稿,是全IP的第一个版本。R5在无线接入网上引入了IP UT-RAN和HSDPA(高速下行分组接入技术)的概念,IP可作为无线接入网的信令传输和用户数据承载;HSDPA通过采用若干新技术(例如,自适应调制和编码、混合ARQ协议、快速小区选择方案等)可使空中下行速率达到8Mbit/s以上。

在R4的基础上,R5核心网增加了IMS(多媒体子系统),IMS是一个在PS域上面的多媒体控制/呼叫控制平台,由CSCF(呼叫状态控制功能)、MGCF(媒体网关控制功能)、MRF(媒体资源功能)和HSS(归属签约用户服务器)等功能实体组成。R4的基本配置结构如图5.8所示。

IMS的引入,为开展基于IP技术的多媒体业务创造了条件。IMS使得PS具有CS的部分功能,例如通过提供QoS和增强的计费功能,能够实现各种实时性业务:电话和可视电话;IMS引入增强的网络业务,为移动用户引入了新的基于IP的业务,例如会议、即时消息;IMS是向All IP Network业务提供体系演进的一步。

img210

图5.8 R5基本网络结构

WCDMA核心网的发展,是与整个通信核心网络发展的趋势相一致的,并最终融合为一个统一的All IP网络;VoIP和IP QoS技术的成熟,是统一的All IP网络的前提;IP将成为语音、数据、信令的统一载体,提供传输和路由。R5是真正的全IP网络,实现端到端的IP业务;呼叫控制、承载控制、媒体网关的分离以及在IP网络上的多业务融合体现了NGN的思想。

4.R6阶段

R6于2004年12月定稿。R6在网络架构上没有多大的变化,主要是在R5基础上增加一些新的功能特性,例如IMS与CS的互通、IMS与IP网的互通、WLAN接入等。

在无线接入网上引入了HSUPA(高速上行分组接入技术)的概念。HSUPA解决上行链路分组化问题,提高上行速率,进一步引入自适应波束成型MIMO等天线阵处理技术,将上行速率提高到30Mbit/s。

5.R7阶段

R7版本主要完成R6未完成的标准和业务制定工作,支持通过CS域承载IMS语音、通过PS域提供紧急服务、提供基于WLAN的IMS语音与GSM的CS域互通、提供XDSL和Cable Modem等固定接入方式,同时引入OFDM,完善HSDPA、HSUPA。