8.2 数控电火花线切割机床操作与编程
8.2.1 线切割机床简介
8.2.1.1 线切割加工的基本原理
线切割加工(WEDM)是电火花线切割加工的简称,它是用线状电极(钼丝或铜丝)以火花放电方式对工件进行切割。
线切割机床通常分为两类:快走丝与慢走丝。前者是电极丝做高速往复运动,走丝速度为8~10 m/s,国产的线切割机床多是此类机床。慢走丝机床的电极做低速单向运动,一般走丝速度低于0.2 m/s。
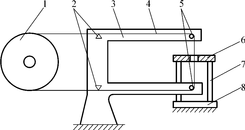
图8-7为快走丝线切割加工的示意图。铂丝4穿过工件2上预先钻好的小孔,经导轮5由储丝筒7带动做往复交替移动,工件通过绝缘板1安装在工作台上,工作台在水平面X、Y两个坐标方向各自按给定的控制程序移动而合成任意平面曲线轨迹。脉冲电源3对电极丝与工件施加脉冲电压,电极丝与工件之间浇注一定压力的工作液,当脉冲电压击穿电极丝与工件之间的间隙时,两者之间产生火花放电而切割工件。线切割的加工精度可达0.01 mm,表面粗糙度Ra为1.25~2.5μm。
线切割机床的控制方式有仿型控制、光电跟踪控制和数字程序控制等方式,但目前国内外95%以上的线切割机床都已数控化,采用不同水平的数控系统(单片机、单板机、微机)。微机数控是当今的发展趋势。

图8-7 线切割原理
1—绝缘底;2—工件;3—脉冲电源;4—铂丝;5—导轮;6—支架;7—储丝筒
线切割加工属于电火花加工,但由于采用细金属丝作工具电极,无须制作成形工具电极,大大降低了成形工具电极的设计、制造费用,缩短了生产准备时间,而且细的电极丝可以加工微细的异形孔、窄缝和复杂的工件。由于采用移动的长电极丝进行加工,单位长度电极丝的损耗较小,从而对加工精度的影响较少。
线切割加工广泛应用于加工各种硬质合金和淬火钢的冲模、样板,以及各种外形复杂的精细小零件、窄缝等,并可多件叠加起来加工,能获得一致的尺寸。切割模具零件时,通过调整不同的间隙补偿量,只需一次编程就可以切割出凸模、凹模固定板、凹模及卸料板等。因此,线切割机床是模具制造企业必不可少的设备。对于多品种小批量的零件、特殊难加工材料的零件、材料试验样件、各种型孔、特殊齿轮、凸轮、样板、成形刀具等零件的制造,线切割加工也具有极大的优势。由于不要制造模具,在新产品试制中可以大大缩短制造周期、降低成本。四轴联动的线切割机床还可以加工锥体、上下异面扭转体等复杂形状零件。总之,线切割加工已经成为了一种非常普及的特殊加工工艺。
8.2.1.2 快速走丝电火花线切割机床结构
数控快速走丝电火花线切割机床主要由床身、工作台、锥度切割装置、走丝机构、机床电气箱、工作液循环系统、脉冲电源、数控系统等组成,如图8-8所示。

图8-8 数控快速走丝电火花线切割机床的组成
1—床身;2—工作台;3—丝架;4—储丝筒;5—紧丝电动机;6—数控箱;7—工作液循环系统
1.工作台
坐标工作台用来承载工件,由控制系统发出进给信号分别控制X、Y方向的驱动电动机,按设定的轨迹运动,完成工件的切割运动。该工作台主要由工作台驱动电动机(步进电动机或交、直流伺服电动机)、进给丝杠、导轨与拖板、安装工件的工作台面等组成。
2.走丝机构
线切割机床走丝机构的主要功能是带动电极丝按一定的线速度,在加工区域保持张力的均匀一致,以完成预定的加工任务。
快速走丝线切割机床的线电极,被整齐有序地排绕在储丝筒1表面,如图8-9所示,线电极从储丝筒上的一端经丝架上上导轮(导向器)2定位后,穿过工件、再经过下导轮(定位器)返回到储丝筒上的另一端。加工时,线电极在储丝筒电极的驱动下,将在上、下导轮之间做高速往复运动。当驱动储丝筒的电动机为交流电动机时,线电极的走丝速度受到电动机转速和储丝筒外径的影响而固定为450 m/min左右,最高可达700 m/min。如果采用直流电动机驱动储丝筒,该驱动装置则可根据加工工件的厚度自动调整线电极的走丝速度,使加工参数更为合理。尤其是在进行大厚度工件切割时,需要有更高的走丝速度,这样会有利于线电极的冷却和电蚀物的排除,以获得较低的表面粗糙度。为了保持加工时线电极有一个较固定的张紧力,在绕线时要有一定的拉力(预紧力),以减少加工时线电极的振动幅度,提高加工精度。


图8-9 快速走丝系统示意
图8-10 偏移上、下导轮
—储丝筒;2—导向器;3—丝架;4—线电极;—导轮;6—工件;7—夹具;8—工作台
3.锥度切割装置
电极丝通过两个导轮来支撑,并且电极丝工作部分与工作台面保持一定的几何角度。当切割直壁时,电极丝与工作台面垂直。需要进行锥度切割时,有的机床采用偏移上、下导轮的方法,如图8-10所示。用这种方法加工的锥度一般较小。采用四坐标联动机构的机床,能切割较大的锥度,并可进行上、下异形截面的加工。
4.数控系统
数控系统的主要作用是在电火花线切割加工过程中,按加工要求自动控制电极丝相对工件的运动轨迹和进给速度,来实现对工件形状和尺寸的加工,即当控制系统使电极丝相对工件按一定轨迹运动时,还应实现进给速度的自动控制,以维持正常的稳定切割加工。进给速度是根据放电间隙大小与放电状态自动控制的,使进给速度与工件材料的蚀除速度相平衡。
电火花线切割数控机床控制系统的主要功能如下。
(1)轨迹控制系统精确控制电极丝相对于工件的运动轨迹,以获得所需的形状和尺寸。
(2)加工控制系统主要包括对伺服进给速度、电源装置、走丝机构、工作液系统以及其他的机床操作控制。此外,失效、安全控制及自诊断功能也是一个重要的方面。
5.脉冲电源
电火花线切割所用的脉冲电源又称高频电源,是线切割机床重要的组成部分之一,是决定线切割加工工艺指标的关键装置,提供工件和电极丝之间的放电加工能量。线切割加工的切割速度、被加工面的表面粗糙度、尺寸和形状精度及电极丝的损耗等,都将受到脉冲电源的影响。对电火花线切割脉冲电源的基本要求如下。
(1)脉冲峰值电流要适当。脉冲峰值电流的大小对切割速度、表面粗糙度和电极丝的损耗都有影响,故线切割的放电峰值电流的变化范围不宜太大,一般在1.5~3.5 A范围内。
(2)脉冲宽度相对要窄。脉冲宽度的宽窄标志着单个脉冲的能量的强弱,脉冲宽度窄可以得到较高的加工精度和较低的表面粗糙度。如果脉冲太窄会使加工速度降低,所以对于不同的材料和工件的厚度,应合理选择脉冲宽度。一般以机床进给均匀和不短路为宜。
(3)脉冲重复频率要尽量高。为了兼顾加工精度、表面粗糙度、切割速度这几项工艺指标,应尽量提高脉冲频率,即缩短脉冲间隔,增大单位时间内放电次数。这样既能获得较低的表面粗糙度,又能得到较高的切割速度。
(4)减少电极丝损耗。在快速走丝线切割加工中,电极丝往复使用,电极丝的损耗太大会影响加工精度,同时还会增大断丝的概率。因此,要求线切割加工脉冲电源应具备较低的电极丝损耗的性能,以便能保证一定的加工精度和维持长时间的稳定加工。
(5)参数调节方便,适应性强。脉冲电源应能适应各种条件的变化,即在不同材料、不同厚度、不同形状与不同精度、粗糙度要求的情况下,能获得满意的加工结果。
6.工作液循环系统
工作液循环系统主要是保证线切割放电区域正常稳定工作,及时带走加工区域的电蚀物及放电产生的热量。
快速走丝线切割机床工作液循环系统原理如图8-11所示。工作液泵7将工作液经滤网8吸入,并通过主进液管6分别送到上丝臂进液管4、下丝臂进液管5,用阀门调节其供液量的大小,加工后的废液由工作台1靠自重(通过回液管2)流回工作液箱9。废液经过过滤层3,大部分蚀物被过滤掉。乳化液主要用于快速走丝线切割机床。

图8-11 快速走丝线切割机床工作液循环系统原理
—工作台;2—回液管;3—过滤层;4—上丝臂进液管;5—下丝臂进液管;—主进液管;7—工作液泵;8—滤网;9—工作液箱
电火花线切割加工的工作液应具有的性能有:一定的绝缘性能;较好的洗涤性能;较好的冷却性能;对环境无污染,对人体无危害;配制方便,使用寿命长,乳化充分,冲制后油水不分离,长时间储存也不应有沉淀或变质现象。
8.2.2 线切割加工的特点
1.快速走丝电火花线切割的特点
电火花线切割加工与电火花线成型加工相比较的特点。
(1)不需要制造成型电极,工件材料的预加工量少。
(2)由于采用移动的长电极丝进行加工,单位长度电极丝损耗较少,对加工精度影响小。
(3)电极丝材料不必比材料硬,可以加工难切削的材料,例如,淬火钢、硬质合金;但无法加工非导电材料。
(4)由于电极丝很细,能够方便地加工复杂形状、微细异型孔、窄缝等零件,又由于切缝很窄,零件切除量少,材料损耗少,可节省贵重材料,成本低。
(5)由于加工中电极丝不直接接触工件,故工件几乎不受切削力,适宜加工低刚度工件和细小零件。
(6)直接利用电、热能加工,可以方便地对影响加工精度的参数(如脉冲宽度、间隔、电流等)进行调整。有利于加工精度的提高,操作方便,加工周期短。便于实现加工过程中的自动化。
2.快速走丝电火花线切割加工应用范围
(1)模具加工。绝大多数冲裁模具都采用切割加工制造,如冲模,包括大、中、小型冲模的凸模、凹模、固定板、卸料板、粉末冶金模、镶拼型腔模、拉丝模、波纹板成型模、冷拔模等。
(2)特殊形状、难加工零件,如成型刀具、样板、轮廓量规;加工微细孔槽、任意曲线、窄缝,如异形孔喷丝板、射流元件、激光器件、电子器件等微孔与窄缝。
(3)特殊材料加工。各种特殊材料和特殊结构的零件,如电子器件、仪器仪表、电机电器、钟表等零件,以及凸轮、薄壳器件等。
(4)贵重材料的加工。各种导电材料,特别是稀有贵重金属的切断;各种特殊结构工件的切断。
(5)可多件叠加起来加工,能获得一致的尺寸。
(6)可制造电火花成型加工用的粗、精工具电极,如形状复杂、带穿孔的、带锥度的电极。
8.2.3 线切割机床操作介绍
8.2.3.1 DK7740E工作原理
DK7740E机床的机床电气按GB 5226—1985标准要求设计,它是由按钮面板、电气安装板及插座板等组成的,具有运丝筒自动换向、断丝保护、加工结束停机及断电刹车等功能。该电气结构简单、功能齐全、操作方便。
1.按钮面板
按钮面板如图8-12所示。

图8-12 控制面板
SB1—带灯按钮;SP1—急停按钮;SB2、SB3、SP2、SP3—控制开关;E1、E2—旋钮开关
2.开机过程
(1)上丝、工件装夹、线架调整等准备就绪。
(2)按下运丝按钮SB2,运丝电动机运转。
(3)按水泵按钮SB3按钮,水泵运行。
(4)开启脉冲电源旋钮SA2。
(5)计算机送入程序,步进电动机上电,执行程序切割,调节变频电位器稳定。
3.关机过程
(1)关脉冲电源按钮。
(2)按下控制按钮SP2、SP3,运丝电动机和水泵电动机停。
(3)关控制柜电源,计算机退出执行程序状态。
(4)关总停电源开关。
4.工作原理
本机床电器电路,包括水泵电路、运丝及自动换向电路、关运转或换向时自动关高频电路、停机制动电路、无人自动值班电路。
(1)接通机床外设电源开关,合上急停开关SP1按下带灯按钮SB1,电源指示灯L2亮,机床进电控制电路接通电源,要求输入电压范围380 V±10%,按SB2开启运丝。
(2)开启运丝后,丝筒朝远离操作者方向运行,移动感应块与一端接近开关感应发出信号,运丝筒换向运行;移动感应块与另一端接近开关感应发出信号,运丝筒再换向运行,周而复始。
(3)运丝换向接近开关失效时,丝筒继续前移,移动撞杆压下行程开关即停机制动,全机停。
(4)按下控制按钮SB3,水泵工作。
(5)打开旋钮开关E1、E2,控制系统发出加工结束信号或发生断丝现象,机床电气控制部分将立即报警停机。
8.2.3.2 机床操作和调整
1.准备工作
(1)启动电源开关,让机床空载运行,观察其工作状态是否正常。其内容如下:
①控制台必须正常工作10 min以上;
②机床各部件运动副正常工作;
③脉冲电源和机床电器工作正常无误;
④各个行程开关触点动作灵敏;
⑤工作液各个进出管路畅通无阻,压力正常,扬程符合要求。
(2)按机床润滑要求注油。
(3)添加或更换工作液,一般以每隔10~15天更换1次为宜。
(4)决定是否调换电极丝。
2.调整线架
(1)导轮及排丝轮的调整。调整时,既要保证导轮及排丝轮转动灵活,又要无轴向间隙。更换时,导轮及排丝轮轴承内应加高速润滑油。
(2)用角尺或钼丝校正器检测钼丝与工作台垂直度,若钼丝与工作台不垂直,可用锥度旋钮及悬臂上的调整套来进行调节。
3.钼丝绕装
(1)上丝的起始位置在丝筒右侧(远离运丝电动机一端),用摇手柄将丝筒右侧停在线架中心位置。
(2)将右边撞块压住换向行程开关触点,左边撞块尽量拉远。
(3)松开上丝器4上螺母5,装上钼丝盘6后拧上螺母5,如图8-13所示。
(4)调节螺母9,将钼丝盘压力调节适中。
(5)将铜丝一端通过排丝轮3上丝轮后固定在储丝筒1右侧螺钉上。
(6)逆时针空转储丝筒几圈,转动时撞块不能脱开换向行程开关触点。
(7)按操纵面板SB2旋钮(运丝开关),丝筒转动,钼丝自动缠绕在储丝筒上,达到要求后,按操纵面板SP2急停旋钮,上丝结束。
(8)手动上丝按上述②至⑦操作后用摇手柄转动丝筒即可。
(9)剪断钼丝,松开上丝器上螺母5,取下钼丝盘6后拧上螺母。
(10)如图8-14所示绕丝,将钼丝另一端固定在丝筒左侧螺钉上。


图8-13 机床上丝示意图
图8-14 绕丝示意图
—储丝筒;2—铜丝;3—排丝轮;4—上丝器;5—螺母;—钼丝盘;7—挡圈;8—弹簧;9—调节螺母;10—螺钉
—上丝轮;2—断丝机构;3—排丝轮;4—导电块;—导轮;6—切割;7—导轮;8—电极丝;9—储丝筒
(11)用紧丝轮手动紧丝2~3遍,用力应均匀。
注意:开运丝时必须拿掉摇手柄以防其飞出伤人。
4.工件装夹
(1)装夹工件前先校正电极丝与工作台的垂直度。
(2)选择夹具,并将夹具固定在工作台上。
(3)装夹工件时,应根据工件图纸要求用百分表等量具找正基准面,使其与工作台的X向或Y向平行。
(4)装夹工件位置应使工件的切割区控制在机床行程范围内。
(5)装夹工件时应保证在切割过程中工件与夹具不应碰到线架的任何部分。
(6)工件装夹完毕必须清除工作台面上的一切杂物。
5.锥度切割
进给量及补偿量计算公式如下(见图8-15):

图8-15 锥度切割示意图
1—上导轮中心;2—加工件;3—夹具上平面;4—夹具;5—工作台面;6—导轮中心
设要切割锥度为α,则锥度切割的进给量为
X=HTanα
补偿量为
ΔX=H1tanα
式中:H——上、下导轮中心之间的距离;
H1——夹具上平面与下导轮中心之间的距离。
6.机床操作步骤
(1)开机、合上急停开关SP1按下带灯按钮SB1。
(2)把加工程序输入计算机。
(3)根据工件的厚度调整线架跨距(切割工件时不允许调整线架跨距)。
(4)安装工件。
(5)绕电极丝。
(6)开运丝开关。
(7)开水泵开关,调节喷水量。开水泵时,应先把调节阀关掉,然后逐渐开启,调节至水柱包容电极丝射向切割即可,水量不必太大。
注意:开水泵时,如不关闭或关小调节阀,就会造成冷却液飞溅。
(8)开始切割以前,应设置好系统的加工状态,由计算机开进给、开高频及设定自动状态,正常切割时观察机床电流表,调节使指针稳定(允许电流表指针略有晃动)。
(9)加工结束后应先关闭水泵开关,然后关闭运丝开关,检查X、Y坐标是否到达终点,到终点时拆下工件,清洗并检查质量。未到终点时应检查程序是否有错、控制台是否有故障。
注意:机床控制面板上有红色急停按钮开关,工作中如有意外情况,按下此开关即可断电停机。
8.2.4 线切割3B格式编程
1.3B代码程序编制方法
3B程序为相对坐标程序,即每一图线的坐标原点随图线发生变化,直线段的坐标原点为直线原点,圆弧段的坐标原点为此圆弧的圆心。常见的图形都是由直线或圆弧组成,任何复杂的图形,只要分解为直线和圆弧,就可以依次分别编程。编程需要的参数有五个:切割的终点坐标X、Y;切割时的计数长度J;切割时的计数方向G;切割轨迹的类型Z,也称为加工指令。
1)3B代码程序格式
我国数控线切割机床采用统一的五指令3B程序格式,即
BX BY BJ G Z其中:B——分割符,用来区分、隔离X、Y和J等数码,B后的数字为零,零可以不写;
X,Y——坐标值,即直线的终点或圆弧起点坐标值,编程时均取绝对值,单位μm;
J——计数长度,单位μm,计数长度应取从起点到终点某拖板移动的总距离,当计数方向确定后,计数长度则为被加工线段或圆弧在该方向坐标轴上的投影长度的总和;
G——计数方向,GX为X方向计数,GY为Y方向计数,表示工作台在该方向每走1μm时,计数长度减1,当计数长度减到等于零时,这段程序加工完毕;
Z——加工指令,分为直线L和圆弧R两大类,直线按走向和终点所在象限,分为L1、L2、L3、L4四种,圆弧又按第一步进入的象限及走向分为顺圆和逆圆,顺圆分别为SR1、SR2、SR3、SR4,逆圆分别为NR1、NR2、NR3、NR4,如图8-16所示。

图8-16 直线和圆弧的加工指令
2)直线的编程方法
(1)直线的起点作为坐标的原点。
(2)X、Y值均为终点相对起点的坐标值的绝对值。
(3)计数长度J是计数方向上该直线在X轴或Y轴上的投影值,决定计数长度要和选择的计数方向一起考虑。
(4)计数方向G的选择应取此程序最后一步的轴向为计数方向。在不能预知时,一般选取与终点处的走向较平行的轴向为计数方向。对直线而言,取X、Y中较大的绝对值和轴向作为计数长度J和计数方向。
(5)加工指令Z按直线走向和终点所在象限不同而分为L1、L2、L3、L4,其中与正X轴重合的直线算作L1,与正Y轴重合的直线算作L2,与负X轴重合的直线算作L3,与负Y轴重合的直线算L4。与X、Y轴重合的直线,编程时X、Y均可作为0,且在B后可不写。
3)圆弧的编程方法
(1)将圆弧圆心作为坐标的原点。
(2)X、Y为圆弧起点相对于圆弧圆心的坐标值。
(3)计数长度J是计数方向上圆弧在X、Y轴各象限投影长度之和,决定计数长度要和所选的计数方向一起考虑。
(4)计数方向按圆弧终点计算,取终点坐标较小的一个轴作为计数方向。
(5)对圆弧的加工指令,按圆弧插补时第一步所进入的象限可分为R1、R2、R3、R4,按切割方向又分为顺圆S和逆圆N,故共有八种加工指令:SR1、SR2、SR3、SR4;NR1、NR2、NR3、NR4。如图8-16所示。
2.3B代码编程举例
如图8-17所示的加工图形,其3B指令图形如下:
B B B15000GY L4
B B B20000GXll
B B15000B30000GX SR1
B B B40000GX L3
B B15000B30000GX SR3
B B B20000GX L1
B B B20000GY L2

图8-17 3B代码编程举例
8.2.5 线切割4B格式编程
4B指令用具有间隙补偿功能和锥度补偿功能的数控线切割机床的程序编制。所谓间隙补偿,就是指电极丝在切割工件时,电极丝中心运动轨迹能根据要求自动偏离编程轨迹一段距离(补偿量)。当补偿量设定为偏移量时,编程轨迹即为工件的轮廓线。显然,按工件的轮廓编程要比按电极丝中心运动轨迹编程方便得多,轨迹计算也比较简单。而且,当电极丝磨损,直径变小;当单边放电间隙Z随切割条件的变化而变化后,也无须改变程序,只需改变补偿量即可。锥度补偿是指系统能根据要求,同时控制X、Y、U、V四轴的运动(X、Y为机床工作台的运动,即工件的运动;U、V为上线架导轮的运动,分别平行于X、Y),使电极丝偏离垂直方向一个角度(即锥度),切割出上大下小或上小下大的工件来。
4B指令就是带“+/-”符号的3B指令,为了区别于一般的3B指令,故称为4B指令,4B指令格式:+/-BXBYBJGZ。其中的“+/-”符号用以反映间隙补偿信息和锥度补偿信息,其他与3B指令完全一致。间隙补偿切割时,“+”号表示正补偿,当相似图形的线段大于基准轮廓尺寸时为正补偿;“-”号表示负补偿,当相似图形的线段小于基准轮廓尺寸时为负补偿。
8.2.6 线切割ISO格式编程
ISO格式数控程序是指按国际标准化组织(ISO)规定的数控机床的坐标轴和运动方向、数控程序的编码字符和程序格式、准备功能和辅助功能等标准与规范编写的数控程序。这与编写数控车铣床的数控程序相似。
1.ISO代码介绍
一个数控系统的零件程序就是一组被送到数控系统中去的指令和数据。一个程序是由遵循一定结构、句法和格式或规则的语句和命令所组成的。
下面以HCKX320为例来说明ISO代码的含义及编程使用的方法。
1)程序格式
(1)词:一个程序由许多指令语句组成,每个指令语句又由若干个词组成,词包括预备功能、进给功能、辅助功能等。词的组成结构如下:
词=地址+代码数据
(2)地址:用字母表示,字母规定代码后面数据的含义等,其规定意义见表8-2。
表8-2 字母规定意义

(3)代码和数据:代码和数据的输入格式如下。
①G(预备功能):在预备功能中,在G后面输入的数据最多可以为两位,即00~99。例如G00或G97。
②X、Y、U、V(坐标位移的规定):X、Y后的输入数据在-999 999~+9 999 999μm范围内有效,U、V后的输入数据在-999 999~+999 999μm之间有效,如果是正号则可省略。例如,X1000或X1.0。
③I、J(圆心坐标的规定):I、J后的数据为圆心相对于起点的坐标增量。
④D(偏移量和补偿值的规定):D后的数据在0~+9 999 999μm之间有效。
⑤A(锥度的规定):A后的数据在±1~±9999.999之间有效。最小单位为0.001。
⑥C(加工条件的规定):C后用两位数字格式规定加工条件,共100个,即C0~C99。
⑦M(辅助功能):用两位数字输入格式,规定机床加工程序的部分开关。
⑧H(机床参数规定):切割锥度时必须给出的机床参数。H工作厚度:输入数值在0~+9 999 999μm范围内有效。
(4)语句格式:指令+地址+符号+绝对值或增量值。例如,G01X1000Y1000。
2)代码说明
MD22EDW快走丝线切割系统常用指令如表8-3所示。
表8-3 MD22EDW快走丝线切割系统常用指令

3)线径补偿及锥度加工说明
(1)线径补偿就是用电极丝直径的一半(半径)表示电极丝路径的偏移。丝径的电极丝按理论给定的轮廓尺寸加工时得到一个与之相等的形状和尺寸,数控系统将电极丝实际走过的轨迹加大或缩小一个补偿值,以弥补丝径和放电间隙尺寸的影响。其补偿值D=丝半径+σ(放电间隙)。
如图8-18所示为补偿指令G41和G42的区别。
程序段如下:
G90X_Y_;
G41(G42)D_;
G01X_Y_;
G01X_Y_:
……
G40X_Y_;
M02
其中,D后的数据为偏移量数据。

图8-18 补偿指令G41和G42的区别
(2)锥度加工。进行锥度加工时,首先必须输入几项数据,若不输入数据,则即使在程序中规定了锥度加工,也不会加工出正确的锥度。锥度加工必须输入以下数据:
G20H××× 程序面到上轮距离
G22H××× 程序面到上轮距离
G21H××× 工作厚度
锥度左偏G51时加工工件为上大下小,锥度右偏G52时加工工件为上小下大。
例:
G92X0Y0
G20H60000
G21H40000
G22H10000
……
G51(G52)A3
……
G50(G50要放在推刀线以前)
……
M02
其他指令的格式及用法与加工中心或数控铣床的基本相同。
2.数控线切割编程实例
如图8-19所示,按图中箭头所示加工轨迹加工零件,考虑线径补偿,进行编程。

图8-19 编程实例图
(1)确定加工路线。根据图示零件形状和尺寸,编程原点选在R10圆弧圆心O处,进刀点选在零件下尖角正下方A点处,并沿顺时针方向切削。其加工方向如图8-19中箭头所示。
(2)分别计算各关键点坐标。
A(0,-22)B(0,-20)C(0,-10)D(0,10)E(0,20)F(30,8.04)G(30,-8.04)
(3)按G点代码编写程序如下:
O0001
N01 G92 X0.0 Y22.0 坐标设在O点,起刀点为A点
N02 G42 D0.1 铜丝直径d若为0.18,则放电间隙为0.01
N03 G01 X0.0 Y-20.0 刀具补偿切入到B点
N04 G01 X0.0 Y-10.0 直线切削至C点
N05 G02 X0.0 Y10.0 I0.0 J10.0 加工圆弧至D点
N06 G01 X0.0 Y20.0 加工直线DE段
N07 G0l X-30.0 Y8.04 加工直线DF段
N08 G01 X-30.0 Y-8.04 加工直线FG段
N09 G01 X0.0 Y-20.0 加工直线FB段
N10 G40 X0.0 Y-22.0 取消刀具补偿,回到A点
M02 程序结束
(4)有公差尺寸的编程计算方法。由于零件的实际尺寸大部分应在公差带的中值附近,因此,对标注有公差的尺寸,应采用中差尺寸编程,中差尺寸的计算公式为:
中差尺寸=基本尺寸-(上偏差-下偏差)/2
例如,40 -0
0.056的编程尺寸为[40+(0-0.056)/2]mm=39.972 mm
8.2.7 线切割自动编程软件
DK7740型电火花数控线切割机床采用HL线切割数控自动编程软件进行编程。HL线切割数控自动编程软件系统是一个高智能化的图形交互式软件系统。通过简单、直观的绘图工具,将所要进行切割的零件形状描绘出来,按照工艺要求,将描绘出来的图形进行编排等处理,再通过系统处理成一定格式的加工程序,其具体步骤如下。
1.绘制轨迹线
直接用固定菜单中的【点】、【直线】、【圆】、【块】等绘图项作出轨迹线。
2.加引线
形成轨迹线后,一般需加引线。加引线后,图形已被修改,必须对图形进行排序,编辑加工路线。
3.生成加工程序
生成一定格式的加工程序,如3B语言程序。
4.进入加工界面加工
(1)编程界面及功能模块界面。
HL线切割数控自动编程软件主界面如图8-20所示。

图8-20 HL线切割数控自动编程软件主界面
在主界面点击“Pro绘图编程”选项,则进入绘图编程界面,如图8-21所示。界面分成四个区域,分别为图形显示区、可变菜单区、固定菜单区和会话区。可通过键盘和鼠标选择菜单操作。

图8-21 绘图编程界面
图形显示区:所画图形显示的区域,在整个绘图编程过程中,这个区域始终存在。
菜单区:分两个部分,可变菜单区和固定菜单区。在整个绘图编程过程中,可变菜单区随着功能的选择而变化。在选择固定菜单区中的绘图项时,可变菜单区显示绘图项的子菜单。
图8-22为选择了固定菜单区中的绘图项“圆”后出现的菜单。此菜单所在界面中“图形显示区”与图8-21相同;可变菜单区转换为“圆”的操作菜单,供操作者选择;会话区提示输入,可根据需要输入,再按回车键确定,一个满足要求的圆就显示在图形显示区内;固定菜单区不变。
以上两个界面是绘图编程中经常出现的界面,第二个菜单界面只是随着选择不同其绘

图8-22 圆菜单界面
图项所显示的内容会有所不同。
(2)绘图编程界面的主要功能的介绍。
①主菜单。
数控程序:进入数控程序菜单,进行数控加工路线处理。
数据接口:DXF文件并入、输出DXF文件、3B并入、YH并入。
上一屏图形:恢复上一层图形。当图形被放大或缩小后,用此菜单恢复上一层图形状态。
②固定菜单。
点、直线、圆:分别进入子菜单进行图形输入操作。
打断:执行打断前先确定打断的直线、圆或圆上有两个点存在。执行打断后光标所在的两点间的线段被剪掉。
参考:建立用户参考坐标系。
相对:进入相对菜单,提供相对坐标系,方便有相对坐标系要求的图形处理。主要包含相对平移、相对旋转、取消相对、对称处理、原点重定。
块:进入块菜单,块菜单可以对图形的某一部分或全部进行删除、缩放、旋转、拷贝和对称处理,对被处理的部分,首先需要用窗口建块或用增加元素方法建块,块元素以红色表示。
③文件管理器(见图8-23)。
文件管理器除可用于文件的读取和存盘外,还可以进行图形预览、文件排序等。文件管

图8-23 文件管理器界面
理器界面主要分成四个区域,文件列表区、预览区、文件夹区、文件名区。可通过键盘进行操作,使用操作如下。
↑↓←→:箭头键用于选择已有的文件,也可用鼠标点击选择。“预览区”可即时预览选中的文件。
Delete:删除所选择的文件。
F6:按文件名称排序。
F7:按时间排序。
Tab:切换要修改的区域。在文件夹、文件名和电话之间切换,用键盘直接修改区域中的内容。
F4:转换文件夹。文件在硬盘和虚拟盘之间转换。
ESC/F3:退出文件管理器。
其他的功能名称对功能的描述很清楚,这里就不一一说明了。
(3)图形输入操作。
图形菜单中有点、直线、圆及高级曲线所包括的各种非圆曲线。
①点菜单。点菜单见表8-4。
表8-4 点菜单

②直线菜单。直线菜单见表8-5。
表8-5 直线菜单

③圆菜单。圆菜单见表8-6。
表8-6 圆菜单

④高级菜单。高级菜单见表8-7。
表8-7 高级菜单

(4)自动编程操作。
在绘图编程界面点击主菜单中的“数控程序”选项,则进入自动编程菜单界面,如图8-24所示。

图8-24 自动编程菜单界面
Towedm可对封闭或不封闭图形生成加工路线,并可进行旋转和阵列加工,可对数控程序进行查看、存盘,可直接传送到线切割机床中。
在加工零件图绘制完成后,进入自动编程界面,通过自动编程生成加工路线。加工代码的生成步骤如下。
①选择加工起始点和切入点。
②选择加工方向(YES/NO)。
③设置尖点圆弧半径。
④设置补偿间隙,根据图形上箭头所显示的正负号来给出数值。
⑤选择“重复切割”(YES/NO),如选“NO”,则产生3B代码。如选“YES”,则需设置“切割留空”,输入多次切割的最后一刀的预留长度,单位mm。再按提示输入第二次切割的补偿间隙。系统自动产生第二次逆向切割的3B代码。系统再次提出“重复切割”,选“YES”继续重复设置切割,选“NO”则结束。
⑥操作完成后如果无差错,则会给出生成后的代码信息,有错误则给出错误提示。提示信息格式如下:
R=尖点圆弧,F=间隙补偿,NC=代码段数,L=路线总长,X=X轴校零,Y=Y轴校零。