2.1 数控加工工艺基础知识
2.1.1 数控加工零件的工艺性分析
数控加工工艺是指使用数控机床加工零件的一种工艺方法。数控机床与普通机床加工零件在内容上有一些相同之处,但也有许多不同,最大的不同在于,数控加工中对工步的划分,以及零件表面先后加工顺序、走刀路线、切削用量等内容,按规定的代码格式编制成数控加工程序,加工时,由数控机床按编好的程序自动进行加工。因此,设计数控加工工艺是数控加工中的一个非常重要的组成部分。
数控加工零件的工艺性分析是指根据零件图样,针对加工内容分析其数控加工的适应性,它是设计数控加工工艺的一项主要内容,涉及面很广,这里仅从数控加工的可行性、方便性和特殊性的角度提出一些必须分析和审查的主要内容。
1.零件图样中的尺寸标注应符合编程方便的原则
(1)零件图样上尺寸标注应适应数控加工的特点。一般来说,零件设计时尺寸的标注是以零件在机器中的功用、装配是否方便和零件的使用特性作为基本依据的。大多都采用如图2-1(b)所示的局部分散的标注方法,这样的标注就给数控编程带来诸多不便。对于数控加工,其标注尺寸应以同一基准标注尺寸或直接给出坐标尺寸,如图2-1(a)所示。这种标注方法既便于数控编程,又有利于设计基准、工艺基准和编程原点的统一。由于数控加工精度和重复定位精度都很高,因此不会产生较大的累积误差而破坏零件的使用特性。在数控加工前要把局部分散的标注尺寸以平均尺寸的方式换算成以同一基准标注的尺寸,一般保留小数点后三位数。
(2)构成零件轮廓的几何元素的条件应充分准确。构成零件轮廓的几何元素(如点、线、面的位置和尺寸)的条件及相互位置(如相切、相交和平行等)是数控编程的重要依据。手工编程时,要根据这些几何条件计算每一个基点的坐标;自动编程时,则要根据这些几何条件才能对构成零件的所有几何元素进行定义,无论哪一个条件不明确,编程都无法进行,因此,在分析零件图样时,务必要分析几何元素的给定条件是否充分准确,必要时要用计算机绘图软件把图形再画一遍,如果发现给定的尺寸不完整或尺寸之间互相矛盾时要与设计人员协商解决。如图2-2(a)所示,手柄的标注尺寸不完整,无法进行编程。而图2-2(b)的标注尺寸是完整的,可以进行编程。

图2-1 零件尺寸标注

图2-2 零件标注尺寸完整
2.零件各加工部分的结构工艺特性应符合数控加工的特点
(1)零件的内形和外形最好采用统一的几何类型和尺寸。这样可以减少刀具规格和换刀次数,使编程方便,生产效率得到提高。如图2-3(a)所示的轴承座上要加工6个M8和2个M10的螺孔,需要2种钻头和2种丝锥,换4次刀。如果改成图2-3(b),加工8个M8螺孔,则只需1种钻头和1种丝锥,换2次刀,刀具规格减少了,生产效率也提高了。

图2-3 轴承座上的螺孔尺寸尽量一致
(2)内槽圆角半径不应太小。如图2-4所示,内槽圆角的大小决定着刀具直径的大小。零件结构工艺特性还与被加工轮廓的高低、转接圆弧半径大小有关。图2-4(b)与图2-4(a)两零件相比,前者转接圆弧半径大,可以采用较大直径的铣刀加工,加工平面部分时,进给次数减少了,表面加工质量也提高了,因而工艺性较好。

图2-4 数控加工工艺性比较
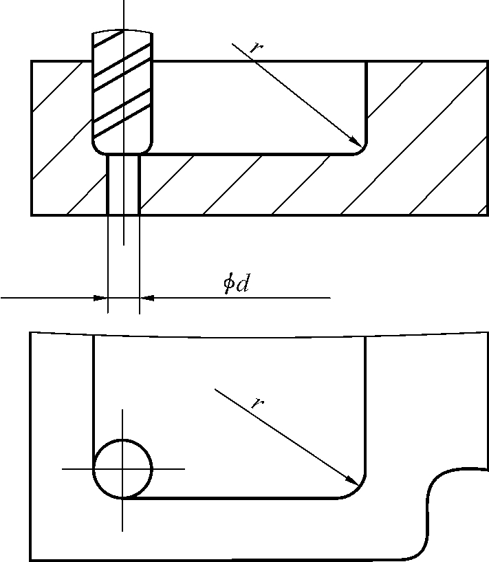
(3)零件铣削底平面时,槽底圆角半径r不应过大。如图2-5所示,圆角半径r越大,铣刀端面刃铣削平面的能力就越差(r越大,铣刀端面刃铣削面积越小,则铣削平面的能力下降),效率也就越低。当r大到一定程度时,甚至必须用球头刀加工,应当避免这样的情况发生。

图2-5 零件底面圆弧对工艺的影响
(4)采用统一的基准定位。在数控加工中,若没有统一基准定位,无法保证两次装夹加工后其相对位置的准确性,从而导致两次装夹加工后,出现两个面上轮廓位置及尺寸不协调的现象。如图2-6所示的顶尖式心轴,第1工序就把两端的中心孔加工出来,以后的粗车、半精车、粗磨、精磨工序都以两端中心孔定位,这样既符合基准统一和基准重合的原则,也容易保证垂直度和全跳动的要求。
在数控加工时,最好采用零件上合适的孔作为定位基准。若零件上没有合适的孔,可设置工艺孔,若无法加工出工艺孔,可考虑选用经过精加工的表面作为统一基准,以减少两次装夹产生的误差。如图2-7所示的片状凸轮,为了在加工凸轮轮廓时定位方便,就专门加工了一个φ4H7的工艺孔。

图2-6 顶尖式心轴

图2-7 片状凸轮
除了上述分析之外,还应分析零件加工精度、尺寸公差、表面粗糙度等是否可以得到保证,有无引起矛盾的多余尺寸或影响工序安排的封闭尺寸等。
2.1.2 数控加工工序与工步的划分
1.工序的划分
根据数控加工的特点,数控加工工序的划分一般可按下列方法进行。
(1)以一次安装加工划分工序。这种方法适合于加工内容不多,加工后就能达到待检状态的零件。
(2)以一把刀具加工的内容划分工序。为了减少换刀次数,压缩空行程时间,减少不必要的定位误差,可按刀具集中工序的方法加工零件,即在一次装夹中尽可能用一把刀具加工出可能加工的所有部位,然后再换另一把刀具加工其他部位。在专用数控机床和加工中心中常采用这种方法,但此法会使工序内容多、程序长、增加出错率,且查错困难。
(3)以加工部位划分工序。对于加工内容很多、零件轮廓的表面结构差异较大的零件,可按其结构特点,将加工部位分成几个部分,如内形、外形、曲面和平面等,分别安排工序进行加工。
(4)以粗、精加工划分工序。对于易发生加工变形的零件,由于粗加工后可能发生的变形而需要进行校形,故一般应先切除大部分余量(粗加工),再将其表面精加工一遍进行校形,以保证加工精度和表面粗糙度的要求。
2.工步的划分
工步的划分主要从加工精度和效率两方面考虑。合理的加工工艺,不仅要保证加工出符合图样要求的零件,而且要使机床的功能得到充分发挥,在一个工序内往往要采用不同的刀具和切削用量,对不同的表面进行加工。为了便于分析和描述较复杂的工序,在工序内又细分为若干工步。下面以加工中心为例来说明工步的划分方法。
(1)按粗加工、精加工划分工步。同一表面按粗加工、半精加工、精加工依次完成,或者全部加工表面按粗加工、精加工分开进行,前者适合加工尺寸精度要求较高的零件,后者适合加工位置精度要求较高的零件。
(2)按先面后孔划分工步。对于既有铣面又有镗孔的零件,可按“先面后孔”的原则划分工步,即先铣面后镗孔。因为铣削时铣削力较大,零件易发生变形,先铣面后镗孔,使其有一段时间恢复,可减少由于变形引起的对孔的精度的影响,从而提高孔的加工质量。如果先镗孔后铣面,则由于铣削时在孔口极易产生飞边、毛刺,导致孔的精度下降。
(3)按所用刀具划分工步。某些机床工作台回转时间比刀具交换时间短,可采用按刀具划分工步,以减少换刀次数,提高加工效率。
总之,工序与工步的划分要根据具体零件的结构特点、工艺性、技术要求及机床的功能和企业生产组织形式等实际情况综合考虑。
2.1.3 数控加工中零件装夹方案的确定
1.确定零件定位基准和装夹方案时需要注意的事项
(1)力求设计基准、工艺基准与编程计算的基准统一。
(2)尽量减少装夹次数,尽可能做到在一次装夹后就能加工出全部需要加工的表面。
(3)避免采用占用机床的人工调整式的加工方案,以充分发挥数控机床的效能。
2.选择夹具时需要注意的事项
(1)单件小批生产时,尽量采用通用夹具、可调夹具和组合夹具。
(2)大批大量生产时,可采用专用夹具,但应力求结构简单。
(3)夹具尽量要开敞,其定位元件、夹紧机构、导向元件或夹具体等不能影响加工中的刀具进给,以免发生碰撞。
(4)装卸零件要方便可靠,尽可能采用气动、液压或多工位等高效率夹具,以缩短准备时间,提高生产效率。
2.1.4 数控加工常用刀具的选择
刀具的选择是数控加工工艺中的重要内容之一。刀具选择得合理与否不仅影响机床的加工效率,而且还直接影响加工质量。选择刀具通常要考虑机床的加工能力、工序内容及零件材料和热处理状态等因素。数控机床因其主轴转速高、功率大、机床刚度大、主轴精度高等特点,与普通机床的切削加工相比,数控加工对刀具的要求更高。数控加工不仅要求刀具切削性能好、精度高、刚度好、耐用度高、断屑及排屑性能好,而且还要求刀具尺寸稳定、安装调整方便。目前数控加工普遍使用的刀具有高性能高速钢刀具、硬质合金刀具、涂层刀具和新型刀具(如陶瓷刀具、立方氮化硼刀具、聚晶金刚石刀具等)。
数控加工刀具从结构上划分可分为以下几种。
(1)整体式刀具。刀具切削部分和刀具夹持部分是用同一种材料制造的,例如,高速钢刀具。这种刀具容易磨成锋利切削刃,刚度好。
(2)焊接式刀具。刀具切削部分与刀具夹持部分是用不同材料制造的,一般刀具切削部分是硬质合金刀片,刀具夹持部分是碳钢刀杆,用钎焊的方法把硬质合金刀片焊在刀杆上,然后刃磨出需要的刃口。
(3)机夹式刀具。刀具切削部分与刀具夹持部分是用不同材料制造的,一般刀具切削部分是硬质合金刀片,刀具夹持部分是碳钢刀杆,用机械夹固的方法把硬质合金刀片夹持在刀杆上。刀刃磨损后,将刀片卸下,经过刃磨,又可重新装上继续使用。
(4)可转位式刀具。刀具切削部分与刀具夹持部分是用不同材料制造的,刀具切削部分常用的是硬质合金刀片,也可用陶瓷刀片、涂层刀片、立方氮化硼刀片,刀具夹持部分是碳钢或合金钢刀杆。刀片上压制有合理的几何参数、断屑槽型、装夹孔和数个切削刃,用夹紧元件、刀垫等,以机械夹固方法,将刀片夹紧在刀杆上。当刀片的一个切削刃磨损后,只要把夹紧元件松开,将刀片转一个角度,换另一个新切削刃,并重新夹紧就可以继续使用,不需要重新对刀。当所有切削刃都磨损后,换一片新刀片即可继续切削,不需要更换刀杆。可转位式刀具的分类和用途见表2-1。
表2-1 可转位式刀具的分类和用途

续表

按国家标准规定,不同用途的可转位刀具,其型号的表示方式也有所不同。如果型号中不加前缀,即指装有硬质合金可转位刀片的可转位刀具。可转位刀具可以根据被加工材料的需要装夹其他材料的可转位刀片,但必须加前缀。例如装夹陶瓷可转位刀片的车刀,称为陶瓷可转位车刀。
我国硬质合金可转位刀片的国家标准采用的是ISO国际标准,已经颁布了6项,分别为GB/T 2076—2007、GB/T 2077—1987、GB/T 2078—2007、GB/T 2079—1987、GB/T 2080—2007和GB/T 2081—1987。产品型号的表示方法、品种规格、尺寸系列、制造公差及尺寸值的测量方法等,都与ISO标准相同。
(5)减振式刀具。在切削过程中,振动时常发生,它不仅恶化零件表面质量,而且对刀具磨损、机床精度有很大的影响。减振式刀具就是能消除在切削过程中所引起振动的刀具。目前减振式刀具有带消振棱的刀具、带消振器的刀具和弹簧刀杆式刀具等。当刀具的工作臂长与直径之比较大时,为了减少刀具的振动,提高加工精度,多采用此类刀具。
(6)内冷式刀具。此类刀具的切削液通过刀体内部由喷口喷射到刀具的切削刃部。
(7)特殊型式刀具。此类刀具有复合刀具、可逆攻螺纹刀具等。
数控加工刀具从切削工艺上划分可分为以下几种。
(1)车削刀具。车削刀具包括外圆、内孔、端面、外螺纹、内螺纹、车槽、切割刀具等。
(2)钻削刀具。钻削刀具包括小孔、短孔、深孔、攻螺纹、铰孔刀具等。
(3)镗削刀具。镗削刀具包括粗镗、精镗刀具等。
(4)铣削刀具。铣削刀具包括面铣、立铣、三面刃刀具等。
2.1.4.1 数控车床常用刀具及选用
数控车床上安装刀具的刀架分为前置刀架和后置刀架,前置刀架和后置刀架所用的车刀相同,但要注意车刀的安装方式和主轴的转向,前置刀架主轴正转时刀尖朝上,后置刀架主轴正转时刀尖则朝下。前置刀架数控车床常用的焊接式车刀的种类如图2-8所示。

图2-8 前置刀架数控车床常用的焊接式车刀的种类
1—切断刀(切槽刀);2—90°左偏刀;3—90°右偏刀;4—弯头车刀;5—直头车刀;6—成形车刀;7—宽刃精车刀;8—外螺纹车刀;9—端面车刀;10—内螺纹车刀;11—内槽车刀;12—通孔车刀;13—盲孔车刀

图2-9 机夹可转位式车刀
图2-9所示为数控车床上使用的机夹可转位式车刀,这种车刀由刀体、刀片、刀垫及夹紧元件等组成。
2.1.4.2 数控铣床和加工中心常用刀具及选用
在数控铣床和加工中心上使用的刀具主要为铣刀,包括面铣刀、圆柱立铣刀、球头铣刀、三面刃盘铣刀、环形铣刀等,除此以外还有各种孔加工刀具,如中心钻、麻花钻头、锪钻、铰刀、镗刀、丝锥和螺纹铣刀等。
1.面铣刀
面铣刀的形状如图2-10所示,它适用于加工平面,尤其适合加工大面积平面。主偏角为90°的面铣刀还能同时加工出与平面垂直的直角面,这个直角面的高度受到刀片长度的限制。面铣刀的主切削刃分布在外圆柱面或外圆锥面上,其端面上的切削刃为副切削刃。
目前数控机床上使用的面铣刀基本都是硬质合金面铣刀,并广泛使用可转位刀片,这种面铣刀在刀片损坏时,更换刀片即可,不需要再次对刀,不但能够快速更换刀具,而且可保证加工精度,大大提高了生产效率。
面铣刀可以用于粗加工,也可以用于精加工。粗加工要求有较高的生产效率,即要求有较大的铣削用量。为使粗加工时能取较大的切削深度,切除较大的余量,粗加工宜选较小直径的铣刀;精加工应能够保证加工精度,要求加工表面粗糙度值要低,应该避免精加工面上的接刀痕迹,所以精加工的铣刀要选直径大一些的,最好能包容加工面的整个宽度。

图2-10 面铣刀
面铣刀的齿数对铣削生产效率和加工质量有直接影响,齿数越多,同时工作齿数也多,生产效率高,铣削过程平稳,加工质量好。直径相同的可转位铣刀根据齿数的不同可分为粗齿铣刀、细齿铣刀、密齿铣刀三种。可转位铣刀直径与齿数的关系见表2-2。粗齿铣刀主要用于粗加工;细齿铣刀主要用于平稳条件下的铣削加工;密齿铣刀铣削时的每齿进给量较小,主要用于薄壁铸铁的加工。
表2-2 可转位铣刀直径与齿数的关系

2.圆柱立铣刀
圆柱立铣刀主要用于数控铣床和加工中心上加工平面、台阶面、沟槽、内外轮廓等。从结构上划分可分为整体式(小尺寸刀具)和机械夹固式(尺寸较大刀具)两种。圆柱立铣刀如图2-11所示。
圆柱立铣刀的主切削刃分布在铣刀的圆柱面上,副切削刃分布在铣刀的端面上,且有端面切削刃过刀具中心和不过中心之分。切削刃过刀具中心的立铣刀可以沿刀具轴向做进给运动,但进给速度要控制合适;切削刃不过刀具中心的立铣刀在铣削时一般不能沿铣刀轴向做进给运动,只能沿铣刀径向做进给运动。
3.球头铣刀
球头铣刀的端面不是平面,而是带有切削刃的球面,如图2-12所示。按刀体形状划分有圆柱形球头铣刀和圆锥形球头铣刀,也可分为整体式和机夹式。球头铣刀主要用于模具产品的曲面加工,在加工曲面时,一般采用三坐标联动,铣削时不仅能沿铣刀轴向做进给运动,也能沿铣刀径向做进给运动,而且球头与工件接触往往为一点,这样,该铣刀在数控系统的控制下,就能加工出各种复杂的成形表面。
4.三面刃铣刀
三面刃铣刀主要用于加工槽、台阶面等。三面刃铣刀的主切削刃分布在铣刀的圆柱面上,副切削刃分布在两端面上。该铣刀按刀齿结构划分可分为直齿、错齿和镶齿三种形式。三面刃铣刀如图2-13所示。
5.环形铣刀
环形铣刀又称R角立铣刀或牛鼻刀,如图2-14所示。该铣刀形状类似于面铣刀,所不同的是刀具的每个刀齿均有一个较大的圆角半径,从而使其具备类似球头铣刀的切削能力,同时又可加大刀具直径以提高生产效率,并改善切削性能(中间部分不需切削刃),也可采用可转位刀片。

图2-11 圆柱立铣刀

图2-12 球头铣刀

图2-13 三面刃铣刀

图2-14 环形铣刀
6.中心钻
中心钻是专门用于加工中心孔的钻头,如图2-15所示。数控机床在钻孔时,刀具的定位是由数控程序控制的,不需要钻模导向。为了保证加工孔的位置精度,应该在用麻花钻钻孔前,用中心钻划窝,或者用刚度较好的短钻头划窝,以保证钻孔中的刀具引正,确保麻花钻的定位。
7.麻花钻
麻花钻主要用于孔的钻削加工,一般用于孔的粗加工,如图2-16所示。可从不同方面给麻花钻分类:按刀具材料分类,麻花钻可分为高速钢钻头和硬质合金钻头;按麻花钻的柄部分类,麻花钻可分为直柄和莫氏锥柄,直柄一般用于小直径钻头,莫氏锥柄一般用于大直径钻头;按麻花钻长度分类,麻花钻可分为基本型钻头和短、长、加长、超长钻头等。
8.可转位浅孔钻
当钻削直径为φ20 mm~φ60 mm、孔的长径比小于3的中等直径浅孔时,可选用硬质合金可转位浅孔钻,如图2-17所示。该钻头的切削效率和加工质量均好于麻花钻,最适于箱体零件的浅孔加工。可转位浅孔钻的刀体上有内冷却通道及排屑槽,刀体头部装有一组硬质合金刀片(刀片可以是正多边形、菱形、四边形)。为了提高刀具的使用寿命,可以在刀片上涂镀碳化钛涂层。使用这种钻头钻箱体孔,比普通麻花钻可提高效率4~6倍。
9.铰刀
铰刀是用来对已加工孔进行半精加工和精加工的一种刀具,它的加工精度一般为IT6~IT9,表面粗糙度值Ra为0.4~1.6μm,如图2-18所示。机用铰刀的刀柄形式有直柄、锥柄和套式三种。

图2-15 中心钻

图2-16 麻花钻

图2-17 可转位浅孔钻

图2-18 铰刀
10.镗刀
镗孔所用的刀具称为镗刀,镗刀切削部分的几何角度和车刀、铣刀的切削部分基本相同。镗孔是使用镗刀对已钻出的孔或毛坯孔进一步加工的方法。镗刀的通用性较强,可以粗加工、半精加工、精加工不同尺寸的孔,以及镗通孔,不通孔、阶梯孔,镗加工同轴孔系、平面孔系等。粗镗孔的精度为IT11~IT13,表面粗糙度Ra为6.3~12.5μm;半精镗的精度为IT9~IT10,表面粗糙度Ra为1.6~3.2μm;精镗的精度可达IT6,表面粗糙度Ra为0.1~0.4μm。镗孔具有修正形状误差和位置误差的功能。
常用的镗刀有整体式镗刀和机械固定式镗刀。整体式镗刀一般装在可调镗头上使用;机械固定式镗刀一般装在镗杆上使用,如图2-19所示。

图2-19 机械固定式镗刀
11.螺纹加工刀具
在成批和大批量生产中,常采用铣削的方法加工螺纹。铣螺纹一般在专门的铣床上进行,根据所用的螺纹铣刀结构不同可划分为盘形螺纹铣刀、梳形螺纹铣刀、单齿螺纹铣刀等,其中单齿螺纹铣刀用于高速切削加工,适合铣削一些较大的螺纹孔,能够进行精度修正,加工效率较高,一般常用,如图2-20所示。

图2-20 单齿螺纹铣刀
对于小尺寸的内螺纹孔,攻螺纹几乎是唯一有效的加工方法,也是应用较广的螺纹加工方法。单件小批量生产时,可以用手用丝锥攻螺纹,丝锥如图2-21所示。当批量较大时,则应在攻丝机上用机用丝锥攻螺纹。采用机床攻螺纹,加工效率高,但加工螺纹孔时有一定的加工范围,在机床上一般加工的螺纹孔径在φ6 mm~φ20 mm,如果超出范围则选择手动攻螺纹。

图2-21 丝锥
2.1.4.3 数控刀具的工具系统
数控刀具的工具系统是指用来连接机床主轴与刀具之间(数控车床是联结刀架与刀具之间)的辅助系统。它除了刀具本身之外,还包括实现刀具快换所必需的定位、夹持、拉紧、动力传递和刀具保护等部分。在数控加工过程中,使用的刀具种类很多,要求换刀迅速。为此,通过标准化、系列化和模块化来提高其通用化程度,且也便于刀具组装、预调、使用、管理及数据管理。因此,研究用较少种类的刀具满足多种工件的加工需求,建立包括刀具、刀夹、刀杆、刀座、刀柄和拉钉等工具结构体系是数控加工的基础。为此,不少国家和公司都已制定出自己的标准和体系。
数控刀具的工具系统按使用范围可分为车削类数控工具系统和镗铣类数控工具系统;按系统的结构特点可分为整体式工具系统和模块式工具系统。
1.车削类数控工具系统
目前,我国广泛使用的是一种整体式车削工具系统,即CZG车削工具系统,如图2-22所示,其中CZG分别表示“车削”、“整体式”、“工具”三个词组,它等同于德国标准DIN69880。
CZG车削工具系统与数控车床刀架连接的柄部是由一个有与其轴线垂直的齿条的圆柱和法兰组成,其形状如图2-23所示。在数控车床的刀架上,安装刀夹柄部圆柱孔的侧面,设有一个由螺栓带动的可移动楔形齿条,该齿条与刀夹柄部上的齿条相啮合,并有一定错位,由于存在这个错位,当旋转螺栓,楔形齿条径向压紧刀夹柄部的同时,使柄部的法兰紧密地贴紧在刀架的定位面上,并产生足够的拉紧力。这种结构具有刀夹装卸操作简便、快捷,刀夹重复定位精度高,连接刚度高等优点。

图2-22 CZG车削工具系统

图2-23 CZG车削工具系统刀夹柄部的形状
2.镗铣类数控工具系统
镗铣类数控工具系统采用7∶24圆锥刀柄与机床主轴连接,刀柄通过拉钉和主轴内的拉刀装置固定在主轴上。它具有不自锁、换刀方便、定心精度高等优点,可分为整体式和模块式两大类。
1)整体式镗铣类工具系统
整体式镗铣类工具系统的柄部与夹持刀具的工作部分连成一体,不同品种和规格的工作部分都必须有与机床主轴连接的柄部,如图2-24所示。
我国的TSG82工具系统是整体式镗铣类工具系统的简称,其中TSG分别表示“镗铣”、“数控”、“工具”三个词组,它是在日本机床工业协会标准MAS403—1982的基础上制定出来的。图2-25所示为TSG82工具系统图谱,它表示了TSG82工具系统中各种工具的组合型式,供选用时参考(具体见标准《TSG工具系统 型式与尺寸》(JB/GQ5010—1983))。它包含刀柄、多种接杆和少量刀具,可完成平面、斜面、沟槽的铣削加工,以及钻孔、扩孔、铰孔、镗孔和攻螺纹等工序。它具有结构简单、使用方便、装卸灵活、更换迅速等特点,在国内得到广泛应用。

图2-24 整体式镗铣类工具系统的柄部
2)模块式镗铣类工具系统
随着数控机床的推广使用,工具的需求量迅速增加。为了克服整体式镗铣类工具系统规格品种繁多,给生产、使用和管理带来许多不便的缺点。20世纪80年代以来相继开发了模块式镗铣类工具系统,其图谱及各模块如图2-26、图2-27所示,它把整体式工具系统的柄部和工作部分分开,分别制成主柄模块、中间模块和工作模块三大系列化模块。使用者可根据加工零件的尺寸、精度要求、加工程序、加工工艺,利用这三部分模块,任意组合成钻削、铣削、镗削及攻螺纹的各种工具进行切削加工。
我国TMG工具系统是模块式镗铣类工具系统的简称,其中TMG分别表示“镗铣”、“模块”、“工具”三个词组。为了区别不同结构的模块式工具系统,需在TMG之后加上两位数字,前位数字表示模块连接的定心方式,各种定心方式的数字代号见表2-3。后位数字表示模块连接的锁紧方式,各种锁紧方式的数字代号见表2-4。各工具模块型号及拼装后刀柄型号编写方法见有关标准(例如,GB/T 25668.1—2010镗铣类模块式工具系统 第1部分:型号表示规则和GB/T 25668.2—2010镗铣类模块式工具系统 第2部分:TMG21工具系统的型式和尺寸)。

图2-25 TSG82工具系统图谱

图2-26 TMG21模块式镗铣类工具系统图谱
表2-3 定心方式代号

表2-4 锁紧方式代号


图2-27 TMG21模块式镗铣类工具系统的主柄模块、中间模块和工作模块
3.高速铣削用的工具系统
一般认为主轴转速在8 000 r/min以上的铣削加工属于高速铣削,高速铣削有许多优点。7∶24锥度刀柄镗铣类工具系统存在某些缺点,远不能满足高速铣削的要求。传统主轴7∶24前端锥孔在高速铣削时,由于离心力的作用会发生膨胀,膨胀量的大小随着旋转半径与转速的增大而增大,主轴锥孔成喇叭状扩张,如图2-28所示。但7∶24实心刀柄则膨胀较小,引起总的锥度连接刚度降低。在拉杆拉力作用下,刀具的轴向位置发生变化。另外,还会引起刀具及夹紧机构质量中心偏离,从而影响主轴的动平衡。由上述可知,7∶24锥度刀柄与主轴连接中存在的主要问题是连接刚度、精度、动平衡等性能差。目前改进的最佳途径是将原来仅靠锥面定位改为锥面和端面同时定位。这种方案最有代表性的是德国HSK刀柄、美国KM刀柄及日本BIG-plus刀柄。

图2-28 在高速运转中离心力使主轴锥孔扩张
德国HSK双面定位型空心刀柄是一种典型的1∶10短锥面工具系统。HSK刀柄与主轴连接结构如图2-29所示,HSK刀柄与刀具结构如图2-30所示。HSK刀柄由锥面和端面共同实现定位和夹紧。其主要优点如下:①采用锥面和端面过定位的结合方式,提高了结合刚度;②锥部短,采用空心结构,质量小,自动换刀快;③采用1∶10锥度,楔紧效果较好,故有较强的抗扭能力;④有较高的安装精度。但这种结构也存在一些缺点,主要是与现在的主轴结构和刀柄不兼容;同时由于过定位安装使制造工艺难度增大、制造成本增高。

图2-29 HSK刀柄与主轴连接结构

图2-30 HSK刀柄与刀具结构
2.1.5 数控加工余量的确定
加工余量是指零件在加工过程中从加工表面上所切除的金属层厚度。加工余量可分为工序加工余量和总加工余量。
1.工序加工余量和总加工余量
工序加工余量是相邻两工序的工序尺寸之差。对于外圆和内孔等回转表面,加工余量是从直径方向考虑的,故称为双边余量,即实际切除的金属层厚度是加工余量的一半。平面的加工余量是单边余量,它等于实际切除的金属层厚度。总加工余量也称为毛坯余量,它是零件上同一表面的毛坯尺寸与零件尺寸之差。总加工余量等于各工序加工余量之和。
加工余量的大小对零件的加工质量、生产效率和生产成本均有较大影响。若零件的加工余量过大,则不能保留零件最耐磨的表面层,降低了被加工表面的机械性能,同时增加了材料的损耗,提高了生产成本,增加了机械加工工时,降低了生产效率;若零件的加工余量过小,则不能保证去除零件表面的缺陷层。如果加工余量不够,就有可能造成零件报废。因此,要合理确定加工余量。
2.确定加工余量时应注意的问题
(1)采用最小加工余量原则。在保证加工精度和加工质量的前提下,余量越小越好,以缩短加工时间、减少材料消耗、降低加工费用。
(2)余量要充分,防止因余量不足而造成不良品。
(3)余量中应包含因热处理引起的变形量。
(4)大零件取大余量。零件越大,切削力、内应力引起的变形越大。因此工序加工余量应取大一些,以便通过本道工序消除变形量。
(5)总加工余量(毛坯余量)与工序余量要分别确定。总加工余量的大小与所选择的毛坯成型方法和制造精度有关。粗加工工序的加工余量应等其他工序的加工余量确定后再确定,它等于总加工余量减去其他各工序的加工余量之和。
数控加工一般用于零件的半精加工或精加工,因此加工余量较小。半精车内外圆的双边加工余量一般为0.8~1.6 mm,精车内外圆的双边加工余量一般为0.5~0.8 mm;半精铣平面的单边加工余量一般为0.7~1.5 mm,精铣平面的单边加工余量一般为0.5~0.8 mm;半精镗内孔的双边加工余量一般为0.5~1.5 mm,精镗内孔的双边加工余量一般为0.2~0.5 mm。
2.1.6 数控加工切削用量的确定
切削用量是表示主运动及进给运动参数的量,它包括切削速度、进给量和背吃刀量等三要素。数控加工中这三要素都要编入程序中,以保证加工质量。在数控加工时,切削速度反映在主轴转速上,即S指令;进给量一般用进给速度表示,即F指令;背吃刀量一般反映在坐标值的变化上,与加工余量相对应。半精加工主轴转速一般为500~800 r/min,精加工主轴转速一般为1 500~3 000 r/min;半精加工进给速度一般为80~100 mm/min,精加工进给速度一般为20~50 mm/min;半精加工背吃刀量一般为0.4~0.8 mm,精加工背吃刀量一般为0.2~0.5 mm。
2.1.7 数控加工顺序的确定
加工顺序是指各道加工工序安排的先后顺序。加工顺序安排总的原则是前面工序为后续工序创造条件。具体原则如下。
1.先粗后精
零件的加工一般应将粗加工、精加工分开进行,即按粗加工→半精加工→精加工→光整加工的顺序进行,以求逐步提高表面的加工精度和减小表面粗糙度。
2.基准先行
用作精基准的表面要首先加工出来。因为精基准的表面加工质量越好,后续工序的装夹精度就越高,所以第一道工序一般是进行定位面的粗加工和半精加工(有时包括精加工),然后再以精基面定位加工其他表面。
3.先主后次
先安排主要表面的加工,后安排次要表面的加工。因为主要表面加工若出不良品的话,可以中止加工,以减少工时浪费。次要表面的加工一般安排在主要表面的半精加工之后、精加工之前进行。
4.先面后孔
先加工平面,后加工内孔。因为平面一般面积较大,轮廓平整,所以先加工好平面,便于加工孔时定位安装,有利于保证孔与平面的位置精度,同时也给孔加工带来了方便。
2.1.8 数控加工走刀路线的确定
在数控加工中,刀具刀位点相对于工件运动的轨迹和方向称为走刀路线,也称为进给路线,它既包括切削加工的路线,又包括刀具切入、切出和下刀、抬刀、进刀、退刀等空行程路线,同时也包括了工步的内容和先后顺序,是编写数控加工程序的依据之一。在确定走刀路线时通常画一张工序简图,将已经拟定出的走刀路线画上去(包括刀具切入、切出、下刀、抬刀、进刀、退刀路线),以便于编程。确定走刀路线的原则主要有下列几点。
(1)使被加工零件获得良好的加工精度和表面质量。
(2)使数值计算容易,以减少编程工作量。
(3)尽量使走刀路线最短,这样可使程序段数量减少,缩短空走刀时间。
2.1.9 数控加工切削液的确定
在数控加工时,合理选用切削液能有效地减小切削力、降低切削温度、减小加工系统热变形、延长刀具寿命和改善已加工表面质量,此外,选用高性能切削液也是改善难加工材料切削性能的一个重要措施。切削液一般具有冷却、润滑、排屑、洗涤和防锈等作用。
数控加工钢件时,一般使用乳化液。乳化液是将乳化油用水稀释而成,呈乳白色或半透明状的液体。乳化油是一种油膏,它由矿物油、脂肪酸、皂及表面活性乳化剂(石油磺酸钠、磺化蓖麻油)配制而成。在表面活性剂的分子上带极性的一头与水亲和,不带极性的一头与油亲和,从而起到水油均匀混合作用,再添加乳化稳定剂(乙醇、乙二醇等)防止乳化液中水、油分离。
乳化液的用途很广,可以自行配制,含较少乳化油的称为低浓度乳化液,它主要起冷却作用,适用于粗加工和普通磨削;含较多乳化油的称为高浓度乳化液,它主要起润滑作用,适用于精加工和复杂刀具加工。表2-5列出了加工碳钢时,不同浓度乳化液的用途。
表2-5 不同浓度乳化液的用途

数控加工铸铁和非铁合金时,一般不使用切削液,这种切削方式称为干切削。
2.1.10 数控加工工艺文件的制定
数控加工工艺文件是指所有与数控加工有关的工艺技术文件。这些工艺技术文件既可为数控编程人员提供依据和方便,又可指导操作人员正确进行操作,同时也是生产组织、技术管理、质量管理、计划调度的重要依据,因此必须认真编制。
数控加工工艺文件一般包括《数控加工通用工艺守则》(JB/T9168.10—1998)、数控编程任务书、数控加工工序卡片、数控加工零件安装和原点设定卡片、数控加工刀具卡片、数控加工走刀路线图及数控加工程序单等,具体内容参考有关资料。