-
1.1内容简介
-
1.2高等学校土木建筑工程类系列教材<br />编委会
-
1.3序
-
1.4前 言
-
1.5目录
-
1.6第一篇 建筑设计
-
1.6.1第1章 建筑概论
-
1.6.1.1§1.1 建筑及其属性
-
1.6.1.1.11.1.1 建筑的概念
-
1.6.1.1.21.1.2 建筑的属性
-
1.6.1.2§1.2 建筑的分类与分级
-
1.6.1.2.11.2.1 建筑的分类
-
1.6.1.2.21.2.2 建筑的分级
-
1.6.1.3§1.3 建筑模数协调统一标准
-
1.6.1.4§1.4 建筑设计的内容与程序
-
1.6.1.4.11.4.1 建筑设计的内容
-
1.6.1.4.21.4.2 建筑工程设计的程序
-
1.6.2第2章 建筑各组成部分设计
-
1.6.2.1§2.1 使用空间设计
-
1.6.2.1.12.1.1 使用空间设计应考虑的因素
-
1.6.2.1.22.1.2 面积、形状、开间、进深与层高的确定
-
1.6.2.1.32.1.3 辅助房间设计
-
1.6.2.2§2.2 交通联系空间设计
-
1.6.2.2.12.2.1 水平交通空间
-
1.6.2.2.22.2.2 垂直交通空间
-
1.6.2.2.32.2.3 枢纽交通空间
-
1.6.3第3章 建筑物的空间组合
-
1.6.3.1§3.1 建筑物空间组合原则
-
1.6.3.1.13.1.1 合理地进行功能分区
-
1.6.3.1.23.1.2 合理组织交通流线
-
1.6.3.1.33.1.3 空间布局宜紧凑高效
-
1.6.3.1.43.1.4 结构选型合理
-
1.6.3.1.53.1.5 设备布置恰当
-
1.6.3.1.63.1.6 体型简洁、构图完整
-
1.6.3.2§3.2 建筑物空间组合形式
-
1.6.3.2.13.2.1 走廊式
-
1.6.3.2.23.2.2 穿套式
-
1.6.3.2.33.2.3 单元式
-
1.6.3.2.43.2.4 大厅式
-
1.6.3.2.53.2.5 庭院式
-
1.6.3.2.63.2.6 综合式
-
1.6.3.3§3.3 建筑物空间的竖向组合
-
1.6.3.3.13.3.1 重复小空间的组合
-
1.6.3.3.23.3.2 大小、高低相差悬殊的空间组合
-
1.6.3.3.33.3.3 错层式空间组合
-
1.6.3.3.43.3.4 台阶式空间组合
-
1.6.4第4章 建筑物内、外空间设计
-
1.6.4.1§4.1 建筑物内部空间设计
-
1.6.4.1.14.1.1 建筑空间利用
-
1.6.4.1.24.1.2 建筑空间的处理手法
-
1.6.4.2§4.2 建筑物外部空间设计
-
1.6.4.2.14.2.1 场地分析
-
1.6.4.2.24.2.2 建筑物在场地中的布局
-
1.6.4.2.34.2.3 室外场地及道路设计
-
1.6.4.2.44.2.4 环境绿化与建筑小品
-
1.6.5第5章 建筑造型设计
-
1.6.5.1§5.1 建筑造型原理与建筑构图
-
1.6.5.1.15.1.1 基本范畴
-
1.6.5.1.25.1.2 基本原理
-
1.6.5.2§5.2 建筑体型设计
-
1.6.5.2.15.2.1 不同体型特点和处理方法
-
1.6.5.2.25.2.2 体型的转折和转角处理
-
1.6.5.2.35.2.3 体型之间的联系和交接
-
1.6.5.3§5.3 建筑物立面设计
-
1.6.5.3.15.3.1 建筑物立面设计的空间性和整体性
-
1.6.5.3.25.3.2 建筑物立面虚实关系的处理
-
1.6.5.3.35.3.3 建筑物立面凹凸关系的处理
-
1.6.5.3.45.3.4 建筑物立面线条处理
-
1.6.5.3.55.3.5 建筑物立面色彩和质感的处理
-
1.6.5.3.65.3.6 建筑物立面重点处理
-
1.6.5.3.75.3.7 建筑物立面局部和细部处理
-
1.7第二篇 建筑构造
-
1.7.1第6章 民用建筑构造概论
-
1.7.1.1§6.1 建筑构造研究的对象及其任务
-
1.7.1.2§6.2 建筑物的建筑组成及各部分的作用
-
1.7.1.3§6.3 影响建筑构造的因素
-
1.7.1.3.16.3.1 外力因素的影响
-
1.7.1.3.26.3.2 自然因素的影响
-
1.7.1.3.36.3.3 人为因素的影响
-
1.7.1.3.46.3.4 技术因素的影响
-
1.7.1.3.56.3.5 建筑经济因素的影响
-
1.7.1.4§6.4 建筑构造的设计原则
-
1.7.1.4.16.4.1 满足建筑物的使用功能及全寿命周期变化的要求
-
1.7.1.4.26.4.2 确保结构安全
-
1.7.1.4.36.4.3 注意建筑施工的要求
-
1.7.1.4.46.4.4 注意美观
-
1.7.1.4.56.4.5 讲究经济效益、社会效益和环境效益
-
1.7.2第7章 墙 体
-
1.7.2.1§7.1 概述
-
1.7.2.1.17.1.1 墙体类型
-
1.7.2.1.27.1.2 墙体的设计要求
-
1.7.2.2§7.2 块材墙构造
-
1.7.2.2.17.2.1 墙体材料
-
1.7.2.2.27.2.2 组砌方式
-
1.7.2.2.37.2.3 墙体尺度
-
1.7.2.2.47.2.4 墙身细部构造
-
1.7.2.3§7.3 隔墙与隔断构造
-
1.7.2.3.17.3.1 隔墙
-
1.7.2.3.27.3.2 隔断
-
1.7.2.4§7.4 外墙的保温与隔热措施
-
1.7.2.4.17.4.1 建筑物外围维护结构热工构造的基本知识
-
1.7.2.4.27.4.2 外墙的保温措施
-
1.7.2.4.37.4.3 外墙隔热措施
-
1.7.2.5§7.5 幕墙
-
1.7.2.5.17.5.1 幕墙的种类
-
1.7.2.5.27.5.2 幕墙的构造
-
1.7.3第8章 基 础
-
1.7.3.1§8.1 地基与基础的基本概念
-
1.7.3.1.18.1.1 地基的分类
-
1.7.3.1.28.1.2 地基与基础的设计要求
-
1.7.3.1.38.1.3 基础的埋置深度
-
1.7.3.2§8.2 基础的类型及构造
-
1.7.3.2.18.2.1 按基础的构造形式分类
-
1.7.3.2.28.2.2 按基础的受力特点分类
-
1.7.4第9章 楼地面构造
-
1.7.4.1§9.1 概述
-
1.7.4.1.19.1.1 楼板层的基本组成及设计要求
-
1.7.4.1.29.1.2 楼板的类型及选用
-
1.7.4.2§9.2 钢筋混凝土楼板层构造
-
1.7.4.2.19.2.1 现浇式钢筋混凝土楼板层
-
1.7.4.2.29.2.2 预制装配式钢筋混凝土楼板层
-
1.7.4.2.39.2.3 装配整体式钢筋混凝土楼板层
-
1.7.4.3§9.3 楼板层防水与隔声构造
-
1.7.4.3.19.3.1 地层防潮
-
1.7.4.3.29.3.2 楼地层防水
-
1.7.4.3.39.3.3 楼板层隔声
-
1.7.4.4§9.4 阳台与雨篷
-
1.7.4.4.19.4.1 阳台
-
1.7.4.4.29.4.2 雨篷
-
1.7.5第10章 建筑饰面构造
-
1.7.5.1§10.1 概述
-
1.7.5.1.110.1.1 饰面装修的作用
-
1.7.5.1.210.1.2 饰面装修的设计要求
-
1.7.5.1.310.1.3 饰面装修的基本要求
-
1.7.5.2§10.2 墙面装饰构造
-
1.7.5.2.110.2.1 抹灰类墙面装修
-
1.7.5.2.210.2.2 涂料类墙面装修
-
1.7.5.2.310.2.3 贴面类墙面装修
-
1.7.5.2.410.2.4 清水墙饰面
-
1.7.5.2.510.2.5 裱糊与软包墙体饰面
-
1.7.5.3§10.3 楼地面装饰构造
-
1.7.5.3.110.3.1 整体地面
-
1.7.5.3.210.3.2 块料地面
-
1.7.5.3.310.3.3 人造软质楼地面
-
1.7.5.3.410.3.4 木质楼地面
-
1.7.5.3.510.3.5 楼地面特殊构造
-
1.7.5.3.610.3.6 楼地面的细部构造
-
1.7.5.4§10.4 顶棚装饰构造
-
1.7.5.4.110.4.1 直接式顶棚
-
1.7.5.4.210.4.2 悬吊式顶棚
-
1.7.6第11章 楼梯及其他垂直交通设施构造
-
1.7.6.1§11.1 楼梯的组成、类型、尺度
-
1.7.6.1.111.1.1 楼梯的组成
-
1.7.6.1.211.1.2 楼梯的类型
-
1.7.6.1.311.1.3 楼梯的尺度
-
1.7.6.1.411.1.4 楼梯设计
-
1.7.6.2§11.2 预制装配式钢筋混凝土楼梯构造
-
1.7.6.2.111.2.1 小型构件预制装配式钢筋混凝土楼梯
-
1.7.6.2.211.2.2 大中型构件预制装配式钢筋混凝土楼梯
-
1.7.6.3§11.3 现浇整体式钢筋混凝土楼梯构造
-
1.7.6.3.111.3.1 板式楼梯
-
1.7.6.3.211.3.2 梁板式楼梯
-
1.7.6.4§11.4 楼梯的细部构造
-
1.7.6.4.111.4.1 踏步面层及防滑处理
-
1.7.6.4.211.4.2 栏杆(栏板)与扶手构造
-
1.7.6.5§11.5 室外台阶与坡道
-
1.7.6.5.111.5.1 台阶
-
1.7.6.5.211.5.2 坡道
-
1.7.6.6§11.6 电梯与自动扶梯
-
1.7.6.6.111.6.1 电梯
-
1.7.6.6.211.6.2 自动扶梯
-
1.7.7第12章 屋顶构造
-
1.7.7.1§12.1 概述
-
1.7.7.1.112.1.1 屋顶的组成与类型
-
1.7.7.1.212.1.2 屋顶的功能和设计要求
-
1.7.7.2§12.2 屋顶排水设计
-
1.7.7.2.112.2.1 排水坡度
-
1.7.7.2.212.2.2 屋面排水方式
-
1.7.7.2.312.2.3 屋顶排水组织设计
-
1.7.7.2.412.2.4 确定水落管规格及间距
-
1.7.7.3§12.3 平屋顶设计
-
1.7.7.3.112.3.1 平屋顶的排水坡度
-
1.7.7.3.212.3.2 平屋顶的防水构造
-
1.7.7.4§12.4 坡屋顶设计
-
1.7.7.4.112.4.1 坡屋顶的承重结构
-
1.7.7.4.212.4.2 坡屋顶屋面
-
1.7.7.4.312.4.3 坡屋面的细部构造
-
1.7.7.4.412.4.4 其他屋面构成
-
1.7.7.5§12.5 屋顶的保温与隔热
-
1.7.7.5.112.5.1 屋顶的保温
-
1.7.7.5.212.5.2 屋顶的隔热
-
1.7.8第13章 门窗构造
-
1.7.8.1§13.1 门窗概述
-
1.7.8.1.113.1.1 门窗的作用
-
1.7.8.1.213.1.2 门窗的设计要求
-
1.7.8.2§13.2 窗
-
1.7.8.2.113.2.1 窗的分类
-
1.7.8.2.213.2.2 窗的尺度与组成
-
1.7.8.2.313.2.3 窗在墙洞中的位置与窗框的安装
-
1.7.8.2.413.2.4 窗的构造
-
1.7.8.3§13.3 门
-
1.7.8.3.113.3.1 门的分类
-
1.7.8.3.213.3.2 门的尺度与组成
-
1.7.8.3.313.3.3 门的构造
-
1.7.8.4§13.4 特殊门窗构造
-
1.7.8.4.113.4.1 隔声门窗构造
-
1.7.8.4.213.4.2 防火门窗的构造
-
1.7.8.4.313.4.3 防射线门窗的构造
-
1.7.8.5§13.5 遮阳
-
1.7.8.5.113.5.1 遮阳的作用
-
1.7.8.5.213.5.2 固定遮阳板的形式
-
1.7.8.5.313.5.3 遮阳设计新趋势
-
1.7.9第14章 变形缝构造
-
1.7.9.1§14.1 概述
-
1.7.9.2§14.2 变形缝的设置要求
-
1.7.9.2.114.2.1 伸缩缝
-
1.7.9.2.214.2.2 沉降缝
-
1.7.9.2.314.2.3 防震缝
-
1.7.9.3§14.3 设变形缝处建筑物的结构布置
-
1.7.9.4§14.4 变形缝的盖缝构造
-
1.7.9.4.114.4.1 变形缝盖缝构造的要求
-
1.7.9.4.214.4.2 变形缝的盖缝构造
-
1.8第三篇 工业建筑
-
1.8.1第15章 工业建筑概述
-
1.8.1.1§15.1 工业建筑的特点
-
1.8.1.1.115.1.1 工业建筑必须满足工业生产的要求,并为工人创造良好的劳动卫生条件
-
1.8.1.1.215.1.2 厂房内部空间较大
-
1.8.1.1.315.1.3 工业建筑的结构和构造比较复杂
-
1.8.1.2§15.2 工业建筑的类型
-
1.8.1.2.115.2.1 按用途分类
-
1.8.1.2.215.2.2 按建筑层数分类
-
1.8.1.2.315.2.3 按生产状况分类
-
1.8.1.3§15.3 工业建筑设计的任务和要求
-
1.8.1.3.115.3.1 满足生产工艺的要求
-
1.8.1.3.215.3.2 满足建筑技术的要求
-
1.8.1.3.315.3.3 满足建筑经济的要求
-
1.8.1.3.415.3.4 满足安全和卫生的要求
-
1.8.2第16章 单层厂房设计
-
1.8.2.1§16.1 单层厂房的组成
-
1.8.2.1.116.1.1 房屋的组成
-
1.8.2.1.216.1.2 构件的组成及作用
-
1.8.2.2§16.2 单层厂房的平面设计
-
1.8.2.2.116.2.1 总平面设计对平面设计的影响
-
1.8.2.2.216.2.2 平面设计与生产工艺的关系
-
1.8.2.2.316.2.3 单层厂房的平面形式
-
1.8.2.2.416.2.4 柱网选择
-
1.8.2.2.516.2.5 单层厂房生活间设计
-
1.8.2.3§16.3 单层厂房的剖面设计
-
1.8.2.3.116.3.1 厂房高度的确定
-
1.8.2.3.216.3.2 厂房的天然采光
-
1.8.2.3.316.3.3 厂房的自然通风
-
1.8.2.4§16.4 单层厂房的定位轴线标定
-
1.8.2.4.116.4.1 横向定位轴线
-
1.8.2.4.216.4.2 纵向定位轴线
-
1.8.2.4.316.4.3 纵横跨交接处的定位轴线
-
1.8.2.5§16.5 单层厂房立面设计及内部空间处理
-
1.8.2.5.116.5.1 厂房的立面设计
-
1.8.2.5.216.5.2 厂房的内部空间处理
-
1.8.3第17章 多层厂房设计
-
1.8.3.1§17.1 概述
-
1.8.3.1.117.1.1 多层厂房的特点
-
1.8.3.1.217.1.2 多层厂房的适用范围
-
1.8.3.1.317.1.3 多层厂房的结构型式
-
1.8.3.2§17.2 多层厂房的平面设计
-
1.8.3.2.117.2.1 生产工艺流程和平面布置
-
1.8.3.2.217.2.2 平面布置的形式
-
1.8.3.2.317.2.3 柱网(跨度、柱距)的选择
-
1.8.3.2.417.2.4 厂房宽度的确定
-
1.8.3.3§17.3 多层厂房的剖面设计
-
1.8.3.3.117.3.1 层数的确定
-
1.8.3.3.217.3.2 层高的确定
-
1.8.3.3.317.3.3 室内空间组织
-
1.8.3.4§17.4 多层厂房电梯间和生活、辅助用房的布置
-
1.8.3.4.117.4.1 布置原则及平面组合形式
-
1.8.3.4.217.4.2 楼梯井道与电梯井道的组合
-
1.8.3.4.317.4.3 生活及辅助用房的内部布置
-
1.8.3.5§17.5 多层厂房定位轴线的标定
-
1.8.3.5.117.5.1 砌体墙承重
-
1.8.3.5.217.5.2 装配式钢筋混凝土框架承重
-
1.8.3.6§17.6 多层厂房的立面设计及色彩处理
-
1.8.3.6.117.6.1 体型组合
-
1.8.3.6.217.6.2 墙面处理
-
1.8.3.6.317.6.3 交通枢纽及出、入口的处理
-
1.8.3.6.417.6.4 色彩处理
-
1.8.4参考文献

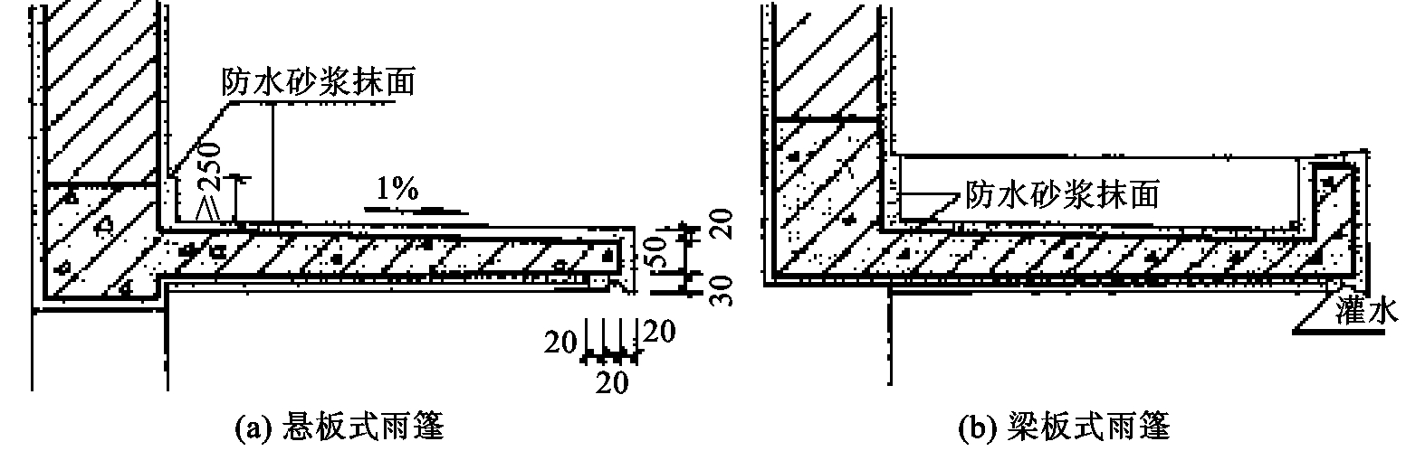
且不小于70mm,雨篷宽度比门洞每边宽250mm,雨篷排水方式可以采用无组织排水和有组织排水两种。雨篷顶面距过梁顶面250mm高,板底抹灰可以抹15mm厚的1∶2水泥砂浆内掺5%防水剂的防水砂浆15mm厚,多用于次要出入口处,如图9-32(a)所示。

