第二节 培训开发的具体实施
强化员工培训开发,可以增强企业竞争力,实现企业战略目标;另一方面将员工个人的发展目标与企业的战略发展目标统一起来,满足了员工自我发展的需要,调动员工工作的积极性和热情,增强企业凝聚力。充分发挥培训对于企业的积极作用,建立有效的培训体系是达成这一目标的前提条件。
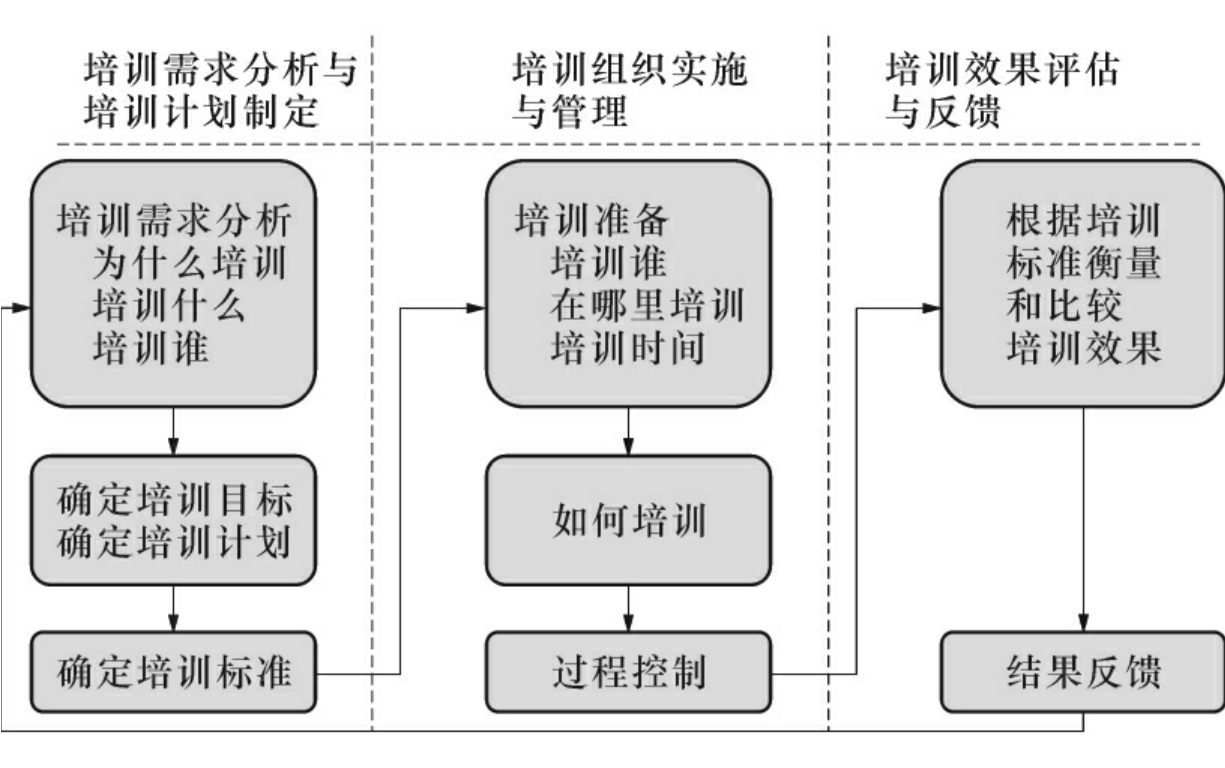
企业培训开发活动通常包括培训需求分析、培训计划制定、培训活动组织实施以及培训效果评估四个环节。虽然从理论上来看组织一个培训开发项目要顺次完成上述四个步骤的工作,但是,在企业实际培训与开发工作当中,上述四个环节之间的界限并不是泾渭分明的,见图5-2。为了操作方便,企业通常都将培训需求分析与培训计划确定放在一起来做,而培训效果评估也并不是在培训开发项目完成之后才进行,操作比较规范、管理水平较高的企业通常在培训需求分析的阶段就开始组织培训效果评估了。比如说,在确定培训需求之后,可以就培训的目的、培训的内容以及培训的对象进行评估,从而能够保证培训开发项目从一开始就是有效的。

图5-2 培训开发实施流程示意图
一、培训需求分析与培训计划制定
1.培训需求分析的内容
培训需求分析是整个培训开发工作流程的出发点,其准确与否直接决定了整个培训工作有效性的大小。
企业之所以会存在培训需求,是因为企业目前出现了问题或者将来可能会出现问题,这些问题就是产生培训需求的“压力点”,它主要来源于两个方面,一是企业层面的问题;二是个人层面的问题。对于培训需求的分析,通常可以从三个方面来考虑:战略与环境分析、工作与任务分析及人员与绩效分析,见图5-3。

图5-3 培训需求示意图
企业发展战略对培训与开发需求分析的主要作用在于它明确指出了企业希望员工拥有什么样的专长与技能,从而为企业确定培训开发战略指出了方向;通过环境分析可以了解到培训可利用的资源情况及管理者对培训活动的支持情况;人员分析有助于了解谁需要培训、弄清楚绩效不令人满意的原因,并让雇员做好接受培训的准备;工作与任务分析包括确定重要的任务以及需要在培训中加以强调的知识、技能和行为方式以帮助雇员完成任务。表5-2给出了进行培训需求分析时的主要着眼点。
表5-2 培训需求分析举例

2.培训需求分析的方法
在培训需求分析中可以采用多种方法,其中最为常用的方法有观察法、问卷调查法、资料查阅法和访问法等。观察法指直接到工作现场,通过观察员工的工作过程来进行培训需求分析。问卷调查法就是将有关问题编制成问卷,通过让员工填写问卷来收集信息进行培训需求分析。资料查阅法就是通过查阅有关的资料,比如专业期刊、技术手册、工作记录等来对培训需求进行分析。访问法是通过访问的方式来获取信息进行培训需求分析的方法,访问可以是面对面的,也可以借助其他媒介;可以是集体访问,也可以是单独访问。这几种方法都有自己的优缺点,在实践中,企业要根据实际情况来选择合适的方法。表5-3对这几种方法进行了一个简单比较。
表5-3 培训需求分析方法的优缺点比较

3.培训计划的制定
培训计划根据企业近、中、远期的发展目标对企业员工培训需求进行预测,然后制定培训活动方案的过程。培训计划是整个培训过程展开的源头,必须在一开始便获得各级员工直接主管的支持与认可,要让员工及其主管承担培训效果转化的最终责任。而企业培训中心的职责是提供基于人力资源开发目标的培训平台与相关资源,最终的实施与受益者是员工本人。因此,在制定员工培训计划时,要以来自人力资源其他业务板块或一线主管提供的信息为依据,培训组织管理者要将这些信息转化为培训可以实施的语言,经过汇总后形成计划表。
制定培训计划有以下条件:
(1)课程体系搭建完成,形成基本平台;
(2)其他人力资源系统(任职资格评价与绩效考核)开始运作,并形成评价结果;
(3)员工的直接主管(评价人)认同整个基于任职资格体系构建的课程体系框架,并在绩效改进沟通中与员工就知识技能差距达成共识,明确培训的目的。
制定培训计划的步骤:
(1)发出制定计划的通知,请各责任人针对相应岗位的工作需求提出培训动意(培训部)。
(2)提出培训动意,以招聘考评、转岗考评、阶段工作考评针对相应岗位工作需要提出培训动意(技能完善性培训)(考评部门);为满足近中期的经营需要,以生产制造、销售服务为目的,提出经营目标与现实的差距和支持性培训动意(计划调度部门);为使岗位任职人员的知识、技能满足今后企业发展需要,在同行业、同专业领域(技术和管理)保持一定的水平,提出前瞻性培训动意(提高技能性)(岗位任职人员);为企业经营管理的需要,以及提高凝聚力和竞争力,提出周知性和相应的特知性培训动意(工作环境适应、身体素质、团队合作素质)(培训部门)。
(3)培训动意汇总(培训部门)。
(4)培训需求分析,弥补任职差距的技能完善性培训(考评部门、上级管理部门、岗位任职人员);满足生产、服务需求的培训(计划调度部门、技术研发部门、生产制造部门、销售服务部门);提高企业全体人员技能的前瞻性培训(岗位任职人员、上级管理部门、技术研发部门、经营规划部门);非工作技术性的综合素质培训(企业各主管领导);培训管理部门要参与所有不同培训需求的分析。
(5)汇总培训意见(培训部门)。
(6)根据重要程度排列培训需求,并依据所能收集到的培训资源(培训方式)制定初步的培训方案、预算(培训部门)。
(7)培训需求、培训方式(外培或内培)、培训预算(初步)审批(企业主管)。
(8)根据确认的培训时间编制培训次序表,并告知相关部门、岗位(培训部门)。
(9)组织企业内部进行的培训内容尤其是培训师的确定,并联系外派培训工作(培训部门)。
(10)对与内部培训有关的场地、设备、工具、食宿、交通予以落实(后勤部门)。
(11)编制选定教材,确定培训方式(培训教师)。
二、培训组织实施与管理
1.课程与教材开发管理
企业在组织培训活动的时候应该编制培训教材,为了开发一套比较规范的、适合企业实际情况的培训教材,首先要完成课程设计。课程设计的主要目的是根据培训项目的目标确定培训课程大纲,为教材开发做准备。
课程设计的主要成果是形成一份标准的、明晰的授课计划,见表5-4。授课计划描述了授课者将要讲授什么内容,打算如何讲授这些内容,但还不是真正要讲授的东西。教材是授课大纲的细化,是授课计划的具体展现。
表5-4 授课计划示例

2.培训师资开发与管理
担任企业培训活动的讲师无外乎两类人,一类是从企业内部挑选出来并经过相应的培训而成为培训讲师的,另一类是直接从外部聘请的,其中又包括大学老师、企业经理人员、专职培训讲师等。
内部讲师和外部讲师各有所长,也都存在缺陷,孰优孰劣不能一概而论,针对具体的项目可能存在谁是最合适的,谁又不太恰当。作为企业负责培训开发工作的专业人员,根本问题是要建立一套行之有效的讲师遴选与培养计划,这样才能保证工作的有效性。
内部讲师理应成为企业培训师资队伍的主体。内部讲师能够以企业欢迎的语言和熟悉的案例故事诠释培训的内容,能够总结、提炼并升华自身和周围同事有益的经验和成果,能够有效地传播和扩散企业真正需要的知识与技能,从而有效实现经验和成果的共享与复制,同时,内部讲师制度也是对某些有着个人成就需求的员工进行激励的一种有效方式,为其职业生涯发展开辟了更广阔的道路。因此,企业应大力提倡和促进内部优秀员工勇于担任培训讲师。
外部讲师包括大学老师、企业经理人员、专职培训讲师等。我国企业在聘请外部讲师实施企业内训活动时常犯的一个错误是,仅仅局限于高等院校的老师。当然,有许多大学老师既精通理论知识,又熟悉企业运作实践,这当然难能可贵,但是,大部分大学老师的社会实践和企业管理经验十分缺乏,由这样的老师实施培训,结果除了传授一些枯燥、晦涩的理论知识以外,恐怕对企业的实际经营与管理工作作用不大。
因此,企业在聘请外部讲师实施内训活动的时候,要拓宽选择范围,并严格遴选程序。外部讲师的选拔也应和内部讲师一样遵照相应的选拔程序,要接受申请、试讲、认证、评价、续聘或进阶等流程的管控。
同时,为了促进外部讲师授课成果的有效转化,企业可以尝试“外部讲师助手”制度,即为每一个签约的外部讲师配备专门的内部助手(内部助手通常由企业内部的签约讲师担任),助手的主要职责是通过向外部讲师提供本企业的案例故事和实际素材,丰富外部讲师的讲课内容,强化其授课内容的针对性、适用性,就外部讲师的授课内容和授课方法提出建议,主动收集受训者的反映和评价,并及时反馈给外部讲师,从而促进外部讲师授课成果的有效转化。另外,这一方式的另一个好处是,助手(即内部兼职讲师)可以提升自己的专业知识(尤其是理论知识)和授课水平,有利于企业内部讲师队伍的成长。
3.培训管理工作职责层次
培训体系的构建与管理工作纷繁庞杂,需要企业的高层领导、人力资源部门、业务部门、培训专业人员以及受训者的支持配合共同完成:高层提供政策、方向和支持,培训部提供资源、方法、制度,各级管理者推动,讲师有效组织培训,员工积极参与,这样才能真正有效推动培训工作,提高培训的有效性。表5-5对培训管理工作的职责体系进行了细分,并对各部门所承担的角色进行了分析。
表5-5 培训管理职责层次与职责划分

另外,企业可以成立临时或者长期的培训协调委员会负责协助人力资源部门开展培训需求的调查并推动培训实施进度,企业各级管理者对于员工在岗培训的有效实施、培训评估的开展以及推动培训成果的应用方面也要承担重要的责任。
三、培训成果转化
培训成果的转化是指将在培训中所学到的知识、技能和行为应用到实际工作当中去的过程。培训成果的转化在很大程度上受到工作环境的影响,包括转化的气氛、管理者的支持、同事的支持、运用所学能力的机会、信息技术支持系统以及受训者自我管理能力等诸多方面。工作环境对培训成果转化起到了极其重要的作用,见表5-6。
表5-6 影响培训成果转化的工作环境

资料来源:《雇员培训与开发》,雷蒙德·A·诺伊,徐芳译。
不利的工作环境会不利于受训者使用学习到的新技能,从而影响到学习的保存、推广和持续,使培训流于形式、难于进行,这也是大多项目的通病。
为了避免这种情况,提高培训的转移效果,在培训的组织与实施过程中要注意以下几个问题:
(1)受训者必须知道培训的根据是什么,明白和接受培训的程序和方法。这是转移效果的重要环节;
(2)加强培训中的示范和参与,这会增强培训的实用性;
(3)模拟与操演会强化受训者的感受,而讨论与反馈会加强学习效果;
(4)增加实际应用机会、与受训者共同探讨及进展情况,这会明显增加培训转移效果;
(5)实际应用过程中的专人指导,是培训过程的必要延续,一般由直接上级进行指导;
(6)建设良好的信息技术系统,支持知识共享与学习成果的保存和积累。
四、培训效果评估与反馈
企业培训活动是一个完整的流程,它包括培训需求分析、培训教材与师资开发、培训活动组织实施以及培训活动效果评估四个环节。培训评估是完整培训流程的最后环节,它既是对整个培训活动实施成效的评价与总结,同时评估结果的反馈又是以后培训活动的重要输入,为下一个培训活动确定培训需求提供了重要信息。培训效果评估要通过不同测量工具评价培训目标的达成度,并据此判断培训的有效性以作为未来举办类似培训活动时的参考。它是一个系统地搜集有关人力资源开发项目的描述性和评判性信息的过程,其目的是便于企业在选择、调整各种培训活动以及判断其价值的时候做出更明智的决策。
1.培训评估需要遵守下面几条基本原则
(1)培训效果评估要贯穿培训过程始终,坚持过程评估与结果评估相结合。培训评估不仅仅是收集反馈信息、衡量结果而已,其根本意义在于检验与促进培训目标的达成,因此从制定培训计划开始,到培训过程结束,评估一直发挥着不可或缺的作用。
(2)关注培训评估与人力资源其他业务板块的有序联动以及培训效果的实践转化力。依据现阶段培训战略,确定相应的评估策略重点,指导评估的有序进行。
(3)依据培训目标,选择相应的培训评估方法组合。保证培训持续有效开展的关键环节之一在于培训评估的方法系统,具体涉及根据培训目标、对象确定评估层面以及相应的工具等内容。
(4)营造评估文化。培训管理者要对培训评估整个环节负责;学员要对培训应取得的成果负责;各级直线管理者要参与培训评估的各个阶段,为培训效果的实践转化提供支持。
2.培训效果评估的方法
评估本质上是一种信息活动,其目的在于提供科学、全面、准确的信息,以便人们做出正确的决策。从培训评估的定义来看,评估过程必须要搜集相关的数据,以便为决策者提供所需的事实和评判依据。表5-7是一些常用的评估数据采集方法及其优缺点,包括访谈、问卷调查、直接观察、测验、模拟和档案分析。
表5-7 培训效果评估方法比较

续 表

3.培训效果评估的标准
培训评估的标准就是指要从哪些方面来对培训进行评估,也可以说是培训评估的内容。这方面最有代表性的观点是柯克帕特里克(Kirkpatrick)的四层次评估模型,这一模型将培训评估的标准分为四个层次的内容。
(1)反映层面——该层面主要是收集学员的意见反馈,了解学员对培训活动的整体性主观感受:他们喜欢该培训项目吗?他们对培训人员和设施有什么建议?他们对课程的设置是否满意?这一层次所采用的方法主要是问卷调查法,辅以访谈法和观察法。
问卷所收集的信息应该包括以下内容。
①目标进度:在多大程度上满足了既定目标?
②课程内容:内容是否恰当?
③教学资料:教学资料是否有用?
④课前资料:课前资料是否必要?是否有用?
⑤作业:课外作业是否有用?
⑥授课方式:授课方式是否适用于目标?
⑦教师/讲师:讲师授课是否有效?
⑧学习动力:你是否渴望学习本资料?
⑨课程相关性:本培训项目是否与你的需求相关?
⑩注册/后勤:时间安排和注册是否连贯?
〇11设施:设施是否能改善学习环境?
〇12总体评估:你对本培训项目的总体评估如何?
〇13潜在的障碍:针对培训资料的应用还存在哪些潜在的障碍?
〇14课程改进/资料的使用:你将如何应用你所学习的知识?
〇15对目标学员的推荐:你认为哪些人员比较适合参加本培训项目?
(2)学习层面——该层面目的是要了解学员在知识、技能、态度、行为方式方面的收获,以确保学员真正理解和吸收培训内容,主要通过培训之后的考试来考察,包括笔试和绩效考核。
(3)行为层面——主要考察学员在接受培训后行为习性是否有所改变,他们在工作中是否用到了在培训中学到的知识技能,主要通过绩效考核和行为观察来获取信息。
(4)结果层面——该层面的评估需要关注学员的实际绩效改进情况,并分析绩效变化与企业培训活动之间的相关性。一个可量化的考察手段就是投资回报率(ROI)分析,即培训的净受益与培训成本(包括一次性成本、每次性成本和人均成本)之比。
投资回报率(ROI)=培训净效益/培训成本×100%
其中培训课程净效益为培训项目效益减去培训项目成本。虽然目前还没有普遍的认可标准,但有许多企业这对培训项目的投资回报率建立了最低要求或最低预期资本回收率(25%),该比例数值通常高于其他类型投资所要求的百分比。
在计算投资回报率的时候要注意以下问题:
①应该针对进行了需求分析的培训项目进行投资回报率的计算;
②投资回报率分析必须包括一种或多种区分培训效果的策略;
③在进行估计时,应该采用最可靠和最可行的信息来源;
④应该采用保守方法来计算效益和成本;
⑤在将培训与开发的投资回报率与其他财务收益进行比较时应该小心;
⑥尽量使经理人员参与到收益的计算过程之中;
⑦应该小心对待和处理比较敏感且存在争议的问题;
⑧把计算收益的方法传授给其他人;
⑨不要夸大收益幅度;
⑩不要尝试在每个培训项目中都使用投资回报率。
表5-8是改良了的柯克帕特里克(Kirkpatrick,1959)四层次评估模型,并总结上述内容而形成的企业培训开发效果评估一览表。
表5-8 企业培训与开发效果评估一览表

值得注意的是,培训结果出来后并不意味着工作的结束。在进行了培训评估之后企业需要根据评估结果来审视整个培训过程,并判断培训目标是否已经有效达成。通常情况下需要对培训项目进行调整和改造,并向有关部门沟通调整的结果。