1
数控机床电气控制
1.10.2 8.2 旋转变压器

8.2 旋转变压器

8.2.1 旋转变压器的结构和工作原理

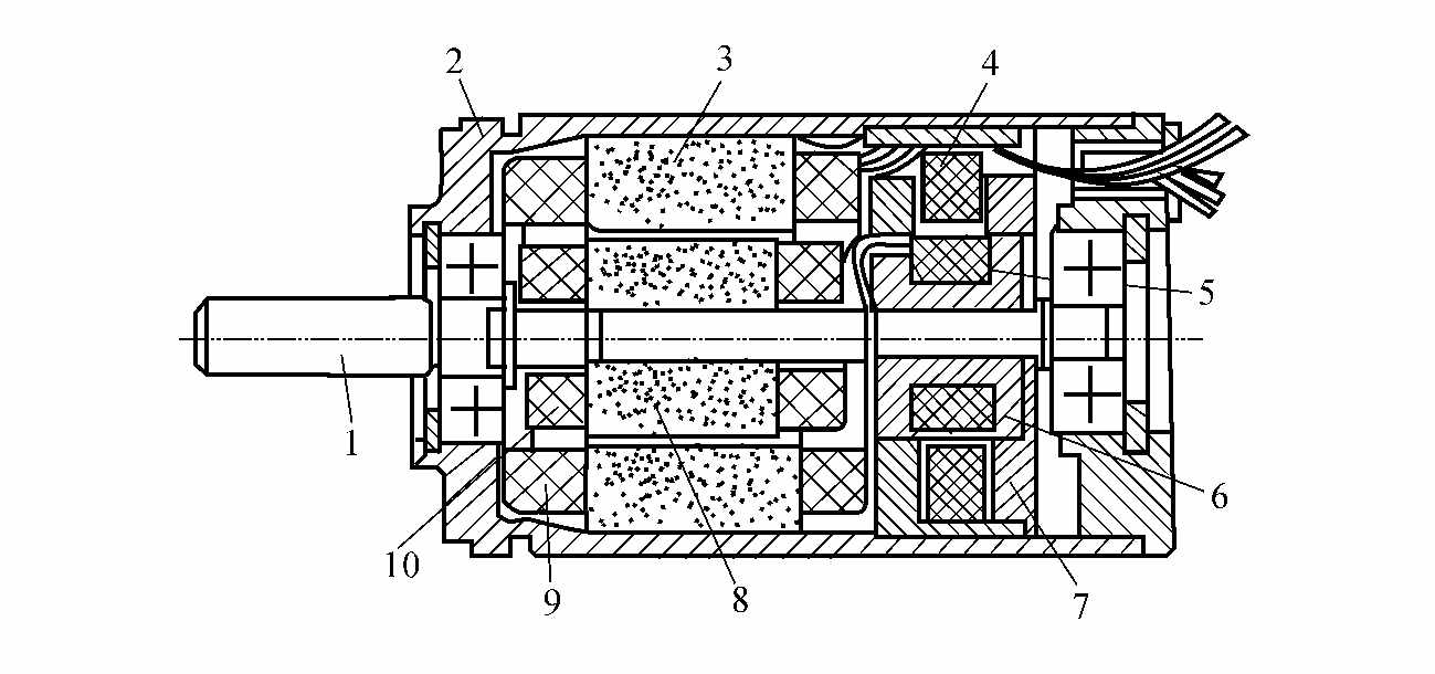
旋转变压器是一种旋转式的小型交流电动机,它由定子和转子组成。如图8-2-1所示是一种无刷旋转变压器的结构,左边为分解器,右边为变压器。变压器的作用是将分解器转子绕组上的感应电动势传输出来,这样就省掉了电刷和滑环。分解器定子绕组为旋转变压器的原边,分解器转子绕组为旋转变压器的副边,励磁电压接到原边,励磁频率通常为400Hz,500Hz,1000Hz,5000Hz。旋转变压器结构简单、动作灵敏、对环境无特殊要求、维护方便、输出信号的幅度大、抗干扰性强、工作可靠,为数控机床经常使用的位移检测元件之一。

img317

图8-2-1 旋转变压器的结构图

1—电动机;2—外壳;3—分解器定子;4—变压器定子绕组;5—变压器转子绕组6—变压器转子;7—变压器定子;8—分解器转子;9—分解器定子绕组;10—分解器转子绕组

旋转变压器是根据互感原理工作的。它的结构设计与制造保证了定子与转子之间的空气隙内的磁通分布呈正(余)弦规律,当定子绕组上加交流励磁电压(交变电压,频率为2~4kHz)时,通过互感在转子绕组中产生感应电动势,如图8-2-2所示。其输出电压的大小取决于定子与转子两个绕组轴线在空间的相对位置θ角。两者平行时互感最大,副边的感应电动势也最大;两者垂直时互感为零,感应电动势也为零。感应电势随着转子偏转的角度呈正(余)弦变化,故有

U2=KU1cosθ=KUmsinωtcosθ      (8-2-1)

式中:U2——转子绕组感应电势;

U1——定子的励磁电压;

Um——定子励磁电压的幅值;

θ——两绕组轴线之间的夹角;

K——变压比,即两个绕组匝数比N1/N2

img318

图8-2-2 两级旋转变压器的工作原理

8.2.2 旋转变压器的应用

使用旋转变压器作位置检测元件有两种方法:鉴相型和鉴幅型。

一般采用的是正弦、余弦旋转变压器,其定子和转子绕组中各有互相垂直的两个绕组,如图8-2-3所示。

1.鉴相型(相位比较工作方式)

在这种状态下,旋转变压器的定子两相正交绕组即正弦绕组S和余弦绕组C中分别加上幅值相等、频率相同而相位相差90°的正弦交流电压,如图8-2-3所示。即

US=Umsinωt      (8-2-2)

Uc=Umcosωt      (8-2-3)

因为此两相励磁电压会产生旋转磁场,所以在转子绕组中(另一绕组短接)感应电动势为

img319

图8-2-3 四级旋转变压器

U2=USsinθ+Uccosθ

上式可变换为

U2=KUmsinωtsinθ+KUmcosωtcosθ=KUmcos(ωt-θ)

测量转子绕组输出电压的相位角θ,便可测得转子相对于定子的空间转角位置。在实际应用时,把对定子正弦绕组励磁的交流电压相位作为基准相位,与转子绕组输出电压相位作比较,来确定转子转角的位移。

2.鉴幅型(幅值比较工作方式)

在这种应用中,定子两相绕组的励磁电压为频率相同、相位相同而幅值分别按正弦、余弦规律变化的交变电压,即

Us=Umsinθsinωt     (8-2-4)

Uc=Umcosθsinωt     (8-2-5)

励磁电压频率为2~4kHz。

定子励磁信号产生的合成磁通在转子绕组中产生感应电动势U2,其大小与转子和定子的相对位置θm有关,并与励磁的幅值Umsinθ和Umcosθ有关,即

U2=KUmsin(θ-θm)sinωt     (8-2-6)

如果θm=θ,则U2=0。

从物理意义上理解,θm=θ表示定子绕组合成磁通Φ与转子绕组的线圈平面平行,即没有磁力线穿过转子绕组线圈,故感应电动势为零。当Φ垂直于转子绕组线圈平面,即θm=θ±90°时,转子绕组中感应电动势最大。

在实际应用中,根据转子误差电压的大小,不断修改定子励磁信号的θ(即励磁幅值),使其跟踪θm的变化。当感应电动势U2的幅值:KUmsin(θ-θm)为零时,说明θ角的大小就是被测角位移θm的大小。