3.7 车床的电气控制
卧式车床是应用非常广泛的金属切削机床,可以用来加工工件的外圆、内圆、端面、螺纹,也可以用钻头、铰刀等加工。
3.7.1 普通车床的主要结构及运动形式
通过图3-7-1可以了解到普通车床的主要结构由基座、床身、主轴变速箱、进给箱、挂轮箱、溜板箱、溜板、刀架、尾架、光杠、丝杠等部分组成。
车床的运动形式有主运动,进给运动和辅助运动。
主运动为主轴带动工件的旋转运动。它承受车床加工时的主要切削功率。根据被加工工件的要求可调节切削速度,在加工螺纹时需主轴反转。
一般主轴调速是由机械变速部分实现。
车床的进给运动是刀架的纵向或横向的直线进给,是由车床主轴箱输出轴经挂轮箱传给进给箱,再经光杠传入溜板箱实现纵、横两个方向的进给运动。

图3-7-1 普通车床结构示意图
1—进给箱;2—挂轮箱;3—主轴变速箱;4—溜板与刀架5—溜板箱;6—尾架;7—丝杠;8—光杠;9—床身
车床的辅助运动是溜板箱带动刀架的快速移动。
3.7.2 电力拖动及制动要求
C650卧式车床属于中型车床,可加工的最大工件回转直径为1020mm,最大工件长度为3000mm和5000mm。
①电动机M1(功率为30kW),完成主轴主运动和刀具进给运动的驱动。电动机采用直接启动的方式启动,可正、反两个方向旋转,并正、反两旋转方向都可以实现反接制动。为加工调整方便,还具有点动功能。
②电动机M2为冷却泵,在工件加工时实施冷却液。采用单方向的连续工作状态。
③电动机M3实现刀架的快速移动,可根据需要随时手动控制启停,为点动控制。
3.7.3 机床电气控制系统分析
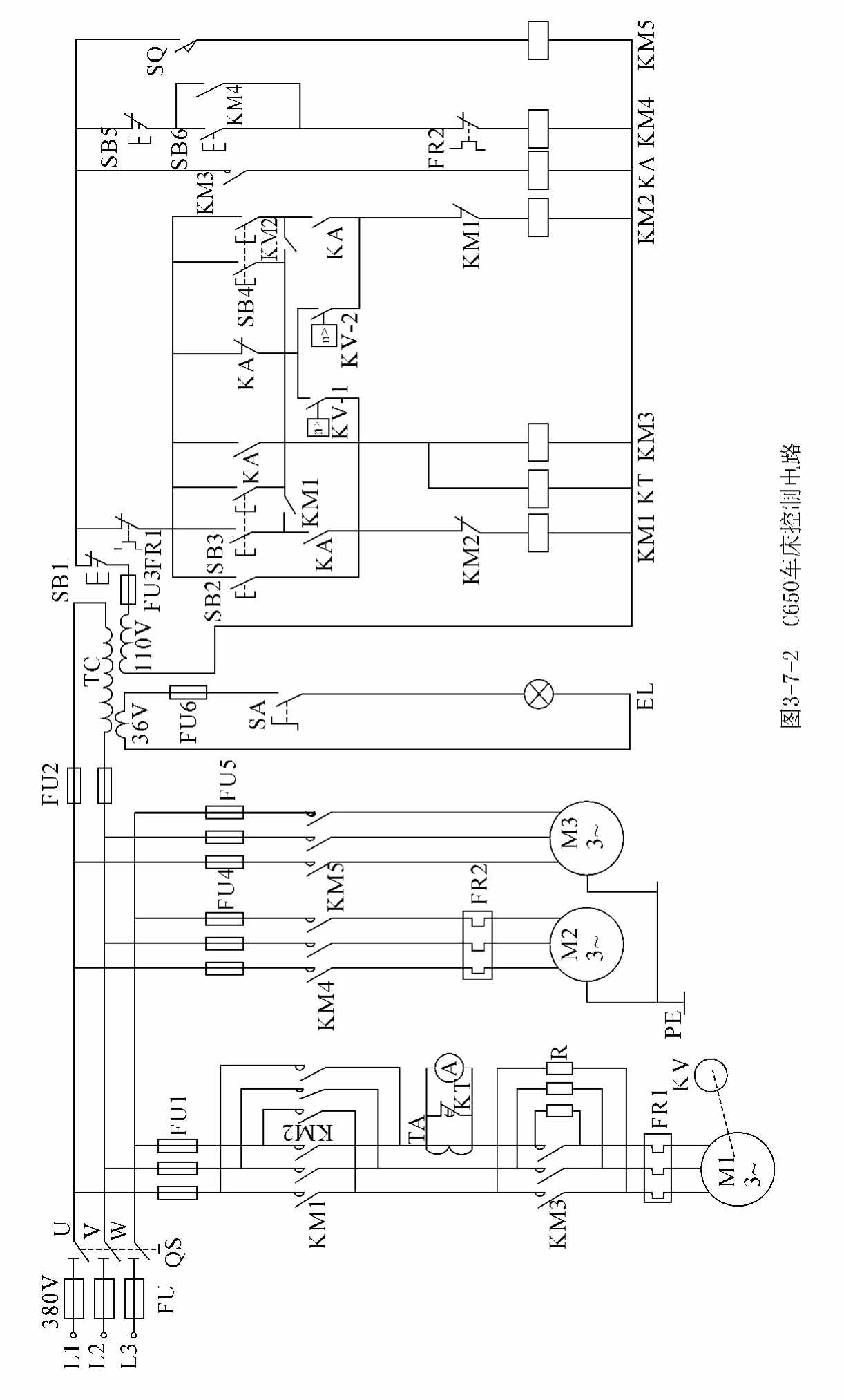
C650车床的电气控制系统电路如图3-7-2所示。

1.主电路分析
隔离开关QS将三相电源引入,FU1为主电动机M1的短路保护用熔断器,FR1为M1电动机的过载保护用热继电器,接触器KM1和KM2可以实现M1电动机正转和反转的控制,接触器KM3的作用是控制限流电阻R的接入和切除。R为限流电阻,防止在点动时连续的启动电流造成电动机的过载,另一作用是M1电动机反接制动时可以减少制动电流。通过互感器TA接入电流表A以监视主电动机M1绕组的电流,为防止电流表被电动机启动电流冲击损坏,利用时间继电器KT的常闭触点,在启动时间内将电流表先短接。速度继电器KV与电动机主轴相连,在反接制动中起停车作用。FR2为冷却泵电机M2的过载保护,KM5是实现快速移动电机M3的电源接触器。由于M3是短时工作,所以不设过载保护。
2.控制电路分析
控制电路可划分为两部分,一部分是主电动机M1的控制电路,第二部分是冷却泵电动机M2和快速移动电动机M3的控制电路。主电动机M1的控制电路较为复杂,由主电动机的正反转及点动控制电路和制动控制电路组成,局部控制电路如图3-7-3。
(1)主电动机M的正反转启动和点动控制 图3-7-3a为主电动机M1的正反转及点动控制电路。
主电动机M1的正转由正向启动按钮SB3控制。按下SB3时,其两个常开触点同时闭合,首先是右边的常开触点接通时间继电器KT和接触器KM3线圈电源,时间继电器KT的常闭触点在主电路中短接电流表A,经延时(当启动电流过后)电流表接入电路正常工作。接触器KM3的主触点闭合,将主电路中的限流电阻短接,KM3的辅助常开触点闭合,给中间继电器KA线圈送电源,其KA的常开触点闭合,给正转接触器KM1的线圈送电,主电动机M1在满压下正向直接启动正转。其KA的另一常开触点闭合,当正向启动按钮SB3复位时保证KM3和KT的线圈一直有电。反向直接启动控制过程与正向直接启动控制过程一样,只是操作反向启动按钮SB4。
主电动机点动调整控制,按点动控制按钮SB2,给正转接触器KM1线圈送电源,其主触点闭合,主电动机的定子绕组经限流电阻R和电源接通,主电动机在较低速下启动。松开SB2,KM1的线圈断电,主电动机停止转动。在点动过程中,中间继电器KA线圈不通电,接触器KM1不会自锁。
(2)主电动机的反接制动控制 为了停车迅速,C650车床主轴采用了反接制动的控制方式。当主电动机的转速接近零时,用速度继电器KV的触点通过电路的控制及时切断电机的电源。图3-7-3b是主电动机制动控制电路。

图3-7-3 (a)主电动机M1的正反转及点动控制电路;(b)主电动机制动控制电路
当主电动机正在正向转动时,速度继电器KV的常开触点KV-2是闭合的,控制电路为预备状态。如需停车按下停止按钮SB1,切断电源,原来通电的KM1,KM3,KA的线圈都断电,当SB1复位后,电源通过SB1、FR1的常闭触点、KA的常闭触点、KV-2和KM1的常闭触点,使反转接触器KM2线圈有电,电机为反接制动状态。当主电动机的转速下降到零以后,速度继电器的触点KV-2复位,KM2的线圈断电,制动结束。反转时的反接制动工作过程和正转制动相似,不同的是主电机反转时,速度继电器KV的触点KV-1闭合。制动时,当按了停止按钮SB1,SB1复位后,电源通过SB1、FR1的常闭触点、KA的常闭触点、KV-1和KM2的常闭触点,使得正转接触器KM1线圈有电,实现反转制动。
(3)刀架的快速移动和冷却泵电机的控制 刀架的快速移动是由刀架快速移动电动机M3拖动,当刀架快速移动操作手柄压合行程开关SQ时,给接触器KM5线圈送电源,其主触点闭合使快速移动电动机M3转动,当手离开刀架快速移动手柄时,SQ不受压,KM5线圈断电,快速移动电动机M3停止转动,刀架快速移动结束。
冷却泵电动机M2由停止按钮SB5、启动按钮SB6及接触器KM4组成的电动机单方向连续运转的电路控制。