任务9 传动系统的检查及保养
【学习目标】
通过本任务的学习,学会检查车辆的传动系统并对其进行必要的检查、保养操作。
【工作场景】
车辆进入举升机后,按要求将车支起至比操作人员高10cm左右,锁住(举升机自锁),然后把两个安全支架分别推至车辆的前、后轴下以确保安全。
【基础知识】
一、传动系统简介
汽车传动系统是指从发动机到驱动车轮之间所有动力传递装置的总称。其功能是将发动机的动力传给驱动车轮。不同的汽车,其传动系统的组成稍有不同。如载货汽车及部分轿车,其传动系统一般由离合器、手动变速器、万向传动装置(万向节和传动轴)、驱动桥(主减速器、差速器、半轴、桥壳)等组成。而现在轿车中采用自动变速器的越来越多,其传动系统包括自动变速器、万向传动装置、驱动桥等,即用自动变速器取代了离合器和手动变速器;如果是越野汽车(包括SUV,即运动型多功能车),则还应包括分动器。
传动系统各组成的功能如下。
(1)离合器,保证换挡平顺,必要时中断动力传动。
(2)变速器,变速、变矩、变向、中断动力传动。
(3)万向传动装置,实现有夹角和相对位置经常发生变化的两轴之间的动力传动。
(4)主减速器,将动力传给差速器,并实现降速增矩、改变传动方向。
(5)差速器,将动力传给半轴,并允许左右半轴以不同的转速旋转。
(6)半轴,将差速器的动力传给驱动车轮。
二、汽车传动系统的总体布置
汽车传动系统的总体布置与发动机的位置及汽车的驱动方式有关,一般有发动机前置后轮驱动、发动机前置前轮驱动、发动机后置后轮驱动、发动机前置全轮驱动等。
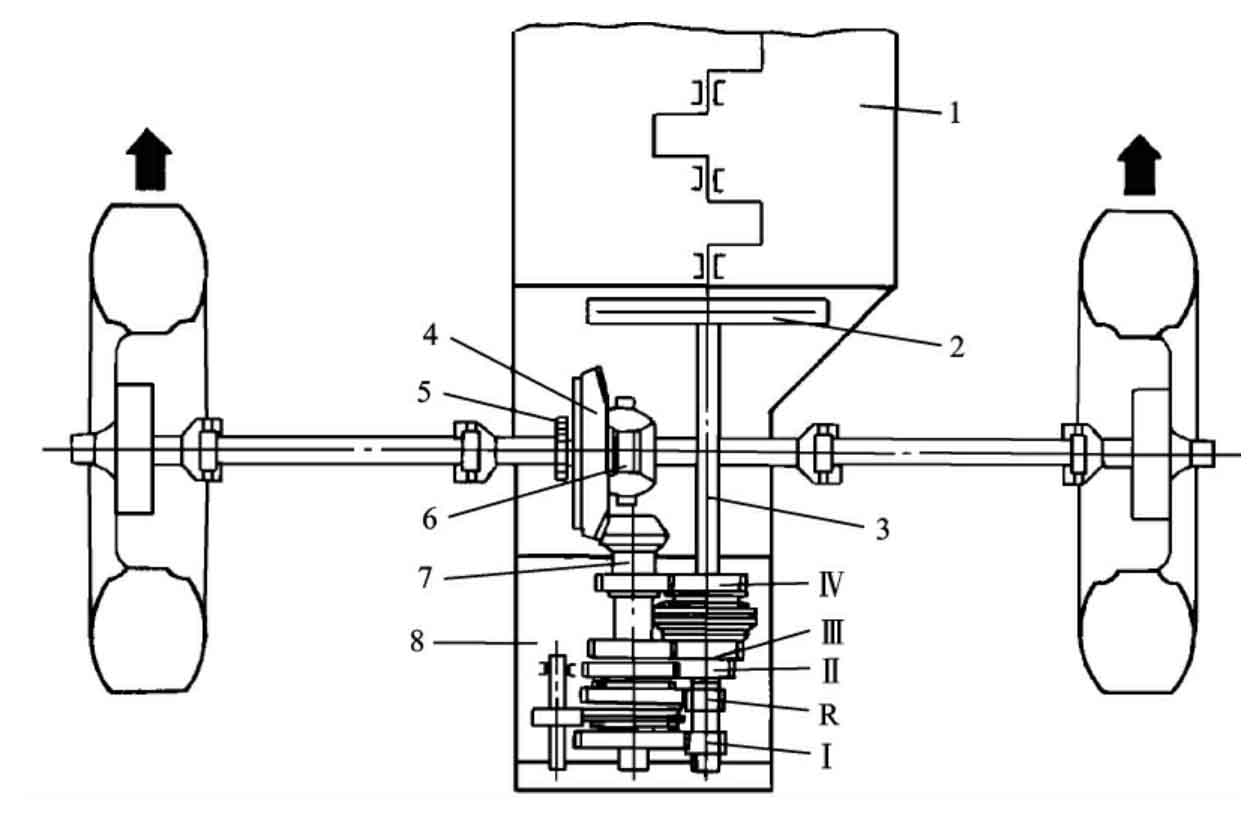
(1)发动机前置后轮驱动简称前置后驱动,英文简称为FR。如图3-45所示,发动机布置在汽车前部,动力经过离合器、变速器、万向传动装置、后驱动桥,最后传到后驱动车轮,使汽车行驶。

图3-45 汽车传动系统的组成
1—离合器;2—变速器;3—传动轴;4—驱动桥;5—主减速器;6—差速器;7—半轴
这是一种传统的布置形式,应用广泛,适用于除越野汽车的各类型汽车,如大多数的货车、部分轿车和部分客车都采用这种形式。
(2)发动机前置前轮驱动简称前置前驱动,英文简称FF。发动机布置在汽车前部,动力经过离合器、变速器、前驱动桥,最后传到前驱动车轮,这种布置形式在变速器与驱动桥之间省去了万向传动装置,使结构简单紧凑,整车质量小,高速时操纵稳定性好。大多数轿车采用这种布置行驶,但这种布置形式的爬坡性能差,豪华轿车一般不采用,而采用传统的发动机前置后轮驱动。
根据发动机布置的方向,可以分为发动机前横置前轮驱动和发动机前纵置前轮驱动,分别如图3-46、图3-47所示。

图3-46 发动机前横置前轮驱动示意图
1—发动机;2—离合器;3—变速器;4—主减速器;5—差速器

图3-47 发动机前纵置前轮驱动示意图
1—发动机;2—离合器;3—变速器输入轴;4—从动齿轮;5—车速表齿轮;6—差速器;7—主动齿轮(输出轴);8—变速器
(3)发动机后置后轮驱动简称后置后驱动,英文简称RR。如图3-48所示,发动机布置在汽车后部,动力经过离合器、变速器、角传动装置、万向传动装置、后驱动桥,最后传到后驱动车轮,使汽车行驶。这种布置形式便于车身内部的布置,减小室内发动机的噪声,一般用于大型客车。

图3-48 发动机后置后轮驱动示意图
1—发动机;2—离合器;3—变速器;4—角传动装置;5—万向传动装置;6—驱动桥
(4)发动机前置全轮驱动简称全轮驱动,英文简称XWD。如图3-49所示,发动机布置在汽车前部,动力经过离合器、变速器、分动器、万向传动装置分别到达前后驱动桥,最后传到前后驱动车轮,使汽车行驶。由于所有的车轮都是驱动车轮,提高了汽车的越野性能,这是越野汽车采取的布置形式。

图3-49 发动机前置全轮驱动示意图
1—分动器;2—前桥;3—万向节
三、传动系统的功用与发动机配置
汽车发动机所发出的动力靠传动系统传递到驱动车轮。传动系统具有减速、变速、倒车、中断动力、轮间差速和轴间差速等功能,与发动机配合工作,能保证汽车在各种工况条件下正常行驶,并具有良好的动力性和经济性。
1.减速和变速
汽车的使用条件,诸如汽车的实际装载量、道路坡度、路面状况,以及道路宽度和曲率、交通情况所允许的车速等,都在很大范围内不断变化。这就要求汽车牵引力和速度也有相当大的变化范围。对活塞式内燃机来说,在其整个转速范围内,扭矩的变化范围不大,而功率及燃油消耗率的变化却很大,因而保证发动机功率较大而燃油消耗率较低的曲轴转速范围,即有利转速范围很窄。为了使发动机能保持在有利转速范围内工作,而汽车牵引力和速度又能在足够大的范围内变化,应当使传动系统传动比(所谓传动比就是驱动轮扭矩与发动机扭矩之比或发动机转速与驱动轮转速之比)能在最大值与最小值之间变化,即传动系统应起变速作用。
2.实现汽车倒驶
汽车在某些情况下,需要倒向行驶。然而,内燃机是不能反向旋转的,故与内燃机共同工作的传动系统必须保证在发动机转动方向不变的情况下,能够使驱动轮反向旋转。一般结构措施是在变速器内加设倒挡。
3.中断传动
内燃机只能在无负荷情况下启动,而且启动后的转速必须保持在最低稳定转速上,否则可能熄火。所以,在汽车起步之前,必须将发动机与驱动轮之间的传动路线切断,以便启动发动机。发动机进入正常怠速运转后,再逐渐地恢复传动系统的传动能力,即从零开始逐渐对发动机曲轴加载,同时加大节气门开度,以保证发动机不致熄灭,并使汽车能平稳起步。此外,在变换传动比挡位(换挡)及对汽车进行制动之前,都有必要暂时中断动力传递。为此,在发动机与变速器之间,装设一个依靠摩擦来传动,且其主动和从动部分可在驾驶员操纵下彻底分离,随后再揉和接合的机构——离合器。
在汽车长时间停驻时,以及在发动机不停止运转情况下,使汽车暂时停驻,传动系统应能较长时间中断传动状态。为此,变速器应设有空挡,即所有各挡齿轮都能自动保持在脱离传动位置的挡位。
4.差速作用
当汽车转弯行驶时,左右车轮在同一时间内滚过的距离不同,如果两侧驱动轮仅用一根刚性轴驱动,则二者角速度必然相同,因而在汽车转弯时必然产生车轮相对于地面滑动的现象。这将使转向困难,汽车的动力消耗增加,传动系统内某些零件和轮胎加速磨损。所以,需要在驱动桥内装置具有差速作用的部件——差速器,使左右两驱动轮可以以不同的角速度旋转。
【技能训练】
一、液压离合器踏板的调整
1.调整步骤
(1)如果离合器踏板上装有开关或调整螺栓,则应调整螺栓的位置,而不应触动离合器踏板,如图3-50所示。
图3-50 液压式离合器操纵机构
1—变速器壳体;2—分离叉;3—工作缸;4—储液罐;5—进油软管;6—助力弹簧;7—推杆接头;8—离合器踏板;9—油管总成;10—主缸;11—分离轴承
(2)松动螺杆上的锁紧螺母,转动推杆并调整离合器踏板的高度。测量踏板高度时应从地板开始测量,而不应从地毯开始,并且应与踏板操作平面垂直。
(3)确定离合器踏板行程符合技术规定。
(4)拧紧锁紧螺母。
(5)如果需要的话,依据维修手册调整开关位置。
(6)在转轴等部位涂抹润滑脂。
2.调整时的注意事项
(1)应在发动机停止运转时进行离合器踏板的检查与调整。
(2)如果离合器踏板在运动过程中几乎没有自由行程(正常值应为20~30mm),则表明离合器片已经受到一定程度的磨损。应及早更换离合器片,以防离合器打滑或产生其他类似的故障。
(3)踏板操作平面的中心是测量的基准点。
二、拉线式离合器踏板的调整
调整步骤如下。
(1)使用直尺测量离合器踏板的自由行程(20~30mm)。
(2)如果自由行程不符合技术规定,利用调整螺母将自由行程调整到规定范围内的最小尺寸。
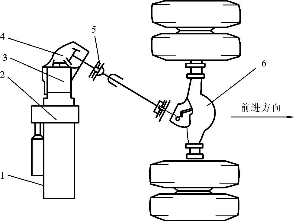
(3)锁紧调整螺母,对离合器拉线进行润滑,如图3-51所示。

图3-51 拉线式离合器操纵机构
1—离合器分离踏板;2—偏心弹簧;3、5—支承;4—离合器拉线调整螺栓、螺母;6—离合器操纵臂;7—离合器分离臂;8—离合器分离轴承;9—离合器分离推杆
三、MTF的检查
1.检查的项目
1)MTF液位
正确的液位如图3-52所示,检查方法如图3-53所示。

图3-52 正常液位示意图
1—密封垫圈;2—加注孔螺栓

图3-53 检查液位方法
2)MTF状态
取出少许MTF油,观察颜色,不允许有颜色变深、结块、浑浊和金属屑脱落等现象,不得有烧焦的异味。
2.检查注意事项
(1)关闭发动机。
(2)如果关闭发动机后油液温度较高,应先使其冷却。
(3)液位检查可用自制的L形金属钩(按图3-50中尺寸)插入加注孔进行检查。
(4)如果油液(黏附在金属钩上的)看上去很脏或含有金属碎屑,必须更换。
(5)如果液位很低(低于螺孔下边缘15mm),一定要加注MTF油。
(6)如果液位太低,无法黏附在金属钩上,应检查是否泄漏。若发现泄漏应更换油液。
(7)对检查出的油液泄漏部位进行修理。
(8)每次拧开油液加注孔或放油孔螺栓后,必须更换螺栓上的垫片;若是内六角螺塞,应重新涂上密封胶。
(9)在重新安装放油螺栓之前,必须清除黏附在其末端磁铁上的金属粉尘。
四、ATF的检查
1.ATF液位
车辆行驶一段距离后,让变速器油液达到正常工作温度70~80℃。将车辆停在水平路面上,发动机继续运行,踩下制动踏板,将挡位在各个位置停留片刻,然后将挡位手柄回到停车位置,拉起手制动。发动机继续运转,从自动变速器加注油口中抽出油尺,用干净的棉布擦净,然后再次插入油尺,抽出后检查油门高度,应该在热态的上下线范围内,如图3-54所示。

图3-54 ATF油尺
2.油品质量
将油尺上的油液沾上少许放在手上捻搓,查看是否有渣粒存在,并感觉其黏度。油品质量良好时为鲜红色、清亮透明,无异味、无残渣。如油液浑浊,颜色呈暗红色,有臭味、焦煳味,有渣粒感等均应更换。
五、传动轴防尘套的检查
传动轴防尘套会随着时间的流逝而损坏。因此,该项目是车辆定期检查的项目之一。防尘套内充满了用于润滑连接节的润滑脂。如果防尘套损坏,将会造成润滑脂泄漏,从而使连接节损坏,出现异常噪音和振动。
防尘套有两种,即橡胶的和树脂的,但它们的检查方法相同。检查方法如下。
(1)松开手制动,变速器置于空挡位置,将车辆升起至合适高度。
(2)一个人用手搬动轮胎至极限位置,然后慢慢转动轮胎一圈。另一个人在车下观察传动轴防护套是否有裂纹、老化、和油脂渗漏现象。
(3)同时检查防护套卡箍,确保安装到位,且紧固良好,如图3-55所示。

图3-55 防尘套及卡箍
(4)用同样的方法检查传动轴的其他防护套。
(5)检查过程中,应用手将折叠处展平,以进行彻底检查。此外,检查时还应用手挤压防尘套,检查有无空气泄漏。
【相关拓展】
现阶段汽车的变速器主要包括手动变速器MT、自动变速器AT(手自一体变速器A/MT实质上就是自动变速器,只不过是加了一套手动换挡程序)、无级变速器(CVT)和双离合器自动变速器(DSG)。
一、汽车变速新技术——无级变速器
手动变速器和自动变速器有几个固定的传动比,而CVT的优势在于在一定范围内传动比是连续变化的。采用传动带和传动带轮工作直径可变的主、从动轮相配合传递动力。CVT可以实现传动比的连续改变,使传动系统与发动机工况实现最佳匹配,从而提高汽车的燃油经济性和动力性。同时,改善驾驶员的操纵方便性和乘坐舒适性。
1.CVT无级变速的工作原理
CVT无级变速原理图如图3-56所示。无级变速系统主要由主动轮组、从动轮组、金属传动带和液压控制系统及电子控制系统等组成。主动轮组和从动轮组都由固定盘和可动盘组成。固定盘在轴上固定不动,而可动盘在液压控制系统的控制下可以沿轴向移动。可动盘与固定盘都是锥面结构,它们各自的锥面共同形成V形槽来与V形金属传动带啮合。

图3-56 CVT无级变速原理图
金属传动带由两束金属环和几百个金属片构成。
发动机输出动力首先传递到CVT的主动轮,然后通过V形金属传动带传递到从动轮,最后经减速器、差速器传递给汽车驱动轮。CVT变速是由液压控制系统控制主动轮与从动轮的可动盘作轴向移动来改变主动轮、从动轮锥面与V形传动带啮合的工作半径,从而改变传动比,实现无级变速。
在金属带式无级变速器的液压系统中,从动油缸的作用是控制金属带的张紧力,以保证来自发动机的动力高效、可靠的传递。主动油缸控制主动锥轮的位置沿轴向移动,在主动轮组金属带沿V形槽移动,由于金属带的长度不变,在从动轮组上金属带沿V形槽向相反的方向变化。金属带在主动轮组和从动轮组上的回转半径发生变化,实现速比的连续变化。
汽车开始起步时,主动轮的工作半径较小,变速器可以获得较大的传动比,变速器获得较大的减速。随着车速的增加,主动轮的工作半径逐渐增大,从动轮的工作半径相应减小,CVT的传动比下降,变速器输出转速升高,使得汽车能够以更高的速度行驶。
2.CVT的核心技术
相对于手动变速器和自动变速器复杂的传动设计,无级变速器的传动实质是很简单的。实际上,原来的踏板摩托车都是无级变速的。那么,为什么在汽车上应用不多呢?
因为无级变速的核心技术是V形传动带的设计。早期的V形传动带以皮带制作,和常用的三角带相似。皮带不但本身能承受的拉力有限,最主要的是它和锥轮之间的摩擦力有限,容易打滑,所以早期的CVT变速箱能承受的扭矩较小,因此在踏板式摩托车上得到广泛应用。现在由于技术进步,皮带传动的CVT目前已可用到2.0L的汽车上,但真正彻底的解决办法,是以钢制的链条替代皮带,加强传动带的承受能力并防止打滑。奥迪的Multitronic无级变速系统,便是采用特制的传动钢链,它可以承受较大的扭矩,如图3-57所示。

图3-57 金属V形传动带结构图
3.无级变速在国产汽车中的应用
最经典的就是奥迪的Multitronic无级变速系统了,之后广州本田的飞度、东风日产的轩逸、东风日产的高档车天籁新款车也都采用了无级变速技术。随着金属V形传动带设计技术的进步,会有更多的车型采用无级变速技术。
4.关于无级变速器中的手动换挡功能
大部分无级变速系统都会额外增设手动模式,提供手/自动一体化的功能。不过,由于CVT理论上有无数种速比,在CVT上设置的手动换挡模式,原理上只是以计算机程序将整个传动范围划分成若干段,然后按预设的段落一段一段地去变换传动比。只要愿意,将CVT的手动模式设置成5前速、6前速甚至10前速,难度都是一样的。CVT的手动模式只为满足一些人的驾驶心态,将原本无级的传动比划分成几级,实质上乃是“扬短避长”之举。
二、汽车变速新技术——双离合器自动变速器
双离合器自动变速器(DSG),顾名思义,就是一台使用了两个离合器而各离合器单独运转的变速器。双离合器自动变速器好在哪里呢?
以大众汽车的DSG为例,DSG的换挡动作比手动挡变速箱还要快,带来更多驾驶乐趣;DSG换挡过程中不产生动力间断,DSG极为快速的换挡过程令人难以察觉无顿挫感;DSG的油耗水平与手动挡车型的相当,甚至低于手动挡车型。
1.DSG的工作原理
DSG省略了传统手动变速器的离合器踏板,改由电子控制液压系统对两个离合器进行控制。DSG的输入轴也被分为两部分,两个离合器各自与一根输入轴相连,中空的外轴用于连接变速器中的偶数挡位,外轴套嵌的实心内轴则用于连接奇数挡位。两个离合器在工作时相互配合,各自负责一根输入轴的动力传递。
从图3-58中可以看出,离合器2通过内轴控制变速器中的奇数挡位,离合器1通过外轴控制变速器中的偶数挡位。

图3-58 DSG结构简图
1—齿轮选择器;2—内变速器轴;3—外变速器轴
当汽车正常行驶时,一个离合器与变速器中的某一挡位相连,将发动机动力传递至驱动轮,与此同时,控制单元根据车辆行驶速度和发动机转速对驾驶者的换挡意图进行预先判断,控制另一个离合器与变速器中下一挡位的齿轮组相连,离合器仍处于分离状态,尚未进行任何动力传输。
换挡时,第一个离合器断开连接,同时第二个离合器将之前预连接的变速器中下一挡位的齿轮组与发动机接合,进行下一个挡位的动力传输,从而不会出现动力中断的状况。除了空挡之外,双离合器变速器中的一个离合器总处于接合状态,另一个离合器总处于断开状态。
正是这样的两个离合器配合换挡的结构,在挡位切换时齿轮早已衔接,DSG实现了平稳换挡、快速换挡、动力“无间断”地输出,达到了节约燃油的目的。据大众官方数据,目前普及型的DSG换挡时间只有0.2s左右。即使是全球最好的赛手换挡速度也不可能与DSG相比。DSG换挡时间也远超出人类操作的极限。
2.DSG的应用
DSG是脱胎于半自动变速器技术的一项衍生技术,目前大众已经在高尔夫汽车上成功使用了的DSG-7,其技术核心是从机械传动的手动变速器发展而来,内部构造却与传统手动变速器相似。因此它继承了手动变速器工作可靠和便于维护的技术优势。同时,DSG在使用方面与普通自动变速器并无太大差别,方便省力。
3.DSG的类型
目前在市场上应用广泛的是大众汽车的DSG系列双离合器变速器,主要有DSG-6挡双离合器变速器和DSG-7挡双离合器变速器。
DSG-6挡双离合器变速器采用“湿式”双离合器。“湿式”是指双离合器安装于一个充满液压油的封闭油腔里。这种“湿式”结构具有更好的调节能力和优异的热容性,因此能够传递比较大的扭矩。DSG-6挡双离合器变速器可匹配最大扭矩为350N·m的发动机。
DSG-7挡双离合器变速器采用“干式”双离合器。“双离合器”由三个尺寸相近的离合器片同轴相叠安装组成。因为它的“双离合器”不是像DSG-6挡双离合器变速器那样安装于封闭油腔里,所以,被称为“干式”双离合器。“干式”双离合器结构简单,因而效率更高。但是“干式”离合器自身结构的固有特性使它能够承受的最大扭矩比“湿式”离合器要低。DSG-7挡双离合器变速器用于匹配最大扭矩不超过250N·m的小排量发动机。
【复习延伸】
1.查阅相关资料,测量某款车辆的离合器踏板高度、行程、有效行程、自由间隙,如哪项指标不在技术规范之内,请调整到范围之内。
2.仔细观察、感觉报废的MTF、ATF与合格的这两种油的区别。
3.车辆上除了传动轴上有防尘套外,还有几处其他的防尘套,请找到并检查其损坏情况。
4.查阅相关资料,列表比较自动变速器、无极变速器、双离合器变速器的区别和联系。