任务7 制动系统的检查及保养
【学习目标】
通过本任务的学习,学会检查车辆的制动系统并对其进行必要的检查、保养操作。
【工作场景】
车辆进入举升机后,按要求将车举起至比操作人员高10cm左右处锁住(举升机自锁),然后把两个安全支架分别推至车辆的前后轴下以确保安全。
【基础知识】
一、制动系统
车辆上用以使外界(主要是路面)在车辆某些部分(主要是车轮)施加一定的力,对其进行一定程度的强制制动的一系列专门装置统称为制动系统。其作用是使行驶中的车辆按照驾驶员的要求进行强制减速甚至停车;使已停驶的车辆在各种道路条件下(包括在坡道上)稳定驻车;使下坡行驶的车辆速度保持稳定。
对车辆起制动作用的只能是作用在车辆上且方向与车辆行驶方向相反的外力,而这些外力的大小都是随机的、不可控制的,因此车辆上必须装设一系列专门装置以实现上述功能。
1.制动系统分类
1)按制动系统的作用不同
制动系统可分为行车制动系统、驻车制动系统、应急制动系统及辅助制动系统等。用以使行驶中的车辆降低速度甚至停车的制动系统称为行车制动系统;用以使已停驶的车辆驻留原地不动的制动系统则称为驻车制动系统;在行车制动系统失效的情况下,保证车辆仍能实现减速或停车的制动系统称为应急制动系统;在行车过程中,能够降低车速或保持车速稳定,但不能将车辆紧急制停的制动系统称为辅助制动系统。上述各制动系统中,行车制动系统和驻车制动系统是每个车辆都必须具备的。
2)按制动操纵能源不同
制动系统可分为人力制动系统、动力制动系统和伺服制动系统等。以驾驶员的肌体作为唯一制动能源的制动系统称为人力制动系统;完全靠由发动机的动力转化而成的气压或液压形式的势能进行制动的系统称为动力制动系统;兼用人力和发动机动力进行制动的制动系统称为伺服制动系统或助力制动系统。
3)按制动能量的传输方式不同
制动系统可分为机械式、液压式、气压式、电磁式等。同时采用两种以上传输方式的制动系统称为组合式制动系统。
2.制动系统的一般工作原理
制动系统的一般工作原理是,利用与车身(或车架)相连的非旋转元件和与车轮(或传动轴)相连的旋转元件之间的相互摩擦来阻止车轮的转动或转动的趋势。
图3-20所示的是一种简单的液压制动系统工作原理示意图。

图3-20 制动系统工作原理示意图
1—制动踏板;2—主缸推杆;3—主缸活塞;4—制动主缸;5—油管;6—制动轮缸;7—轮缸活塞;8—制动鼓;9—摩擦片;10—制动蹄;11—制动底板;12—支承销;13—制动蹄复位弹簧
一个以内圆面为工作表面的金属制动鼓固定在车轮轮毂上,随车轮一起旋转。在固定不动的制动底板上,有两个支撑销,支撑着两个弧形制动蹄的下端。制动蹄的外圆面上装有摩擦片。制动底板上还装有液压制动轮缸,用油管与装在车架上的液压制动主缸相连通。主缸中的活塞可由驾驶员通过制动踏板机构来操纵。
当驾驶员踏下制动踏板,使活塞压缩制动液时,轮缸活塞在液压的作用下将制动蹄片压向制动鼓,使制动鼓减小转动速度,或保持不动。
二、轿车典型制动系统的组成
图3-21所示为一种轿车典型制动系统的组成示意图(前盘后鼓)。可以看出,制动系统一般由制动操纵机构和制动器两大主要部分组成。

图3-21 轿车典型制动系统组成示意图
1—前轮盘式制动器;2—制动总泵;3—真空助力器;4—制动踏板机构;5—后轮鼓式制动器;6—制动组合阀;7—制动警示灯
1.制动操纵机构
制动操纵机构是由产生制动动作、控制制动效果并将制动能量传输到制动器的各个部件,如图中的2、3、4、6,以及制动轮缸和制动管路组成。
2.制动器
制动器是产生阻碍车辆的运动或运动趋势的力(制动力)的部件。车辆上常用的制动器都是利用固定元件与旋转元件工作表面的摩擦而产生制动力矩,称为摩擦制动器。它有鼓式制动器和盘式制动器两种结构形式。
1)鼓式制动器
鼓式制动器结构总成如图3-22所示。由于在现代轿车上的应用逐渐减少,故此处不再详细介绍。

图3-22 鼓式制动器结构总成
2)盘式制动器
盘式制动器中的旋转元件是以端面工作的金属圆盘,称为制动盘。其固定元件则有着多种结构形式,大体上可分为两类。一类是工作面积不大的摩擦块与其金属背板组成的制动块,每个制动器中有2~4个。这些制动块及其促动装置都装在横跨制动盘两侧的夹钳形支架中,总称为制动钳。这种由制动盘和制动钳组成的制动器称为钳盘式制动器。钳盘式制动器过去只用作中央制动器,现在越来越多地被各级轿车和货车用作车轮制动器。钳盘式制动器又可分为定钳盘式和浮钳盘式两类。盘式制动器结构如图3-23、图3-24所示。

图3-23 盘式制动器结构图(在车上)

图3-24 盘式制动器结构图(拆下总成)
(1)定钳盘式制动器 定钳盘式制动器的结构示意图如图3-25所示。

图3-25 定钳盘式制动器示意图
1—制动钳体;2—活塞;3—制动盘;4—车桥部;5—进油口;6—摩擦块
在制动盘上的制动钳体固定安装在车桥上,它不能旋转也不能沿制动盘轴线方向移动,其内的两个活塞分别位于制动盘的两侧。
制动时,制动油液由制动总泵(制动主缸)经进油口进入钳体中两个相通的液压腔中,将两侧的制动块压向与车轮固定连接的制动盘,从而产生制动力。
这种制动器的缺点:油缸较多,使制动钳结构复杂;油缸分置于制动盘两侧,必须用跨越制动盘的钳内油道或外部油管来连通,这使得制动钳体的尺寸过大,难以安装在现代化轿车的轮辋内;热负荷大时,油缸和跨越制动盘的油管或油道中的制动液容易受热汽化;若要兼用于驻车制动,则必须加装一个机械制动的驻车制动钳。
(2)浮钳盘式制动器 图3-26所示为浮钳盘式制动器示意图。

图3-26 浮钳盘式制动器示意图
1—制动盘;2—制动钳体;3—摩擦块;4—活塞;5—进油口;6—导向销;7—车桥
钳体通过导向销与车桥相连,可以相对于制动盘轴向移动。制动钳体只在制动盘的内侧设置油缸,而外侧的制动块则附装在钳体上。
制动时,液压油通过进油口进入制动油缸,推动活塞及其上的摩擦块向右移动,并压到制动盘上,使得油缸连同制动钳体整体沿销钉向左移动,直到制动盘右侧的摩擦块也压到制动盘上夹住制动盘并使其制动。
与定钳盘式制动器相反,浮钳盘式制动器轴向和径向尺寸较小,而且制动液受热汽化的机会较少。此外,浮钳盘式制动器在充当行车和驻车制动器的情况下,只需在行车制动钳油缸附近加装一些用以推动油缸活塞的驻车制动机械传动零件即可。故浮钳盘式制动器逐渐取代了定钳盘式制动器。
(3)盘式制动器的特点 盘式制动器与鼓式制动器相比,有以下优点。
①一般无摩擦助势作用,因而制动器效能受摩擦系数的影响较小,即效能较稳定。
②浸水后效能降低较少,而且只需经一两次制动即可恢复正常。
③在输出制动力矩相同的情况下,尺寸和质量一般较小。
④制动盘沿厚度方向的热膨胀量极小,不会像制动鼓的热膨胀那样,使制动器间隙明显增加而导致制动踏板行程过大。
⑤较容易实现间隙自动调整,其他保养修理作业也较简便。
⑥因为制动盘外露,还有散热良好的优点。
盘式制动器不足之处是效能较低,故用于液压制动系统时所需制动管路压力较高,一般要用伺服装置。
目前,盘式制动器已广泛应用于轿车,在一些中高级轿车上用于全部车轮,中低档轿车只用作前轮,而与后轮的鼓式制动器配合,以期车辆有较高的制动时的方向稳定性。
【技能训练】
一、制动踏板的检查
在任何车辆上,制动系统的正常操作对安全而言都是十分重要的。因为踏板直接受到驾驶员脚步的压力,所以很容易偏离技术规范范围。
制动踏板调整可以确定制动器的开始操作点以及制动灯的照亮点。其内容包括踏板高度调整和制动开关的位置调整。制动踏板自由行程的范围不可以调整(广本轿车)。踏板高度不足是非常危险的,因为这可能会导致操作踏板时制动器的启动延迟,并且可能阻碍自动器的充分应用,行程不足还可能导致制动器卡滞。
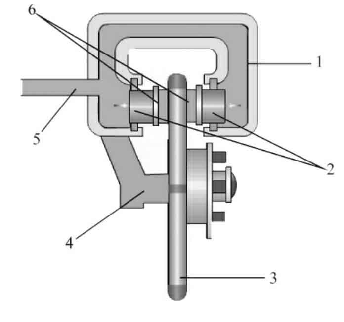
1.制动踏板高度的检查和调整
制动踏板高度的调整如图3-27所示。拧下制动开关使之不再与制动踏板接触;掀起地毯,测量由驾驶室底板算起至踏板中点的踏板高度。雅阁轿车制动踏板高度应为148mm。调整踏板高度时,拧松推杆的锁紧螺母,用钳子拧进或拧出推杆进行调整,使踏板高度达到标准值。调整完毕应将锁紧螺母以15N·m的力矩牢固拧紧。注意推杆踩下时不要调节踏板高度。装上制动开关,直到柱塞被完全压住(断开制动开关插头,松开制动开关锁紧螺纹端,其与踏板上的衬垫相接触)。然后将开关往回拧3/4圈,使得螺纹端与衬垫之间产生0.9mm的间隙,再拧紧锁紧螺母,接上制动开关插头,并在松开制动踏板后确认制动灯熄灭。调整踏板高度时,注意推杆踩下时不要调节踏板高度。

图3-27 制动踏板高度的调整
2.制动踏板自由行程的检查与调整
将发动机熄火,踩制动踏板数次,直到真空助力器不存在真空为止。再踩下制动踏板,直到感到有点阻力为止,测量踏板自由行程,其踏板自由行程的标准值为1~5mm。调整踏板自由行程时,如果自由行程不符合标准值,可通过调节制动开关来改变其自由行程,如图3-28所示,使其符合规定值。若踏板自由行程过小,则易引起制动阻滞;若自由行程过大,则制动作用时间延长,制动距离增加,制动性能变差,如图3-29所示。因此,自由行程调整后,应启动发动机,踩制动踏板,证明并确保其有标准的自由行程。

图3-28 制动开关的调整
1—衬垫;2—制动开关螺纹端;3—锁紧螺母(10N·m)

图3-29 自由行程的检查与调整
1—限位螺钉;2—自由行程
3.注意事项
由于地板与踏板的上表面之间有一定的距离,所以测量踏板的高度之前,一定要卷起车底板垫。制动踏板后面的地板上备有切口,以便测量;测量时一定与制动踏板软垫成90°角进行,以保证测量准确;调整之后,拧紧锁紧螺母时,将推杆固定在合适的位置,避免不正确的调整,同时慢慢地转动锁紧螺母;如果自由行程的范围不符合规格要求,请检查是否由于以下原因引起:制动开关安装位置不正确,锁紧螺母松动,制动调节器安装位置不正确,制动踏板连接处松动等。
二、制动片、制动盘的检查
各种盘式制动器的检查、拆装步骤等基本相同,但是由于类型不同,其某些细节也有所不同(如润滑脂的使用位置)。
1.拆卸
(1)用扭力扳手松开轮胎螺母,举升车辆到一定高度,拆卸轮胎。
(2)松开卡钳固定螺栓,将卡钳在枢轴上转动,用一根钢丝或类似的东西将卡钳固定在旁边。
(3)拆下制动钳、制动片,将所有拆卸下来的零件保存好以便重新安装。
(4)用真空吸尘器或制动清理剂(去油剂)彻底清理制动卡钳、制动盘及周围的零件。
2.检查
(1)使用游标卡尺在制动片的外边缘测量每个制动片的厚度,该值应该不小于1.6mm(桑塔纳为2.5mm)。制动片可能磨损不均匀,要多测几处。
(2)检查制动片是否有磨损不均匀的情况,以及是否有凹槽等缺陷。
(3)用磁力表座和百分表配合测量制动盘端面圆跳动,如图3-30所示(桑塔纳的外缘最大处圆跳动小于0.05mm)。

图3-30 测量制动盘端面圆跳动
(4)用游标卡尺测量制动盘厚度(桑塔纳LX系列为10mm,桑塔纳2 000系列为17.8mm)。
(5)检查制动油缸是否漏油,是否回位自如。
3.安装
按照拆卸的相反顺序装回制动片、制动钳等,然后放下车辆,按规定扭矩装回轮胎螺栓,有轮毂盖的装好轮毂盖。
4.注意事项
(1)拆卸完制动片,清洁时不要用刷子或压缩空气,那样会造成灰尘扩散,危害人的健康。
(2)测量制动片厚度时不要连同底板一起测量。
(3)每个制动片都要测量到。
(4)测量制动盘端面圆跳动时要测量其外边缘,同时要两面都测到。
(5)任何一个制动片超过维修极限,都要同时更换所有的制动片。
(6)如果安装了外制动片垫片,则更换制动片时,也一定要更换外制动片垫片。
(7)安装前,在下列部位涂上薄薄的一层润滑脂:活塞与内制动片接触面的终点,制动片与卡钳托架之间的接触面,外制动片与卡钳钳身之间的接触面,外制动片垫片与外制动片之间的接触面,外制动片垫片与卡钳钳身之间的接触面。制动器的类型不同,润滑脂的使用部位也不尽相同。
三、驻车制动器的检查
驻车制动器简称为“手刹车”,其主要的功用是保证汽车稳定停车,防止溜车;在紧急情况下,也可临时替代脚刹车。
在较小的坡道上拉紧手制动,在汽车仍后溜的情况下;或汽车在拉紧手制动的情况下,以二挡可以起步时,应检查、调整手制动装置。
小型车辆普遍采用手制动杆和钢索对后轮进行制动,即手制动与行车制动采用同一套制动器。随着汽车的使用,钢索会产生一定量的塑性变形,造成手制动行程过大。因此,当车轮制动器间隙调整好后,还应检查调整手制动钢索长度。安装后鼓式制动器的车辆和安装后盘式制动器的车辆,其检查与调整步骤几乎相同。
1.手制动行程的调整
由于后轮制动器间隙一般为自动调整式,因此,只有在更换手制动钢索、制动底板或制动摩擦片后,才需要检查、调整手制动装置。
调整时,在车轮下用三角木固定好汽车。旋松手制动钢索端部调整螺栓上的两个紧固螺母,直到手制动手柄棘轮行程量在4~7个齿的范围内为止。调整好的手制动应在拉杆行程的60%(如拉到底9响,只拉5响),如图3-31所示。制动后应能在20%的纵坡上可靠地停住(车头朝上和朝下两个方向都应能停住),如图3-32所示。

图3-31 拉起手制动

图3-32 手制动检查
2.捷达轿车手制动的调整
捷达轿车的后制动器是自动调整式,调整顺序如下:
(1)松开手制动杆;
(2)用力踩下制动踏板,以便让制动摩擦片紧贴在制动鼓上;
(3)将手制动杆拉过4个棘轮齿,抬起制动踏板;
(4)扭紧调整螺母(图3-33),直到两个车轮用手转不动为止;

图3-33 捷达轿车手制动的调整位置
(5)松开手制动,检查两车轮是否转动自如。
【相关拓展】
ABS系统简介
ABS系统是一种能防止车轮被抱死而导致车身失去控制的安全装置,全称防抱死刹车系统。ABS的工作原理是利用装在车辆刹车系统上的车轮转速传感器来感知刹车时车轮的运动状态。当车辆紧急制动时,车轮的转速在制动系统的作用下迅速降低,当传感器感知到车轮即将停止转动时,会发出一个指令给刹车系统,减小制动力,当车轮恢复转动后制动力又会加大,到车轮又要停转时制动力再减小,如此反复,确保车轮不被抱死,如图3-34所示。这个过程是十分迅速的,每秒钟大约发生几十次。这样既能保持足够的制动力,又能防止车轮抱死后车辆失去控制。特别是在湿滑路面上,车轮抱死会发生侧滑、打转现象,十分危险,所以ABS为行车安全提供了很大帮助。但是如果使用不当,ABS也不能保证刹车安全。

图3-34 有、无ABS系统车辆的制动比较
(1)踩制动踏板时用力不可太轻。因为装有ABS系统的刹车,当用力踩下踏板时,制动系统会有阵阵抖动,有些人还以为出了问题,往往赶紧松力。其实,ABS就像以前那种“人工点刹”,出现上述状况是ABS间歇收放制动压力的结果。在必须紧急制动的时候,应该狠踩制动板,而且是一次直接踩到底,不要放松。同时利用方向盘来控制车辆的方向——这正是ABS的优点,在刹车时还能够有良好的方向操控性。
(2)不要把ABS当作安全“保护神”。即使有ABS的汽车,在急转弯、快速变道及其他急打方向盘的时候,也不能保证刹车的绝对安全。所以不要过于迷信ABS的作用,不要做一些“危险动作”。
(3)驾驶时不要反复踩制动踏板。在使用ABS时,像“人工点刹”那样反复地踩制动踏板,将会使ABS时通时断,导致制动效能减低和制动距离增加。ABS本身会以更高的速率自动增减制动力,并提供有效的方向盘可控能力。
(4)对自己的车子急刹车时的制动距离要心中有数。在行车时一定要与前车保持有效制动距离以上的距离,以保证安全。ABS只是防止车轮抱死,而不会增大车辆制动力。如果是在潮湿路面上,由于ABS能防止车辆打滑,所以装有ABS的车辆会比未装ABS的车辆的制动距离略短。但是,如果是在干燥路面上,装有ABS的车辆的制动距离反而会更长。所以,假如认识不到这个问题,在行车中就会对安全距离产生误判,一旦发生紧急情况,由于安全距离不够,就容易造成事故。
(5)ABS系统依靠精密的车轮转速传感器工作,这些部件不是安装在车厢里面,而是安装在四个车轮上。所以,平时要经常保持传感器探头及齿圈的清洁。如果有泥污、油污特别是磁铁性物质黏附在其表面,会导致传感器失效或输给计算机错误的信号,影响ABS系统的正常工作。
(6)在行车中应经常注意仪表板上的ABS指示灯的情况,如发现闪烁或长亮,说明ABS系统已脱离工作状态。此时制动系统只有常规制动功能,ABS系统已不起作用,应尽快到维修厂排除故障。
【复习延伸】
1.查阅相关资料,比较卡车、轿车、摩托车、电动自行车等的制动系统有何相同和不同之处?同是盘式刹车,前轮和后轮有何不同?
2.带有ABS的刹车系统与不带ABS的刹车系统有哪些主要区别?比较其在各种工况下的制动效果。