任务6 转向系统的检查及保养
【学习目标】
通过本任务的学习,学会检查并调整转向系统中方向盘的技术状况,转向横拉杆的检查方法及转向助力油的更换方法及注意事项等。
【工作场景】
要完成此项任务,需准备好待检查维护的车辆、举升机、两个安全支架、维修工具、直尺、足够的转向助力油及专用的抽油设备等。可在维修车间,也可在平坦坚实的路边,但一定要保证安全,在路边还需准备好千斤顶等举升设备。
【基础知识】
一、转向系统的功用
汽车在行驶过程中,根据路况驾驶员需经常改变行驶方向。汽车行驶方向的改变,是通过转向轮(一般是前轮转向,也有后轮或四轮转向)在路面上偏转一定的角度来实现的。用来控制转向轮偏转的一整套机构,称为汽车转向系统。
转向系统的功用是,按照驾驶员的意愿改变汽车的行驶方向和保持汽车稳定的直线行驶。其中,转向器是将转向盘的转动变为转向摇臂的摆动或齿条轴的直线往复运动,并对转向操纵力进行放大的机构。转向器一般固定在汽车车架或车身上,转向操纵力通过转向器后一般还会改变传动方向。
二、转向系统的类型
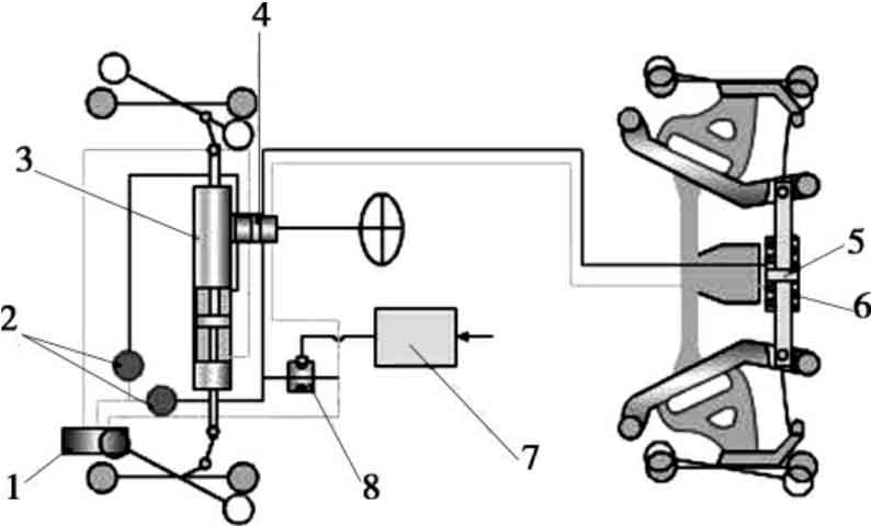
汽车转向系统按动力源不同,分为机械转向系统(图3-17)和动力转向系统(图3-18)两大类。

图3-17 机械转向系统示意图
1—转向盘;2—转向轴;3—转向万向节;4—转向传动轴;5—转向器;6—转向摇臂;7—转向直拉杆;8—转向节臂;9—左转向节;10—左转向梯形臂;11—转向横拉杆;12—右转向梯形臂;13—右转向节

图3-18 动力转向系统示意图
1—动力转向回油总管;2—动力转向液油罐总成;3—动力转向液油罐盖;4—动力转向泵皮带轮;5—动力转向泵;6—动力转向压力管总成;7—油罐到泵的油管总成;8—转向盘总成;9—综合开关操纵杆总成;10—转向柱总成;11—动力转向中间轴总成;12—转向摇臂;13—动力转向器总成;14—转向减振器;15—转向拉杆和横拉杆总成
机械转向系统以驾驶员的体力作为转向动力源,所有传力件都是机械的,主要由转向操纵机构(方向盘)、转向器和转向传动机构三大部分组成。动力转向系统除具有以上三大部分外,还有一套转向助力装置。根据辅助转向能源的不同,又可分成液压式、气压式和电动式三种动力转向系统。
【技能训练】
一、方向盘操作检查
1.初步检查
在进入驾驶室开始向工作地点驾驶车辆之前,进行转向系统的检查。坐在驾驶员坐椅上时,应上下、前后、左右摇动方向盘,检查其是否松旷。驾驶车辆时,检查转向系统有无噪音或振动,转向操作有无异常。到达工作地点停车后再检查方向盘间隙是否超出技术要求范围。
2.方向盘间隙的测量
(1)确认前轮指向正前方。
(2)在方向盘的顶端用胶带或细绳做好标记。
(3)将直尺紧贴方向盘顶端,然后测量在不使前轮移动的情况下,方向盘向左及向右转动的距离。用直尺测量方向盘外缘的移动量一般为15~20mm。以胶带或细绳作为测量参考点。
3.注意事项
(1)向左或向右转动方向盘到转向轮就要开始移动或感觉到有阻力时即停止,测量此时的移动量。
(2)在方向盘的外围测量。
(3)左转及右转间隙的测量结果有任何差异,均表明转向机构出现故障。
二、方向盘松旷的检查
如果初步检查中发现方向盘松旷或方向盘间隙超出技术要求,首先应进行齿条导块调整,其次检查转向系统的安装是否松旷,将松动部位紧固到规定的扭矩,然后再次检查松旷情况(如果初步检查没有发现方向盘松旷,而且间隙在技术规格范围之内,那么无需执行此项调整)。若仍然间隙超标,则按下列项目检查:转向柱装配螺栓及螺母是否松动;方向盘螺栓及螺母是否松动;转向万向节螺栓是否松动;横拉杆球头球笼接头移动是否顺畅,接头有无损坏;转向机装配螺栓是否松动,转向机安装衬垫有无损坏等。
三、横拉杆球头检查
1.检查步骤
车辆转向系统的横拉杆球头间隙能够减弱转向反应能力,并使方向盘产生振动。可按下列步骤检查球头间隙。
(1)将车轮指向正前方。
(2)将车辆举起。
(3)双手握住车轮,尽力左右摇动车轮。如有移动,表明球头出现间隙。
(4)观察横拉杆末端的橡胶防尘套有无破裂及损坏,润滑脂有无泄漏等。
2.注意事项
(1)如果球头变脏,用抹布擦拭干净以便确切检查防尘套的状况,并且防尘套的四周都要检查到。
(2)泄漏的润滑脂会因污物而变黑。擦拭防尘套,检查抹布上的污物是否是润滑脂。此外还应检查污物中是否有金属颗粒。
(3)两个转向轮用同样的方式检查。
四、动力转向油的检查与更换
1.检查
动力转向油比制动液的性能更加稳定,使用寿命更长。一般只有当动力转向系统修理时或在出现严重故障(如油液被污染、含有金属颗粒等)时才进行油液的更换。
检查时可将车辆停放在坚实的水平地面上,关闭发动机。打开发动机舱盖,查看动力转向油储油罐内的液位。液位应在上下标线之间。如果液位过低,则表明系统内油液泄漏,此时必须认真检查系统。检查液位的同时,还应检查油液的状态,如果油液被严重污染,则应更换油液。
2.更换
(1)将车辆停放在坚实的水平路面上,启动车辆运行,使储液罐内的液压油达到正常的工作温度。
(2)将发动机熄火,在储油罐周围的车体及其他零部件上铺上维修用布,以防止油液迸溅。
(3)打开加油罐盖,用专用工具将储液罐内的油液全部抽出后,加入新液压油达到正常液面,盖好罐盖。
(4)运行发动机,向左、向右打方向盘到达极限位置,使液压油充分流动,达到正常液压油温度时停止发动机运行。
(5)再次打开液压油罐盖,同样将罐内液压油全部抽出,加入新液压油,盖好罐盖,继续运行发动机并向左、右打方向盘到极限位置。
(6)重复上述过程2~3次,当储液罐内的液压油颜色同新油接近时,调整液面高度至合适位置,操作完毕。
3.注意事项
(1)不同品牌的液压油不可混用。
(2)调整液位时,不可使液面高出标线上限,以免因为车辆行驶时油温升高,油液体积大大增加而从罐内溢出。
(3)加注油液要缓慢进行,以免出现气泡。因为气泡会削弱油液传输动力的有效性,同时还会使液面看上去比实际的高。
(4)系统内有空气必须排净,方法是缓慢转动方向盘向左、向右到达极限位置停留5min。
(5)如油液迸溅到其他零部件上应立即擦拭。
(6)加注完成后,牢固可靠地安装储液罐盖。
【相关拓展】
四轮转向系统
四轮转向即4WS(4wheel steering),除了传统的以前轮为转向轮外,后两轮也是转向轮,即四轮转向。
汽车的四轮转向系统在20世纪80年代中期开始发展,其主要目的是提高汽车在高速行驶或在侧向风力作用时的操作稳定性,改善在低速下的操纵轻便性,以及减小在停车场时的转弯半径。
四轮转向主要有两种工作方式:车辆中高速行驶时,后轮转向与前轮转向方向相同称为同向位转向;车辆低速行驶时,后轮转向与前轮转向方向相反称为逆向位转向。图3-19所示为同向位转向时的示意图。

图3-19 四轮转向系统示意图
1—储油罐;2—动力泵;3—前动力缸;4—分配阀;5—后动力缸;6—回位弹簧;7—控制器;8—电磁阀
四轮转向技术目前被很多公司所采用,其中大多应用在大型车辆上,也有一些SUV(运动型多用途汽车)及跑车具有四轮转向的功能。配备四轮转向之后,车辆可以减小转弯半径、提高低速行驶时的机动性及高速行驶时的操纵性和可控制能力。下面以德尔福公司的OUADRAS-TEER四轮转向系统为例进行介绍,它也是目前最为先进的四轮转向系统之一。
该系统有四个主要部件——前轮定位传感器、可转向的整体准双曲面后轴、电动机驱动的执行器和一个电控单元(ECU)。前轮定位传感器和车辆速度传感器连续不断地向ECU报告数据,ECU根据报告的数据确定后轮合适的角度。通过计算,决定正确的操作阶段。该系统有三种主要运行方式:负相、中相、正相。低速行驶时,后轮转弯方向与前轮相反,这就是负相。中速行驶时,后轮笔直而保持中相。高速行驶时,后轮处于正相,和前轮转弯方向相同。在低速行驶时,负相拖曳操纵,尾部跟随车辆的真实轨迹,比两轮转向更紧密。这使得在城市交通中的驾驶更容易。低速行驶时,如倒车上船板或野营带拖车停车时,OUADRASTEER将使操纵更容易,负相极大地改进拖车对转向动作的反应,更容易使车辆就位。OUADRASTEER提高了车辆的高速行驶平稳性。高速行驶时后轮和前轮的转向相同,有助于减少车辆侧滑或扭摆,对平衡车辆在超车、变道或躲避不平路面时的反应均有帮助。此外,OUADRASTEER和四轮驱动系统也可以完全兼容,并能提高四轮驱动系统的性能,根据制造厂商的要求,既能由驾驶员选择,又能实现全自动化。例如,使用选择界面,驾驶员就能调节不同驾驶条件下后轮转向的性能。选择模式包括一般驾驶、拖车拖运和两轮转向。如果四轮转向系统损坏的话,OUADRASTEER系统还可控制,使其回到正常两轮转向模式。
当按动按钮选定四轮转向(4WS或4WS挂车)模式时,OUADRASTEER系统处于激活状态。OUADRASTEER系统配备了两个传感器,其中一个传感器安装在转向柱上,用于检测转向盘的转向角度,另一个传感器安装在变速器上,用于提供车速信号。来自这两个传感器的信号都能及时传递至ECU。事实上,ECU是一个包含两个具有10MHz运行速度及128K内存的微处理器的集成单元。每只微处理器根据转向及车速传感器的输入信息进行独立运算,并同时启动系统自检功能以确定系统自身功能是否正常。然后,ECU通过比较两个微处理器的计算数据来确定转向是否正在正确执行。如果一切正常,那么ECU将启动后轴转向驱动电动机。在此过程中,微处理器以0.004秒/次的频率持续不断地反复进行转向角度的计算和转向系统故障自检。
一旦四轮转向系统出现异常或传感器出现错误,后轴转向执行电动机立即自动驱动后轴回正,同时,系统由4WS切换进入2WS(传统的2前轮转向)的安全转向模式。即便在转向过程中ECU出现灾难性故障,后轴转向齿条机构内部的回位弹簧也能够使后轴慢慢回复中立位置,并同时使后轮转向电机关闭以阻塞后轮的转向动作。
【复习延伸】
1.哪些类型的车辆采用四轮转向?哪些类型的车辆采用后轮转向?
2.更换转向助力油时,没有专用的抽油设备怎么办?