2.3 大跨度建筑设计方法与要点
奈尔维在《建筑的艺术与技术》一书中曾经说过:“建筑是,而且必须是一个技术与艺术的综合体,而并非是技术加艺术。”
大跨度建筑规模大、规格高,尤其是大跨度的公共建筑更是人们关注的焦点。这类建筑的可靠性是第一位的,同时其外部形象的要求也十分突出。在把握大跨度建筑的设计时,既要了解相应的结构常识,又必须具有创造性的思维,做到结构和形式和谐统一是建筑师和结构工程师共同努力的方向。
2.3.1 设计方法
大跨度建筑设计同其他类型的建筑设计一样,有多种构思方法,建筑师可以有多种设计理念,但由于这类建筑突出的设计重点和难点,往往令建筑师们采用殊途同归的几种设计方法来完成大跨度建筑的设计。
2.3.1.1 从平面到空间
大跨度建筑除了大跨度的主体空间之外,也有许多其他大大小小的空间,各种空间通过流线和序列的安排,组织在一起即完成了一个设计由二维到三维的过程。从平面到空间,是许多建筑类型都经常采用的设计方法,大跨度建筑也不例外。
每座建筑都有若干相互关联的空间组成,各个次要空间与主体之间的联系成为多条流线或序列,这些流线存在汇集、交叉、并列、嵌套等多种可能。理顺这些流线,确立空间的相互关联,就形成了一个完备的功能平面。
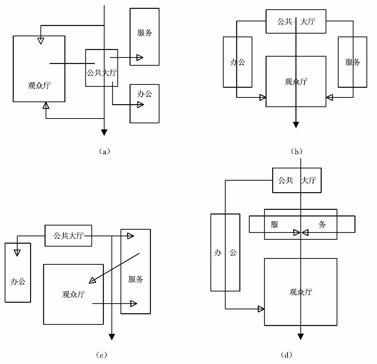
以电影院为例说明平面流线与空间的关系。电影院一般有共享大厅或门厅、观众厅(大跨度主体)、休憩服务空间、办公管理空间四个主要的功能区。(如图2.41、图2.42所示)

图2.41 电影院的功能分区
空间主体一旦在平面中确立下来,就进入三维设计阶段。强化大跨度主体空间的造型,将其他次要空间在形态上作协调或对立处理是常用的手段。(如图2.43(a)、(b)所示)
2.3.1.2 把握结构逻辑
大跨度建筑的重点是主体空间的设计,难点是大跨度的空间结构设计与建筑形态的有机结合,建筑师在构思之初,应将设计的难点和重点作为突破口,这是行之有效的设计方法。造型是由结构作为支撑的,同时结构反映建筑的经济合理性。以怎样的结构主宰大跨度建筑,既要符合建筑与建筑师对空间的要求,又能体现建筑的结构美、可实施性强,是设计考虑的核心问题。
这就要求建筑师对可能采用的建筑结构有一定深度的了解,能够明晰各种结构体系的受力关系及其可能造就的建筑形态。只有把握结构的逻辑,才能在方案比较中得到优化。许多优秀的大跨度建筑就是充分地运用结构设计逻辑,使建筑的每一个部分都成为结构体系中不可或缺的组分,并能借助这些元素体现建筑的整体美。

图2.42 电影院功能区流线关系
(a)汇集;(b)并列;(c)交叉;(d)嵌套

图2.43(a) 对立

图2.43(b) 协调
奈尔维设计的佛罗伦萨市体育场(如图2.44(a)、(b)所示)带雨棚的大看台,是一座充分发挥了材料结构性能的建筑。从剖面图中可以清晰地看到建筑的造型与受力完美结合,使大看台不仅功能实用,而且造型大气、稳重质朴。

图2.44(a) 佛罗伦萨市体育场看台
杜勒斯机场候机楼(如图2.45(a)、(b)所示)位于华盛顿郊区,建于1958—1962年,设计师是小沙里宁。作为悬索结构的著名实例,这座建筑物宽为150英尺(约合45.6米),长为600英尺(约合182.5米),分为上下两层。大厅屋顶为每隔10英尺(约合3米)有一对直径为1英寸(约合2.5厘米)的钢索悬挂在前后两排柱顶上,悬索顶部再铺设预制钢筋混凝土板,建筑造型轻盈明快,整体造型与其结构的受力关系十分吻合,充分展示了建筑是把握结构逻辑的能力与创意。

图2.44(b) 佛罗伦萨市体育场看台剖面

图2.45(a) 杜勒斯机场候机楼

图2.45(b) 杜勒斯机场候机楼剖面简图和透视
2.3.1.3 考虑环境关联
大跨度建筑一般作为大型公共建筑,对周边环境的影响作用很突出。区别于一般建筑物的独特形象,使大跨度建筑在相应的环境中成为焦点。同时,其特立独行的一面,又会使其与周边的环境融合度不高,这是在设计中不可规避的矛盾。
怎样使大跨度建筑既不丧失其自身的个性,同时又能够与周边的环境和谐共生,是建筑师在设计之初构思的重要出发点之一。在考虑与环境的关联时,通常要考虑建筑体量的形态、尺度,要考虑周围环境的主要特征,要考虑建筑材质与周边环境或建筑的协调或呼应,要考虑与所在地地形和地势的协调等等。
有许多优秀的实例,恰恰是针对如上所述的一点或两点展开构思,从而取得了与环境相融合的效果。

图2.46(a) 利勒哈默尔奥林匹克岩洞冰球馆
利勒哈默尔奥林匹克岩洞冰球馆(如图2.46(a)、(b)所示)将建筑体量采用消隐的手法,极大地尊重了当地的自然和人文环境,将大体量的空间隐藏在一座小型山体里,避免了对当地城镇小体量建筑风貌的消极影响,并避免了对自然环境植被的破坏。

图2.46(b) 利勒哈默尔奥林匹克岩洞冰球馆平面
广州体育馆(如图2.47(a)、(b)、(c)所示)周边环境的主要特征是连绵起伏的山体,在山体的背景下,体育馆的三个主要建筑体量呈现流畅的曲线起伏形态,既与山体存在形象的关联,又通过明亮的金属材质呈现适度的对比。
卢浮宫(如图2.48(a)、(b)、(c)、(d)所示)扩建工程巨大的玻璃金字塔已经成为经典的建筑范例。卢浮宫固有的传统形象和精致的细部,现代建筑很难达到同样的艺术高度,贝聿铭通过通透的玻璃材质的应用,使历史建筑的风采最小程度地被影响,同时单纯的几何形体与卢浮宫丰富的细部形成对比,使两座建筑分别保留了各自时代的特征并形成有趣的和谐。

图2.47(a) 广州体育馆

图2.47(b) 广州体育馆夜景

图2.47(c) 广州体育馆平剖面

图2.48(a) 卢浮宫平面

图2.48(b) 卢浮宫立面

图2.48(c) 卢浮宫玻璃金字塔外观

图2.48(d) 卢浮宫玻璃金字塔内部空间
2.3.1.4 善用建筑语言
建筑语言丰富多彩,大跨度建筑作为个性突出的载体恰好可以充分体现建筑语言的特色。一种或几种建筑语言的应用,作为构思的出发点,为大跨度建筑的形态树立了方向。对于大尺度形体的建筑而言,如何塑造令人过目不忘的形象是十分必要的。比如,通过将一系列的结构构件呈现韵律感,或是通过材质的反差强化对比,或是将整个建筑形体以象征或隐喻的方式让人们产生联想等,许多建筑语言都可以提升大跨度建筑的视觉形象。因此,通过灵活地掌握并应用建筑语言,也是大跨度建筑设计的一种重要方法。
结合实例的设计方法解析,详见本章第四节。
2.3.2 设计要点
1.明确空间需求
如今大跨度建筑涉及的范围十分广泛,会展中心、剧场与音乐厅、体育场馆、工厂的仓库和厂房、火车站和航空港等,不同的建筑有不同的空间需求,出现或大、或小、或高、或低、或规整、或自由等许多差别。正是这些空间的差别,成就了建筑师的创意,因此明确空间的需求是做好设计的必备条件。
具体到大跨度建筑中,空间的需求大致有如下几个方向需要明确,我们借体育馆建筑加以说明:第一,空间大小的差别,比如体育馆中比重最大的空间是比赛馆和观众看台部分,它和其他辅助部分的面积比例将影响体育馆的尺度和造型;第二,空间规则的程度,比如体育馆比赛馆需要空间规整,而观众看台下方存在一些不规则的空间需要加以利用,而有一些辅助空间如卫生间、休息室和小卖部,平面布置相对自由和灵活;第三,流线的前后次序,比如体育馆建筑中,运动员的休息室和更衣室位于比赛厅的流线前端,这将影响大小空间安排的位置关系,进而影响整体建筑的使用;第四,空间的开放程度,比如体育馆中有对观众开放的部分,也有为运动员服务的部分,两部分空间的开放程度不同,这就影响到二者在平面中的位置关系,同时这些空间对自然采光和通风的需求也就相应地发生变化。
2.把握设计原则
我国当前的建筑设计原则是适用、经济、美观,大跨度建筑作为投资和效益相对较大的建筑类型,把握设计原则十分必要,但可以在实际情况下对某一或两个原则有所侧重。
3.比较结构方案
大跨度建筑非常重要的设计环节是结构方案的确立,但在达成同样的空间效果的情况下,可能会出现多种结构解决方案,这就需要建筑师和结构工程师密切协作,比较结构方案,作出有利于建筑形体表现、提供足够的结构可靠性和满足实际的经济效益等多因素综合后的最佳选择。
4.分析优化结构
在选定结构方案后,建筑师和结构工程师还存在一个进一步深化方案、磨合细部的过程。分析优化结构是其中重要的一环,这里需要考虑的内容很多,包括结构材料的比较和确定、服务于施工的节点细化设计、外露结构细部的艺术化处理或变形,以及与建筑结合部分特殊的构造处理,如天窗及其排水的结构作法等。经过分析和优化后的结构,将与建筑的设计结合得更紧密,并且建筑与结构之间互相促进和提升,共同塑造出精湛的大跨度建筑杰作。