1.1 轻钢结构建筑
1.1.1 概述
1.1.1.1 概念
轻钢结构建筑是指承受相对较轻的外载、构件截面相对较小、结构自重相对较轻的全钢结构建筑,是钢结构的一个重要分支。轻钢结构建筑是以经济断面型材,包括冷弯型钢、焊接或轧制H型钢、T型钢、焊接或无缝钢管等,作为其承重骨架构件,采用压型钢(铝)板、夹心保温板、PC板等轻型材料作为其围护结构并辅以相配套的保温隔热材料、密封嵌缝材料、各种连接件、零配件等构成建筑物的整体。
这种建筑形式最早起源于美国,它的英文名称为Pre-Engineered Metal Building,即工厂预制式金属建筑。这种建筑结构形式的关键之处,即工厂预制、现场拼装。
轻钢结构建筑的“轻型”概念形成与以下三点有关。
(1)轻钢结构的自重轻。
(2)轻钢结构所用的围护结构轻。
(3)轻钢结构外观十分轻巧,给人的感觉轻。
1.1.1.2 成因及发展背景
轻型钢结构建筑是以轻型高效钢材和轻质高效围护材料组装而成的全装配低层和多层钢结构建筑,属于环保绿色建筑体系。轻型、快速、高效赋予了轻型钢结构建筑体系极强的生命力,使其成为继大跨钢结构建筑和高层钢结构建筑之后在我国发展最迅速的新型钢结构建筑体系。
国外轻型钢结构发展较早,最初用于建造私人汽车库等简易房屋。第二次世界大战时期,由于战争的需要,一些拆装方便的轻型钢结构建筑用于营房和库房。1960年代以来,国外建筑钢材的发展有了很大突破,色彩丰富而耐久的彩色压型钢板的出现以及H型钢和冷弯型钢的问世,极大地推动了轻型钢结构的发展。目前,欧美各国由轻塑钢结构体系建造的非居住单层建筑物占50%以上,日本新建的1—4层建筑大多采用轻型钢结构。瑞典是当今世界上最大的轻型钢结构住宅制造国,许多欧洲国家都到瑞典去定制住宅,通过集装箱发运。外国轻钢公司大都有自己的轻型钢结构系列,各公司的轻型钢结构系列大同小异。
1.1.1.3 历程和现状
最早的轻钢结构建筑出现在1909年(如图1.1所示),是由16号压型薄板弯折成的拱形汽车库,20世纪初是美国汽车开始步入家庭的时候,但当时的住宅设计尚没能跟上这个时代潮流,即未考虑住宅停车的要求,所以这种由薄钢板轧制成型的简易车库就应运而生了。这个临建棚一样的东西看起来很不起眼,但是它意味着一个轻钢结构建筑概念的产生,将房屋构件由工厂制作完成,运至现场拼装成整体房屋。
轻钢结构建筑在二战后的美国得到飞速的发展,这得益于美国钢产量高,而且也和二战后移民至美国的几个现代建筑大师的现代建筑理论的积极推动有关。如现代建筑大师格罗皮乌斯在他的论文中描述过:“在一个逐渐发展的过程中,旧的手工建造房屋的过程正在转变为把工厂制造的工业化的建筑部件运到工地加以装配的过程。”他所阐述的建筑业的发展趋势,恰恰是将轻钢结构建筑推向历史舞台的过程。移民到美国后,建筑大师密斯用伊利诺工学院这座典型的轻钢结构建筑诠释了具有结构美和时代美的轻钢建筑特征。柯布西耶说:“房屋机器就是大规模生产的房屋。”这是对快速、高效的建筑的呼唤,这些理论无一例外成为现代建筑中轻钢结构建筑发展的催化剂。

图1.1 1909年美国的轻钢车库(可放一辆福特T型车)
近年来,随着我国综合国力的提升,人民物质生活水平提高,钢材已经从原来较为昂贵的建材变成了经济适用的建筑材料。自1999年以来,我国钢产量已连续多年世界排名第一,这是轻钢结构建筑得以大量实践的根本保障。同时,我国加强了对这一领域标准和规范的制定,《门式刚架轻型房屋钢结构技术规程》(CECS102: 2002)、《轻钢结构设计规程》(DBJ08-68-97)的出台,为轻钢结构建筑的推广和实施提供了有力的支持。轻钢结构建筑的设计依托的技术条件也得到长足发展,相应软件不断更新和完善。国家1997年发布的《中国建筑技术政策》(1996—2010),强调加速推广定型化的轻型房屋钢结构体系。提出“积极、合理、较快速地发展钢结构”,鼓励在建筑工程领域合理使用钢材,将轻钢住宅建筑作为近期着重研究和推广应用的项目,这必将进一步推动我国轻钢结构建筑的发展。
1.1.2 轻钢结构建筑的结构分类与特点
1.1.2.1 结构分类
按照建筑高度分,轻钢结构建筑分为低层轻钢建筑和多层轻钢建筑。
低层轻钢建筑,指两层以下(含两层)的轻钢房屋建筑,主要采用实腹式或格构式门式平面刚架结构体系。
多层轻钢建筑一般可定义为10层以下的住宅;总高度小于24米的公共建筑;或20米以下,楼面荷载小于8千牛/米2的工业厂房。
轻钢结构体系的型式有多种:钢框架体系、钢支撑框架体系、钢框架-混凝土剪力墙体系、交错桁架体系、巨型结构加子结构体系等。在单层和多层轻钢结构建筑的结构体系中,以门式刚架和多层框架结构体系最为常见。
门式刚架结构是梁、柱单元构件的组合体,是柱和直线形、弧形或折线形横梁刚性连接的承重骨架的结构体系(如图1.2所示)。在工业与民用建筑轻钢结构中,常采用单跨、双跨或多跨,双坡或单坡的单层门式刚架,并可根据通风、采光的需要设置天窗、通风屋脊和采光带等。

图1.2 门式钢架简图
(a)单跨双坡;(b)双跨双坡;(c)双跨单坡;(d)、(e)多跨双坡
多层轻钢建筑多采用三维框架结构体系,即框架结构体系。框架结构体系构造简单,建造速度快,管线安装方便,装修快捷,有利于配套开发,材料可回收重复使用,有利于环境保护。框架结构平面布置灵活,各部分刚度比较均匀,其自振周期较长,自重较轻,对地震作用不敏感,抗震性能好。但其侧向刚度小,侧向位移难以控制。对于一些设有电梯的多层房屋,为增强侧向刚度,结合其电梯井的布置,还可以采取框架-抗剪桁架结构体系或框架-剪力墙(通常为钢板剪力墙)结构体系。
随着国民经济的发展和钢产量的提高,轻型钢结构住宅的发展受到前所未有的关注和重视。发展经济、实用、美观的轻型钢结构住宅,对带动建材、冶金、化工和机械等相关产业的发展,提高建筑业的技术水平和人民的居住功能水准,实现住宅的产业化、标准化,促进城市建设的发展有着重要的意义。
交错桁架结构体系是一种经济、实用、高效的新型结构体系,发展这种结构体符合我国轻型钢结构住宅建设的发展方向。特别适用于住宅、旅馆、办公等公共建筑,综合造价比传统的纯钢结构和混凝土结构都低。交错桁架结构体系的特点是其基本结构组成是柱子、平面桁架和楼面板(如图1.3所示)。交错桁架体系的骨架由房屋外侧的柱子和跨度等于房屋宽度的桁架组成。柱子布置在房屋的外围,中间无柱。桁架的高度与层高相同,长度与房屋宽度相同。桁架两端支撑于外围柱子上,桁架在相邻柱子上为上、下层交错布置,楼面板一端搁置在桁架的上弦,另一端则搁置在相邻桁架的下弦。桁架或支撑均包在分户墙中,在顶层,无法使桁架交错排列,可采用立柱支撑楼面;在底层,若想获得无柱空间,可在二层设吊杆固定楼面。交错桁架结构是一种环保型绿色建筑,可工厂制作,现场安装,现场湿作业少,有利于净化施工现场,避免粉尘污染,减少施工噪声;与混凝土结构和普通钢结构相比较,施工速度快,工期短,综合经济效益好。

图1.3 交错桁架结构体系
1.1.2.2 轻钢结构特点
与传统的钢筋混凝土结构、普通钢结构相比,轻型钢结构建筑具有很多优越性,如高强高韧性、抗震、轻质,从而减轻地基的造价,成本低,可满足建筑上的大开间和灵活分隔,提高使用面积率,不消耗木材,可工厂化预制、可拼装、可拆卸,有建筑工期短、投资回收快、环境污染少等综合优势。
(1)轻质节材。重量轻是轻钢结构建筑最大的优点。其承重结构采用的型钢的截面形状可以按照实际受力情况和使用特点进行设计,比普通的工字钢、槽钢、角钢截面受力更合理,截面利用系数高,单位重量轻,可节省钢材20%~50%。屋面、墙面围护结构如果采用彩色压型钢板,每平方米也仅8~15千克,接近在相同条件下钢筋混凝土结构的用钢量,将结构自重减轻为普通钢结构的70%~80%。节约钢材的同时也节约大量木材、水泥及其他建筑材料,而且大大降低了基础工程的材料用量和工作量。
(2)安装便捷。材料的工业化大生产以及重量轻等决定了供货周期短这一优点。由于采用螺栓、自攻螺丝等连接,现场焊接工作量小,无湿作业,不需支模,无需养护期,冬季工期不受影响。工期比混凝土结构大大缩短。
(3)抗震性好。轻钢结构属于柔性结构且自重轻,因而能有效地降低地震响应及灾害影响程度,利于抗震。墙体龙骨在封闭完结构板材和石膏板后形成非常坚固的板肋结构体系,从而提供了更强的抗震及抵抗水平荷载能力。一般情况下,轻钢建筑可以抵御8级强震。
(4)空间灵活。内部空间比一般的结构更容易分隔,从而可以方便地进行扩建和改建,可灵活布设各种工业管线。
(5)经济适用。由于轻钢结构的构件都是采用工业化的大批量生产,所以其质量容易控制。采用这样的建筑结构体系要比混凝土结构造价低,并且具有越来越广泛的适用性。
(6)造型美观。结构承重部件轻巧,并且可根据设计调整,建筑的造型更加灵活多变,轻盈美观。
(7)节能环保。轻钢结构建筑材料可循环利用,符合可持续发展的战略。轻钢结构亦可搬迁复用,有利于环境保护、节约资源。
1.1.3 轻钢结构建筑材料及发展
1.1.3.1 结构材料
1.H型钢
H型钢是轻钢结构建筑中最常用的型材之一。常用的工字钢翼缘宽度较窄,而H型钢其截面积的分配更合理、更优化。它不仅比常用的工字钢节省劳力、降低成本,而且还降低了用钢量。其特点如下。
(1)翼缘宽,侧向刚度大,抗弯能力强。
(2)翼缘宽且两面互相平行,便于机械加工和安装,使钢结构的连接简单易行。
(3)可加工再生型材,它可较方便地经再加工制成部分T型钢及蜂窝梁等再生型材。
H型钢可分为宽翼缘型(HW系列)、中翼缘型(HM系列)、窄翼缘型(HN系列)与钢桩专用型(HP系列)四个系列。HW、HM型适用于钢柱等受压构件,HN型适用于钢梁等受弯构件。
H型钢中的高频焊接H型钢,即轻型H型钢,是轻钢结构的优选截面形式,它除了具有其他类型H型钢具有的优点之外,还兼有薄壁钢结构在相同重量下抗弯和抗压承载能力比普通钢结构大很多的特点,即在结构性能相近的条件下,比热轧H型钢节约钢材15%~30%。
2.冷弯薄壁型钢
冷弯薄壁型钢具有良好的截面特性,壁厚1.5~5毫米,一般采用2.0~3.0毫米,它的截面形状合理且多样化,与热轧型钢相比,在相同截面面积的情况下,薄壁型钢的回转半径可增大50%~60%,截面惯性矩和抵抗矩可增大0.5~3.0倍,因此能较合理地利用材料的强度,鉴于它具有自重轻、节省钢材、制造和安装方便等优点,在轻钢结构中应用十分广泛。
冷弯薄壁型钢可用作檩条,一般有卷边C型及卷边Z型冷弯薄壁型钢两种。
卷边Z型在主平面X轴的刚度大,挠度小,用钢量省,制造和安装方便,在现场可叠层堆放,占地小,是目前较合理和普遍采用的一种形式。
卷边C型适用于屋架,中小跨度的此类三角形屋架用钢量一般为3~7千克/米2,若含檩条和支撑为9~12千克/米2,比普通的钢屋架节约30%左右,此外,它的杆件在节点处采用顶接焊接,不需节点板,故比一般钢结构优越。它自重轻,杆件刚度大,在运输与安装方面也较方便。
1.1.3.2 围护材料
1.屋面材料
轻型钢结构屋面材料,宜采用具有轻质、高强、耐久、耐火、保温、隔热、隔声、抗震及防水等性能的建筑材料,同时要求构造简单,施工方便,并能工业化生产,如压型钢板、太空板(由水泥发泡心材及水泥面层组成的轻板)、石棉水泥瓦和瓦楞铁等。目前在国内外普遍使用的是金属压型板、金属压型复合保温板及夹心板。
1)金属压型板
金属压型板是目前轻型屋面有檩体系中应用最广泛的屋面材料,采用热镀层钢板、彩色镀层钢板,经辊压冷弯成各种波型,具有轻质、高强、美观、耐用、施工简便、抗震、防火等特点。单层板的自重为0.05~0.10千牛/米2,而钢筋混凝土结构则为2.50~3.00千牛/米2,砖墙约为4.00千牛/米2,它的自重是传统结构的1/20~1/30。当有保温隔热要求时,可采用双层钢板中间夹保温层(超细离心玻璃纤维棉或岩棉等)的做法。屋面全部自重一般不超过0.20千牛/米2(含檩条)。
2)太空板
太空板是采用高强水泥发泡工艺制备的人工轻石为心材,以玻璃纤维网(或纤维束)增强的上下水泥面层及钢边肋(或混凝土边肋)复合而成的新型轻质屋面板材,具有刚度好、强度高、延性好等特点,有良好的结构性能和工程应用前途。其自重为0.45~0.85千牛/米2,屋面全部荷载标准值(包括活荷载)一般不超过1.5千牛/米2。
太空板常用尺寸为3米×3米、1.5米×6米、3米×6米等。
3)加气混凝土屋面板
加气混凝土屋面板自重0.007 5~0.01千牛/米2,是一种承重、保温和构造合一的轻质多孔板材,以水泥(或粉煤灰)、矿渣、砂和铝粉为原料,经磨细、配料、浇注、切割并蒸压养护而成,具有质量轻、保温效能好、吸声好等优点。因系机械化生产,板的尺寸准确,表面平整,一般可直接在板上铺设卷材防水,施工方便。
2.墙面材料
轻钢结构建筑常采用的墙面围护材料分类如下。
(1)根据在建筑物中所处的位置不同,墙可分为外墙和内墙两大部分。
外墙作为建筑外围护构造,起着挡风、阻雨、保温、隔热等作用。外墙一般采用轻混凝土板、太空板、水泥刨花板、金属压型板、夹心板等。
内墙可以分隔室内空间,同时也起一定的隔声、防火等作用。内墙一般采用轻混凝土板、石膏板、水泥刨花板、稻草板等。
(2)根据受力特点,墙可分为非自承重式轻型墙体和自承重式轻型墙体两大类。
非自承重式轻型墙体,如压型金属板加轻型保温隔层墙体、压型金属板夹心板墙、玻璃纤维增强水泥外墙板以及玻璃幕墙等。
自承重式轻型墙体,主要是各类轻质填充材料如空心砌块、加气混凝土块、预制预应力混凝土多孔板、长尺压型钢板、钢网塑料墙板、轻钢龙骨加面板墙体,有时玻璃幕墙也可做成半自承重式。底层墙体亦可采用普通的黏土砖砌体。
3.常用板材
目前,国内作为墙面围护结构的轻质板材的种类较多,如彩涂金属压型板、彩涂金属压型板夹心板、钢丝网架水泥夹心板、稻草板、PC板、蒸压轻质混凝土板(ALC)、轻质石膏板、轻型格构板、伊通板(YTONG)、纸面草板、PVC挂板等。
1)彩涂金属压型板夹心板墙板
根据夹心材料的不同,常见的彩涂金属压型板夹心板有聚氨酯夹心板、聚苯乙烯夹心板、岩棉夹心板、玻璃棉夹心板墙板等。
(1)聚氨酯夹心板墙板(如图1.4所示)。
聚氨酯夹心板墙板是近几年出现的一种新型墙体装饰材料。它是一种上、下表面为彩色金属板,中间夹聚氨酯保温材料,在工厂压制成型的建筑板材。它集保温、隔热、装饰、防水于一体,并以自重轻、保温隔热性能好、施工速度快等特点,逐渐被应用于工业厂房、机库、大型公共场馆等建筑中。
聚氨酯夹心板墙板按保温材料的厚度分为30毫米、40毫米、50毫米、60毫米、80毫米、100毫米、120毫米几种规格。考虑到彩色钢板表面容易划伤,该产品在生产过程中,内外两面均贴了塑料保护膜,以避免运输和施工中对彩板漆面的划伤,保护膜可待整个工程竣工时撕去。

图1.4 聚氨酯夹心板的横截面
板在加工成型中,侧面设置了通长的密封条,使得板连接处没有缝隙,确保墙面的保温隔热性能,由于50毫米厚的板材作墙面相当于370毫米厚的砖墙,根据工程的实践经验,在南方地区,聚氨酯夹心板厚度通常选用30毫米、40毫米;在北方区,聚氨酯夹心板厚度通常用40毫米、50毫米、60毫米几种。
(2)岩棉夹心板墙板(如图1.5所示)。

图1.5 岩棉夹心板墙板
(3)聚苯乙烯夹心板墙板(如图1.6所示)。
聚苯乙烯夹心板墙板按连接方式可分为拼接式、插接式和隐藏式。
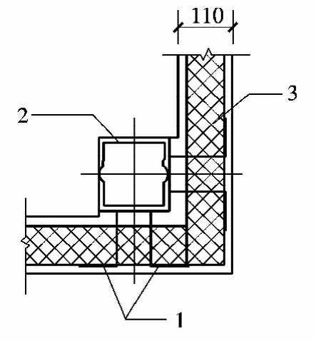
2)钢丝网架水泥夹心板
钢丝网架水泥夹心板(图1.7(a)、(b)所示)是由三维空间焊接钢丝网架和内填阻燃型聚乙烯泡沫塑料板条或岩棉条构成的网架心板,在钢丝网架心板两侧铺抹或喷涂25毫米水泥砂浆后形成的完整板材,称为钢丝网架水泥轻质夹心板。板厚约110毫米,自重1.078千牛/米2,约为240毫米砖墙的1/5,板的两侧外层承受拉力或压力,纵向钢丝桁架承受横向力,中间的轻质材料减轻自重且提高保温性。这种复合板材能有效地利用各层材料,并具有轻质、保温、隔热、防水、防火、隔声、抗震等特点,适用于加层结构的非承重隔墙、框架围护外墙等墙体及屋面等。
3)稻草板
稻草板是以天然稻草或麦草为原料,不添加黏结剂,不需切割粉碎,直接在成型机内经加热挤压成型,并在表面粘贴一层“护面纸”而制成的一种新型绿色建材。它主要可用于建筑物的内隔墙、外墙内衬、吊顶、望板和屋面板等。
稻草板的产品规格一般有两种:一种为厚35毫米板,主要用于吊顶;另一种为厚58毫米板,用于墙板。板的宽度为1 200毫米,长度任意,通常为900~4 100毫米。

图1.6 聚苯乙烯夹心板墙板

图1.7(a) 钢丝网架水泥轻质夹心板
1—钢丝;2—矩形;3—轻质心条; 4—水泥砂浆;5—钢丝网架

图1.7(b) 钢丝网架水泥
1—连接钢筋;2—钢角柱; 3—钢丝网架水泥夹心板
稻草板具有轻质、强度好、抗冲击能力强、保温、隔热、隔音等优点,并且具有抗燃烧能力,是一种标准的绿色建材。
1.1.4 轻钢结构建筑与设计方法
1.1.4.1 轻钢结构建筑的应用范围和主要类型
(1)单层工业建筑,如厂房、仓库等。建成后的建筑结构轻巧、宽敞明亮、造型美观大方。
(2)商业建筑,如超级市场、贸易中心、农贸综合市场以及各种名义的商业城,要求建筑物跨度大,视野开阔。这类建筑采用轻钢结构,具有建设快、改建或转向容易、造价低和适应性强等特点。
(3)文体设施,如展厅、音乐厅、演艺厅、体育馆等。
(4)多层建筑。多层建筑通常体形复杂、不规则,活荷载大,并伴有动力荷载,分布不均匀,层高变化大,楼板开洞率高。这些都给建筑结构带来一定难度。采用轻型钢结构,则充分体现“轻”这一特点,抗震性能好,结构设计可以量体裁衣,空间变通也较为自由。
(5)成品住宅。在住宅建设中采用钢结构承重,使住宅建设用材更加多样化。钢结构承重构件更适于系列化、标准化和工厂规模生产,产品成本低,建设周期短,更能满足节能、节地、节材,提高住宅功能质量,优化居住环境的要求,是住宅建设工业化水平提高的大势所趋。
(6)改建建筑,即对旧有建筑的翻修改造或加层。随着经济的发展,旧建筑的翻修与改造业务将不断增加,如轻质隔墙和高级装修的内外墙面,在原有建筑物上加层等,都离不开轻型钢结构。
1.1.4.2 轻钢结构建筑的设计要点
轻钢结构建筑低层数、大跨度的特点,已广泛应用于单层工业厂房、仓库、飞机检修库、仓储式超市和体育馆等类型的建筑上。
轻钢结构建筑空间灵活、外形丰富的特点,已成功地实现在展厅、公共服务建筑和住宅中。
轻钢建筑设计原则,就是不能照搬传统混凝土建筑的设计模式,要充分地考量轻钢结构自身的结构和材料特点,因材施用。设计时应注意以下几点。
(1)针对轻钢结构工业化的特点,要求建筑师充分理解钢结构制造的加工工艺和材料规格,如轻钢结构采用螺栓连接,需采用预打孔工艺,这就有模数的要求,墙面板的宽度一般均为定数,这就要求建筑师能充分了解其特性以达到建筑的完美。
(2)对于外观具有标识性的公共建筑,如展厅、售楼部、商店等,建筑师宜采用综合运用的手法,在建筑需要有较多变化的地方,可以采用轻钢与混凝土相配合的方案,这样即利用了钢结构的大空间,又利用了混凝土塑形能力强的特点,达到相得益彰的目的。
(3)对于功能以实用为主的厂房、仓库等工业建筑,设计时主要是满足其工艺要求,建筑立面应力求简洁大方。
1.1.4.3 轻钢结构建筑的设计语言
轻钢结构建筑的设计语言集中在规模、线条、色彩和变化。
(1)规模及建筑规模或尺度。大跨度轻钢结构建筑,具有恢弘的气势,强化了建筑举重若轻的效果。
(2)线条。金属压型钢板上的线条可以表现轻钢结构建筑的独特风格、韵律和金属质感。轻钢结构建筑可以大量使用屋面采光板采光,减少墙面开窗的数量,保证建筑既采光又不破坏墙板线条。
(3)色彩。色彩的表现包括两个部分:一部分是屋面、墙面板的色彩表现;另一部分是收边、泛水等饰件的色彩表现。
(4)变化。轻钢结构建筑结构灵活,材料丰富,细部更有诸多设计元素,变化从整体到局部均能体现。
以下结合实例分析轻钢结构建筑。
1.上海世博会阿联酋馆
建筑设计:Foster与Partner
结构设计:Halvorson和Partners
联合设计单位:华东建筑设计研究院有限公司
建成时间:2010年
上海世博会阿联酋馆的设计理念来自7个联合酋长国共同的自然特征——沙丘(如图1.8(a)所示),用地域自然环境中具有风貌特征的形态加以表现。

图1.8(a) 上海世博会阿联酋馆效果图

图1.8(b) 上海世博会阿联酋馆结构体系

图1.8(c) 上海世博会阿联酋馆结构平面布置

图1.8(d) 上海世博会阿联酋馆结构纵向剖面
世博会阿联酋馆属临时性建筑,世博会后将拆除并移至异地重建。其建筑高度为20米,地上一层为展览空间,局部二层为办公、会议及贵宾接待,总建筑面积约为3 500米2。
阿联酋馆的屋盖由四部分组成:不透光部分(沙丘正面)、天窗部分(沙丘背面)、中央步行道屋面与入口处的悬挑雨棚(如图1.8(b)、(c)、(d)所示),屋盖结构关于23轴对称。沙丘不透光部分为单层网壳结构,三角形网格的尺寸基本为2米×2米×2米,每个网格的3个角点作为屋面系统的支撑点。网壳杆件截面为矩形钢管,截面尺寸为240毫米×80毫米,壁厚为8~12毫米,材料为Q345B。沙丘单层网壳一侧,由间距2米的天窗斜柱支撑,斜柱间设置水平支撑以保证其稳定。斜柱截面采用焊接H型钢,截面为H450毫米×250毫米×12毫米×16毫米,水平支撑截面主要为H200毫米×100毫米×5.5毫米×8毫米,每隔4米设置一道。中央步行道采用了单跨的钢框架,柱纵向间距为6米,梁的形心面内满布交叉斜支撑,钢框架除将屋面的竖向荷载传递到基础外,还将网壳的水平推力通过面内的支撑传递到两侧的基础上。建筑北面和南面的出入口处设置了H形截面的钢柱与环形钢梁,以支撑网壳和悬挑雨棚。采用条形基础,并在整个屋盖范围内设置150毫米厚的混凝土板(兼作建筑地坪)与条形基础连成整体,以抵抗网壳支座的水平力。
2.地球屋002号
建筑设计:谢英俊
建成时间:2005—2006年
地球屋002号生态农宅(如图1.9)是谢英俊在河北翟城晏阳初乡村建设学院内进行的生态农宅及礼堂的实践。地球屋002号使用对象为农村的年轻夫妇,功能布局较为开放,一层厨房、餐厅与客厅贯穿连通,二层楼上西侧卧室留出南向阳台,中间是充满阳光的起居室,使用面积140米2。利用土、木等传统自然材料结合现代薄壁轻钢材料,给予传统农宅以新的时代诠释。建筑在设计时充分考虑了利用轻钢结构的优势,综合利用其他构造做法与之相结合,既经济适用,又节能环保。

图1.9 地球屋002号
(a)、(b)钢架组装;(c)竹楼板;(d)填草土;(e)粉刷后外观
设计采用了惯常的骨加皮的灵活构造策略,轻钢龙骨中间加灌水泥加强结构,用螺栓和焊接的方式直接连接C型钢和角钢。用草土墙作围护墙体,方案设计土墙450毫米厚,其中混合能起保温作用的稻草和麦秸杆,体积比约达到1∶1。而内部隔墙直接采用竹皮编织墙。楼板采用竹筏,切成小块,插入C型钢的槽内。