1
TRIZ:产品创新设计
1.11.4 9.4  小人法
9.4 小人法

当系统内的部分物体不能完成必要的功能和任务时,就用多个小人分别代表这些物体。不同小人表示执行不同的功能或具有不同的矛盾,重新组合这些小人,使它们能够发挥作用,执行必要的功能。通过能动的小人,实现预期的功能。然后,根据小人模型对结构进行重新设计。

小人法的步骤:第一,把对象中各个部分想象成一群一群的小人(当前怎样);第二,把小人分成按问题的条件而行动的组(分组);第三,研究得到的问题模型(有小人的图)并对其进行改造,以便实现解决矛盾(该怎样——打乱重组);第四,过渡到技术解决方案。

小人法能够更形象生动地描述技术系统中出现的问题,通过用小人表示系统,打破原有对技术系统的思维定式,更容易地解决问题,获得理想解决方案。

为了防止走私核原料,海关在检查集装箱时会产生问题:一方面要快速准确地检查大面积集装箱内是否有核原料,往往需要很长时间;另一方面不能因为此项工作影响车辆通过海关的能力。

建议利用小人法模拟这个问题,如图9-3所示。将系统用许多小人表示执行不同的功能,然后重新组合这些小人,使小人发挥作用,解决问题。核原料为中间的黑头小人,四周被外壳小人包围。假想利用一种工具仪器或材料,其应该具备一定的特性,即工具仪器小人在通过外壳小人和黑头小人时表现出不同的特性,如其与外壳小人相遇时不改变前进方向,而其与黑头小人相遇时,则改变前进方向。

978-7-111-61029-8-Chapter09-3.jpg

图9-3 小人法检测集装箱

实际应用中,可以选择高能粒子μ介子作为仪器工具小人,因为μ介子在与核材料相撞时会偏离原前进方向,而与其他材料相遇时仍沿原方向前进。这样可以快速探测集装箱内是否有核原料。

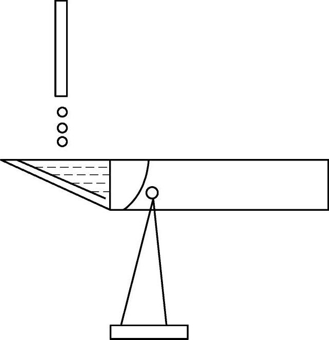
水计量器做得像一个跷跷板,如图9-4所示。水计量器左侧为一槽体结构,水装满后,左侧下沉,水流出槽体。不幸的是,水槽中的水总是不能完全流出,当水槽中还有少量水时,右侧又下压,这样水槽中总有部分水流不出来。如何解决?请读者自行解决。

978-7-111-61029-8-Chapter09-4.jpg

图9-4 水计量器