郑州大学图书馆
建设内容
郑州大学图书馆智慧图书馆项目建设内容包含:微服务平台、智慧门户(包含统一检索、统一身份认证、智能推荐、反向代理、数据展示)、电子资源管理、数据中心、安全巡检系统。
1.微服务平台

智慧门户建设内容主要包含:统一身份认证、统一检索(中文搜递)、大数据展示、智能推荐、反向代理(IP内自由访问,IP外登陆后自由访问),并自适应移动端


2.1 门户对接学校统一身份认证系统

2.2 纸电统一检索(中文搜递)

2.3 大数据展示
对接学校的门禁系统、座位预约系统

2.4 智能推荐
根据读者的借阅数据,每位读者登陆后推荐的书籍都不一样

3.电子资源管理



4.数据中心

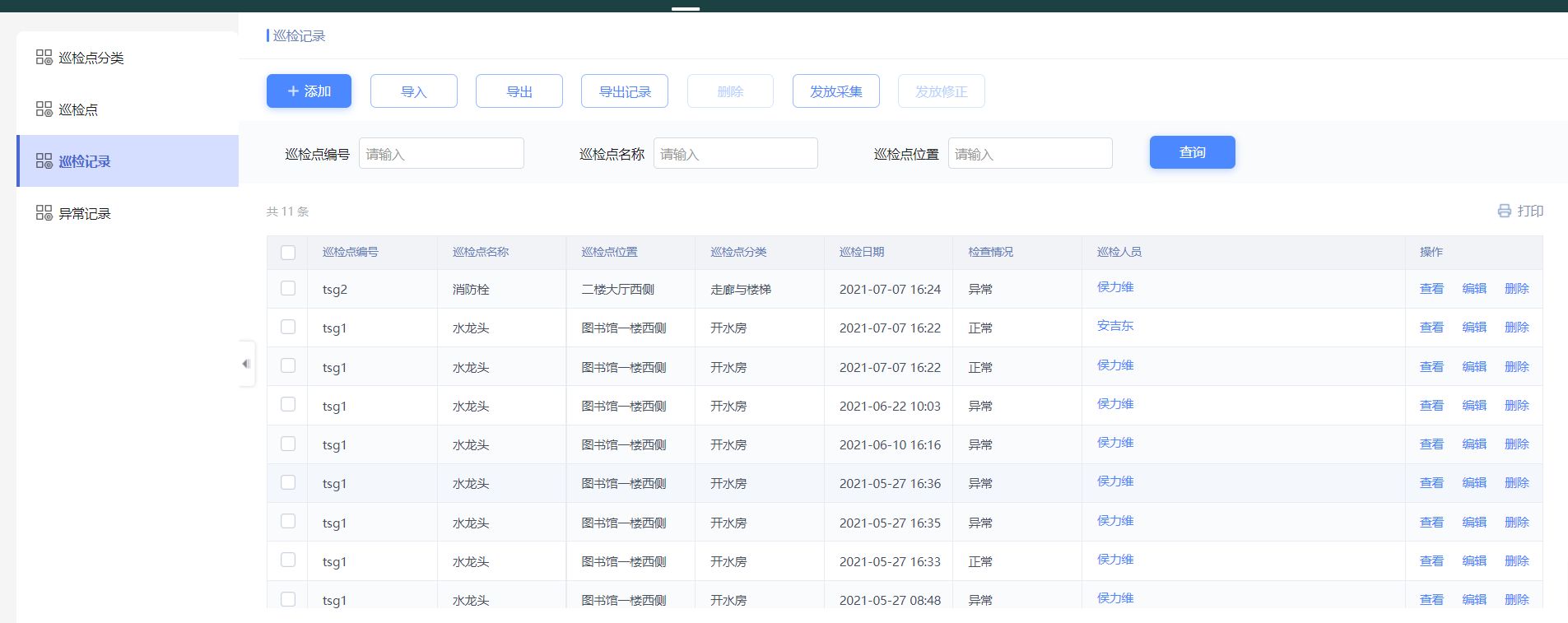
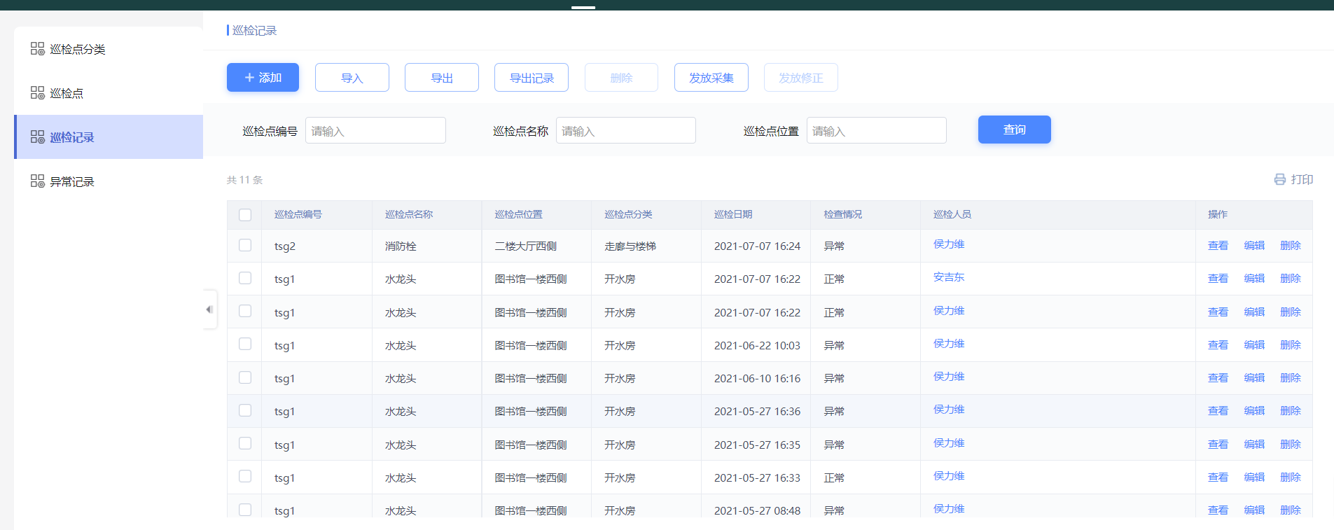
5.安全巡检系统
用万能表单搭建,但学校未启用

三、特色功能
图书馆门户上的大数据展示、智能推荐、反向代理(IP内自由访问,IP外登陆后自由访问)、安全巡检系统
四、学校推广
微信公众号:图书馆智慧门户开通试运行公告
五、运行效果
郑州大学智慧门户自2021年5月份正式上线(本地镜像)以来,门户首页总访问量达到5891860,用户访问量351375。(截止到2022年3月)