1
技术史 第二卷 地中海文明与中世纪
1.5.1.2 4.2 早期粉碎技术的进展
4.2 早期粉碎技术的进展

面粉、橄榄油、酒和啤酒是古代大量生产的4种食物,在生产中需要一些压榨和粉碎器具。经过脱谷和簸谷从麦穗中取出麦粒,舂烂外皮后磨成面粉。在生产酿啤酒所需的麦芽时,这些操作也是必需的。通过压力榨取橄榄油之前,必须先舂烂或在橄榄磨上碾碎橄榄果。从最早的时代起,人们为获取葡萄汁就已经利用压力榨取器具。

(a)脱粒 (图69)“当麦穗成熟后,在打谷场上用脱粒锤捶打麦穗,一些地方让母马踩踏脱粒,另一些地方则用木棍脱粒。”[10]普林尼列举的上述第二种方法,已经被早期的埃及艺术家细致地描绘过(第Ⅰ卷,图221)。在巴勒斯坦,结束整日田间劳作后,路得(Ruth)“捶打了所拾取的麦穗”(《路得记》,第2章第17节)。

img

图69 用牛脱粒。索菲亚附近的兹罗库契内。

作为一种更复杂的器具,脱粒橇在巴勒斯坦和美索不达米亚被开发出来。它由钉有坚硬物或金属钉的木板或长橇组成,由牛在打谷场上拖动(图70)。有时,它上面还载有石块和一个车夫。在《圣经》中,它被影射为彻底毁灭的象征。直到今天,这种器具仍然在地中海地区和亚洲的很多地方使用。

有铰链的连枷最早出现在圣哲罗姆(St Jerome,卒于420年)关于《以塞亚书》(Isaiah)的说明中,似乎在4世纪由高卢人发明,并在中世纪逐渐被一般的棍棒所取代(边码97)。

(b)舂 杵和臼从旧石器时代用于粉碎食品原料的器物演变而来,其操作是磨和舂的结合,在新石器时代,这两道工序逐渐分离。以谷物为例,首先通过舂去除外皮,之后将谷粒磨成面粉。虽然人们常将罗马面包师与磨面粉联系起来,但他们最早是使用臼和舂,因此被称为“舂谷者”。诸如鞍状磨和后来的旋磨等磨具,从早期的臼和舂石发展而来。去除谷物外皮的杵一般是木制的,并放置在一个架子上。

一种舂食物的简单辅助器械是用绳子将杵可伸缩地悬挂在树枝或弹性木板上[11],这种方法可能仅在关于用绳子操纵杵的古文献中提到过[12]。把杵垂直缚在一根木杠的一端,它就能像锤子一样工作,这是当今在阿尔卑斯山和远东舂大米和捣碎矿石时众所周知的用法[13]。此外,如同在加利西亚、波兰、中国和日本(图71)一样,人们可以用手或脚使木杠绕轴转动,随后又恢复平衡地工作。在一些多山的国家,在木杠的另一端有一个代替平衡锤的重物,它有一只斗,注满水后就能将杵提升起来,同时重物倾斜,液体溢出,杵又落下,斗中又重新注满水。这种简单的原动力可能正是装有水轮的捣矿机的前身,它的结构在中世纪更为复杂(图544)。

img

图70 塞浦路斯钉有坚硬物的脱粒橇的下侧。长约2—5米。

img

图71 日本人在舂谷物。

出自葛饰北斋(Hokusai)的一张画作,19世纪。

(c)碾磨:旋磨的发展 在罗马的大众面包房出现后的几个世纪里(公元前3世纪或前2世纪),做面包仍是家庭妇女的一项主要任务。在这种情况下,在更高效的器具——例如推力磨和旋磨——传入前,鞍状磨(第Ⅰ卷,图175—176、图180)和各种样式的谷物磨[3]仍然长期为普通家庭所使用。

推力磨由鞍状磨发展而来。它的两块磨石是扁平的且上面有沟槽,上磨盘有一个带狭缝的料斗,能连续将谷粒送到磨的表面(图72),也可安装一根横置的如同把手的木棒(图73)。这种推力磨可能起源于小亚细亚和叙利亚[14],希腊人在公元前5世纪、罗马人在公元前1世纪开始熟悉它。

img

图72 出自奥林索斯的推力磨上磨盘的俯视图。

下凹部分构成一个料斗,谷物通过狭缝漏下。两边各有一个凹槽,横贯上磨盘的把手可置于其中,利用把手可把这块磨石推向和推离磨具,或如图73那样使其绕轴转动。公元前15世纪。

自从拉坯轮和车床在东方的青铜时代被发明出来以后,旋磨作为最早出现的旋转运动器具就具有了重要地位[15]。它看来可能不是从鞍状磨发展而来,而是从谷物磨演变而来。旋磨带有石球,可以在具有边缘的凹盆中滚动。在两块石块或石盘中,上磨盘的一个凸起可以在下磨盘的凹槽里绕轴转动,反之亦然。公元前第二个千年,这种方式在巴勒斯坦就已经使用(第Ⅰ卷,边码200)。再加上一个穿过上磨盘一侧的手控栓,就构成了旋磨,如同叙利亚的泰尔·赫莱夫(公元前9世纪?)的一个样品那样。

img

图73 绕轴销往复运动的推力磨的安放。

出自公元前3世纪时雅典附近迈加拉的一个盆地。

在希腊,这种旋磨的早期使用情况尚无考古学上的确凿证据,它甚至在公元前3世纪仍然很少被使用。它从希腊向北流传,远至摩尔达维亚和阿尔卑斯山地区。在那里,我们可以在整个凯尔特人拉登铁器文明时代(公元前1世纪)找到它的影踪。这种磨的上磨盘上有料斗,在公元前1世纪时流传到了南英格兰(图74A)。

旋磨传到欧洲和西地中海地区时,已经有了两种不同的类型,在伊比利亚有两个竖直的手柄(图75),在中欧则具有水平的径向手柄,如同其东方的原型(图74)[15]。这些磨是随着职业磨工而出现的,发展的状况与工业规模的面粉生产相联系。直到3世纪,德国北部和斯堪的纳维亚才知晓旋磨。

古代由两块扁平石块构成的便携旋转手工磨的流传,似乎与希腊和罗马的军队有着密切的联系。古代军队中的士兵自己磨谷物,手工磨是罗马军营的一个普遍特点。一台手工磨可供5—10人使用,每人能带足可供给30天的面粉。

为避免磨石的砂粒进入面粉,改进后的旋磨有一根从下磨盘中央伸出的轴。上磨盘的石头重量通过木制或铁制的“上磨盘圆孔下的支座”或载体传递到这根轴上,支座或载体穿过上磨盘添加谷物的圆孔来固定。这种构造的一种最简单的样式见图74A。这个支座经过调节,可使磨盘仅仅轻微接触,力主要作用在边缘。

img

图74 早期英格兰磨的类型(部分简图)。

(A)公元前50年以前;(B)1世纪;(C)2世纪;(D)4世纪,注意料斗尺寸及摩擦面面积与重量之比均有增加;(D)上部有一个可调节高度的石块。

img

图75 伊比利亚型石磨图。

上磨盘有两个槽,可安装两个竖直的手柄。

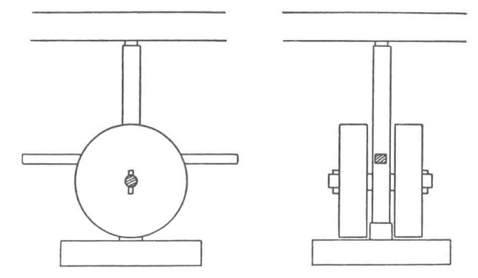
安装驴力磨时要在磨面表面开槽,并且在上磨盘做成料斗。不过,这种磨要大得多,在柄上套上驴、骡、马甚至奴隶就可以转动了(图76—78)。事实证明,坚硬的维苏威火山岩特别适合制造罗马石磨[16]。大约在公元前300年,磨谷物中的驴力磨才为希腊人所知晓,但公元前5—前4世纪就有了相似的装置,它在劳里昂的银矿中用来压碎矿石(边码44),谷物磨可能就由此演化而来。

从公元前2世纪开始,面粉磨传入意大利。当时,加图规定一个农庄必需器具的组合为“3台驴力磨配1台手工磨”[17]。这种模式在很长一段时期内是罗马磨坊主的典型配置,他们抵制水力磨的引入。维吉尔(Virgil,公元前70—前19)第一次在文献中提到罗马乡村使用的旋转手工磨[18]

img

图76 驴力磨两个磨盘的剖面图。

(驴力磨这个词被用以称呼这种大型磨,不论它是由驴、马,还是由奴隶驱动的)。在下磨盘的凹陷处插入一根轴,通过上磨盘圆孔下的铁支座,托住上磨盘。上磨盘高出摩擦面的延伸部分构成一个料斗,两侧的下凹处可安装连接挽具的支架。

img

图77 庞贝古城中四台驴力磨和一个烤炉(79年)。

插图显示了套了挽具的牲畜被迫转动的圈子是多么小(图78)。面粉从环形的平台上收集。

罗马帝国时期谷物磨的重要革新,主要是转动方式而不是结构[4]。罗马人在帝国时代使用的是相当大的固定磨,直径约75厘米,可转动的磨盘与一根水平轴相连,轴上装有一只由奴隶操纵的轮子[19]

如今,东亚和东南亚的一些部落在手工磨上仍然使用曲柄,这样操作者就只需作短距离的往复运动。1430年后,欧洲开始使用与手工磨的轴相连的双曲柄,并有一个高于操作者的基座(图597)[20]

img

图78 套上马的驴力磨,磨坊工人站在右侧。

从下磨盘突出的地方可看见槽。在这一石块下面是一个盛接面粉的环形容器。取自2世纪一罗马石棺上的浮雕。

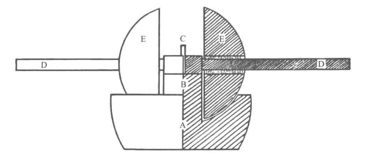
制成橄榄油的第一步是捣碎橄榄果后再压榨,最简便的捣碎方法是用一块圆柱状石块在一个盛橄榄果的槽里来回滚动。罗马人所知晓的滚磨就是榨油机(mola olearria),它由固定在同一水平轴上的两块圆柱状石块(磨盘)构成,磨盘绕垂直的轴转动(图79)[21]。当中心轴旋转时,通过一个可调节的空隙,滚动的石块可以碾过盛有橄榄的台槽。这样,不用压碎果核,就可将果肉分离出来。这种样式的磨在南欧使用至今。据普林尼所述,雅典改良了这种样式,称作特拉佩塔(trapetum,图80)[22],在磨石和槽盆间有1罗马寸(1.8厘米)的固定空隙[23]。在希腊奥林索斯原址(公元前5世纪)上发现了5块磨石,形状和装置表明它们是特拉佩塔的早期样式[24]

img

图79 据科卢梅拉(Columella)所述,压榨橄榄的榨油机的复原图。

果实分散在环形平台的槽中,磨盘绕垂直的轴转动。注意,磨石和槽之间的空隙可避免盛橄榄的磨盘受到挤压。水平轴约齐腰高。1世纪。

(d)压:板式压力机 发明压力机不是用来压紧东西,而是用来榨取油和果汁,特别是用来压榨橄榄和葡萄。箱式压力机(第Ⅰ卷,图186—187)代表了前古典时期这种机械装置的最后一个阶段。

爱琴海世界似乎早已产生并发展了板式压力机,至于后来它又发展到何种程度还不能确定。橄榄的种植可以追溯到南爱琴海的早期青铜时代,但至今还未找到那一时期榨橄榄的机械装置的证据[25]。已知的最早的橄榄压力机和压榨橄榄的槽的遗迹是在克里特岛发现的,属于米诺斯时期中期(约公元前1800—前1500)。然而,它们不能为复原工作提供充分的细节[26]。在基克拉迪群岛的一个遗址中,发现了一台古希腊晚期青铜时代(约公元前1600—前1250)的板式橄榄压力机。约在公元前1000年后,这种压力机的使用更为频繁。它们的结构被清晰地描绘在瓶饰上,例如公元前6世纪早期雅典陶工的黑纹陶器(图81)。板式压力机运用了杠杆原理,一端铰接到壁凹内或两根石柱间,另一端通常载有沉重的石块并被拉下。装在袋里或放在木板之间的果实,在木板中央的下方受到挤压。如今,这种挤压方法仍用于许多地区的葡萄酒酿造业。

img

图80 奥林索斯压榨橄榄的希腊特拉佩塔的复原图。

在一个大的环状灿岩盆(A)中央,竖有一根实心柱(B)。柱顶有一个方孔,装了一枚直销(C),并用铅条楔紧。一木质杆(D)穿过直销并连接两块一面平一面凸的大磨盘(E)。像榨油机一样,磨盘绕中心轴转动。这些磨石的直径有80厘米。

这种板式压力机的进一步演化可在古代作家的作品中找到,例如普林尼描述道:

img

图81 榨取橄榄油和葡萄汁的简易板式压力机。

压板的右端固定在壁凹里(图中未显示),另一端坠上人或物,用以挤压放在压床上用绳子捆住的果实。通过压床下方的缸来收集果汁。取自公元前6世纪的一只希腊花瓶。

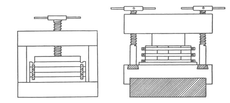
有人用单板压力机榨葡萄汁,无论这块木板有多大,它的确比用两块管用。对压力机而言,压板的长度是重要的,那些具有足够宽度而不是厚度的压板效果更好。古时候人们通过手动杠杆,用绳索和皮带拉下压板。但在最近的几百年里发明了希腊式压力机,它带有圆杆,周围则是围绕着圆杆的螺旋状槽。有的人在圆杆上装上手柄,另一些人用圆杆举起了成箱的石块,这一装置的设计被广为接受。最近20年里,又发明了一种更小的压板和压力机,它带有一根竖直的更短的圆杆,可直接向下插入中部,从上方将所有重量施加到盖子上,盖子下压着葡萄,压力机上方做了一个上部构件[27]

普林尼明确地描述了四种类型的压力机。第一种是加图(公元前234—前149)描述的运用少许机械的老式板式压力机(图82)[28],通常长达50英尺的重压板的一端安装在横杆下方,另一端可通过绕在一个直径为6—9英寸的水平鼓轮上的绳子拉下。这一拉下压板的简便方法,一直使用到罗马帝国末期,有时压板的自重要超过500千克。

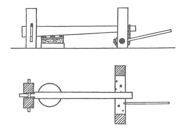
第二种改良的压力机可以提供稳定持久的压力,具体体现在希罗(Hero,1世纪)的描述中,尽管它已经更早地为人知晓(图83)[29]。它由一块重石、压板和旋转鼓轮组成,压板上引出的绳子从下方绕过重石上的一个滑轮,再从上方绕过压板上的一个滑轮到达鼓轮。当鼓轮上的绳子拉紧时,压板承受整块石块的重量。这种古老的利用石块重量的压力机,大概发明于古希腊。

大部分受压物装在圆筐里,圆筐则是用绳子、细茎针茅织物或篮筐围成。或者说,“在柳条篮里捣碎橄榄或把糊状物围在薄板间,这是最近发明的一种方法”[30]。在压板下,盛着大量果浆的绳筐可见于上面提到的一幅希腊图画(图81)。压床上刻有一两条用于收集汁液的槽,以便将果汁引入贮藏缸。我们知道,一个4人小组每天能压榨25次橄榄,共100蒲式耳,每蒲式耳橄榄能产出约6磅油。每压300蒲式耳的葡萄,可以产出22加仑果汁。

img

图82 加图描述的压力机的立视图和平面图。

压板左端安装在两根木柱之间的横梁下方,葡萄或捣碎的橄榄捆扎在沉重的压板下面,压力通过右端绕过鼓轮的绳子施加。鼓轮安装在木柱间,通过拉动可拆卸的手柄使其运转。压板约长50英尺。

img

图83 希罗(Hero)描述的压力机。

如图82,绳子由可拆卸的手柄转动鼓轮拉紧。当在鼓轮上插入一只销钉以防绳子滑脱时,就可举起右边的重物。因此,可通过非常强大的杠杆作用将一持续的压力施加给左侧压床上的物体。压板约长11米。1世纪。

板式压力机特别适用于压榨橄榄或葡萄这样的大规模操作(图84)。当压榨量较少时,例如压榨含油种子、香草、纸莎草的叶子,人们更喜欢用另外两种压力机,分别是螺旋压力机和楔式压力机。

螺旋的起源与阿基米德(Archimedes,卒于公元前212年)有关。到希罗时代,人们已掌握加工内螺纹的螺纹刀具[31],这与普林尼关于螺旋压力机的叙述一致。它可能在公元前2世纪或前1世纪源于希腊,似乎约在公元前1世纪末传入罗马。

螺旋在压力机上最简单的应用是代替装有柄的鼓轮。螺旋竖直安装在地上的基座上,螺母则安装在压板一端的叉状物上。这样,旋转螺旋就可以降低压板(图85)。

img

图84 神话中正在压榨制酒的基督。艺术家描绘了真实的螺旋压力机。取自12世纪兰茨佩格的埃拉达(Herrad of Landsperg)的手稿。

img

图85 普林尼所述的第一种杠杆—螺旋压力机。

螺旋或在地上有一个切去底部的基座,或如图所示,在地面和屋顶上都有基座。在压力机右端有另一对开槽的柱子,一块木板穿过柱子的槽孔且低于压板,用以填塞缝隙,转动螺母就可将压板末端压下1世纪。(希罗关于切削内螺纹的方法见图572。)

据希罗和普林尼所述,在这种压力机的一种改良方案中,螺旋能够举起一块石头的重量(图86)。直到今天,这种类型的压力机仍在埃及、爱琴海、意大利和阿尔卑斯山使用。它有时被称为“希腊”压力机,其实更常见于罗马维特鲁威时期(公元前1世纪)。在巴勒斯坦发现了罗马时期的这种压力机,《塔木德经》(Talmud)曾经提到过它们[32],埃及人也模仿了这种改进的样式。

img

图86 普林尼所述的第二种杠杆—螺旋压力机。

图85中的基座在这儿被省略了。1世纪。

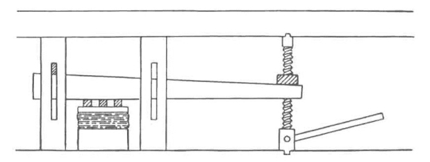
据普林尼所述,省略杠杆装置、螺旋直接从顶部穿下的压力机大约出现于50年。希罗知晓两种样式,第一种由两个螺旋操纵,短压板两端各有一个;第二种由位于中央的单个螺旋操纵,更像一台现代拷贝机(图87)。

img

图87 希罗描述的螺旋压力机。

(左)单螺旋轻便压力机。螺旋由顶部的手柄转动,而螺旋的末端压向压力机的盖子。将木板拼合起来就能达到所需高度,以组成盛果实的容器。(右)重型双螺旋压力机。顶端的手柄能旋紧压力机的盖子。螺旋底部装在基座上加工出的楔形槽中。果实容器由3组横杆将竖直板条连接而成。压力机宽140厘米。1世纪。

楔式压力机没有早期的文字记载,但在墓碑上和后来的药学文献中都有关于它的描述[33]。盛果肉的石基上有一处凹坑,上方的楔形木块和板条层层相间,最高一层与固定支架的下端连接。用锤敲击伸出两侧的楔形木块,就可以榨制果浆了。