任务八 钢轨探伤仪70°探头识别与操作
1.试验目的
熟悉SZT-800数字式钢轨探伤仪70°探头A显、B显出波情况,能够正确区分正常钢轨回波与钢轨伤损回波等各项操作。
2.试验内容
(1)熟悉70°探头位置、A显基线、B显基线;
(2)偏角检测核伤回波显示;
(3)无偏角检测核伤回波显示;
(4)倾斜核伤的显示;
(5)非核伤回波识别。
3.试验设备
SZT-800数字式钢轨探伤仪。
4.操作方法
(1)熟悉70°探头位置、A显基线、B显基线。
探伤仪上的70°探头如图1-8-1所示,其中A为前内70°探头,a为后内70°探头,B为前 外70°探头,b为后外70°探头,C为前直70°探头,c为后直70°探头。对应的70°探头的A显基线如图1-8-2所示,其中Aa基线为第1条红色线条,Bb探头为第2条绿色线条,Cc为第3条青色线条。70°探头的未检测到回波时无A、B显显示,检测到回波时A探头A显为向上的红色脉冲,a探头A显为向上的粉色脉冲,B显在钢轨纵断面相应位置显示红色或粉色线条;B探头A显为向上的绿色脉冲,b探头A显为向上的蓝色脉冲,B显在钢轨纵断面相应位置显示绿色或蓝色线条;C探头A显为向上的青色脉冲,c探头A显为向上的浅红色脉冲,B显在钢轨纵断面相应位置显示青色或浅红色线条。70°探头主要探测轨腰投影范围的螺孔裂纹、斜裂纹和特殊部位水平裂纹,以及轨底横向裂纹。

图1-8-1 37°探头在探伤仪上的位置

图1-8-2 70°探头A显、B显基线

70°探头探伤原理

正常钢轨轨端70°探头B显出波

钢轨探伤仪70°探头识别与操作
① A型显示的偏角扫查。
当70°探头入射点距轨端(60 kg/m轨)216 mm左右[见图1-8-3(a),50 kg/m轨为 208 mm左右],荧光屏刻度9.2左右(仪器标定为横波声程1∶2.5),将显示轨端顶角反射波;随着探头向轨端移动,由位置0移至位置1,回波由刻度9.2向5.0移动[见图1-8-3(b)],这时二次波由轨端顶角向轨颚方向移动,同时,在荧光屏刻度4.8处显示轨颚底角波[见图1-8-3(c)],探头位置距端轨108 mm左右,继续前移,二次回波波幅下降,一次回波波幅上升[见图1-8-3(d)],并随着探头从位置1移向位置2,一次回波由刻度4.6向1.0处移动[见图1-8-3(e)]。

图1-8-3 轨头端面一、二次回波A型显示的全过程
② A型显示的无偏角扫查。
无偏角70°探头入射点距轨端140 mm左右[见图1-8-4(a)],荧光屏刻度10.0(仪器标定为横波声程1∶1.5),显示轨端反射波;随着探头向轨端移动,探头距轨端距离越来越小,回波由刻度大向刻度小移动[见图1-8-4(b)],它的显示特点与偏角70°探头端面回波显示不同,只有一次波,无一、二次波转换过程。

图1-8-4 直70°探头轨头端面回波A型显示的过程
③B型显示。
B型显示与A型显示不同,某处反射回波,在屏幕上只以一个点表示回波的空间位置。当70°探头入射点距轨端(60 kg/m轨)216 mm左右,荧光屏轨颚线下开始出现回波反射点[见图1-8-5(a)],由于二次回波反射,声程大于一次波,折算出的深度大于轨颚厚度,因此显示回波的“点”出现在轨颚线下部;随着探头向轨端移动,探头由位置0接近位置1,回波声程越来越小,B型显示回波点向上延伸接近轨颚线[见图1-8-5(b)];探头移过位置1时,回波显示图会出现继续向上延伸和在轨颚线上同时出现回波显示点,这是一、二次波交替中出现的现象[见图1-8-5(c)];当探头移至轨端上,回波显示点接近轨面线[见图1-8-5(e)]。

图1-8-5 70°探头轨头端面回波B型显示的过程
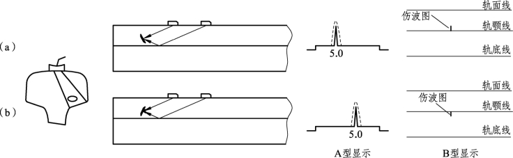
(2)偏角检测核伤回波显示。
① 核伤位于轨颚附近。由于伤损存在于一、二次波扫查区,且接近轨颚,因此,A型显示在荧光屏刻度5.0左右,一、二次回波连续显示[见图1-8-6(a)];B型显示伤损图形在轨颚线附近,且伤波图形较长。

图1-8-6 偏角检测核伤位置和回波显示
② 核伤位于轨头上方。一、二次波扫查区,A型显示回波在荧光屏扫描线上分两次显示,两次显示越靠近扫描线两端,则核伤距轨面越近[见图1-8-6(b)];B型显示在轨面线附近和离轨颚线较远的下方。
③ 核伤位于轨头一侧上角。处于二次波扫查区内,A型显示回波显示于荧光屏刻度5.0以后,回波位置刻度越大,核伤距轨面越近[见图1-8-6(c)];B型显示伤损图形在轨颚线下方,离轨颚线距离越大,核伤越靠近轨面。
(3)无偏角检测核伤回波显示。
核伤的位置与回波刻度相对应,伤损越浅,A型显示回波位置靠近起点,B型显示靠近轨面线,反之,伤损越深,A型显示回波位置靠近基线后端,B型显示靠近轨颚线,如图1-8-7所示。

图1-8-7 无偏角探测核伤位置和回波显示
(4)倾斜核伤的显示。
① 核伤位于轨颚附近。虽然伤损存在于一、二次波扫查区,但由于核伤倾斜后,探头接收不到二次波[图1-8-8(a)],A型显示回波在5.0之前,B型显示在轨颚线之上;探头接收不到一次波[图1-8-8(b)],A型显示回波在5.0之后,B型显示在轨颚线之下。

图1-8-8 偏角检测倾斜核伤位置和回波显示
②核伤位于轨头上方。虽然在一、二次波扫查区内,但由于核伤倾斜后,使一次回波探头无法接收到,误以为核伤位于内侧上角处[图1-8-9(a)];或者二次波探头无法接收到,误以为核伤位于轨头中心处[图1-8-9(b)]。

图1-8-9 偏角检测倾斜核伤位置和回波显示
③核伤位于轨头一侧上角。虽然核伤在二次波扫查区内,但核伤倾斜后,如果取向正好与二次波正交,会有回波显示[见图1-8-10(a)];否则,因核伤与二次波的入射角过大,回波无法被探头接收,造成漏检[见图1-8-10(b)]。

图1-8-10 偏角检测倾斜核伤位置和回波显示
(5)核伤定位定量。
采用基线法定位定量:
①核伤垂直高度确定。远点波减近点波刻度,乘以垂直距离系数得出值就是核伤垂直高度。60 kg/m轨按声程1∶2.5标定后,水平距离系数取2.3,垂直距离系数取0.9;50 kg/m轨按声程1∶2标定后,水平距离系数取1.9,垂直距离系数取0.7。
②核伤中心在钢轨纵向的位置的确定。核伤反射波中心刻度乘以水平距离系数,即为相关探头至核伤中心位置水平和垂直距离系数,见表1-8-1。
表1-8-1 探头至核伤中心位置水平和垂直距离系数

注:对于严重侧磨轨下颚形成的横向裂纹或擦伤、剥离和焊补层下的核伤定位定量,使用侧面校对法,校对灵敏度在钢轨表面校对灵敏度上再提高10~12 dB。
为防止近区杂波而产生频繁报警,在钢轨探伤仪接收电路中采取近区抑制方式,使一次回波位移不到0刻度。这些均属于正常现象,切勿为追求一次回波位移到0刻度或二次回波单支波显示,而采取提高或降低探伤灵敏度,这样不利于钢轨探伤。
(6)非核伤回波识别。
① 剥离层多次反射波。
钢轨制造和淬火不良,产生轨头表层剥离,形成不规则的薄层。超声波在薄层中多次反射后被探头接收,A型显示的荧光屏一次波范围会出现单支或多支回波同时显示的现象;B型显示轨面线附近会有不规则的、密集分布的点,同时会在轨底线上显示0°探头的失波(见图1-8-11)。但剥离层末端很容易产生核伤,如遇回波定位在剥离层末端,则很可能已经形成核伤。

图1-8-11 剥离层多次反射波
② 鱼鳞剥离反射波。
曲线上股或部分直线地段形成鱼鳞状剥离。向轨头内侧发射的通道,A型显示的荧光屏刻度7.5~8.5间会出现有规律、连续、循环出现回波显示(由于轨头磨耗、探头位置不同和仪器探测范围校正误差,回波位置会有所不同);B型显示轨颚线下会形成连续图形,且离轨颚线较远,如图1-8-12所示。探测中应慢走细看,重点注意波幅强、位移大的回波,因为鱼鳞剥离末端很容易产生核伤。

图1-8-12 鱼鳞剥离反射波
③ 颚部锈蚀波。
轨头颚部锈蚀严重时,较深的锈损坑使超声波产生反射。这时会出现间断而短促的报警声,在荧光屏一、二次波交替处,显示没有移动的跳跃波,如图1-8-13所示。用砂纸打磨钢轨颚部,跳跃波会减弱或消失。为防止连续报警而干扰探伤,可适当降低增益,使跳跃波得到遏制;或打开“位移报警”功能(有些仪器具备),实现位移小的回波不报警。

图1-8-13 颚部锈蚀波
④轨面擦伤波。
擦伤波碎裂程度不同回波显示也不同,靠近刻度零点显示不规则的跳跃波或移动很短的回波,则擦伤的深度很浅。当一次或二次波范围内有回波显示,一般擦伤较深或存在“锅底”“月牙”形损伤,这时应把仪器调向复查或进行校对,防止擦伤引发的核伤漏检。
⑤夹板卡损波。
探头入射点距夹板(60 kg/m轨)108 mm左右时,产生报警声,并在荧光屏一、二次波交替处显示波幅稳定的单支回波,如图1-8-14所示。通过目视或探头调向进行鉴别,要注意卡损处向内发展的横向裂纹。

图1-8-14 夹板卡损波
⑥ 焊筋轮廓波。
钢轨焊缝,轨头下颚都存在一个凸起的焊筋,探伤中一般都会产生回波。焊筋轮廓波在荧光屏刻度4.5左右显示,由于焊筋几何形状不一,回波显示的位移和强弱略有差异,铝焊接头回波强,气焊接头回波弱,如图1-8-15所示。要注意位移长、波幅强的回波分析,防止焊缝内缺陷的漏检。

图1-8-15 焊筋轮廓波