任务七 钢轨探伤仪37°探头识别与操作
1.试验目的
熟悉SZT-800数字式钢轨探伤仪37°探头A显、B显出波情况,能够正确区分正常钢轨回波与钢轨伤损回波等各项操作。
2.试验内容
(1)熟悉37°探头位置、A显基线、B显基线;
(2)螺孔向下斜裂纹;
(3)螺孔向上斜裂纹;
(4)螺孔水平裂纹;
(5)一孔向轨端向下(或水平)裂纹;
(6)一孔向二孔向上裂纹;
(7)轨端水平和斜裂纹;
(8)轨腰斜裂纹;
(9)轨底横向裂纹。
3.试验设备
SZT-800数字式钢轨探伤仪。
4.操作方法
(1)熟悉37°探头位置、A显基线、B显基线。
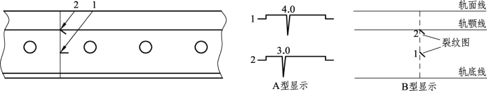
探伤仪上的37°探头如图1-7-1所示,其中D为前37°探头,E为后37°探头。对应的37° 探头的A显基线如图1-7-2所示,其中前37°基线为从上往下第四根基线,后37°探头为从上往下第五根线条。37°探头未检测到回波时无A显、B显显示,检测到回波时前37°A显显示A显脉冲,B显在钢轨纵断面相应位置显示相应线条;后37°探头A显显示A显脉冲,B显在钢轨纵断面相应位置显示相应线条。37°探头主要探测轨腰投影范围的螺孔裂纹、斜裂纹和特殊部位水平裂纹,以及轨底横向裂纹。

图1-7-1 37°探头在探伤仪上的位置

图1-7-2 37°探头A显、B显基线

37°探头探伤原理

钢轨探伤仪37°探头识别与操作
螺孔回波:A型显示的荧光屏刻度4.0左右出现螺孔回波,B型显示在轨颚线下方显示与螺孔回波深度相对应的两条斜线,如图1-7-3所示。

图1-7-3 螺栓孔处37°探头A显、B显示意
(2)螺孔缺陷的波形显示。
① 螺孔向下斜裂纹。
A型显示的荧光屏对应基线5.0以后先显示螺孔向下裂纹波,裂纹波消失后,在5.0以前显示螺孔波,伤波位移长短与裂纹长度有一定的对应关系,一般为裂纹越长,显示裂纹波的起点刻度值越大、回波位移越长;B型显示中螺孔向下裂纹显示在螺孔图下方,如图1-7-4所示。

图1-7-4 螺孔向下斜裂纹37°探头A显、B显示意
② 螺孔向上斜裂纹。
A型显示特点为先显示螺孔波,后显示裂纹波,在螺孔波还没有消失时,在螺孔波之后就出现裂纹波。当向上斜裂纹端点低于螺孔顶面时,则伤波显示在螺孔波范围内;当向上斜裂纹较长,且裂纹端点超过螺孔顶面时,则裂纹的回波失落点超过螺孔波显示范围,裂纹回波位移长,回波失落点刻度值越小;B型显示为螺孔图先显示,裂纹图后显示,与实际检测时,出波顺序相同,如图1-7-5所示。

图1-7-5 螺孔向上斜裂纹37°探头A显、B显示意
③ 螺孔水平裂纹。
37°探头遇到第Ⅰ、Ⅳ象限间的螺孔水平裂纹时,由于螺孔周边和裂纹面之间构成角反射作用,能显示螺孔水平裂纹波。探头声束先射及水平裂纹角反射点,后射及螺孔反射面,因此,A型显示的荧光屏先显示裂纹回波后显示螺孔回波,因水平裂纹角反射点与螺波反射面高差小,则两个回波间隔很小,并有裂纹波未消失螺孔波就出现的同时显示过程;B型显示在螺孔图下方紧接着显示裂纹图,位置比向下裂纹要高些,如图1-7-6所示。

图1-7-6 螺孔水平裂纹37°探头A显、B显示意
④ 一孔向轨端向下(或水平)裂纹。
A型显示在荧光屏5.0左右会显示裂纹波,这时探头入射点距轨端10~35 mm范围,如果斜裂纹越长,探头距轨端也越大,裂纹波显示的刻度也越大,由于该部位各种回波很多,很难以听报警来确定裂纹,只有看清颚部波的同时,注意螺孔波波位后方回波的显示,这样才能发现裂纹;B型显示一孔向轨端裂纹均显示在轨缝线的另一侧,这是仪器对轨端面反射过程无法判断,按回波声程计算伤损位置显示的结果,如图1-7-7所示。

图1-7-7 一孔向轨端向下(或水平)裂纹37°探头A显、B显示意
⑤ 一孔向二孔向上裂纹。
37°探头入射点进入另一根钢轨顶面时,显示不完整螺孔波。探头继续向前移动10 mm左右,显示向上裂纹波,探头入射点离轨端约15 mm。由于轨端顶面不平,多数情况下第1螺孔波不能正常显示,因此,一旦发现荧光屏显示螺孔波的刻度上有回波,则要以观察探头位置方法来鉴别,认真区分是螺孔回波还是向上裂纹回波,防止误将向上裂纹波当成螺孔波来处理。B型显示对此伤损容易判断,无论不完整螺孔图是否出现,只要采用前后37°探头回波合并显示方式,很容易判断出是否存在一孔向二孔向上裂纹,这是B型显示的优势,如图1-7-8所示。

图1-7-8 一孔向二孔向上裂纹37°探头A显、B显示意
⑥ 轨端水平和斜裂纹。
37°探头发现轨端水平或裂纹,根据裂纹在轨端上的深浅而定。要重视轨颚和轨腰(与螺孔等高部位)上的裂纹检出。一般钢轨下颚水平裂纹较多,应根据轨颚和轨颚裂纹回波强度、位移量不同来区别,防止将裂纹回波误认为颚部反射波;轨腰(与螺孔等高部位)上的裂纹,A型显示不仅要看出波位置,还需根据探头位置不同来区别,如接头第1螺孔显示后,探头前移动76 mm左右,在荧光屏螺孔波显示刻度上出现回波,且回波很强时,很可能轨端腰部有裂纹;B型显示只需根据屏显图形来判断。轨端裂纹是水平还是倾斜,可根据0°探头回波情况进行鉴别,若0°探头有回波反应,一般为水平裂纹或倾斜度较小的向上斜裂纹,若失底波而无回波则是轨端斜裂纹,如图1-7-9所示。

图1-7-9 轨端水平和斜裂纹37°探头A显、B显示意
⑦ 轨腰斜裂纹。
37°探头遇到轨腰斜裂纹,当裂纹方向同入射波方向正交,产生回波和报警。回波显示离基线0刻度(A型显示)越远或图形显示(B型显示)离轨面线越远,则裂纹距轨面越深;回波位移越大,一般裂纹越长。若A型显示探伤仪使用螺孔反报警门方式探伤,应注意反报警门范围内的轨腰斜裂纹因不报警而漏检,同时,也要注意因探伤灵敏度高,而产生年号、炉号回波导致的误判,如图1-7-10所示。

图1-7-10 轨腰斜裂纹37°探头A显、B显示意
⑧ 轨底横向裂纹。
老杂轨区段或隧道、道口内,因轨底严重锈蚀或垫板磨损,在锈蚀严重部位或磨损的台阶边产生会产生横向裂纹;铝热焊接头轨底焊筋边沿或热影响区、接触焊热影响区钳口部位烧伤处也会产生轨底横向裂纹;特大桥上铺设的固定型温度调节器,异型尖轨的底部钻有50 mm×12 mm的防爬孔,在防爬孔圆切面边也会产生横向裂纹,如图1-7-11、图1-7-12所示。

图1-7-11 轨底横向裂纹37°探头A显、B显示意

图1-7-12 特殊轨底回波
横向裂纹一般呈“月牙形”扩展,且与轨底面垂直,裂纹与轨底面构成直角反射点,在探伤中前、后37°探头会产生两次回波(A型显示)或图形(B型显示)和报警;对只有一次回波报警,且回波位移长的部位,要注意分析,有可能是倾斜度较大的横向裂纹,或者是轨底磨损形成的台阶和焊筋回波反映。37°探头只能探测轨腰投影范围内的轨底横向裂纹,凡在这个区域与轨底垂直的裂纹且面积较大时,均有良好显示,若裂纹与轨底面夹角小于84°回波明显下降,仪器检测困难。
(3)非螺孔裂纹回波的鉴别。
① 异常螺孔的鉴别。
异常螺孔的鉴别如表1-7-1所示。
表1-7-1 异常螺孔鉴别

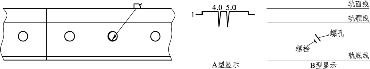
② 螺栓回波。
钢轨爬行轨缝拉大后,螺栓与螺孔壁紧密接触,当雨水渗入接触面后,37°探头发射声波一部分在螺孔面上反射,另一部分透过接触面射入螺栓圆柱面上产生反射,荧光屏会同时显示螺孔和螺栓回波或图形,如图1-7-13所示。可采用手工检查锤击打螺栓方法,使螺栓与螺孔接触面分离,螺栓回波会消失。

图1-7-13 螺栓回波
③ 倒打螺孔波后移。
道岔铺设配轨时,由于轨端锯切面不垂直,呈一定的斜度。在37°探头探伤中,声波在端面反射后,方向与垂直端面不同,增加传播距离,使倒打螺孔回波显示后移到5.0刻度左右,容易误认为螺孔向轨端水平裂纹,可以通过目视轨端方法进行区别,如图1-7-14所示。

图1-7-14 倒打螺孔波后移
④ 螺孔顶面反射波。
有缝线路60 kg/m钢轨探伤中,检测接头第1螺孔时,有些钢轨探伤仪A型显示第1螺孔波后会紧接着出现类似螺孔向上裂纹波,这支回波是由于螺孔顶面反射纵波致轨端面引起,如图1-7-15所示。螺孔顶面反射波与螺孔向上裂纹波出波显示时间顺序有所不同,螺孔顶面反射波为螺孔回波出现后紧接着出现,而且在螺孔波消失前先消失;螺孔向上裂纹波则是螺孔回波出现后,快消失时出现,而且在螺孔波消失前后消失。检测时应掌握出波前后顺序,认真分析,去伪存真。

图1-7-15 螺孔顶面反射波