任务7.1.1 气动基础
一、气压传动
气动技术是“气压传动与控制”技术的简称,是以压缩空气作为动力源驱动气动执行元件完成一定的运动规律的应用技术,是实现各种生产控制、自动化控制的重要手段之一。
1.空气的特性
1)空气的组成及物理性能
空气是一种混合物质,它由氮气、氧气和一定量的水蒸气等组成;
空气的密度小,黏度较液体小很多且随着温度的升高而升高;
空气的压缩性和膨胀性远大于固体和液体的压缩性和膨胀性;
压缩空气一旦冷却下来,相对湿度将增加,到温度降到露点以后,水蒸气就会凝析出来。
2)气体状态的变化
和所有气体一样,空气没有特定的形状。极小的阻力就可以使空气的形状改变。如图7-1所示,气体的状态是通过它的三个参数:压力、体积和温度来决定的,盖-品萨克(Gay-Lussac)和玻义耳-马略特(Boyle-Mariotte)定律描述了理想气体的三个参数之间的关系。

图7-1 玻义耳-马略特定律示意图
玻义耳-马略特定律:空气被压缩后变得极易扩展,在温度恒定的条件下,一定质量气体的体积与它的绝对压强成反比,也就是说对一定质量的气体,绝对压强与体积的乘积是恒定的。

式中:p1、p2、p3——气体压强,单位Pa;
V1、V2、V3——气体体积,单位m3。
2.气压传动系统的组成
气动技术长期以来都在机械和自动化系统中发挥着非常重要的作用。在气动应用中,气动技术具有下列功能:通过信号元件指示状态(传感器);对控制信号进行处理(处理器);通过最终控制元件驱动执行器;通过执行元件完成工作(执行器)。为了控制系统工作,需要建立复杂的逻辑结构并满足转换条件,这就需要气动或部分气动系统中的处理器、传感器、控制元件和执行元件相互协作。气动控制系统示意图如图7-2所示。

图7-2 气动控制系统示意图
上述各元素组成了信号流的控制路径,从信号输入开始直到执行装置。根据从信号处理装置获得的信号,控制元件可以控制执行装置。因此,气动控制系统的主要元件分类如下:
气源装置(即气压发生装置):它将原动机输出的机械能转变为空气的压力能,其主要设备是空气压缩机。
气动执行装置:将压力能转换成机械能的能量转换装置,如气缸、气马达。
气动控制装置:控制气体的压力、流量及流动方向,以保证执行元件具有一定的输出力和速度并按设计的程序正常工作的元件,如各种压力阀、流量阀、逻辑阀和方向阀等。
气动辅助装置:辅助保证空气系统正常工作的一些装置,主要作用是使压缩空气净化、润滑、消声以及用于元件间连接等,如过滤器、油雾器、消声器、管道和管接头等。
3.气压传动的应用及特点
气动技术发展很快,它被广泛应用于机械、电子、轻工、纺织、食品、医药、包装、冶金、石化、航空、交通运输等各个工业部门。气动机械手、组合机床、加工中心、自动生产线、自动检测和实验装置等大量涌现,它们在包装、进给、计量、材料的输送、工件分类、机械加工(车铣钻锯等)过程中,在提高生产效率、自动化程度、产品质量、工作可靠性和实现特殊工艺方面显示着极大的优越性。
1)气压传动的优点
(1)气动装置结构简单、安装维护方便、成本低、投资回收快。
(2)工作环境适应性好,能在温度变化范围宽、温度高、多灰尘、振动等环境中可靠地工作。
(3)工作介质是空气,来源方便,取之不尽,使用后直接排入大气而无污染,不需要设置专门的回气装置,处理方便,无火灾爆炸危险,使用安全。
(4)工作寿命长,电磁阀寿命可达3000万~5000万次。
(5)气动系统反应快,动作迅速,输出压力及工作速度的调节也非常容易。执行元件输出速度高,直线运动一般为50~500mm/s,适合快速运动。
(6)排气时气体因膨胀而温度降低,因而气动设备可以自动降温,长期运行也不会发生过热现象。
(7)有过载保护能力,执行元件在过载时会自动停止,无损坏危险,功率不够时会在负载作用下保持不动。
2)气压传动的缺点
(1)工作压力较低(一般为0.4~0.8MPa),又因结构尺寸小,因而输出力小,一般不大于10~40kN。
(2)由于空气具有可压缩性,使得工作部件运动速度稳定性差。
(3)气信号传递的速度比光、电子速度慢,故不宜用于要求高传递速度的复杂回路中,但对一般机械设备,气动信号的传递速度是能够满足要求的。
(4)排气噪声大,需加消声器。
二、气源装置
气压传动系统中的气源装置可为气动系统提供满足一定质量要求的压缩空气,它是气压传动系统的重要组成部分。由空气压缩机产生的压缩空气,必须经过降温、净化、稳压等一系列处理后,才能供给控制元件、执行元件使用。当用过的压缩空气排向大气时,会产生噪声,应采取措施降低噪声,改善劳动条件和环境质量。
1.对气源装置的要求
(1)要求压缩空气具有一定的压力和足够的流量。
(2)满足供气的质量要求,有一定的清洁度和干燥度;因此气源装置必须设置一些除油、除水、除尘并使压缩空气干燥,提高压缩空气质量,进行气源净化处理的辅助设备。
2.压缩空气站的设备组成及布置
压缩空气站的设备一般包括产生压缩空气的空气压缩机和使气源净化的辅助设备。图7-3所示为压缩空气站的设备组成及布置示意图。
在图7-3中,空气压缩机1用以产生压缩空气,由电动机作动力源。其吸气口装有空气过滤器以净化进入空气压缩机的空气。后冷却器2用以降温冷却压缩空气,使净化的水凝结出来。油水分离器3用以分离并排出降温冷却的水滴、油滴、杂质等。储气罐4用以储存压缩空气,稳定压缩空气的压力并除去部分油分和水分。干燥器5用以进一步吸收或排除压缩空气中的水分和油分,使之成为干燥空气。过滤器6用以进一步过滤压缩空气中的灰尘、杂质颗粒。储气罐7可用于要求较高的气动系统。气动三大组成及布置由用气设备确定,图7-3中未画出。
3.空气压缩机的工作原理
空气压缩机是将电动机输出的机械能转换成满足气动设备对压力(p)和流量(q)要求的压缩空气,供给气动系统使用,分容积型和速度型。按结构不同,容积型空压机又可分往复式(活塞式、膜片式等)和旋转式(滑片式、螺杆式等);速度型空压机主要有离心式、轴流式、混流式。气压系统最常使用的机型为活塞式压缩机。压缩机的类型如图7-4所示。

图7-3 压缩空气站的设备组成及布置示意图
1—空气压缩机;2—后冷却器;3—油水分离器;4,7—储气罐;5—干燥器;6—过滤器;8—加热器;9—四通阀

图7-4 压缩机的类型

图7-5所示为往复活塞式空气压缩机的工作原理图及图形符号,当活塞3向右运动时,气缸2内活塞左腔的压力低于大气压力,吸气阀9被打开,空气在大气压力作用下进入气缸2内,这个过程称为“吸气过程”。当活塞向左移动时,吸气阀9在缸内压缩气体的作用下关闭,缸内气体被压缩,这个过程称为压缩过程。当气缸内空气压力增高到略高于输气管内压力后,排气阀1被打开,压缩空气进入输气管道,这个过程称为“排气过程”。活塞3的往复运动是由电动机带动曲柄转动,通过连杆、滑块、活塞杆转化为直线运动而产生的。
选用空气压缩机的根据是气压传动系统所需要的工作压力和流量两个参数。选择空压机的依据是:气动系统所需的工作压力和流量两个主要参数。空气压缩机的额定压力应等于或略高于气动系统所需的工作压力,一般气动系统的工作压力为0.4~0.8MPa,故常选用低压空压机,特殊需要亦可选用中、高压或超高压空压机。实践表明,使压缩空气产生和元件运行效率都得到满足且最经济的系统压力:动力部分为600kPa;控制部分为300~400kPa。

图7-5 往复活塞式空气压缩机的工作原理图及图形符号
(a)工作原理图;(b)图形符号
1—排气阀;2—气缸;3—活塞;4—活塞杆;5,6—十字头与滑道;7—连杆;8—曲柄;9—吸气阀;10—弹簧
输出流量的选择,要根据整个气动系统对压缩空气的需要再加一定的备用余量,作为选择空气压缩机的流量依据。
三、气动辅助元件
气动辅助元件分为空气净化装置和其他辅助元件两大类。
1.空气净化装置
空气净化装置一般包括后冷却器、油水分离器、储气罐、干燥器等。
1)后冷却器
后冷却器安装在空气压缩机出口处的管道上。它的作用是将空气压缩机排出的压缩空气温度由140~170℃降至40~50℃,以便油雾和水汽经油水分离器排出。其结构形式有:蛇形管式、列管式、散热片式、管套式。蛇形管式后冷却器的结构及图形符号如图7-6所示。

图7-6 蛇形管式后冷却器的结构及图形符号
(a)结构;(b)图形符号
2)油水分离器
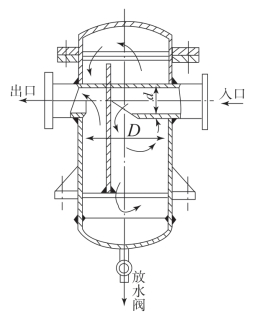
油水分离器安装在后冷却器的出口管道上,它的作用是分离压缩空气中所含的油分、水分和灰尘杂质,使压缩空气得到初步净化。油水分离器的结构形式有环形回转式、撞击折回式、离心旋转式、水浴并旋转离心式,以及以上形式的组合使用等。图7-7所示为撞击折回式油水分离器的结构。当压缩空气由入口进入分离器壳体后,气流先受到隔板阻挡而被撞击折回向下(见图7-7中箭头所示流向);之后又上升产生环形回转,这样凝聚在压缩空气的油滴、水滴等杂质受惯性力的作用而分离析出,沉降于壳体底部,由放水阀定期排出。为提高油水分离效果,应控制气流在回转后上升的速度不超过0.3~0.5m/s,使气流回转后的上升速度缓慢,同时保证其有足够的上升空间。
3)储气罐
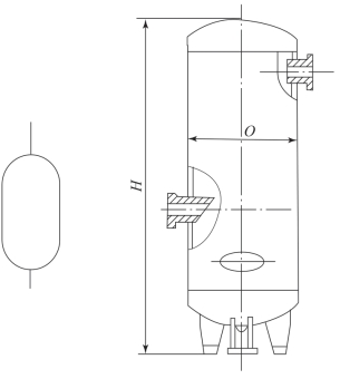
储气罐的作用是储存一定数量的压缩空气,以备发生故障或临时需要时应急使用;消除空气压缩机断续排气而对系统引起的压力波动,保证输出气流的连续性和平稳性;进一步分离压缩空气中的水分和油分。储气罐一般采用焊接结构,以立式居多,其结构及图形符号如图7-8所示。储气罐上应配置安全阀、压力计、排水阀。容积较大的储气罐应有入孔或清洗孔,以便检查和清洗。

图7-7 撞击折回式油水分离器的结构

图7-8 储气罐的结构及图形符号
4)干燥器
经过后冷却器、油水分离器和储气罐后得到初步净化压缩空气,以满足一般气压传动的需要。但压缩空气中仍含有一定量的油、水以及少量的粉尘。如果用于精密的气动装置、气动仪器等,上述压缩空气还必须进行干燥处理,以便除去压缩空气中的水分,得到干燥空气。
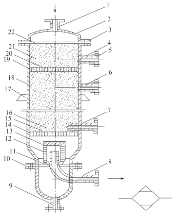
压缩空气干燥方法主要采用吸附法和冷却法。吸附法是利用具有吸附性能的吸附剂(如硅胶、铝胶或分午筛等)来吸附压缩空气中含有的水分,而使其干燥;冷却法是利用制冷设备使空气冷却到一定的露点温度,析出空气中超过饱和水蒸气的多余水分。吸附法是干燥处理中应用最为普遍的一种方法,其结构及图形符号如图7-9所示。湿空气从管1进入干燥器,通过吸附剂层21、钢丝过滤网20、上栅板19和下部吸附剂层16,水分被吸附干燥后,再经钢丝过滤网15、下栅板14和钢丝过滤网12,干燥、清洁的压缩空气从干燥空气输出管8排出。

图7-9 吸附式干燥器的结构及图形符号
1—湿空气进气管;2—顶盖;3,5,10—法兰盘;4,6—再生空气排气管;7—再生空气进气管;8—干燥空气输出管;9—排水管;11,22—密封座;12,15,20—钢丝过滤网;13—毛毡;14—下栅板;16,21—吸附剂层;17—支撑板;18—筒体;19—上栅板
2.其他辅助元件
1)过滤器
冷凝水、污染物以及过量的油会导致气动元件运动部件和密封装置的磨损,如发生渗漏,这些物质会溢出。如果不使用过滤器,如食品工业、制药或化学工业中的原料就会受到污染而不能使用。
过滤器的作用是进一步滤除压缩空气中的杂质。正确选择过滤器决定了使用压缩空气的执行系统的质量与性能。压缩空气过滤器的一个特性是它的孔径大小,过滤器孔径的大小表示可以从压缩空气被滤出的最小颗粒的大小。空气过滤器视工作条件可以单独安装,也可和油雾器、调压阀联合使用,使用时宜安装在用气设备的附近。

图7-10 普通分水过滤器的结构及图形符号
1—旋风叶片;2—滤芯;3—存水杯;4—挡水板;5—自动排水器
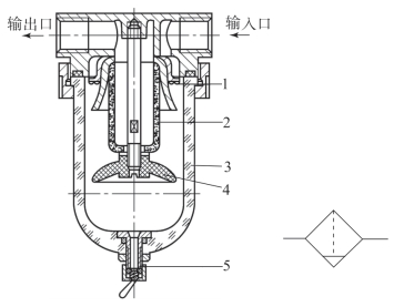
图7-10所示为普通分水过滤器的结构及图形符号,其工作原理为压缩空气由过滤器的输入口流向输出口,被引进旋风叶片1,气流由切线方向进入筒内,较重的尘埃颗粒和小水滴由于离心力的作用被甩到过滤器杯的内壁上,然后流下集中到存水杯3的下部,以这种方法预净化过的空气随后流过滤芯2,小尘埃颗粒被滤出。这里使用的过滤材料是一种多孔高渗水的烧结材料(一次性过滤器的过滤材料为钢板、硅胶、焦炭等),分离度大小取决于过滤材料的孔径大小。过滤器可以安装不同孔径的过滤材料,常用的孔径在5~40μm。冷凝液经常会大量积聚,可以考虑在手动排水点安装自动排水器5排出。为确定应何时更换过滤材料,需要观察过滤器或测量过滤器进出口的压力差。
2)调压阀
空气压缩机产生的压缩空气通常储存在储气罐内,再由管路输送到系统各处,储气罐的压力通常比实际使用的压力要高,使用时必须根据实际使用条件而减压。调压阀按调节压力方式不同可分为直动式和先导式两类。
直动式调压阀的工作原理、实物图及图形符号如图7-11所示。当顺时针方向旋转调节手柄1时,调压弹簧2被压缩,推动膜片3、阀芯4和下弹簧座6下移,使阀口8开启,减压阀输出口、输入口导通,产生输出。由于阀口8具有节流作用,气流流经阀口后压力降低,并从右侧输出口输出。与此同时,有一部分气流通过阻尼管7进入膜片下方产生向上的推力。当这个推力和调压弹簧的作用力相平衡时,调压阀就获得了稳定的压力输出。通过旋紧或旋松调节手柄就可以得到不同的阀口大小,也就可以得到不同的输出压力。

图7-11 直动式调压阀的工作原理、实物图及图形符号
(a)工作原理;(b)实物图;(c)图形符号
1—调节手柄;2—调压弹簧;3—膜片;4—阀芯;5—溢流孔;6—下弹簧座;7—阻尼管;8—阀口
3)油雾器
气动系统中动力元件在某些情况下是需要油雾润滑的。对于需要油雾润滑的设备,要严格限制油雾润滑剂的用量。为达到这个目的,油雾润滑器(简称为油雾器)使用了特定的润滑油为压缩空气润滑,经油雾润滑的压缩空气不适用于系统的控制元件。图7-12所示为油雾器的结构及图形符号。当压缩空气由输入口进入后,将特定的润滑油喷射成雾状混合于压缩空气中,并随压缩空气进入需要润滑的部位,达到润滑的目的。
油雾器的选择主要是根据气压传动系统所需额定流量及油雾粒径大小来进行,所需油雾粒径在50μm左右选择一次油雾器。若需油雾粒径很小,可选择二次油雾器。油雾器一般应配置在过滤器和减压阀之后,用气设备之前较近处。

图7-12 油雾器的结构及图形符号
4)消声器
在气压传动系统中,气缸、气阀等元件工作时,排气速度较高,气体体积急剧膨胀,会产生刺耳的噪声。噪声的强弱随排气的速度、排量和空气通道的形状而变化。排气的速度和功率越大,噪声也越大,一般可达100~120dB,为了降低噪声可以在排气口装消声器。消声器就是通过阻尼或增加排气面积来降低排气速度和功率,从而降低噪声的。气动元件使用的消声器一般有三种类型:吸收型消声器、膨胀干涉型消声器和膨胀干涉吸收型消声器。吸收型消声器结构简单,通过铜珠烧结的消声罩使通过的气流受阻,吸收声能量,从而降低噪声强度。
5)管道连接
为确保空气分配的可靠及无故障,需要遵守以下几点:为系统选择合适的管线型号、管线材质、流阻、管线布局以及维护。由于流阻的存在,所有管线都会有压降,这些压降需要由压缩机来补偿。整个供气网的压降要尽可能小,管线材料要按照现代压缩空气网络的要求选择合适的管线材料:铜、钢或铁管采购成本低,但必须焊接或使用螺纹连接器连接。如果操作不当,金属屑、锈、焊接颗粒或密封材料就可能进入系统中,这将会造成较大的故障。中小管径中,塑料气管的价格、安装、维护以及扩展的方便性要优于其他材料的气管。网络中存在压力波动,这就要求管线连接牢固以避免螺纹或焊接连接处的渗漏。
供气系统管道的设计要满足以下四个原则:
(1)满足供气压力和流量要求;
(2)满足供气的质量要求;
(3)满足供气的可靠性、经济性要求;
(4)防止管路中沉积的水分对设备造成污染。
如图7-13所示,主管线常使用环路供气。这种压力管线的安装方式可以保证高用气量情况下管线中的供气量。供气管线须按照气流方向安装且保持1%~2%的斜度,这对分支管线尤为重要。冷凝液体可由管线中的最低点排出。
四、气动三联件的安装顺序

图7-13 供气系统管道布局系统示意图
气动网络中的每个控制系统都安装有空气处理单元,以保证执行每一任务所用压缩空气的质量。油雾器、空气过滤器和调压阀组合在一起构成的气源调节装置,通常被称为气动三联件,是气动系统中常用的气源处理装置,如图7-14所示。联合使用时,其顺序应为空气过滤器→调压阀→油雾器,不能颠倒。这是因为减压阀内部有阻尼小孔和喷嘴,这些小孔容易被杂质堵塞而造成调压阀失灵;油雾器中产生的油雾为避免被过滤,应安装在调压阀的后面;无油润滑的回路中不需要油雾器。

图7-14 气动三联件的实物图及图形符号
(a)实物图;(b)图形符号

一次过滤器的工作原理
压缩空气过滤器的作用是把经过的压缩空气中的所有污染物以及水分,通过过滤器滤除。即使主管线压力(主压力)有波动或有其他元件使用压缩空气,压缩空气调压阀也可以保持系统最终操作压力(副压力)的稳定。当气动系统操作需要时,压缩空气油雾器会向气体分送系统中充入定量的油雾。