任务2.1.3 柱塞泵的选用与维护
柱塞泵是靠柱塞在缸体中做往复运动造成密封容积的变化来实现吸油与压油的液压泵,与齿轮泵和叶片泵相比,这种泵有许多优点。首先,构成密封容积的零件为圆柱形的柱塞和缸孔,加工方便,可得到较高的配合精度,密封性能好,在高压工作仍有较高的容积效率;第二,只需改变柱塞的工作行程就能改变流量,易于实现变量;第三,柱塞泵中的主要零件均受压应力作用,材料强度性能可得到充分利用。由于柱塞泵压力高,结构紧凑,效率高,流量调节方便,故在需要高压、大流量、大功率的系统中和流量需要调节的场合,如龙门刨床、拉床、液压机、工程机械、矿山冶金机械、船舶上得到广泛的应用。柱塞泵按柱塞的排列和运动方向不同,可分为轴向柱塞泵和径向柱塞泵两大类。
一、轴向柱塞泵
1.轴向柱塞泵的工作原理
轴向柱塞泵是将多个柱塞配置在一个共同缸体的圆周上,并使柱塞中心线和缸体中心线平行的一种泵。轴向柱塞泵有两种形式,直轴式(斜盘式)和斜轴式(摆缸式)。图2-17所示为直轴式轴向柱塞泵的工作原理,斜盘轴线与缸体轴线倾斜一角度,柱塞靠机械装置或在低压油作用下压紧在斜盘上(图中为弹簧),配油盘4和斜盘1固定不转,当原动机通过传动轴使缸体转动时,由于斜盘的作用,迫使柱塞在缸体内做往复运动,并通过配油盘的配油窗口进行吸油和压油。如图2-17所示回转方向,当缸体转角左半圈范围内,柱塞向外伸出,柱塞底部缸孔的密封工作容积增大,通过配油盘的吸油窗口吸油;在右半圈范围内,柱塞被斜盘推入缸体,使缸孔容积减小,通过配油盘的压油窗口压油。缸体每转一周,每个柱塞各完成吸油、压油一次,如改变斜盘倾角,就能改变柱塞行程的长度,即改变液压泵的排量,改变斜盘倾角方向,就能改变吸油和压油的方向,成为双向变量泵。

图2-17 直轴式轴向柱塞泵的工作原理
1—斜盘;2—柱塞;3—缸体;4—配油盘;a—压油窗口;b—吸油窗口
轴向柱塞泵的优点是:结构紧凑,径向尺寸小,惯性小,容积效率高,目前最高压力可达40MPa,甚至更高,一般用于工程机械、压力机等高压系统中,但其轴向尺寸较大,轴向作用力大,结构比较复杂。
2.轴向柱塞泵的排量和流量计算
如图2-17所示,柱塞的直径为d,柱塞分布圆直径为D,斜盘倾角为γ时,柱塞的行程为s=Dtanγ,所以当柱塞数为z时,轴向柱塞泵的排量为

设泵的转数为n,容积效率为ηv,则泵的实际输出流量为

实际上,由于柱塞在缸体孔中运动的速度不是恒速的,因而输出流量是有脉动的,当柱塞数为奇数时,脉动较小且柱塞数多脉动也较小,因而一般常用的柱塞泵的柱塞个数为7、9或11。
3.轴向柱塞泵的结构特点
1)典型结构

图2-18 直轴式轴向柱塞泵
图2-18所示为直轴式轴向柱塞泵。图2-19所示为直轴式轴向柱塞泵的结构,柱塞的球状头部装在滑履4内,以缸体作为支撑的弹簧9通过钢球推压回程盘3,回程盘和柱塞滑履一同转动。在排油过程中借助斜盘2推动柱塞做轴向运动;在吸油时依靠回程盘、钢球和弹簧组成的回程装置将滑履紧紧压在斜盘表面上滑动,弹簧9一般称之为回程弹簧,这样的泵具有自吸能力。在滑履与斜盘相接触的部分有一油室,它通过柱塞中间的小孔与缸体中的工作腔相连,压力油进入油室后在滑履与斜盘的接触面间形成了一层油膜,起着静压支撑的作用,使滑履作用在斜盘上的力大大减小,因而磨损也减小。传动轴8通过左边的花键带动缸体6旋转,由于滑履4贴紧在斜盘表面上,柱塞在随缸体旋转的同时在缸体中做往复运动。缸体中柱塞底部的密封工作容积是通过配油盘7与泵的进出口相通的。随着传动轴的转动,液压泵就连续地吸油和排油。
2)手动变量机构
如图2-19所示,转动手轮1,使丝杠11转动,带动变量活塞12做轴向移动(因导向键的作用,变量活塞只能做轴向移动,不能转动)。通过轴销13使斜盘2绕变量机构壳体上的圆弧导轨面的中心(即钢球中心)旋转,从而使斜盘倾角改变,达到变量的目的。当流量达到要求时,可用锁紧螺母10锁紧。这种变量机构结构简单,但操纵不轻便且不能在工作过程中变量。

图2-19 直轴式轴向柱塞泵的结构
1—手轮;2—斜盘;3—回程盘;4—滑履;5—柱塞;6—缸体;7—配油盘;8—传动轴;9—弹簧;10—锁紧螺母;11—丝杠;12—变量活塞;13—轴销
二、径向柱塞泵
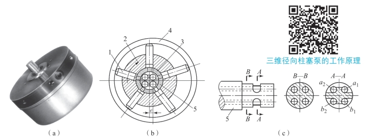
1.径向柱塞泵的工作原理
图2-20所示为径向柱塞泵,转子2上径向分布着数个柱塞孔,孔中装有柱塞1。转子2的中心定子4和转子2之间有一个偏心量e,在固定不动的配油轴5上,相对于柱塞孔的部位有相互隔开的上、下两个缺口,这两个缺口又分别通过所在部位的两个轴向孔与泵的吸、压油口连通。当转子转动时,在离心力作用下,柱塞的头部与定子的内表面紧紧接触,由于转子与定子之间有一个偏心量,所以柱塞在随转子转动的同时,又在柱塞孔内做径向往复滑动。当转子2按图2-20所示方向旋转时,位于上半周的工作容腔处于吸油状态,油箱中的油液经配油轴的孔进入吸油腔;位于下半周的工作容腔则处于压油状态,将油从配油轴的孔向外输出。柱塞在转子的径向孔内运动,形成了泵的密封工作容腔。
改变定子与转子偏心距e的大小和方向,就可以改变泵的输出流量和泵的吸、压油方向。径向柱塞泵可用作双向变量泵。

图2-20 径向柱塞泵
(a)实物图;(b)结构图;(c)工作原理图1—柱塞;2—转子;3—衬套;4—定子;5—配油轴
径向柱塞泵的优点是流量大,工作压力较高,便于做成多排柱塞形式,轴向尺寸小,工作可靠,容积效率和机械效率都较高。其缺点是径向尺寸大,自吸能力差,配油轴受径向不平衡液压力作用,易于磨损,因而限制了转速和工作压力的提高。
2.径向柱塞泵的排量和流量计算
当转子与定子之间的偏心距为e时,柱塞在缸体孔中的行程为2e,设柱塞个数为z,直径为d,则泵的排量为

设泵的转速为n,容积效率为ηv,则泵的实际输出流量为

径向柱塞泵的瞬时流量也是脉动的,为了减少脉动,柱塞数常取奇数。柱塞泵的优点是制造工艺较好,主要配合面为圆柱面,工作压力较高,轴向尺寸小,便于做成多排的柱塞形式。其缺点是径向尺寸大,配油轴受径向不平衡力的作用,易磨损,泄漏间隙不能补偿。泵的吸入性能受限制。
三、柱塞泵的常见故障及排除方法
柱塞泵的常见故障及排除方法见表2-4。
表2-4 柱塞泵的常见故障及排除方法

续表

四、液压泵的性能比较及选用
液压泵是液压系统提供一定流量和压力油液的动力元件,它是每个液压系统中不可缺少的核心元件,合理地选择液压泵对于降低液压系统的能耗、提高系统的效率、降低噪声、改善工作性能和保证系统的可靠性都十分重要。
选择液压泵的原则是:根据主机工况、功率大小和系统对工作性能的要求,首先确定液压泵的类型,然后按系统所要求的压力、流量大小确定其规格型号。各类液压泵有各自突出的特点,其结构、功能和运转方式各不相同,因此根据不同的场合选择合适的液压泵。表2-5所示为液压系统中常用液压泵的主要性能比较。
表2-5 液压系统中常用液压泵的主要性能比较

液压泵的选用原则一般可依据以下思路进行:
1.液压泵大小的选用
液压泵的输出流量取决于系统所需最大流量及泄漏量。
Q泵≥K流×Q缸
式中 Q泵——液压泵所需输出的流量,m3/min;
K流——系统的泄漏系数,取1.1~1.3;
Q缸——液压缸所需提供的最大流量,m3/min。
若为多液压缸同时动作,Q缸应为同时动作的几个液压缸所需的最大流量之和。
2.电动机参数的选择
驱动液压泵所需的电动机功率可按下式确定:

式中 PM——电动机所需的功率,kW;
p泵——泵所需的最大工作压力,Pa;
Q泵——泵所需输出的最大流量,m3/min;
η——泵的总效率。