2.1.2 风能资源
2.1.2.1 风的形成
风是地球上的一种自然现象,它是由太阳辐射热引起的。太阳照射到地球表面,地球表面各处受热不同,产生温差,从而引起大气的对流运动形成风。据估计,到达地球的太阳能中虽然只有大约2%转化为风能,但其总量仍是十分可观的。全球的风能约为2.74GMW,其中可利用的风能为2×107 MW,比地球上可开发利用的水能总量还要大10倍。
大气的流动也像水流一样是从压力高处往压力低处流。太阳能正是形成大气压差的原因。
由于地球自转轴与太阳的公转轴存在66.5°的夹角,因此对地球上的不同地点,太阳照射的角度是不同的,而且对同一地点1年中这个角度也是变化的。地球上某处所接受的太阳辐射能与该地点太阳能照射角的正弦成正比。地球南北极接受太阳辐射能少,所以温度低,气压高;而赤道接受热量多,温度高,气压低。如果地球表面情况是一样的,而且忽略地球转动的作用,则赤道附近空气受热膨胀向上,流向两极;而两极附近的冷空气沿表面流向赤道。另外地球又绕自转轴每24h旋转一周,温度、气压昼夜变化。这样由于地球表面各处的温度、气压变化,气流就会从压力高处向压力低处运动,而形成不同方向的风,并伴随不同的气象变化,气压差值越大,风也就越大。
地球上各处的地形地貌也会影响风的形成,如海边,由于海水的比热容大,接受太阳辐射能后,表面升温慢,陆地的比热容小,升温比较快。于是在白天,由于陆地空气温度高,空气上升而形成海面吹向陆地的海陆风;反之在夜晚,海水降温慢,海面空气温度高,空气上升而形成由陆地吹向海面的陆海风。
同样在山区,白天太阳使山上空气温度升高,随着热空气上升,山谷冷空气随之向上运动,形成“谷风”;相反到夜间,空气中的热量向高处散发,气体密度增加,空气沿山坡向下移动,又形成所谓“山风”。这些复杂因素造成了地球上不同地区、不同季节里空气的流动是变化多样,因而风向、风速是变化无常的。
2.1.2.2 风向
风是一种矢量,它通常用风向和风速两个要素来表示。
风向是指风吹来的方向,如果风是从东面吹来,则称为东风。观测陆地上的风向一般采用16个方位(海上的风向通常采用32个方位),即以正北为零,顺时针每转过22.5°为一个方位,如图2.1所示。
在一定的时间范围内,某风向出现的次数占各风向出现的总次数的百分比,称为风向频率,即

图2.1 风向的方位

2.1.2.3 风速
风速是表示风的移动的速度,即风在单位时间内流过的距离称为风速,单位是m/s。1.瞬时风速与平均风速
风速是很不稳定的,即使在很短的时间内,它的变化也很大。在某一瞬间(几秒内)测得的风速称为瞬时风速;在某一段时间内,瞬时风速的算术平均值称为平均风速。
假如把一昼夜中每24h所测得的风速相加,再除以24,就得到了一天的平均风速。同理,可求得月平均风速和年平均风速。
2.风速频率与风速变幅
在一定的时间内,相同风速出现的时数占测量总时数的百分比称作风速频率,即

在求得平均风速的限定时间内,最大风速与最小风速之差称为风速变幅。对风能利用来说,既希望平均风速较高,又希望风速变幅越小越好,以保证风力机平稳运行和便于控制。
3.启动风速、切除风速、有效风速
可使风力机启动运行的风速称为启动风速,风力机超速运行的上限风速称为切除风速,大于这个风速时风力机必须停转,否则将有因超速旋转而损坏的危险。风力机常取3m/s为启动风速,25m/s为切除风速,所以把3~25m/s的风速称为有效风速。据此计算出来的风速频率和风能分别称为有效风频和有效风能。
4.风速级别
世界气象组织将风力分为13个等级,见表2.1,在没有风速计时可以根据它来粗略估计风速。
表2.1中的风级B与风速v(m/s)的关系为

表2.1 风速级别及其特征

注:本表所列风速是指平地上离地10m处的风速值。
5.影响风速的主要因素
(1)垂直高度。从空气运动的角度,通常将1km以下的大气层分为三个区域:离地面2m以内的区域称为底层;2~100m的区域称为下部摩擦层,二者总称为地面境界层;从100~1000m区域称为上部摩擦层,以上三区域总称为摩擦层(大气境界层)。摩擦层之上是自由大气。
地面境界层内,空气的运动因受紊流黏性和地面摩擦的影响,风向大体一致,而风速则随着垂直高度的增加而增大。关于风速随高度变化的经验公式很多,在离地面100m的高度范围内,风速在垂直高度上的变化通常为

式中 v——高度H处风速;
v 0——高度H 0处风速(气象站风速仪的安装高度一般为10m,所以H 0一般为10m);
n——地表面摩擦系数,其数值常在0.1~0.4之间,n的典型数值可由表2.2查出。
表2.2 地表面典型摩擦系数

(2)地形地貌风速受地形地貌的影响见表2.3和表2.4。根据我国几个站得出的山顶、山麓风速比与高差关系的经验公式为

式中 ks——山顶山麓风速比;
Δh——山顶山麓相对高差,m;
a=0.007。
表2.3 不同地形与平坦地面的风速比值

表2.4 山顶与山麓的风速比值

(3)地理位置由于陆地表面和海面对风的摩擦阻力不同,造成了海面上的风比岸上风大,沿海的风比内陆风大。变化情况见表2.5和表2.6。
表2.5 台风登陆后与登陆时的风速比值

表2.6 海岸线外和海岸的风速比值

(4)障碍物风流经障碍物时,会在其后面产生不规则的涡流,致使流速降低,这种涡流随着远离障碍物而逐渐消失。当距离大于障碍物高度10倍以上时,涡流可完全消失。所以在障碍物下设置风力机时,应远离其高度10倍以上。
6.瑞利分布公式
当某一地点的年平均风速已经知道,可用瑞利分布公式求得在1年内任意风速下的小时数。瑞利分布公式为

其中

式中 t——1年内某一风速的小时数;
v——某一风速;
v——该处年平均风速;
8760h=365d×24h/d,即全年小时数。
要说明的是,当年平均风速低于4.5m/s时,计算的结果有较大的误差;而当年平均风速低于3.5m/s时,此公式则不适用了。
2.1.2.4 风的能量
1.风能
风能就是空气流动的动能。风和其他运动的物体一样,它所具有的动能用式(2.7)计算:

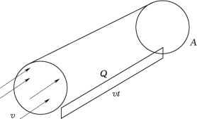
图2.2 风流过的体积

式中 m——流动空气的质量;
v——空气流动速度。
如图2.2所示,当风速为v,通过的面积为A,经过时间为t(s),流过的体积为Q,则
Q=Avt
设ρ为空气的密度,流过的风所具有的动能为

1s通过面积为A的空气所具有的动能称为风所具有的功率,以N v表示,则

式(2.8)和式(2.9)包含了三种意义:①风能与空气的密度成正比。②风能与通过的面积成正比。③风能与风速的立方成正比。
1s通过1m2面积的空气所具有的动能,称为风能密度,以E 0表示,则

风能密度是评价风能资源的重要参数。
2.有效风能
计算某地1年内风能的大小,不能简单地用年平均风速,还要考虑风速的分布情况。年平均风速相同,而风速频率不一样时,计算出来的风能量常常相差很大。年有效风能用式(2.11)计算

式中 E——年有效风能,kW·h/m2;
0.6125——空气密度的1/2,kg/m3;
v——3.0~25m/s之间的某一风速,m/s;
t——对应风速为时1年内出现的小时数,h。将有效风能除以年有效风速持续的小时数,即得到有效风能密度(kW/m2或W/m2)。例如,某地年有效风速为2647kW·h/m2,而该地年有效风速持续时间为7541h,则此地的有效风能密度为2647/7541=0.351(W/m2)。
3.风能玫瑰图
风能玫瑰图(图2.3)反映风能资源的特性它是各方位风向频率的百分数与相应风向平均风速立方数的乘积。按一定比例尺做出线段,分别绘制在16个方位上,再将线段端点连接起来。根据风能玫瑰图即可看出哪个方向的风具有能量的优势。
2.1.2.5 风能资源特点
风能就是空气流动所产生的动能。大风所具有的能量是很大的。风速9~10m/s的5级风,吹到物体表面上的力,每平方米面积上约有10kg。风速20m/s的9级风,吹到物体表面上的力,每平方米面积可达50kg左右。台风的风速可达50~60m/s,它对每平方米物体表面上的压力,竟可高达200kg以上。汹涌澎湃的海浪,是被风激起的,它对海岸的冲击力是相当大的,有时可达每平方米20~30t的压力,最大时甚至可达每平方米60t左右的压力。
风不仅能量很大,而且它在自然界中所起的作用也是很大的。它可使山岩发生侵蚀,造成沙漠,形成风海流,它还可在地面作输送水分的工作,水汽主要是由强大的空气流输送的,从而影响气候,造成雨季和旱季。专家们估计,风中含有的能量,比人类迄今为止所能控制的能量高得多。全世界每年燃烧煤炭得到的能量,还不到风力在同一时间内所提供给我们的能量的1%。可见,风能是地球上重要的能源之一。

图2.3 风能玫瑰图(70m)
合理利用风能,既可减少环境污染,又可减轻越来越大的能源短缺的压力。自然界中的风能资源是极其巨大的。据世界气象组织估计,整个地球上可以利用的风能为2×107 MW。为地球上可资利用的水能总量的10倍。风能与其他能源相比,既有其明显的优点,又有其突出的局限性。
1.风能资源的优点
(1)蕴藏量巨大,可以再生,风能是可再生能源,取之不尽,用之不竭。
(2)一般来说,在偏远山区、海滨、居民分散的无电或少电地区,风能资源比较丰富,值得开发利用。
(3)开发利用风能,不污染环境,不影响生态平衡。
(4)把风能转换成机械能,办法比较简单,容易实现。
2.风能资源的缺点
(1)不稳定由于气流瞬息万变,因此风的脉动、日变化、季变化以至年际的变化都十分明显,波动很大,极不稳定。风能常随季节、昼夜变化,当小风或无风时还想利用它,则涉及能量储存问题,就需要储能设备。
(2)密度这是风能的一个重要缺陷。由于风能来源于空气的流动,而空气的密度是很小的,因此风力的能量密度也很小,只有水力的1/816。从表2.7可以看出,在各种能源中,风能的含能量是极低的,给其利用带来一定的困难。因此,要获得较大的功率,势必得把风力机的风轮做得很大。
表2.7 各种能源的能流密度值

(3)地区差异大 风能受地形地貌的影响较大,即使在同一个区域,有利地形处的风力往往是不利地形处的几倍乃至更多。