4.2.1 Parameter Monitoring
Text(课文)
The parameters to be monitored include battery voltage,current and temperature.We will first explore voltage monitoring.
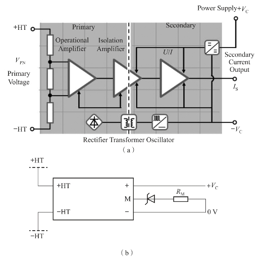
There are two types of battery voltage measurements in a battery pack:cell voltage measurement and pack voltage measurement.For pack voltage measurement,due to the high voltage associated with the pack,it is not possible to directly use voltage division.An isolated voltage transducer is appropriate in this case.Figure 4.1 shows an isolated high voltage sensor for pack voltage measurement purposes,made by LEM.
It is important to monitor cell voltages as well.When cells are put in parallel,it is only necessary to measure one voltage for all cells that are in parallel.However,since there are hundreds of cells in series,it would not be practical to measure all cell voltages using a single microcontroller.There are two approaches in practice.One is to divide batteries into groups(modules).Then voltages of cells inside a module are measured locally using a module monitoring circuit and then sent to the central BMS.Another approach is to use“banking technology”.

Figure 4.1 Isolated voltage sensor courtesy,LEM USA Inc.
(a)Principle of the isolated voltage sensor;(b)Configuration of the voltage sensor with a single power supply
Next,let's look at temperature monitoring.There are three temperature monitoring devices available:resistance temperature detector(RTD),thermistors,and thermocouples.
An RTD consists of a thin film of platinum on a plastic film.Its resistance varies with temperature and it can typically measure temperatures up to 850℃.It offers the very high linearity between resistance and temperature.The typical resistance is 100Ω at 0℃.RTDs are expensive so they are used mostly on precision temperature measurements.They are rarely used for temperature monitoring in battery packs.
Thermistors are made of semiconductor material or metal oxides.The resistance of thermistors decreases with increasing temperature.Therefore they are referred to as negative temperature coefficient(NTC)sensors.Thermistors are popular in battery temperature measurement.Figure 4.2 shows the thermistor resistance as a function of temperature,in logarithmic plot.

Figure 4.2 Thermistor resistance value
Thermistors can be directly connected to the A/D channels of a microcontroller(MCU),but a buffer circuit is preferred between the thermistor and the MCU as shown in Figure 4.3.A numerical table or liberalized equation is needed inside the MCU to look up the temperature for a given measurement(Table 4.1).

Figure 4.3 Temperature measurement circuits
Table 4.1 The battery temperature for the given measurement

Thermocouples are based on the effect that the junction between two different metals produces a voltage which increases with temperature.Since they are made of metals,they can measure temperatures up to several thousand degrees celsius.But their stability and measurement accuracy are not as good as resistor based temperature sensors.
Lastly,we will look at current monitoring.Current measurement is realized through the use of current sensors,or current transducers.There are many types of current sensors available for use in battery pack current measurement.LEM DHAB S/25 dual channel current sensor and its circuit configuration are shown in Figure 4.4.

Figure 4.4 LEM DHAB S/25 dual channel current sensor and its circuit configuration,LEM USA Inc.
This current sensor has two channels of amplifier:one rated at 200 A,and the other at 25 A.The current sensor output for channel 1 is scaled at 10 mV/A,and for channel 2 is scaled at 80 mV/A.With a single 5 V power supply,the output is 2.5 V at zero current.For channel 1,0.5 V corresponds to-200 A,and 4.5 V corresponds to 200 A.For channel 2,0.5 V corresponds to-25 A,and 4.5 V corresponds to 25 A.The amplifier circuit for the current sensor is shown in Figure 4.5.

Figure 4.5 Current measurement circuit
New words and expressions(单词和短语)
1.New words(单词)

2.Expressions(短语)


Notes to the text(难点解析)
★1.An isolated voltage transducer is appropriate in this case.在这种情况下适合使用隔离电压传感器。
★2.There are two approaches in practice.One is to divide batteries into groups(modules).Then voltages of cells inside a module are measured locally using a module monitoring circuit and then sent to the central BMS.Another approach is to use“banking technology.”在实际中有两种方法:一种方法是把电池分成组(模块),然后一个模块内的电压用一个模块监控电路测量出来,送到中心的BMS;另一种方法是利用“库技术”。
★3.RTDs are expensive so they are used mostly on precision temperature measurements.They are rarely used for temperature monitoring in battery packs.电阻温度检测器价格昂贵,因此多用在精确温度测量中,在电池组的温度监测中很少用。
Exercises(练习)
◆1.Translate the following passages(expressions)into Chinese(英译汉)
(1)The parameters to be monitored include battery voltage,current and temperature.
(2)Current measurement is realized through the use of current sensors,or current transducers.
(3)resistance temperature detector
(4)semiconductor material
◆2.Translate the following passages(expressions)into English(汉译英)
(1)电流传感器
(2)温度传感器
(3)用一个微控制器测量所有单体的电压是不实际的。
◆3.Fill in the blanks with the suitable words according to the text
There are______types of battery voltage measurements in a battery pack:cell voltage measurement and______voltage measurement.For pack voltage measurement,due______the high voltage associated with the pack,it is no______to directly use voltage division.An isolated voltage______is appropriate in this case.
◆4.Directions:Answer the following questions briefly according to the text How many temperature monitoring devices are available?What are they?
Reading material(阅读材料)
Almost all batteries have internal leakage(self discharge)in the idle condition.Typically the leakage current increases with temperature.For this battery pack,if the leakage current is 20 mA(which includes battery leak as well as consumption of peripheral circuits associated with the battery,such as BMS cell monitoring circuits,and cell balancing circuits),we can find out how many days for the battery to self-discharge from 100% SOC to 30% SOC.
40/0.02=2,000=83(d)
It means the battery will last 83 days when stored in an idle condition.It is worth to note that battery leakage tends to increase when stored at a higher temperature or extremely low temperatures.