1
土木工程材料(第4版)
1.16.5 实验5 建筑砂浆试验
实验5 建筑砂浆试验

本试验根据《建筑砂浆基本性能试验方法》(JGJ/T 70—2009)标准进行。试验内容包括砂浆的稠度、分层度及抗压强度试验。

(1)试样制备

1)抽样

建筑砂浆试验用料应根据不同的要求,从同一盘搅拌或同一车运送的砂浆中取出,或在试验室用机械或人工拌制。施工中取样进行砂浆试验时,其取样方法和原则应按现行有关规范执行。抽样应至少从三个不同的部位(使用地点的砂浆槽、砂浆运送车或搅拌机出料口)取样,现场取来的试样,试验前应人工搅拌均匀。从取样完毕到开始进行各项性能试验不宜超过15 min。

2)试验条件

试验室拌制砂浆所用材料应与现场材料一致,砂应通过公称粒径4.75 mm筛。拌和时试验室的温度应保持在(20±5)℃。拌制砂浆时称量精度:水泥、外加剂为±0.5%;砂、石灰膏、黏土膏等为±1%。拌制前应将搅拌机、铁板、拌铲、抹刀等工具表面用水润湿,铁板上不得有积水。

3)主要仪器设备

砂浆搅拌机,铁板(拌和用,约1.5 m×2 m,厚约3 mm),磅秤(称量50 kg,精度50 g),台秤(称量10 kg,精度5 g),拌铲,量筒,盛器等。

4)拌和方法

按配合比称取各材料用量,将称量好的砂子倒在拌板上,然后加入水泥,用拌铲拌和至混合物颜色均匀为止。将混合物堆成堆,在中间做一凹槽,将称好的石灰膏(或黏土膏)倒入凹槽中(若为水泥砂浆,则将称好的水倒一半入凹槽中),再倒入部分水将石灰膏(或黏土膏)调稀;然后与水泥、砂共同拌和,并逐渐加水,直至拌合物色泽一致,和易性凭经验调整到符合要求为止,一般需拌和5 min。

采用机械拌和方法时,应先按配合比拌适量砂浆,使搅拌机内壁黏附一薄层砂浆,以便正式拌和时的砂浆配合比成分准确。搅拌的用料总量不宜少于搅拌机容量的20%,搅拌时间约3 min。

实验图5.1 砂浆稠度测定仪

(2)砂浆稠度测定

1)试验目的

了解砂浆稠度试验方法,掌握砂浆的技术性质。

2)主要仪器设备

砂浆稠度仪(实验图5.1)、捣棒、台秤、拌锅、拌板、量筒、秒表等。

3)试验步骤

①将盛浆容器和试锥表面用湿布擦净,检查滑杆能否自由滑动。

②将拌好的砂浆一次装入容器内,使砂浆表面低于容器口约10 mm,用捣棒自容器中心向边缘插捣25次,轻击容器5~6次,使砂浆表面平整,立即将容器置于稠度测定仪的底座上。

③放松试锥滑杆的制动螺丝,使试锥尖端与砂浆表面接触,拧紧制动螺丝,将齿条侧杆下端接触滑杆上端,并将指针对准零点。

④突然松开制动螺丝,使试锥自由沉入砂浆中,同时计时,10 s时立即固定螺丝,将齿条测杆下端接触滑杆上端,从刻度盘上读出下沉深度(精确至1 mm),即为砂浆的稠度值。

⑤圆锥筒内的砂浆只允许测定一次稠度,重复测定时,应重新取样。

以两次测定结果的算术平均值作为砂浆稠度测定结果。两次测定值之差大于10 mm,应另取砂浆搅拌后重新测定。

(3)砂浆分层度测定

1)试验目的

了解砂浆分层度试验方法,掌握砂浆的技术性质。

2)主要仪器设备

分层度测定仪(实验图5.2)、水泥胶砂振动台、其他仪器同砂浆稠度试验。

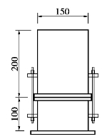
实验图5.2 砂浆分层度筒

3)试验步骤

①将砂浆拌合物按砂浆稠度试验方法测定稠度。

②将砂浆拌合物一次装入分层度筒内,用木槌在容器四周距离大致相等的4个不同地方轻敲1~2次,如砂浆沉落到分层度筒口以下,应随时添加,然后刮去多余的砂浆,并用抹刀抹平。

③静置30 min后,去掉上节200 mm砂浆,剩余的100 mm砂浆倒出放在拌合锅内拌2 min,再按稠度试验方法测定其稠度。前后测得的稠度之差即为该砂浆的分层度值(mm)。

取两次试验结果的算术平均值为砂浆分层度值。两次分层度试验值之差大于10 mm时,应重作试验。

(4)砂浆保水率的测定

1)试验目的

了解砂浆保水率试验方法,掌握砂浆的技术性质。

2)主要仪器设备

金属或硬塑料圆环试模(内径应为100 mm,内部高度应为25 mm),可密封的取样容器,2 kg的重物,金属滤网,超白滤纸,2片金属或玻璃的方形或圆形不透水片,边长或直径应大于110 mm,天平,烘箱。

3)试验步骤

①称量底部不透水片与干燥试模质量m1和15片中速定性滤纸质量m2

②将砂浆拌合物一次性装入试模,并用抹刀插捣数次,当装入的砂浆略高于试模边缘时,用抹刀以45°角一次性将试模表面多余的砂浆刮去,然后再用抹刀以较平的角度在试模表面反方向将砂浆刮平。

③抹掉试模边的砂浆,称量试模、底部不透水片与砂浆总质量m3

④用金属滤网覆盖在砂浆表面,再在滤网表面放上15片滤纸,用上部不透水片盖在滤纸表面,以2 kg的重物将上部不透水片压住。

⑤静置2 min后移走重物及上部不透水片,取出滤纸(不包括滤网),迅速称量滤纸质量m4

⑥按照砂浆的配比及加水量计算砂浆的含水率。当无法计算时,可按步骤⑧的规定测定砂浆含水率。

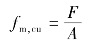
⑦砂浆保水率应按下式计算:

式中:W——砂浆保水率,%;

m1——底部不透水片与干燥试模质量,g,精确至1 g;

m2——15片滤纸吸水前的质量,g,精确至0.1 g;

m3——试模、底部不透水片与砂浆总质量,g,精确至1 g;

m4——15片滤纸吸水后的质量,g,精确至0.1 g;

α——砂浆含水率,%。

取两次试验结果的算术平均值作为砂浆的保水率,精确至0.1%,且第二次试验应重新取样测定。当两个测定值之差超过2%时,此组试验结果应为无效。

⑧测定砂浆含水率时,应称取(100±10)g砂浆拌合物试样,置于一干燥并已称重的盘中,在(105±5)℃的烘箱中烘干至恒重。砂浆含水率应按下式计算:

式中:α——砂浆含水率,%;

m5——烘干后砂浆样本的质量,g,精确至1 g;

m6——砂浆样本的总质量,g,精确至1 g。

取两次试验结果的算术平均值作为砂浆的含水率,精确至0.1%。当两个测定值之差超过2%时,此组试验结果应为无效。

(5)砂浆抗压强度试验

1)试验目的

了解砂浆抗压强度试验方法,掌握砂浆的技术性质。

2)主要仪器设备

试模尺寸为(70.7 mm×70.7 mm×70.7 mm)带底试模,压力试验机,捣棒(直径10 mm,长350 mm,端部磨圆),刮刀等。

3)试件制作及养护

①采用立方体试件,每组试件3个。

②应用黄油等密封材料涂抹试模的外接缝,试模内涂刷薄层机油或脱模剂,将拌制好的砂浆一次性装满砂浆试模,成型方法根据稠度而定。当稠度大于50 mm时,采用人工振捣成型;当稠度不大于50 mm时,采用振动台振实成型。

a.人工振捣:用捣棒均匀地由边缘向中心按螺旋方式插捣25次,插捣过程中如砂浆沉落低于试模口,应随时添加砂浆,可用油灰刀插捣数次,并用手将试模一边抬高5~10 mm各振动5次,使砂浆高出试模顶面6~8 mm。

b.机械振动:将砂浆一次装满试模,放置到振动台上,振动时试模不得跳动,振动5~10 s或持续到表面出浆为止,不得过振。

③待表面水分稍干后,将高出试模部分的砂浆沿试模顶面刮去并抹平。

④试件制作后,应在室温为(20±5)℃的环境下静置(24±2)h,当气温较低时或凝结时间大于24 h的砂浆,可适当延长时间,但不应超过两昼夜,然后对试件进行编号、折模。试件拆模后,应立即放入温度为(20±2)℃,相对湿度为90%以上的标准养护室中养护。养护期间,试件彼此间隔不小于10 mm,湿拌砂浆试件上面应覆盖,以防有水滴在试件上。

4)抗压强度测定

①试件从养护地点取出后,应尽快进行试验,以免试件内部的温湿度发生显著变化。

②先将试件擦干净,测量尺寸,并检查其外观。试件尺寸测量精确至1 mm,并据此计算试件的承压面积A。若实测尺寸与公称尺寸之差不超过1 mm,可按公称尺寸进行计算。

③将试件放在试验机的下压板上,试件的承压面应与成型时的顶面垂直,开动压力机,当上压板与试件接近时,调整球座,使接触面均衡受压。加荷应均匀而连续,加荷速度应为0.25~1.5 kN/s(砂浆强度不大于3.5 MPa时,取下限为宜;大于5 MPa时,取上限为宜)。当试件接近破坏而开始迅速变形时,停止调整压力机进油阀,直至试件破坏,记录破坏荷载F。

5)试验结果计算

①单个试件的抗压强度按下式计算(精确至0.1 MPa),即

②砂浆抗压强度试验值按下面方式判定:

以三个试件测值的算术平均值的1.35倍(f2),作为该组试件的砂浆立方体试件抗压强度平均值(精确至0.1 MPa)。当三个测值的最大值或最小值中如有一个与中间值的差值超过中间值的15%时,则将最大值及最小值一并舍除,取中间值作为该组试件的抗压强度值;当两个测值与中间值的差值均超过中间值的15%时,则该组试件的试验结果无效。